BX 518 VW VE - Jääkaappi AMANA - Ilmainen käyttöohje ja opas
Löydä laitteen käyttöohje ilmaiseksi BX 518 VW VE AMANA PDF-muodossa.
Lataa ohjeet laitteellesi Jääkaappi PDF-muodossa ilmaiseksi! Löydä käyttöohjeesi BX 518 VW VE - AMANA ja ota elektroninen laitteesi takaisin hallintaan. Tällä sivulla julkaistaan kaikki laitteidesi käyttöön tarvittavat asiakirjat. BX 518 VW VE merkiltä AMANA.
KÄYTTÖOHJE BX 518 VW VE AMANA
Alajäkaappipakastimen käytto- ja huolto-ohjeet
Sisälö
Sahkotekniset vaatimukset. 149
Mallin tiedot 149
Jäkaapin asianmukainen havittäminen 149
Asennusohjeet 149
Asennuksen tarkistusista 153
Saatimet. 153
Tuoreruokaosaston ja pakastimen saatimet. 154
Säadinten asettaminen 154
Tuoreruokaoinaisuudet 154
Tuoreruokahyllyt 154
Garden FreshTM -vihanneslaatikot 155
Sailytysteline (joissakin malleissa) 155
Kannellinen sailytysastia (joissakin malleissa) 155
Maitotuoteosasto (joissakin malleissa) 155
Ovikaukalot 156
Korkeiden pakkausten pidike
(joissakin malleissa) 156
Ovihylyt 156
Säadettävā jakaja (joissakin malleissa) 156
Pulloteline (joissakin malleissa) 156
Pakastimen ominaisuudet 156
Jaanpoistojarjestelma 156
Jaapalateline (joissakin malleissa) 156
Ulostyontyva hylly (joissakin malleissa) 157
Pystysuuntainen hyllynjakaja
(joissakin malleissa) 157
Kiintea rtilahlyly (joissakin malleissa) 157
Ritilakori 157
Jäpala-astia (joissakin malleissa) 157
Hoito ja puhdistus 157
Yleiset puhistusohjeet 157
Hajun poisto 158
Liiima-aineet 158
Oven tiivisteet. 158
Kondenssikierukat 158
Lasihyllyt 158
Hehkulampun vaihtaminen 158
Vihjeita Ioman ajaksi 159
Energiansästövihjeita 159
Normaalit kayntiäenet 160
Ennen huollon kutsumista 161
Takuu 163
Huomautus:
Joskus kännösten merkitykset voivat erota hieman toisistaan. Epaselvissa tapauksissa tiedot Kannattaa tarkistaa englanninkielisestä versiosta.

Tämä symboli merkitsee turvavarotointa.
Sähkötekniset vaatimukset
Asenna jäkaappakastin erillseen 230 V, 50 Hz, 10 A maadoitettuun virtapiirin.
Mallin tiedot
Tuotteen tiedot ovat nimikyltissä. Kirjoita seuraavat tiedot ylos:
Mallinumero:
ValmistusNumero:
Sarja-tai S/N-numero:
Ostopaivamaara:
Myyjan nimi ja osoite:
Säilytä kopio myntykuitista myöhemppää tarvetta varten.

VAARA
Jäkaapin asianmukainen havittäminen
TÄRKEÄ: Lasten jääminen jäkaapin sisäan ja tukehtuminen ei ole kadonnut ongelma. Hävitetyt ja hylåtyt jäkaapit ovat edelleen vaarallisia - vaikka ne jätettäisin odottamaan siirtoa "vain muutamaksi paiväksi". Jos olet hankkiutumassa eroon vanhasta jäkaapistasi, noudata alla olevia ohjeita, jotta onnettomudet voidaan valttä.
ENNEN VANHAN JÄKAAPIN TAI
- Irrota ovet.
- Jäta hyllyt paikoilleen, jolloin lapset eivat päase kiipeämän sisälle helposti.

Asennusohjeet
Johdanto
Jäkaapin saa kytkeä käytökuntoon vain asiantunteva sahkoasantaja naita asennusohjeita noudattaen.
Mittaa oven avauma ja syvyss sekä jäkaapin leveys. Irrota ovet ja kädensijat tarvittaessa. Sahköasantajan on noudatettava paikallisia sahkö- ja vesikytkentöjä koskevia märäyksiä.
Sahköjhodon saa huoltaa tai vaihtaa vain asiantunteva huoltoasentaja.
Oikea asennustapa varmistaa tämän jaakaapin tehokkaan toiminnan. Amana Appliances -yhtio ei ole vastuussa vaarastas asennuksesta.
Asennusvaatimukset
- Asenna laite maadoitettuun pistorasiaan, joka on erillissaa 230 V, 50 Hz, 10 A virtapiirissa.
- Suojaa pehmea lattiamateriaali pahvilla tai matoilla.
- Asenna laite lattiale,jonka Kantavuus on 429kg
- Jata jäkaapin paalle 25 mm:n tila ja jäkaapin sivuille 5 mm:n tila.
HUOMAUTUS: Åla asenna jäkaappia uunin, lampöpatterin tai muun lampolahteen lahelle. Åla asenna jäkaappia sellaseen paikkaan, jossa lampötila voi laskea alle 13^
1. Puisen pohjan irrottaminen.

HUOMIO
- Puisen pohjan irrottamisessa on oltava mukana kaksi henkilöa henkilö- ja omaisuusvahinkojen vättämiseksi.
-
Alä jatā jäkaappia sivuttain pidemmäksi aikaa kuin on tarpeen, ettei jäkaappi vaurioidu.
-
Teippaa ovet kiinni oikeasta ylakulmasta ja vasemmalta puolelta, etteivat ne avaudu odottamatta.
- Liu'uta laitevaunu jäkaapin saranoiden vastakkaisen puolen alle.
- Käärä jaakaappi huovalla tai tyynylla. Pujota kiinnitysnauha jaakaapin ympärille. Etsi kuljetuslaatikko ja aseta vaahtomuoviset tyynyt kiinnitysnauhan alle. Kiristä nauha tiukaksi. Älä kirstähihnaa liikaa.
- Laske laitevaunu lattiale laitevaunun kädensijojen ollessa pohjalla.
- Irrota kaksi ylapulttia luisukiskosta.
- Aseta jäkaappi ja laitevaunu uudelleen pystysuoraan. Irrota kiinitysnauha.
- Liu'uta laitevaunu jäkaapin vastakkaisen sivun alle.
- Toista kohdat 3 - 5.
- Irrota puinen pohja.
- Aseta jäkaappi ja laitevaunu uudelteen pystysuoraan ja irrota laitevaunu. Siirra jäkaappi lopulliseen asennuspaikkaan ja irrota laitevaunu.
2. Irrota ovet ja muuta niiden aukeamissuuntaa tarvittaessa.
Jotkin asennukset voivat vaitia, etta ovien aukeamissuuntaa muutetaan. Ovien aukeamissuunnan vaihto-ohjeet:
Tarvittavat tyokalut
Tarvittavat kiintoavaimet
Tähtipääruuvitaltta
Tasapainen ruuvitalta
Suojateippia
TÄRKEÄ: Jos jäkaapin tulppia irrotettaessa on käytettä vruvimeisseliä tai lastaa, suojaa tyokalun terä teipillä, ettei jäkaapin maalipinta vaurioiu. Jos tulpan poistamiseen tarvitaan ruuvipäätä tai kiintoavainpäätä, käytä oikeaa tyokalua, etteivät tulpat vaurioiu.
-
Irrota jäkaapin kädensija.
-
Irrota kādensijan ruvu (C) kādensijan ylaosasta (A). Väännä kādensijan pintaosan reuna (A) irti käyttaen teipillä suojattua tasapäistä ruuvitaltaa. Irrota kādensija (B) ovesta irrottamalla jäljelle jaanyt asennusruvu (C) kādensijan kummaltakin puolelta.
- Irrota oven ylasaranan puolelta 1 tulppa ja 2 tulppaa oven etusaranan (D) puolelta. Asenna 3 tulppaa takaisin oven toiselle puolle tyhjin asennusreikiin. Kaytä asennusruuveja (C).


-
Irrota pakastimen kädensija.
-
Aviaa pakastimen ovea 90^ . Etsi pakastimen kādensijan takaa kaksi uraa (A). Työnnä tasapäinen, teipillä suoattu ruuvitalta valiin. Väannä kādensijan kannen (B) takareuna ylos ja irrota kansi kādensijasta.
- Irrota kädensija (A) ovesta irrottamalla kaksi asennusruuvia (C).
- Irrota 2 tulppaa (D) pakastimen oven vastakkaiselta puolelta. Asenna tulpat takaisin tyhjin asennusreikiin.

- Irrota ylasaranan kuori. Ylasaranan kuori napsahtaa irti. Irrota 5 / _15 "ruuvit (A), joloin ylasaran (B) ja saranan asennusvalike (C) irtoavat. Kaytakiintoavainta. Irrota kaikki asennusvalikkeet (C ja D) ja sailytane.
- Irrota jäkaapin ovi dostamalla ovi irti keskussaranan tapista (F) ja mutterista (E) . Tarkista, etta kaikki asennusvalikkeet (D) ovat saranatapissa.
- Irrota keskussaranan tappi (F) kayttäen kiintoavainta. Koska tappi on tiukka, voit joutua kayttamaa voimaa. Irrota kaikki asennusvalikkeet (D) ja sailytä ne.
- Irrrota pakastimen ovi nostamalla ovi irti alasaranasta (K).
- Irrota keskussaranan kiinnike (G) ja asennusvalike (H) kayttäen tahtipäameisselia.
- Irrrota alaritilä ja alasaranan kansi. Molemmat napsahtavat irti.
- Irrota alasaranan tappi (J) , alasarana (K) ja saranoiden asennusvalikkeeet (L) kayttäen kiintoavainta. Irrota asennusvalikkeeet (D) ja sailytä ne.

-
Vaihda ovipysayttimien paikkaa.
-
Etsi ovipysayttimet (B) jäkaapin oven (A) alareunasta. Irrota ovipysaytin ruuvaamalla kaksi tahipäruuvia irti. Irrota oven vastakkaisella puolella oleva kaksi tahtipäruuvia. Asenna ovenpysaytin toiselle puolle. Asenna ruuvit takaisin tvhilin asennusreiklin.
- Pakastimen oven pysayttimen paikkaa vaihdetaan samalla tavalla.

-
Kaannà ovet alla olevien ohjeiden mukaisesti:
-
Etsi ja irrota jäkaapin vastakkaisella puolella olevat tulpat ja ruuvit. Työnnä ne reikiin, jotka ovat tyhjä, koska saranat on irrotetu.
-
Asenna ala-, keski- ja ylasaranat asennusvalikkeineen oven vastakkaiselle puolle.
-
Asenna alasarana kaapin vastakkaiselle puolelle. Varmista, etta asennusvalikkeet ovat paikoillaan ennen ruuvien kirstamista. Kun saranatappi on asennetttuulkoreikaan, asenna pyoreaat asennusvalikkeet takaisin. Joissakin alasaranoissa voi olla tulpat rei'issa. Irrota mahdollinen tulppaulkoreiasta, aseta tappi reikaan ja asenna tulppa tyhjaan reikaan.
-
Asenna ylasaranat asennusvalikkeineen. Jatarpeeksvi vali niin, etta jaakaapin oven saranapuoli mahtuu liukumaan paikalleen. Kirista ovi paikalleen kiristamalla alasarana.
- Jäta oven ja kaapin valiin 1116 (18 mm:n) rako.
- Oven kädensijapuolen on olta vain noin 18 (3 mm:n) korkeammalla kuin saranapuolen. Ovi tasaantuu, kun oveen asetetaan ruokaa.

- Asenna jäkaapin kädensija oven toiselle puolle.
Käytä edellissä vaiheessa irrotetuja
asennusruuveja.
Napsauta kadsensijan kansiosa paikalleen ja ruuva se kiinni. - Asenna jäkaapin kädensija oven toiselle puolle. Käytä edellissä vaiheessa irrotetuja asennusruuveja.
- Aseta kādensijan kuoren etureuna alaspain kohti kādensijan huullosta. Varmista, ètta alakiinnike liukuu pakastimen kādensijan takahuulloksen alle. Napsauta kādensijan kuoren takareuna paikalleen.
- Tarkista, etta jäkaappi on suorassa. Aloita vaiheesta 5.
- Asenna alaritilä ja alasaranan kuori takaisin paikalleen.
Tärkeää: Varmista ritilän oikea asennuspalkka nuolien avulla.
Napsauta ylaosa ensin paikalleen. Paina rtilan alaosaa alas, kunnes se napsahtaa paikalleen.

3. Vie jäkaappi lopulliseen asennuspaikkaan.

HUOMIO
Suojaa lattia pahvilla, matoilla tai muulla suojamateriaaillomaisuisuvahinkojen valttamiseksi.
4. Aseta verkkojohto pistorasiaan.
Vain asiantunteva huoltohenkilosto saa huoltaa verkkojohdon. Laitteen huoltamisessa tarvitaan erikoistyokaluja. Ota yhteys lahimpaan valtuutettuun huoltollikkeeseen, jos jaakaappi tarvitsee huoltoa tai korjausta.
5. Aseta jäkaappi suoraan.
a.Nosta kaappia kiertamalla rullasaatoruuvia (A) oikealle. Laske kaappia kiertamalla ruuvia vasemmalle.
b. Saadā tasapainotusjalka (B) niin, etta jaakaappi on tukevasti lattialla.

HUOMIO
Tasapainotusjalan on oltava tukevasti lattiaa vasten, ettei jäkaappi kaadu. Jaakaapin kaatuminen voi aiheuttaa henkilo- ja omaisuusvahinkoja.

Tämā tarkistuslista on tarkoitetu vain kuluttajan omaan käyttoön.
Asiakas Asentaja


Ovet
Oven kädensijapuoli on 3 mm korkeammalla kuin saranapuoli. (Ovi painuu, kun oveen asetetaan tuotteita.)

Ovet sulkeutuvat kokonaan jaakaapin kaappikehysta vasten.


Tasapainotus
Jäkaappi on 6 mm kallelaan edestä taakse.


Tasapainotusjalka on vakaasti lattiaa vasten.


Alaritila on liitetty kunnolla jaakaappiin.


Tuotekirjallisuus
Omistajan kaskirjaan on tutustuttu mukaan lukien seuraavat osat:
tuoreruokaosaston ja pakastimen saatimet
-kosteudeltaan saadely vihanneslaatikko
- lampötilaltaan saädetty ihalaatikko
- normaalit käntyiäenet
Muistiinpanoja:
Asiakkaan allekirjoitus
Asentajan allekirjoitus
Asennusyhtion nimi/puh.
Pvm
Saatimet
Tämä jaakaappi on suunnitelu toimimaan normalissahuoneenlammössä (13 - 43°C).
Tuoreruokaosaston ja pakastimen saatimet
Tuoreruokaosaston saadin on tuoreruokaosaston ylemmasa takaseinnass.

Pakastinosan säädin on pakastinosan oikeassa etukatossa.

Säadinten asettaminen
Kun pakastimen saadin on asetetu asentoon, ei jäkaappi eikä pakastin kylmene. Aseta molemmat saātimet aluksi 4-asentoon. Odota 24 tunnin ajan, etta jäkaapin ja pakastimen lampotilat asettuvat. Muuta saādinten asentoa 1 askel kerrallaan tarpeen vaatiessa 24 tunnin kuluttua. Lämpimin asetus on 1 ja kylmin asetus on 7.
Aseta saatimet tarkasti kayttäen lampömittaria, jonka asteikko on -21 °C - 10 °C.
Aseta lampömittari pakastinosassa olevien tuotteiden valiin. Odota 5 - 8 tunnin ajan. Jos pakastimen lampötila ei ole -17 -16 ^ C saadä pakastimen saadinta yksi askel kerrallaan. Tarkista uudelleen 5 - 8 tunnin kuluttua.
Aseta lampömittari tuoreruokaosaston (jäkaapin) keskellä olevaan vesilasiin. Odota 5 - 8 tunnin ajan. Jos tuoreruokaosaston lampötila ei ole 3 - 4^ saadä jäkaapin saadintä yksi askel kerrallaan. Tarkista uudelleen 5 - 8 tunnin kuluttua.
Tuoreruokaominaisuudet
Tuoreruokahyllyt
Hillyja voidaan saataa tarpeen mukaan. Joissakin malleissa on SpillsaverTM- tai Easy GlideTM -hyllyt. SpillsaverTM-hyllyt ottavat pienet vuodot talteen, joten jaakaappi on helppompipitaa puhtaana.

HUOMIO
Varmista, etta hyly on tukevasti kiinni ennen tavaroiden asettamista takaisin. Nain valtat omaisuvsahingot.

HUOMIO
Kasittele karkaistuja lasihlyjä varovasti henkilö- ja omaisuvsahinkojen valttamiseksi. Hylyt voivat särkyä akillisesti, jos niita taitetaan, naarmutetaan tai niiden lampötila muuttuu nopeasti.
- Irrota hyllyt (A) nostamalla hyllyn etureunaa. Vapautakoukut (C) metallikiskosta (B) ja vedä hylly ulos.
- Asenna hyllyt takaisin tyontämällä koukut (C) metallikiskoon (B). Laske hyllyn etureuna paikoilleen.

Easy Glide™ -hyllyjä voi vetäa ulospän, jolloin takana oleviin tuotteisiin paasee helppommin käsiki.

Garden Fresh™ -vianneslaatikot
Garden FreshTM -vihanneslaatikot pitavt tuoretuotteet tuoreina kauemmin. Käri tuote tiukasti. Äpese tuotetta ennen sen asettamista vihanneslaatikkoon. Liiallinen kosteus voi pilata tuotteen ennenaikaisesti. Alä vuoraa vihanneslaatikoita paperipyyhkeillä. Paperipyyhkeet pidattavt kosteutta.
Garden FreshTM -säädin (D) on etuhyllyn listen alapuolella. Säädin vaikuttaa vihanneslaatikoiden kosteuteen. Aseta säädin high-asentoon (voimakas) lehdellisille tuotteille, kuten lehtisalaatille, pinaatille tai kaalille. Aseta saädin low-asentoon (heikko) kuorellisille tuotteille, kuten kukkakaalille, maissile tai tomaateille.
Kun vihanneslaatikot puhdistetaan tai niiden asentoa muutetaan, irrota hylyl ja vihanneslaatikot seuraavien ohjeiden avulla:
-
Avaa vasen vihanneslaatikko.
-
Jos oven saranat ovat vasemmalla, avaa oikea vihanneslaatikko.

HUOMIO
Kasittele karkaistuja lasihlyjä varovasti henkilo- ja omaisuvsahinkojen valttamiseksi. Hylyt voivat sarkya akillisesti, jos niita taitetaan, naarmutetaan tai niiden lampotila muuttuu nopeasti.
- Irrota lasinen vihanneslaatikon ylaosa (A) tyontamalla varovasti alta ylospain. Kallista toista puolta ylospain ja vegä ulos.
- Irrota vasen vihanneslaatikko vetamalla etuosasta, tukien laatikkoa alta ja vetäen ulos. Jos jäkaapin saranat ovat vasemmalla, irrota oikea vihanneslaatikko.
- Irrrota toinen vihanneslaatikko kohdan 3 ohjeiden mukaisesti. Jos ovi estaa laatikon irrottamisen, irrotalaatikko laatikon kehyksen mukana kohdan 5 ohjeiden mukaisesti.
- Irrota vihanneslaatikon kehys (B) noctamalla kehysta muovisesta etuosasta (C). Nosta laatikko irti jäkaapin kiskoista. Veda eteenpän ja ulos kaapista.
- Asenna vihanneslaatikot ja hylly takaisin toistamalla vaiheet 2 - 5 vastakkaisessa järestyksessä.

Sälytysteline (joissakin malleissa)
Sälytstelineessä on mukava säilyttäa suuria pulloja, kananmunia jne.
Ripusta teline hylyn reunaan.

Kannellinen sailytysastia (joissakin malleissa)
Kannellissessa sailytysastiassa on irrotettava munateline. Kun teline poistetaan, astiaan mahtuu normala likanamunapakkaus, jaapala-astia jne.

Maitotuoteosasto (joissakin malleissa)
Voi, juustot jne. on mukava sailyttaa maitotuoteosastossa.
- Irrota maitotuoteosasto dostamalla ovea (A), tyontamalla hylyn molemmilla puolila olevia kiinnikkeit (B) alaspain ja vetamalla hyly ulos.
- Asenna maitotuoteosasto takaisin liu'uttamalla sita taaksepain, kunnes kiinnikkeet (B) lukittuvat paikoilleen. Laske ovi (A) takaisin paikalleen taman jälkeen.

Ovikaukalot
Ovikaukalot voidaan saataa erikokoisille tuotteille.
- Irrota ovikaukalot tyontamalla hyllyjen molemmilla puolilla olevia kiinnikkeit (A) kohti keskustaa ja vetamalla kaukalo ulos.
- Asenna kaukalot takaisin liu'uttamalla niitta sisaan, kunnes kiinnikkeet (A) lukittuvat paikoilleen.

Korkeiden pakkausten pidike (joissakin malleissa)
Korkeiden pakkausten pidike sailyttäa korkeat tuotteet suorassa. Pidike sopii kaikkien jaakaappien ovikaukaloiden tai ovihylyjen etureunoinh.

Ovihyllyt
- Irrota ovihylyt nostamalla niiden paatyja ja vetamallane ulos.
- Asenna hylylt takaisin asettamalla hylyli liukukiskoihin (A) ja liu'uttamalla hylyt alas.

Säedettävä jakaja (joissakin malleissa)
Sāadettāvā jakaja pitāa tuotteet paikoillaan. Jakaja voidaan sātāa eri sāilytystarpeiden mukaiseksi. Jakaja sopii kaikkin ovikaukaloin tai ovihylyihin.

Pulloteline (joissakin malleissa)
Pulloteline pitaa tuotteet paikoillaan. Pulloteline voidaan saataa eri sailytystarpeiden mukaiseksi. Pulloteline sopii kaikkin ovikaukaloihin tai ovihylliyihin.

Pakastimen ominaisuudet
Jänpoistojärestelmä
Tuoreruokaosaston ja pakastimeen ei kerry jäätä.
Sulatus tapahtuu automaattisesti normaaleissa
käyttoolosuheissa. Tuoreruokaosastoa tai pakastinta ei
tarvitse sulataa.
Jaapalateline (joissakin malleissa)
Asenna jäpalateline (C) asettamalla jäpalateline ruuveille ja aluslevyille (A ja B) ja liu'uttamalla teline alas.


HUOMIO
Varmista, etta hyly on asennettu tukevasti ennen tuotteiden asettamista salle. Nain valtetaan omaisuusvahingot.
Ulostyöntyvä hylly (joissakin malleissa)
Ulostyontyva hylly voidaan vetta eteenpain. Nain takana oleviin tuotteisiin paasee helpommin kasiki si.
- Irrota ulostyontyva hylly liu'uttamalla sita eteenpain, kunnes keskustangon (A) alla oleva pallo (B) osuu uraan.
Tartu hyllyn keskustankoon (A), vedä ylos ja irrota hyly.
Liu'uta sisaaan, kunnes pallo (B) osuu uraan.

Pystysuuntainen hyllynjakaja (joissakin malleissa)
Asenna pystysuuntainen hyllynjakaja alla olevien ohjeiden mukaisesti:
- Liu'uta hyllynjakajan piikit halutun ritol an alle. Aseta piikit hieman sivuun keskitangosta.
- Paina jakajan ylaosaa alaspain ja liu'uta koukut keskustangon alle.

Kiintea ritilahylly (joissakin malleissa)
- Irrota rittilahyly vetamalla ulos. Terava nykaisy voi olla tarpeen.
- Asenna ritilahlyl takaisin liu'uttamalla sis'an, kunnes takaosa lukittuu paikalleen.

Ritilakori
Ritilakori (A) liukuu ulospain. Nain takana oleviin tuotteisii on helpompi päästa kaskisi.
- Irrota ritilakori nostamalla ja vetamalla se ulos.
- Asenna ritilakori takaisin liu'uttamalla se sisaan.

Jäapala-astia (joissakin malleissa)
Jäpala-astia (A) on pakastimen ritilahyllyn jaapalatelineen alapuolella.

Hoito ja puhdistus

VAROITUS
Irrota jäkaapin virtajohto pistorasiasta ennen puhdistamista. Nain valtetaan sahköisku, joka voi aiheuttaa vakavia henkilovahinkoja tai kuoleman. Kytke virtajohto takaisin pistorasiaan puhdistamisen jälkeen.

HUOMIO
Lue kaikki valmistajan antamat puhdistusohjeet ja noudata niita. Nain valtetaan henkilo- ja omaisuusvahingot.
Yleiset puhistusohjeet
- Pese kaikkisisa- ja ulkopinnat liuoksella, joka sisaltaa 1 litran lamminta vetta ja 60 ml natriumbikarbonaatia. Kayta pintojen puhdistukssasa pehmeaa, puhdasta kangasta.
-
Huhtele sisä- ja ulkopinnat lampimälla vedellä Kuivaa pinnat pehmeällä, kuivalla kankaalla.
-
ALA kayta seuraavia:
-
hiovia tai voimakkaita puhdistusaineita, ammoniaikkia, klooripitoista valkaisuainetta jne.
- tiivistepesuaineita tai -liuottimia
metallisia puhistustyynyj (Pata Pata jne.) Namà tuotteet voivat naarmuttaa tai halkaista pinnat tai viedá pinnoista varin. - Alapa sese kaukaloita, hylljä jne. astianpesukoneessa.
Hajun poisto
- Poista kaikki ruoka jäkaapista ja irrota jäkaapin virtajohto.
- Puhdista kaikki sisapinnat, mukaan lukien katto, lattia jaseinat "Yleiset puhdistusohjeet" -kohdan ohjeiden mukaisesti. Kiinnitä erityistä huomiota nurkklin, rakoihin ja urin. Puhdista kaikki vetolaatikot, hyllyt ja tiivisteet.
- Kytke virtajohto takaisin ja pistä ruoka takaisin jäakaappiin. Pesj a kuivaa kaikki pullot, astiat ja purkit. Pakkaa ruoka-aineet tiukasti suljettuihin astioihin, ettei Hajua muodostu lisä. Tarkista vuorokauden kuluttua, onko haju havinnyt.
Suorita vaiheet 4 - 10, jos haju ei kadonnut. - Poista jäkaapista ruoka ja irrota virtajohto pistorasiasta.
- Puhdista kaikki sisapinnat, mukaan lukien katto, lattia jaseinat "Yleiset puhdistusohjeet" -kohdan ohjeiden mukaisesti. Kiinnitā erityistā huomiota nurkkii, rakoihin ja urin. Puhdista kaikki vetolaatikot, hyllyt ja tiivisteet.
- Aseta vihanneslaatikot jäkaapin ylähylllylle. Tunge jäkaappiin ja pakastimeen (myös oviin) rypistettyä mustavalkoista sanomalehtipaperia.
- Aseta sanomalehtipaperin eri kohtiin hilipuristeita.
- Sulje ovet ja anna jäkaapin olla rauhassa 24 - 48 tuntia.
- Poista hiilipuristeet ja sanomalehdet.
- Kytke virtajohto takaisin pistorasiaan ja aseta ruoka-aineet takaisin. Pese ja kuivaa kaikki astiat. Pakkaa ruoka-aineet tiivisti suljettuihin astioihin hajuhattojen estamiseksi. Tarkista 24 tunnin kuluttua, onko haju havinnyt.
Liima-aineet
- Poista liimajäanteet jäkaapin pinnasta hankaamalla sormella hammastahnaa liima-aineeseen, kunnes liima-aine irtoaa.
- Huhutele pinta lampimalla vedella. Kuivaa pinta pehmealla, puhtaalla kankaalla.
Oven tiivisteet
- Puhdista oven tiivisteet 3 kuukauden valein "Yleiset puhistusohjeet" -kohdan mukaisesti.
- Pida oven tiivisteet joustavina levittamalla tiivisteisiin ohut vaseliinikerros.
Kondenssikierukat
Varmista jäkaapin paras mahdollinen tehokkuus puhdistamalla kondenssikierukat 3 kuukauden valein.
Keraantnyt poly ja nukka voivat aiheuttaa:
- jäahdytystehon heikkenemistä
- energiankulutuksen lisäantymista
-
jääkaapin osien ennenaikaisen hajoamisen
-
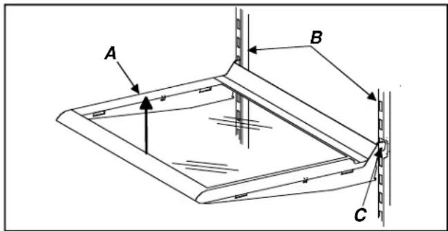
Irrota alaritilä pitamalla paista ja vetamalla poispain jaakaapista.
- Puhdista kondenssikierukan etupinta polynimurin letkusuuttimella.
- Asenna alaritilä takaisin tyontamalla kiinnikkeet reikiin ja napsauttamalla ne sisän.
- Nosta tasapainotusjalkaa (joissakin malleissa) kaantamalla jalkaa vasemmalle.

HUOMIO
Suojaa pehmea muovimattoa tai muuta lattiamateriaialia pahvilla, matoilla tai muulla suojamateriaialilla omaisuusvahinkojen valttämiseksi.
- Veda jäkaappi irti seinastā. Puhdista jäkaapin takana oleva tuuletinritilä polynimurin harjalla.
Lasihyllyt

HUOMIO
Kasittele karkaistuja lasihlyljä varovasti henkilö- ja omaisuusvahinkojen välttamiseksi. Hylyt voivat särkyä akillisesti, jos niita taitetaan, naarmutetaan tai niiden lampötila muuttuu nopeasti.
Irrota hylly dostamalla etuosa, vapauttamalla koukut metallikiskosta ja vetamalla hylly lopuksi ulos. Aseta hylly pyyhkeen paalle. Puhdista hylly vasta, kun se on saavuttanut huoneenlammon.
Puhdistraotseuraavasti:
- Valmista laimea puhdistusaineseos ja harjaa liuos rakoihin muoviharjaksisella harjalla. Anna aineen vaikuttaa viisi minuuttia.
- Ruiskuta lammintä vetta rakoihin vesihanaan liitetyllä suihkulla.
- Kuivaa hylly huolellisesti ja asenna se takaisin tyontamalla koukut metallikiskoon ja laskemalla hylyn etuosaa.
Hehkulampun vaihtaminen

VAROITUS
Irrota jäkaapin virtajohto ennen hehkulampun vaihtamista. Nain valtetaan sahköisku, joka voi aiheuttaa henkilovahinkoja tai kuoleman. Kytke virta takaisin, kun lamppu on vaihdetu.

HUOMIO
Noudata seuraavia ohjeita henkilo- ja omaisuusvahinkojen valttamiseksi:
- Anna hehkulampun jaahtya.
Käytä kaseinita, kun vaihdat hehkulampun.
Tuoreruokaosaston valo
- Irrota hehkulampun kansi (B) irrottamalla 1 / 4 -tuumaiset kuusiokantaruuvit (A). Ålå käytä yli 25 watin jäkaappiin tarkoitettua hehkulamppua.
- Asenna hehkulampun kansi (B) kiertamalla 1/4-tuumaiset kuusiokantaruuvit (A) takaisin.

Pakastimen valo
- Irrota hehkulampun kansi (B) irrottamalla 1/4-tuumaiset kuusiokantaruuvit (A). Älä käytä yli 25 watin jäkaappin tarkoitettua hehkulamppua.
- Asenna hehkulampun kansi (B) kiertamalla 1/4 -tuumaiset kuusiokantaruuvit (A) takaisin.

Vihjeita Ioman ajaksi
Suorita seuraavat toimenpiteet, kun olet lahdossa lyhyelle Iomalle.
- Poista pilaantuvat ruuat.
- Jos jäkaappiin on asennettu jaapalakone, siirä jaapalakoneen vari yiös Off-asentoon (pois). (Katso Kohtaa "Jaapalakone" Sivulla 161.)
Suorita seuraavat toimenpiteet, kun olet lahdossa pitkalle lomalle.
- Tyhjenna jaakaappi ja pakastinosa.
- Irrota pakastimen virtajohto.
-
Puhdista pakastimen ja oven tiivisteet "Hoito ja puhdistus" -osan "Yleiset puhdistusohjeet" -kohdan ohjeiden mukaisesti.
-
Tue ovet auki. Nain ilma paasee kiertamaan sisallä.
- Jos jäkaappiin on asennettu jäpalakone, kännä jäkaappiin johtava vesijohto pois paälta ja siirra jäpalakoneen vari yiös Off-asentoon (pois). (Katso Kohtaa "Jäpalakone" Sivulla 161.)
Energiansäastövihjeita
Tämä jaakaappi on suunnitelu siten, etta se on eras markkinoiden energiataloudellisimmista jaakaapeista. Voit vahentaa energiaaktivtoa seuraavilla tavoilla.
- Kayta jäkaappia normalaissa huoneenlammössä (13 °C - 43 °C). Äla altista jäkaappia lampolähnteile tai suoralle auringonvalolle.
- Aseta jäkaappi ja pakastin ja lampötilaltaan saädelty lihalaatikkon vain niin kylmäksi kuin on tarpeen.
- Pidä pakastinosa täynna.
- Pida oven tiivisteet puhtaina ja joustavina. Vaihda kuluneet tiivisteet.
- Pidä kondensssikierukat puhtaina.
Normaalit käntyäenet
Tämä jaakaappi korvaa ehk eri tavalla suunnitellun, tehottomamman tai pienemman jaakaapin. Nykaiakaisissa jaakaapeissa on enemman ominaisuksia ja ne kuluttavat vahemman energiaa. Tasta johtuen tietyt aanet voivat olla vieraita. Nämä aenet ovat kuitenkin normaaleja, ja totut nihin pian. Nämä aenet myos osoittavat, etta jaakaappi toimii suunnitellulla tavalla.
- Pakastimen saadin napsahtaa, kun kompressori kaynnistyy tai sammuu.
- Pakastimen tuulettimen ilma kiertaa ja sirisee.
- Suljetti järestelma (höyrstin ja lammönvaihdin)
jaahdytysvirtauksen korinaa, poksahduksia tai aaniä,
jotka muistuttavat kiehuvaa vetä. - Sulatuslammitin sihisee, pihisee tai poksahtelee.
- Sulatusajastin kuulostaa sahkokellolta.
Sulatusajastin kytkee sulatustoiminnon paallee ja pois. - Kondensaattorin tuulettimen ilma kiertaa ja sirisee.
- Kompressorin aani on teravā hurina tai vaihteleva aani. Kompressori menee ajoittain paäle ja pois.
- Jäopalakoneen (joissakin malleissa) jäakuutiot tippuvat jääastiaan.
- Jaapalakoneen vesiventtilin liitos (joissakin malleissa) surisee, kun jaapalakone taytty vedella. Tamä aani kuuluu, vaikka jaakaappia ei olisikaan liitetty vesijohtoon. Jos jaakaappia ei ole liitetty vesijohtoon, lopeta aani nostamalla jaapalakoneen vari's Off-asentoon (pois). Vesiventtilin liitos sijaitsee jaakaapin takaosassa kondensaattorin tuulettimen takana.
Huomautus: Vaahtoeristys on erittain
energiataloudellinen, ja sen eristysominaisuudet ovat
erinomaiset. Vaahtoeristys ei kuitenkaan ime aantä yhtä
tehokkaasti kuin ennen kayetty lasikuitueristys.

Ennen huollon kutsumista
| Ongelma | Ratkaisu |
| Jäëkaappi ei toimi. | Tarkista, ettã pakastimen sãädin on pãällä.Tarkista, ettã pakastimen virtajohto on kytketty pistorasiaan. Kytkevirtajohto oikean jännitteisen ja toimivaan pistorasiaan.Tarkista sulake tai automaattinen virrankatkaisija. Liïtã joking muu laitekyseisen pistorasiaan. Jos pistorasia ei toimi, vaihda sulake tai nollaa automaattinen virrankatkaisija.Jos pakastimen sãädin on pãällä, valot toimivat, mutta 2 tuuletinta ja kompressori eivã toimi, jäëkaappi saattaa olla jänpoinstolassa. Odota40 minuutin ajan, ettã jäëkaappi käynnistyy. |
| Jäëkaappi ei toimi vielåkãän. | Irrota jäëkaapin virtajohto. Siirrã ruoka muuelle tai pistã pakastinosaan hiilihappojäätä ruuan säilyttämiseksi. Soita sähköasentajalle. |
| Ruoka tuntuu olevan liianlammintä. | Katso yllã olevia kohtia.Anna hiljattain lisãyn ruuan saavuttaa jäëkaapin tai pakastinenlampötila. Ruuan lisãäminen lammittãä jäëkaappia. Jäëkaapinpalautuminen normalaillin toiminalampötilaan voikestãä mututan tunnin.Tarkista, ovatko tiivisteet kunnossa ja ettã ne sulkeutuvat tiiviisti.Puhdista kondenssikierukat. Katso "Hoito ja puhdistus"-osan"Kondenssikierukat"-kohdan ohjeita.Sãädã jäëkaapin ja pakastimen sãädin. Katso ohjeet "Sãätimet"-osan"Sãädinten asettaminen"-kohdasta.Pakastimen tai jäëkaapin valo ei sammu. Jos valo ei sammu, irrota hehkulamppu ja soita sähkõasentajalle.Vihanneslaatikon takana oleva paluuilma-aukko on tutkeutunut ja estãilman virtaamisen. Puhdista paluuilma-aukoista lika, joka tukkii aukot tai estã ilman virtaamisen. |
| Ruoka on liian kylmãä. | Puhdista kondenssikierukat. Katso "Hoito ja puhdistus"-osan"Kondenssikierukat"-kohdan ohjeita.Sãädã tuoreruokaosaston sãädintã. Katso ohjeet "Sãätimet"-osan"Sãädinten asettaminen"-kohdasta.Aseta pakastimen sãädin lampimãmmålle. Katso ohjeet "Sãätimet"-osan"Sãädinten asettaminen"-kohdasta.Lampötilan sãätyminenkestãuseita tunteja. |
| Jäkaappi kyy lian usein. | Tämä saattaa olla normalia tasaisen lämpötilan ylläpitämiseksi.Ovet on ehkä avattu usein ja pitkäksi aikaa. Kun ovi avataan, jäkaappiin virtaa kosteaa ja lammintä ilmaa. Jäkaapin palautuminen normalaillin lmpötilaan voikestäa usean tunnin ajan.Anna hiljattain lisätyn ruuan saavuttaa jäkaapin tai pakastimen lmpötila.Ruuan lisääminen lammittä jäkaappia. Jäkaapin palautuminen normalaillin toimtalampötilaan voikestäa muutaman tunnin.Puhdista kondenssikierukat. Katso "Hoito ja puhdistus"-osan "Kondenssikierukat"-kohdan ohjeita.Säädä pakastimen säädin. Katso ohjeet "Saatimet"-osan "Säädinten asettaminen"-kohdasta.Tarkista, ovatko tiivisteet kunnossa ja että ne sulkeutuvat tiiviasti.Pakastimen tai jäkaapin valo ei sammu. Jos valo ei sammu, irrota hehkulamppu ja soita sähköasentajalle.Varmista, että jäkaappi on suorassa. Katso asennusohjeiden tasapainottamista koskeva osa. |
| Jäkaapin sisään muodostuu vesipisaroita. | Tämä on normalaia, kun COSTUTTA on runsaasti tai, jos ovet on avattu usein.Pakkaa ruoka-aineet tiiviisii in astioihin. Pyyhi kosteat astiat ennen niiden asettamista jäkaappiin. Näin estät kosteudén kertymisen. |
| Jäkaapin ulkopuolelle muodostuu vesipisaroita. | Tarkista oven tiivisteiden tiiviys. Tiivisteiden on sulkeuduttava tiiviasti ovea vasten.Tämä on normalaia, kun COSTUTTA on runsaasti tai, jos ovet on avattu usein. |
| Jäkaapissa on haju. | Katso "Hajun poisto"-ohjeita "Hoito ja puhdistus"-osasta. |
| Jäkaappi pitää kummallista äntä tai vaikuttaa liian meluisalta. | Tämä voi olla normalaia. Katso "Normaalit käntyäänet"-kohdan tiedot. |
| Jäpalat haisevat. | Katso "Hajun poisto"-ohjeita "Hoito ja puhdistus"-osasta.Jäkaapin tai pakastimen ruoka-aineita ei ole pakattu tiiviisii in astioihin.Pakkaa ruuat huolellisesti, koska haju voi muuten kulkeutua jäähän.Hävitätä jäapalat ja puhdista jäapala-astiat useammin. Jäapalat ovat huokoisia ja kerävät helposti hajuja.Vesijohtovesi sisälä mineraaleja, kuten rikkä. Joissakin tapauksissa haju-ja makuongelmien ratkaisemiseen tarvitaan suodatin. |
| Jäpalat takertuvat toisiinsa tai "kutistuvat". | Tyhjennä jäapala-astia tai -tarjottimet useammin. Jos jäpalakonetta käytetään harvoin, jäakuutiot saattavat takertua tosiinsa tai kutistua. |
Rajoitetti yhden vuoden takuu Kompressorin rajoitetti viiden vuoden takuu
Ensimmäinen vuosi
Amana korvaa materiaaliltaan tai valmistuksettaan vialisen osan. (FOB Amana, Iowa, USA)
2.-5.vuosi
Amana korvaa materiaalilaan tai valmistuksettaan vialisen kompressorin. (FOB Amana, Iowa, USA)
Takuun rajoitukset
Takuu alkaa ostpäävastä.
Huoltotyöt saa tehdä vain Amanan valtuuttama sahkõasentaja.
Takuu raukeaa, jos
- Nimikylti on viallinen.
- Tuotetta käytetaan kaupallisessa käytössa tai vuokrakäytössa.
- Tuote on vauroitunut onnettomuuden, muutostöden, väräran jännitteen käytön, tulipalon, tulvan, ukonilman, kuljetuksen, käsittelyvirheiten vuoksi tai muusta syystä, johon Amana ei voi vaikuttaa.
- Tuote on asennettu vaärin tai sitä käytetaan vaärin.
Omistajan vastuut
- Ostodostocene (kuitin) esittäminen.
- Normaalista hoidosta ja huollosta huolehtiminen sekä käytäjan vaihdettavissa olevien osien vaihtaminen käytöhjeiden mukaisesti.
- Asettaa tuote helposti huollettavaan paikkaan.
- Maksaa huoltokustannukset huoiloista, jotka tapahtuvat normalaalien tyoakojen ulkopuolella.
- Tuotteen asentamiseen tai käytämisen liittyvien huoltokäyntien maksaminen.
Amana ei missaan olosuheissa vastaa satunnaisista tai johdannaisista vahingoista mukaan lukien ruokien pilaantuminen.*
Jos sinulla on takuuehtoja koskevia kysmyksiä tai haluat tilata valtuutetun sahköasentajan, ota yhteys tuotteen jalleenmyyjäan. Voit myös ottaa yhteyttä suoraan Amanaan:
(Kansainvalinen osasto)
Amana
2800 220th Trail
PO Box 8901
Amana, IA 52204-0001
Yhdfsvallat
Puhelin: +1-319-622-5511
HelppoOhje