BX 518 VW VE - Frigorifero AMANA - Manuale utente e istruzioni gratuiti
Trova gratuitamente il manuale del dispositivo BX 518 VW VE AMANA in formato PDF.
Scarica le istruzioni per il tuo Frigorifero in formato PDF gratuitamente! Trova il tuo manuale BX 518 VW VE - AMANA e riprendi in mano il tuo dispositivo elettronico. In questa pagina sono pubblicati tutti i documenti necessari per l'utilizzo del tuo dispositivo. BX 518 VW VE del marchio AMANA.
MANUALE UTENTE BX 518 VW VE AMANA
Estantes del frigorifico 65
Manuale d'uso internazionale per frigorifero con congelatore sul fondo
Summario
Requisiti elettrici 104
Identificazione del modello 104
Come eliminare il frigorifero in modo corretto 104
Istruzioni per l'installazione 104
Liasta di risconto installazione 108
Comandi 109
Comandi Cibi Freschi e Freezer 109
Impostazione dei comandi 109
Caratteristica del vano Cibi Freschi 109
Ripiani del vano Cibi Freschi 109
Cassetti verdure e ortaggi Garden FreshTM 110
Rastrelliera portaoggetti (su alcuni modelli) 110
Vaschetta di conservazione con coperchio (su alcuni modelli) 110
Scomparto latticini (su alcuni modelli) 110
Vaschette incassate 111
Staffa per confezioni alte (su alcuni modelli) 111
Ripiani incassati nella porta 111
Divisore regolabile (su alcuni modelli) 111
Portabottiglie (su alcuni modelli) 111
Caratteristiche del vano Freezer 111
Sistema Defrosting 111
Griglia porta-ghiaccio (su alcuni modelli) 111
Ripiano estraibile (su alcuni modelli) 112
Divisore verticale per ripiani (su alcuni modelli) 112
Ripiano fisso metallico (su alcuni modelli) 112
Contenitore in rete metallica. 112
Scomparto del ghiaccio (su alcuni modelli) 112
Cura e pulizia 112
Pulizia generale 112
Come eliminare gli odori 113
Adesivi 113
Guarnizioni porta 113
Circuito condensatore 113
Ripiani in vetro 113
Sostituzione della lampadina 113
Consigli per i periodi di vacanze/assenza 114
Consiglio per ridurre il consumo di energia. 114
Normali rumori di funzionamento 115
Prima di chiamare il servizio assistenza 116
Garanzia 118
Nota:
Talvolta la traduzione può apportare modifiche al significato.
Nei casi in cui il significato fosse diverso, si dovrà considerare quello della versione inglese del documento.

Questo symbolo significa precauzione di sicurezza.
Requisiti elettrici
Il frigorifero è progettato per funzionare collegato ad un circuito proprio da 230 volt, 50 Hertz, 10 ampere.
Identificazione del modello
Le informazioni sul prodotto si trovano sulla targhetta con il numero di serie. Prenderenota dei seguenti dati:
Numero modello:
Numero costruttore:
Numero di matricola:
Data d'acquisto:
Nome e indirizzo del rivenditore:
Conservare copia della ricevuta di vendita per future necessità.

PERICOLO
Come eliminare il frigorifero in modo corretto
IMPORTANTE: Bambini intrappolati in un frigorifero o rischi di soffocamento non sono solo problemi del passato. I frigoriferi abbandonati o rottamati sono presentare rischianche se vengono conservati "solo per quale giorno". Per sbarazzarsi di un frigorifero vecchio, attenersi alle struzioni di seguito riportate in modo da evitare eventuali incidenti.
PRIMA DI ELIMINARE FRIGORIFERIO
CONGELATORI VECCHI:
- smontare le porte;
- lasciare i ripiani al loro posto, in modo che i bambini non possano arrampicarsi all'interno dell'elettrodomestico.

Istruzioni per l'installazione
Introduzione
I collegamenti elettrici dovranno essere effettuali da personale technique qualificato in conformità alle istruzioni d'installazione di seguito riportate.
Misurare la luce della porta e l'altezza e profundità del frigorifero. All'occurrezza, togliere maniglie o porte. Il technique dovra atteneri scrupolosamente alle normative di collegamento idrico ed elettrico locali.
Le eventuali riparazioni o sostituzioni di cavi d'alimentazione dovranno essere effettuate solo da personale technique qualificato.
Una installatione corretta assicura il funzionamento ottimale del frigorifero. La Amana Appliances non si assume alcuna responsabilita nel caso in cui l'installatione non venga eseguita correttamente.
Requisiti d'installazione
- Effettuare l'installazione su presa con messa a terra con circuito 230 V, 50 Hz, 10A separato.
- Proteggere le pavimentazioni delicate con cartoni o stracci.
- Effettuare l'installazione su pavimentazione in grado di sostenere un peso di Kg. 429.
- Lasciare uno spazio libero di mm 25 sul lato superiore e di mm 5 ai lati del frigorifero.
NOTA: Non installare il frigorifero accanto a un forno, a un radiatore o ad un'altra fonte di calore. Non installare il frigorifero in un ambiente la cui temperatura possa scendere a meno di 13^ C.
1. Come togliere la base di legno

ATTENZIONE
- Per evitare rischi di lesioni fisiche o danni materiali, la base di legno dovrè essereolta da due persone.
-
Per evitare guasti meccanici, non lasciare il frigorifero su un lato più del tempo necessario per togliere i bulloni.
-
Assicurare con del nastro adesivo gli spigoli superiort destro e sinistro per impedire che le porte si aprano inavvertamente.
- Inserire il carrello sotto al frigorifero dal lato opposto a quello con le cerniere.
- Proteggere il frigorifero con una coperta o un panno imbottito morbido. Avvolgere la fascetta attorno al frigorifero eMETTERa la gomma spugnosa che si trovane nel cartone di spedizione molto la fascetta. Tendere saldamente la fascetta senza stringeria leccessivamente.
- Abbassare il carrello verso il pavimento con la maniglia del carrello tutte in basso.
- Togliere i due bulloni superiori alla slitta.
- Riportare il frigorifero e il carrello in posizione verticale. Togliere la fascetta.
- Inserire il carrello sotto il lato opposto del frigorifero.
- Ripetere le procedure dei punti da 3 a 5.
- Rimuovere la base di legno.
- Riportare il frigorifero e il carrello in posizione verticale e togliere il carrello. Spostare il frigorifero davanti alla sua sede definitiva e togliere il carrello.
2. Rimozione ed inversionione delle porte in caso di necessità.
In alcuni installazioni più essere necessario invertire le porte in modo da ottenere la massima aperture delle stesse. Per invertire la direzione di aperture delle porte, procedere come segue:
Attrezzi necessari
Chiavi come necessario
Cacciavite Phillips
Cacciavite a lama
Nastro di copertura
IMPORTANT: Se per rimuovere le spine viene utilizzato il cacciavite a lama piatta o la spatola, copire la lama dell'attrezzo con nastro in modo da non danneggiare il rivestimento del frigorifero. Per spine che richiedono un cacciavite o una chiave con testa del tipo per dadi, utilizzare l'attrezzo adatto per evitare di danneggiare le spine.
-
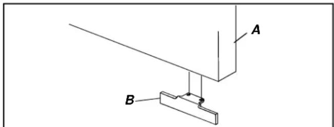
Rimozione della maniglia del frigorifero.
-
Togliere la vite (C) della maniglia dalla guarnizione (A) della maniglia stessa. Far leva sul bordo della guarnizione (A) della maniglia con un cacciavite a lama rivestito con nastro. Togliere la maniglia (B) alla porta svitando la vite di fissaggio (C) su ciascuna estremità della maniglia.
-
Togliere una spina dalla parte superiore della porta, lato cerniera e 2 dalla parte frontale della porta, lato cerniera (D) . Riposizionare le tre spine nei fori di montaggio vuoti, lato opposto della porta, utilizzato le viti di montaggio (C) .


-
Rimozione della maniglia del freezer.
-
Aprire a 90^ la porta del freezer. Individuire le 2 scanalature sul retro della maniglia (A). Inserire il cacciavite piatto con la lama avvolta nel nastro. Far leva sul bordo posteriore del tappo della maniglia (B) per toglierlo da quest'ultima.
Rimuovere le due viti di montaggio (C) per togliere la maniglia (A) alla porta. - Togliere le due spine (D) dal lato opposto della porta del freezer e riposizionarle nei fori di montaggio vuoti.

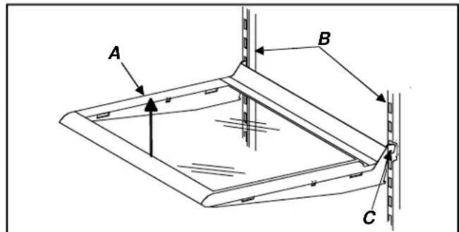
- Rimozione del coperchietto della cerniera superiore. Il coperchietto si toglie di scatto. Togliere le viti da 5 / 16 (A) in modo da liberare la cerniera superiore (B) e lo spessore (C) della cerniera con una chiave per dadi esagonali. Togliere e conservare tutti gli spessori (C & D).
- Togliere la porta del frigorifero sollevandola dal perno (F) della cerniera centrale e dal dato esagonale (E). Controllare la porta per accertarsi che in tutti gli spessori (D) siano presenti i perni della cerniera.
- Togliere il perno (F) della cerniera centrale con la chiave per dadi esagonali. Per serrare a fondo il perno cui è necessario esercitare una forte pressione. Togliere e conservare tutti gli spessori (D) .
- Togliere la porta del freezer sollevandola alla cerniera inferiore (K).
- Togliere la staffa (G) e lo spessore (H) della cerniera centrale con il cacciavite Phillips.
-
Togliere la mascherina inferiore ed il coperchietto della cerniera inferiore. Entrambi si tolgono di scatto.
-
Togliere il perno (J) della cerniera inferiore, la cerniera stessa (K) e gli spessori (L) della cerniera con la chiave per dadi esagonali. Togliere e conservare gli spessori (D) .

-
Inversione dei fermi della porta.
-
Posizione are il fermo (B) della porta sul bordo inferiore della porta del frigorifero (A). Svitare le due viti Phillips per poter togliere la porta. Togliere le due viti Phillips sul bordo opposto della porta. Montare il fermo sul lato opposto. Riposizione are le viti restanti nei fori di montaggio vuoti.
- Ripetere a nitroso le istruzioni sopra descripte per invertire il fermo sulla porta del freezer.

- Per invertire le porte, procedere nel seguente modo:
- Togliere le spine e le viti sul lato opposto del corso interno del frigorifero. Inserirle nei fori rimasti dopo aver rimioso la cerniera.
- Montaggio delle cerniere inferiore, centrale e superiore con spessori sul lato opposto del corpo interno del frigorifero.
-
Riposizionare la cerniera inferiore sul lato opposto del corpo del frigorifero. Verificare che gli spessori siano posizionati sulla cerniera prima di riavvitarli in posizione. Dopo aver inserto la spine della cerniera nel foro alla parte esterna, riposizionare gli spessori rotondi. In alcune cerniere inferiori si possono presentare delle spine all'interno dei fori. In tal caso, rimuovere la spine alla parte esterna del foro, inseire il perno nel foro e riposizionare la spine nel foro vuoto.
-
Riposizionare la cerniera superiore e gli spessori lasciando un gioco sufficiente per far scivolare in posizione il lato incernirato della porta del frigorifero. Serrare la cerniera inferiore in modo che tenga ferma saldamente la porta.
- Lasciare uno spazio libero di 1116 (18 mm) tra corpo interno del frigorifero e porta.
- Il lato con maniglia della porta deve rimanere più alto del lato con cerniera di circa 1/8 (3 mm). La porta si abbasserà quando conterrà del cibo.

- Montaggio della maniglia del frigorifero sul lato opposto della porta utilizzato le viti di montaggio tolte come descritto nel passo precedente.
- Far scattare in posizione la guarnizione della maniglia e riposizionare la vita.
- Montaggio della maniglia del freezer sul lato opposto della porta utilizzato le viti di montaggio totte come descritto al passo precedente.
- Piegare ad angolo il bordo anteriore della calotta della maniglia verso il bordo posteriore della maniglia del freezer. Controllare che la linguetta inferiore della calotta del freezer scivoli al di除去 del bordo posteriore della maniglia del freezer.
- Controllare il livellamento dell'unità seguito le istruzioni a partire dal passo 5.
- Riposizionare la mascherina inferiore ed il coperchietto della cerniera inferiore. Importante: Cercare la freccia stampigliata all'interno della mascherina per verificare il corretto posizionamento.
- Far scattare in posizione per prima la parte alta. Premere verso il basso la mascherina inferiore nella sua parte Bassa fino a che questa arrivava con uno scatto in posizione.

3. Spostamento del frigorifero nella sua sede definitiva

ATTENZIONE
Per evitare danni materiali, proteggere le pavimentazioni in vinile morbido o altri materiale con cartoni, stracci o altre materiale protettivo.
4. Inserimento del cavo di alimentazione.
- Alla manutenzione del cavo di alimentazione deve provedere esclusivamente personale tecnico qualificato. Per la manutenzione dell'apparecchio occorrono strumenti speciali. Per far esquire lavori di riparazione o regolazione contattare il Servizio autorizzato più vicino.
5. Messa a livello del frigorifero.
a. Ruotare la vite di regolazione (A) delle rotelle verso destra per sollevare il corpo del frigorifero e verso sinistra per abbassarlo.
b. Regolare il piedino stabilizzatore (B) in modo che il frigorifero risulti appoggiato saldamente sul pavimento.

ATTENZIONE
Per evitare ferite alle persono o danni materiali dovuti al ribaltamento del frigorifero, il piedino stabilizzatore deve essere appoggiato saldamente sul pavimento.

La presente lista di risconto serve solo per finalità di registrazione dati personali.
Utente Installatore
□
□
Porte
Il lato con maniglia della porta è più alto di 3 mm rispetto al lato con cerniera. (La porta si abbassa quando contiene del cibo.)
□
Le porte sono perfettamente sigillate rispetto al corpo frigorifero.
□
□
Messa a livello
Tra parte anteriore e parte posteriori del frigorifero rimane una inclinazione di 6mm
□
□
Uso del piedino di stabilizzazione sul pavimento.
□
□
La mascherina inferiore è correttamente fissata al frigorifero.
□
□
Manuali eistruzioni prodotto
Il Manuale d'uso e le istruzioni sul prodotto sono stati revisionati
Comandi Cibi Freschi e Freezer
Cassetto verdure e ortaggi ad umidità controllata
Cassetto a temperatura controllata
- Normali segnali acustici di funzionamento
Note:
Comandi
Il frigorifero è stato progettato per funzionamento in ambiente domestico a temperature normali da 13^ a 43^ C.
Comandi Cibi Freschi e Freezer
Il dato Cibi Freschi si trovava sulla parete posteriori superiore del vano Cibi Freschi.

Il dato Freezer si trova sulla parte anteriore destra del soffitto del vano Freezer.

Impostazione dei comandi
Quando il dato freezer è impostato su non funzionano né il vano frigorifero, né il vano freezer.
Inizialmente, impostare entrambi i comandi su 4.
Attendere 24 ore in modo che i comparti frigorifero e freeze raggiungano le temperature desiderate. Dopo le 24 ore, regolare i comandi, un numero alla volta, fino al valore desiderato. 1 è l'impostazione che corrisponde alla temperatura più calda e 7 l'impostazione che corrisponde a quella più fredda.
Impostare i comandi con precisione utilizzando un termometro per uso domestico la cui gamma di misurazione vada da -21^ a 10^ .
Mettere il termometro aderente alle confezioni congetate nel vano freezer e attendere 5-8 ore. Se la temperature del freezer non è compresa tra -17^ - 16^ , regolare il dato del freezer un numero alla volta. Effettuare un nuovo controlo dopo 5-8 ore.
Mettere il termometro in un bicchiere d'acqua nel mezzo del vano Cibi Freschi e attendere 5-8 ore. Se la temperatura del frigorifero non è di 3 - 4^ C, regolare il dato Cibi Freschi un numero alla volta. Effettuare un nuovo controlo dopo 5-8 ore.
Caratteristiche del vano Cibi Freschi
Ripiani del vano Cibi Freschi
I ripiani possono adattarsi a qualsiasi specifica esigenza di conservazione. Alcuni modelli dispongono di ripiani Spillsaver ^TM ed altri di ripiani Easy Glide ^TM . I ripiani Spillsaver ^TM trattengono cose eventualmente versate consentendo una migliorie pulizia.

ATTENZIONE
Per evitare danni materiali, accertarsi che il ripiano sia sicuro prima di riporvi cose.

ATTENZIONE
Per evitare lesions fisiche o danni materiali, maneggiare con cura i ripiani in vetro temprato in quanto potrebbero rompersi all'improvviso se scheggiati, scalfiti o esposti a improvvisile variazioni di temperatura.
- Per togliere i ripiani (A), sollevare il lato anteriore, rilasciare i ganci (C) dal supporto metallico (B) e tirare.
Per sostituire i ripiani, inserire i ganci (C) nel supporto metallico (B) e abbassare il lato anteriore.

I ripiani Easy GlideTM possono fuoriuscire, consentendo in tal modo un più facile accesso alle cose riposte sul fondo.

Cassetti verdure e ortaggi Garden FreshTM
I cassetti verdure e ortaggi Garden Fresh™ mantengono fresche le verdure più a lungo. Le verdure dovranno essere avvolte molto strette e non lavate prima di essere messe nei cassetti. L'eccessiva umidità potrebbe promiettere la buona conservazione. Non mettere tovagliolini di carta nel cassetto perché trattrebbbero l'umidità.
Il dato Garden FreshTM (D) si trova sotto la guarnizione del ripiano anteriore. Il dato consente la regolazione dell'umidità nei cassetti verdura. Il dato dovra essere impostato su alto per verdure o ortaggi a foglia (insalata, spinaci, cavoli) e su basso per le verdure o ortaggi con buccia, come ad esempio cavolfiori, mai, pomodori.
Per aprire o riposizionare i cassetti verdure e ortaggi, togliere il ripiano ed i cassetti seguendo la procedura qui除去 descritta.
-
Apriere il cassetto di sinistra.
-
Nei frigoriferi con porta incernierata a sinistra, aprire il cassetto di destra.

ATTENZIONE
Per evitare lesioni fisiche o danni materiali, maneggiare con cura i ripiani in vetro temprato in quanto potrebbero rompersi all'improvviso se scheggiati, scalfiti o esposti a improvvisile variazioni di temperatura.
- Per togliere il ripiano superiore (A) in vetro del cassetto verdure e ortaggi, spingerlo leggermente da fatto. Sollevarne una estremità ed estrarla.
- Per togliere il cassetto verdure e ortaggi sinistro, sollevare il lato anteriore del ripiano sostendolo dal di quello e quindi estrarre. Nei frigoriferi con porta incernierata a sinistra, togliere il cassetto di destra.
- Togliere l'alto cassetto come indicate al punto 3. Se la porta impedisce la rimozione dei cassetti, togliere il cassetto insieme al suo telaio come indicate al punto 5.
- Per togliere il telaio (B) del cassetto, sollevarlo dallo stamo di plastica (C) ed estrarlo delle scanalature che si trovano nel gruppo guida interno al corpo del frigorifero. Spingerlo ed estrarlo dall'unità.
- Per riposizionare i cassetti verdure e ortaggi, eseguire a nitroso i punti da 2 a 5.

Rastrelliera portaoggetti (su alcuni modelli)
Consente la conservazione ottimale di elementi quali bottiglie grosse, uova, ecc.
- Agganciare la rastrelliera sul lato del ripiano.

Vaschetta di conservazione con coperchio (su alcuni modelli)
Questa vaschetta è provvista di un coperchio e di un vassoiietto asportabile per le uova. Una volta molto il vassoiietto, la vaschetta potra contentere confezioni standardi cartone per le uova, ghiaccio, ecc.

Scomparto latticini (su alcuni modelli)
Lo scomparto latticini consente una conservazione ottimale di alimenti quali burro, formaggi, ecc.
- Per togliere lo scomparto latticini, aprire lo sportellino (A), spingere verso il basso le linguette (B) che si trovano sui due lati del ripiano ed estrarre lo scomparto.
- Per riposizionare lo scomparto, inserirlo fino a che le linguette (B) si bloccano in posizione, quindi abbassare lo sportellino (A).

Vaschette incassate
Le vaschette incassate nella porta sono regolabili in base alle esigenze personali di conservazione.
- Per togliere le vaschette incassate nella porta, spingere verso il centro le linguette (A) che si trovano sui due lati dei ripiani ed estrarre le vaschette.
- Per riposizionare le vaschette, farle scorrere dentro fino a che le linguette (A) si bloccano in posizione.

Staffa per confezioni alto (su alcuni modelli)
La staffa per confezioni alte consente la conservazione di confezioni alte in condizioni di sicurezza. La staffa si adatta al bordo anteriore di qualsiasi vaschetta incassata o ripiano incassato nella porta del frigorifero.

Ripiani incassati nella porta
- Per togliere i ripiani incassati, sollevarne le estremita ed estrarli.
- Per riposizionare i ripiani, posizionarli sulle apposite guide e spinnerli verso il basso.

Divisore regolabile (su alcuni modelli)
Il divisore regolabile consente una sistematicione ottimale degli oggetti e più essere regolato in modo da soddisfare le singole esigenze. Il divisore si adatta a qualunque vaschetta incassata o ripiano incassato nella porta del frigorifero.

Portabottiglie (su alcuni modelli)
Il portabottiglie consente una sistematicione ottimale delle bottiglie e può essere regolato in modo da soddisfare le singole esigenze. Il portabottiglie si adatta a qualunque vaschetta incassata o ripiano incassato nella porta del frigorifero.

Caratteristiche del vano Freezer
Sistema Defrosting
I vani Cibi Freschi e Freezer sono del tipo defrosting. In condizioni normali lo sbrinamento avviene in maniera automatica per cui non è mai necessario eseguire lo sbrinamento dei due vani Cibi Freschi e Freezer.
Griglia porta-ghiaccio (su alcuni modelli)
Per installare la griglia porta ghiaccio (C) , infilarla nelle viti e nelle rondelle (A\& B) e spinnerla verso il basso.


Ripiano estraibile (su alcuni modelli)
Il ripiano estrabile più essere spinto in fuori in modo da rendere più facile l'accessoagli oggetti sistemati in fondo.
- Per togliere il ripiano estraibile, spingerlo in avanti sono a che i nottolini (B) che si trovano alle estremità della guida centrale (A) si incastrano nella scanalatura dello stamo.
- Afferrare il ripiano sulla guida centrale (A), solleverlo e toglierlo.
- Spingere il ripiano in除去 a che i nottolini (B) ricadono nella scanalatura.

Divisore verticale per ripiani (su alcuni modelli)
Per installare il divisore verticale per ripiani, atteneri alla seguente procedura:
- Infilare i denti del divisore al除去 della griglia in cui lo si vuole installare, leggermente spostati alla guida centrale.
- Spingere verso il basso il divisore premendo sulla parte superiore ed inserire il sistema di aggancio fatto la guida centrale.

Ripiano fisso metallico (su alcuni modelli)
- Per togliere il ripiano metallico, spingerlo in fuori. Puo essere necessario uno strappo secco.
- Per riposizionare il ripiano, spingerlo in dentro sono a che la sua parte posteriore si blocca in posizione.

Contenitore in rete metallica
Il contentatore in rete metallica (A) si sfila per consentire un facile accesso alle cose riposte sul fondo.
- Per togliere il contentatore metallico solleverlo e spingerlo in fuori.
Per riposizionare il contentore metallico, è sufficiente infilario.

Scomparto del ghiaccio (su alcuni modelli)
Lo scomparto del ghiaccio (A) poggia sotto la griglia portaghiaccio del ripiano in rete metallica del congelatore.

Cura e pulizia

AVVERTENZA
Per evitare rischi di scosse elettriche che potrebbero provocare lesioni fisiche gravi o letali, scollegare l'alimentazione al frigorifero prima di pulirlo. Una volta effettuato l'intervento di pulizia, ricollegare l'alimentazione.

AVVERTENZA
Per evitare lesions fisiche o dati materiali, leggere le istruzioni riportate sui prodotti usati per la pulizia ed attenervisi scrupolosamente.
Pulizia generale
- Lavare le superfici e la parte esterna con un panno morbido pulito imbevuto in una soluzione di 60 ml di bicarbonato di sodio dissolta in 1 litro di acqua tiepida.
-
Sciacquare le superfici e la parte esterna con acqua tiepida ed ascugare con panno morbido e pulito.
-
NON USARE:
-
abrasivi o prodotti detergenti troppo forti, ammoniaica, candeggina contente cloro, ecc.;
- detersivi concentrati o solventi;
- strofinacci metallici.
Questi prodotti potrebbero rigare, rovinare o scolorire le superfici.
- Non mettere vaschette, ripiani e similii in lavastoviglie.
Come eliminare gli odori
- Togliere tutti i cibi e scollegare il frigorifero.
- Pulire tutte le superfici interne compreso il lato in alto, quello in basso e le pareti in conformità alle istruzioni generali indicate qui sopra. In particolare, fare attenzioneagli angoli,alle fessure ed alle scanalature.Pulireanche cassetti,ripiani e guarnizioni.
- Collegare l'alimentazione al frigorifero e rimettere i cibi nel frigorifero. Lavare ed asciugare tutte le bottiglie e tutti i contentitori e barattoli. Avvolgere i cibi molto stretti in contentitori per prevenir ulteriori odori. Dopo 24 ore verificare che l'odore sia stato eliminato.
Se I'odore permane procedere con i punti da 4 a 10. - Togliere tutti i cibi e scollegare il frigorifero.
- Pulire tutte le superfici interne compreso il lato in alto, quello in basso e le pareti in conformità alle istruzioni generali. In particolare, fare attenzioneagli angoli, alle fessure ed alle scanalature.
- Mettere i cassetti per verdura e ortaggi sul ripiano superiore del vano frigorifero. Stipare i vani frigoriferi e freezer, comprese le porte, con carta accartocciata di giornale.
- Mettere qua e la fra i giornali bricchetti di carboncino.
- Chiudere le porte e lasciare riposare 24-48 ore.
- Togliere i bricchetti di carboncino e la carta di giornale.
- Collegare l'alimentazione al frigorifero e rimettere i cibi nel frigorifero. Lavare ed asciugare tutti i contentitori. Avvolgere i cibi molto stretti in contentori per prevenir ulteriori odori. Dopo 24 ore verificare che l'odore sia stato eliminato.
Adesivi
- Eliminare i residui di colla delle superfici del frigorifero, sfregando con pasta dentificria sugli adesivi con le dita fino a quando l'adesivo non si stacco.
- Pulire la superficie con acqua tiepida. Asciugare con panno morbido e pulito.
Guarnizioni porta
- Pulire le guarnizioni della porta agli 3 mesi in base alle istruzioni generali di pulizia. Pulire immediatamente qualsiasi casa che vi venga rovesciata sopra.
- Applicare un leggero strato di gel minerale per mantenere le guarnizioni flessibili.
Circuito condensatore
Pulire il circuito condensatore che si trova diaetro la mascherina inferiore agli 3 anni, in modo da garantire il massimo funzionamento del frigorifero. Polvere e sporcizia accumulate possono causare:
- ridotte prestazioni di refrigerazione
- augmentato dispensio d'energia
-
guasto prematuro del pezzo.
-
Togliere la mascherina inferiore tenero le estremita ed allontanandola dal frigorifero.
- Pulire la superficie anteriore del circuito condensatore con ugello con getto ad aria compressa.
- Sostituire la griglia di protezione inserendo i fermagli nei fori sono allo scatto.
- Sollevare i piedini stabilizzatori (su alcuni modelli) ruotandoli versusinistra.

ATTENZIONE
Per evitare danni materiali, proteggere le pavimentazioni in vinile morbido o altri materiale con cartoni, stracci o altre materiale protettivo.
- Spostare il frigorifero alla parete.Passare una spazzola a depressione sulla griglia sul lato posteriore del frigorifero.
Ripiani in vetro

ATTENZIONE
Per evitare lesions fisiche o danni materiali, maneggiare con cura i ripiani in vetro temprato in quanto potrebbero rompersi all'improvviso se scheggiati, scalfiti o esposti a improvvise variazioni di temperatura.
Togliere il ripiano sollevando il lato anteriore, rilasciando i ganci alla corsia metallica, quindi tirando verso l'esterno. Riporre il ripiano su un telo e lasciarlo adattare alla temperature ambiente prima di pulirlo.
Pulire le fissure secondo la procedura di seguito riportata:
- Passare detersivo delicato e soluzione detergente nelle fissure con una spazzola con setole in plastica e lasciar riposare per 5 minuti.
- Spruzzare acqua tiepida nelle fissure utilizzando l'apposto rubinetto spruzzatore.
- Asciugare bene il ripiano e sostituirlo inserendo i ganci nella corsia metallica e abbassandolo dal lato anteriore.
Sostituzione della lampadina

AVVERTENZA
Per evitare rischi di scosse elettriche che potrebbero provocare lesioni fisiche gravi o letali, scollegare l'alimentazione al frigorifero prima di sostituire la lampadina. Dopato la sostuzione della lampadina, ricollegare l'alimentazione.

ATTENZIONE
Per evitare lesioni fisiche o dati materiali osservare le precauzioni seguenti.
- lasciar raffreddare la lampadina;
- indossare quanti protettivi durante la sostituzione della lampadina.
Lampadina Vano Cibi Freschi
- Togliere il coperchietto (B) della lampadina, svitando le viti a testa esagonale (A) da 1/4 . Sostituire la lampadina con una lampadina per elettrodomestici da non più di 25 Watt.
- Ripositionare il coperchietto (B) della lampadina riavvitando le viti a testa esagonale (A) da 14 .

Lampadina Vano Freezer
- Togliere il coperchietto (B) della lampadina, svitando le viti a testa esagonale (A) da 1 / 4 .Sostituire la lampadina con una lampadina per elettrodomestici da non più di 25 Watt.
- Ripositionare il coperchietto (B) della lampadina riavvitando le viti a testa esagonale (A) da 14 .

Consigli per i periodi di vacanze/assenza
In caso di periodi di vacanze/assenza di breve durata:
- Togliere i cibi deperibili.
- Se è installato un formaggiaccio, spostarne il braccio in su, in posizione Off. (Vedi la sezione Formaggiaccio automatico a pagina 116.)
In caso di periodi di vacanze/assenza di lunga durata:
- Vuotare i vani frigorifero e freezer.
- Scollegare il frigorifero.
- Pulire il frigorifero e le guarnizioni della porta in base alle istruzioni generali riportate alla sezione "Cura e pulizia".
- Con apposto sostegno, tenere aperte le porte, in modo da consentire la circolazione dell'aria all'interno.
- Se è installato un formaggiaccio, spegnere l'alimentazione acqua al frigorifero e spostare verso l'alto il braccio del formaggiaccio, in posizione Off. (Vedi la sezione Formaggiaccio automatico a pagina 116.)
Consigli per ridurre il consumo di energia
Questo frigorifero è nel suo genere una delle apparecchiature dal consumo energetico più ridotto. Il consumo d'energia si può ulteriormente ridurre osservando QUESTe precauzioni:
- Tenere l'apparecchiatura a normali temperature domestiche da 13^ a 43^ C, lontano da fonti di calore e alla luce diretta del sole.
- Non impostare i comandi del vano frigorifero, del freezer e del cassetto carni a temperatura controllata a temperature più fredde del necessario.
- Tenere piano il vano freezer.
- Mantenere le guarnizioni della porta pulite e flessibili e sostituirle quando sono usurate.
- Tenere puliti circuiti del condensatore.
Normali rumori di funzionamento
È probabile che questo nuovo frigorifero sostituisca un frigorifero di diversa configurazione progettuale, meno efficente o di dimensioni più contenate. I moderni frigoriferi sono molto più innovativi e consentono risparmi energetici più consistenti rispetto ai modelli di quale tempo fa. Quelli che sono normali rumori di funzionamento potrebbero suonare insoliti, nelle in realità sono assolutamente normali e diverranno ben presto familiari. Questi segnalanoanche che l'apparecchiatura sta funzionando a dovere e secondo leindicazioni progettuali.
- Il dato freezer emette un clic quando si avvia o quando si arresta il compressore.
- L'aria del ventilatore freezer va molto forte ed emette un ronzio.
- Il refrigerante delsystema a tenuta (evaporatore e scambiatore di calore) gorgoglia, scoppietta o emette un rumore come di acqua che bolle.
- Il riscaldatore di sbrinamento frigge, fischia o scoppietta.
- Il timer di sbrinamento emette un suono simile a quello di un orologia elettrico e fa insertire o disinserire il ciclo di sbrinamento.
- L'aria del ventilatore del condensatore va molto forte ed emette un ronzio.
- Il compressore emette un forte ronzio o un rumore pulsante e si accende e spegne ciclicamente.
- I cubetti di ghiaccio del formaghiaccio (su alcuni modelli) cadono nella vaschetta ghiaccio.
- L'allacciamento valvola acqua formaghiaccio (su alcuni modelli) - qui non raffigurato - emette un ronzio quando il formaghiaccio si riempie d'acqua. Questo accade indipendente delle fatto che il frigorifero sia collegato o meno all'alimentazione acqua. Se il frigorifero non è collegato all'alimentazione acqua, interrompere il rumore, sollevando il braccio del formaghiaccio in posizione Off. L'allacciamento della valvola dell'accua del formaghiaccio si trova dietro il ventilatore del condensatore sul retro del frigorifero.
Note: L'isolamento a schiuma consente un notevole risparmio energetico ed ha eccenti capacità isolanti, ma non è fonoassorbente come l'isolamento in fibra di vetro che si usava in precedenza.

Prima di chiamare il servizio assistenza
| Problema | Soluzione |
| Il frigorifero non funziona. | Accertarsi che il dato freezer sia acceso.Accertarsi che il frigorifero sia collegato, altrimenti collegare il cavo di alimentazione ad una presa attiva del voltaggio idoneo.Controllare il fusibile o l'interruttore di circuitto. Inserire un'alto apparecchio nella stessa presa. Se la presa non funziona, sostuire il fusibile o resettare il circuitto.Se il dato freezer è inserito e la lampadina funziona, ma i due ventilatori e il compressore non funzionano, il frigorifero potrebbe essere in ciclo di sbrinamento. Attendere 40 minuti per vedere se il frigorifero riprende a funzionare. |
| Il frigorifero continua a non funzionare. | Scollegare il frigorifero. Trasferire i cibi in un'altra apparecchiaturaoppure mettere ghiaccio secco nel vano freezer per conservarli.Chiamare il servizio di assistenza. |
| La temperature dei cibi sembra troppo calda. | Vedere sopra.Attemperere per consentire ai cibi non freddi appena messi di raggiungere la temperature del vano Cibi Freschi o del vano Freezer. Se vengono aggiunti cibi, il frigorifero si riscalda. Potrebbero essere necessarie alcune ore per riportare alla normalità la temperature del frigorifero.Verificare la perfetta tenuta delle guarnizioni. Le guarnizioni devono essere saldamente signillate al corso interno del frigorifero.Pulire i circuitti del condensatore. Vedere le istruzioni contenute nella sezione "Cura e Pulizia" alla voce "Circuiti del condensatore".Regolare il dato Cibi Freschi e Freezer. Vedere le istruzioni contenute nella sezione "Comandi" alla voce "Impostazione dei comandi".La luce del freezer o del frigorifero rimane accesa. Se la luce rimane accesa, togliere la lampadina e chiamare il servizio di assistenza.I ventilatori di ricircolo dell'aria che si trovano dietro i cassetti per verdura e ortaggi sono bloccati e limitano il flusso d'aria. Localizzare il ventilatore dietro i cassetti sudddetti e rimuovere qualunque corpo estraneo che blocchi i ventilatori o limiti il flusso d'aria. |
| La temperature dei cibi è troppo fredda. | Pulire i circuiti del condensatore. Vedere le istruzioni contenute nella sezione "Cura e Pulizia" alla voce "Circuiti del condensatore".Regolare il dato Cibi Freschi. Vedere le istruzioni contenute nella sezione "Comandi" alla voce "Impostazione dei comandi".Regolare il dato freezer su un'impostazione più calda. Vedere le istruzioni contenute nella sezione "Comandi" alla voce "Impostazione dei comandi". Lasciar passare quale ora per consentire l'adattamento della temperature. |
| Problema | Soluizione |
| Il frigorifero gira a frequenzaccessiva. | • Può essere normale per mantenere una temperatura costante.• Le porte possono essere state aperte troppo di frequente oppure per un periodo di tempo troppo prolongato. Quando siCTLapire una porta entra aria calda e umida all'interno del frigoriferro. Più volte viene aperta la porta, maggiore è la quantità di aria calda che il frigoriferro deve raffreddare.• Lasciar passare quale ora per consentire ai cibi non freddi appena messi di raggiungere la temperatura del frigoriferro o del freezer. Il frigoriferro potrebbe impiegare alcune ore per tornare alla temperatura normale.• Pulire i circuiti del condensatore. Vedere le istruzioni contyne nella sezione "Cura e Pulizia" alla voce "Circuiti del condensatore".• Regolare il comando freezer. Vedere le istruzioni contyne nella sezione "Comandi" alla voce "Impostazione dei comandi".• Controllare che la tenuta delle guarnizioni si perfetta. Le guarnizioni devono essere saldamente sigillate al corso interno del frigoriferro.• La luce del freezer o del frigoriferro rimane accesa. Se la luce rimane accesa, togliere la lampadina e chiaremie il servizio di assistenza.• Accertarsi che il frigoriferro sia ben livellato. Vedere le istruzioni contyne nella sezione "Messa a livello del frigoriferro" delle istruzioni per l'installazione. |
| Si formano gocciolined'acqua all'interno delfrigoriferro. | • Succeede normalmente nei periodi in cui persistsiste un'eccessiva umidità,oppure se le porte sono state aperte troppo di frequente.• Avvolgere gli alimenti molto stretti ed asciugare i contentitori dall'umiditàprima di deporli nel frigoriferro; in quello modo si evita l'accumulo di umidità. |
| Si formano gocciolined'acqua all'esterno delfrigoriferro. | • Controllare la tenuta delle guarnizioni della porta. Le guarnizioni devono essere saldamente sigillate al corso interno del frigoriferro.• Succeede normalmente nei periodi in cui persistsiste un'eccessiva umidità,oppure se le porte sono state aperte troppo di frequente. |
| Il frigorifero manda odori | • Vedere le istruzioni su come eliminare gli odori, contyne nella sezione "Cura e pulizia". |
| Il frigoriferero emette rumori strani o troppo forti. | • Potrebbero essere rumori normali. Vedere la sezione "Normali rumori di funzionamento". |
| I cubetti di ghiaccionomanzano odore. | • Vedere le istruzioni su come eliminare gli odori, contyne nella sezione "Cura e pulizia".• Il cibo nel comparto freezer o nel vano frigo non è stato avvolto strettamente.Riavvolgere meglio il cibo, in quanto – seesso non è ben avvolto - gli odorsisposso trasmettere al ghiaccio• Gettare il ghiaccio e pulire la vaschetta o i vassoi del ghiaccio più frequentlymente. Si ricordi che i cubetti di ghiaccio sono porosi e assorbono confacilityagli odori.• L'acqua erogata dall'acquedotto contiene minerali come ad esempio lo zolfo:In alcune situazioni potrebbe essere necessario installare un filtrodepuratore per eliminare problemi di odore e sapore. |
| I cubetti di ghiaccio issattaccano o si contraggono. | • Vuotare la vaschetta o i vassoi dei cubetti di ghiaccio più di frequente. Se vengono usati con scarsa freuenza, i cubetti di ghiaccio posso non attaccarsi o contrarsi. |
Garanzia limitata ad un anno
Garanzia limitata a cinque anni per il Compressore
Primo anno
Amana sostiturà gratuitoamente il pezzo, f.o.b. Amana, Iowa, USA, se il pezzo risultà difettoso per difetti di fabbricazione o dei materiali.
Dal secondo al quinto anno
Amana sostiturà gratuitoamente il pezzo, f.o.b. Amana, lowa, USA, se il compressore risultta difettoso per difetti di fabbricazione o dei materiali.
Limiti di garanzia
- Inizia alla data di acquisto originale
- L'assistenza deve essere eseguita da un technique Amana autorizzato.
Annullamento della garanzia
La garanzia è nulla se.
- La targhetta con il numero di seriè è danneggiata.
- Il prodotto viene utilizzato a scopo commerciale, di nolo o di leasing
- Il prodotto在哪 difetti o danni dovuti a incidente, alterazione, collegamento ad alimentazione elettrica non conforme, incendio, inondazione, fulmini, spedizione e manipolazione, o altre condizioni che esulano dal controllo di Amana.
- Il prodotto è stato installato o utilizzato in modo non corretto.
Responsabilità dell'utente
- Esibire la prova di acquisito (scontrino di vendita).
- Eseguire i normali lavori di cura e manutenzione. Sostituire i pezzi di sua competenza per i quali compaiono le istruzioni nel Manuale dell'utente.
- Rendere il prodotto accessibile in maniera ragionevole in caso di assistenza.
- Pagare i costi straordinari di servizio per gli interventi eseguiti al di fuori del normale orario di lavoro del technician.
- Pagare le chiamate di servizio connesse all'installazione o all'uso del prodotto.
In nessun caso Amana sera responsablee per danni accidentali o consequenziali, ivi compresa la perdita degli alimenti.
Per qualunque domanda relativa a quanto sopra esposto o utile a rintracciare i tecnici di assistenza autorizzati, contattare il fornitore dell'apparecchiatura, oppure:
ManualeFacile