BX 518 VW VE - Kylskåp AMANA - Gratis bruksanvisning och manual
Hitta enhetens manual gratis BX 518 VW VE AMANA i PDF-format.
Ladda ner instruktionerna för din Kylskåp i PDF-format gratis! Hitta din manual BX 518 VW VE - AMANA och ta tillbaka ditt elektroniska enhet i hand. På denna sida publiceras alla dokument som behövs för att använda din enhet. BX 518 VW VE av märket AMANA.
BRUKSANVISNING BX 518 VW VE AMANA
För der ringes after service 27
Produktgaranti 29
Bemerk:
För der ringses after service
Begrønset fem ársproduktgaranti på kompressor
Første ar
Behold en kopi av kvitteringen for fremtidige henvisninger.

FARE
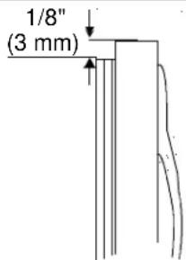
Handtakssiden av doren er 3mm hoyere enn hengselssiden av doren (doren senkes nár den fylles med mat).

För du ringer etter service
2 ApaipeOTe KAI AVNtpeTc TIC N6ptec av xepiaetar
MepiKc EykataoTaOeic mnoei va anaToov avntotpOphn TNC nOptac yia va eNtuyXavetal nnpnc nepiOtpOphn TNC nOptac ria va avtioptpeETnv kateuuvon nepiOtpOphn TNC nOptac EKTeAOTe TaakolouhaBmuata:
Anaiotoumeva epyaia
International Bottenfrys, kylskap- Anvandar- och skötselhandbok
Innehäll
Elektriska kravspecifikationer 164
Korrekt kassering av ditt kylskap 164
Installationshandledning 164
Kontrollista vid installation 168
Kontroller 169
Kyl- och frysfunctionaler 169
InstalInng av kontrllerna 169
Kylfunktioner 169
Farskvaruhyllor 169
Garden FreshTM gronsaksfack 170
Forvaringshylla (vissa modeller) 170
Täckt forvaringsbehällare (vissa modeller) 170
Mejerivarubox (vissa modeller) 170
Dorrfacken 171
Stodforhogaforpackningar(vissa modeller) 171
Dorrhyllor 171
Justerbar avdelare (vissa modeller) 171
Flaskhallare (vissa modeller) 171
Tekniska detaljer pafrysen. 171
Frostfritt system. 171
Ismaskinsfack (vissa modeller) 171
Utdragbar hylla (vissa modeller) 172
Vertikal hyllavdelare (vissa modeller) 172
Fast tradhylla (vissa modeller) 172
Tradkorg 172
Isbehallare (vissa modeller) 172
Dorrarnas tätningslieter 173
Kylarslinger 173
Glashyllor 173
Byte av glödlampa 173
Semestertips 174
Energitips 174
Normala driftslud 175
Innan du ringer after hjalp 176
Garanti 178
Observera:
Oversättnigar kan ge viss Förändring av betydelser. I de fall dā innebörden varierar ár den engelska versionen av detta dokument det mest korrekta.

Denna symbol utgor en sakerhetvarsarning.
Elektriska kravspecifikationer
Kylskapet ar avsett for att anvandas vid 230V/50Hz,
10 amperes avsakring.
Produktinformation Återfinns på sérieplattan. Skriv upp foljande information:
Modellnummer:
Tillverkningsnummer:
Serie-eller S/N-nummer:
Inkopsdatum:
Forsäljarens namn och adress:
Behall en kopia av forsaljningskvittot
forframtidareferens.

VAR FÖRSIKTIG
Korrekt kassering av ditt kylskap
VIKTIGT: Åven numera kan barn lås as in och kvāvas i kylskap. Kasserade och övergivna kylskap ar farliga - även om de bara ská stá där "nagra dagar". Om du ská kassera ditt kylskap, ber vi dig att folja nedanstäende instruktioner for att undvika olyckor.
Lyft av dorrarna.
- Lämna kvar hyllorna for att forsvara for barn att klättra in.

Installationshandledninq
Inledning
En kvalificerad tekniker maste installerera kylskapet i enlighet med dessa instruktioner.
Mät dörroppingen samt djup och bredd på kylskapet. Ta vid behov bort handtag och dorrar. Teknikern maste dessutom folja lokala bestammelser for anslutningar till vatten- och elnat.
Natsladden fár endast servas uller bytas av behörig servicepersonal.
Korrekt installation sakerstaller att kylskapet fungerar pa basta satt. Amana Appliances kan inte stallas till svars for inkorrekt installation.
Installationskrav
- Anslut till ott jordat uttag med separat 230V 50 Hz, 10 A stromkrets.
- Skydda ömtäligt golv med kartong eller mattor.
- Installera på att golv som kan bara upp till 429kg
- Det maste finnas 5mm fritt utrymme pa sidorna av kylskapet samt 25 mm mellanrum ovenfor kylskapet.
OBSERVERA:Installerainte kylskapet nara en ugn, varmeelement ell er andra varmekallor. Installera inte kylskapet pa en plats darr temperaturen kommer att falla under 13^
1. Ta bort trabasen

VAR FÖRSIKTIG
- För att undvika skada på person eller utrustning, måste två personer hjälpa till att ta bort trabasen.
-
For att undvika mekanisk skada, lamna inte kylskapet liggande på sidan langre an nodvändigt d du avlagsnar bultarna.
-
Tejpa fast dorrarna pa deras övre högre och vänstra hörn for att forhindra att dorrarna oavsiktlig öppnas.
- För in transportvagenen under sidan på kylskapet på gangjärnens motsatta sida.
- Skydda kylskapet med filtrer ell er dynor. Spann en rem runt kylskapet. Placera transportkuddar av skumgummi som finns i transportforpackningen, under remmen. Dra at remmen ordentligt.
Dra inte at for hart.
4. Sank ner transportvagnen till golvet.
Transportvagnens handtag skull vara placerade nederst.
- Avlagsna de tvá oversta bultrarna frán tratrallen.
- Res upp kylskapet och transportvagnen till upratt lage. Ta bort remmen.
- For in transportvagen under den motsatta sidan av kylskapet.
- Upprepa steg 3-5.
- Ta bort trabasen.
- Res upp kylskapet och transportvagen till uppratt lage. Flytta kylskapet till dess slutgiltiga plats och tabor transportvagen.
2. Ta bort och vänd dorrarna om nödvändigt.
Vissa installationer kan krava att dorrarna vands for att uppná full öppningsvinkel. För att vanda dorrarna, utfor foljande steg:
Nödvändiga verktyg
Skiftnycklar och mejslar after behov
Phillips stjärnmejsel
Flatspetsad/mejsel
Maskeringstejp
VIKTIGT: Dá du skall avlågsna tackpluggarna och anvander en flatspetsad(mejsel eller spackelspade maste du tejpa over spetsen pa verktyget med maskeringstejp for att undvika skada pa kylskapet. For tackpluggar med mejsel-ller mutterhuvud, anvand lampligt verktyg for att undvika skada pa pluggen.
-
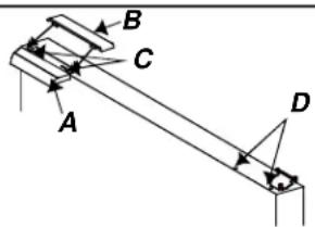
Ta bort kylskapshandtagen.
-
Ta bort handtagsskruvarna (C) frän den övre handtaglisten (A). Lyft upp handtaglisten (A) genom att använda en tejpad skruvmejsel. Ta bort handtaget (B) frän dorren genom att avlågsna den kvarvarande fästskruven (C) på varjealandavhandtaget.
- Ta bort tackpluggarma (D), en pa dörrens ovankant och tvá pa dess framsida. Montera pluggarna i de tomma fästhälen pa dörrens motsatta sida (C).


-
Ta bort frysdorrens handtag.
-
Oppna frysdorren 90^ . Lokalisera de två sparen på baksidan av frysdorrens handtag (A). Stick in en tejpad skruvmejsel. Lyft upp den bakreändan av handtagets tacklock (B) och avlågsna detta是从 handtaget.
- Avlagsna handtaget (A) fran dörren genom att lossa de två fästskruvarna (C).
- Ta bort de två tackpluggarna (D) frán motsatt sida på frysdörren och montera dem i de tomma fästhalen på andere sidan dörren.

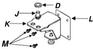
- Ta bort det övre gängjärnsskyddet, detta knapps av. Lossa 5 / 16 -skruvarna (A) for att ta bort det övre gängjärnet (B) och shimsbrickan (C), använd insexnyckel. Ta bort och ta vara på samtiga shimsbrickor (C & D).
- Lyft av kylskapsdörren frän mittgangjärnets styrpinne (F) och insexskruv (E). Kontrolera dörren sa att alla shimsbrickor (D) finns pa styrpinnen.
- Ta bort mittgangjärnets styrpinne (F) genom att använda insexyckel. Ett fast tryck pa verktyget kan behovas d styprinnen sitter snävt. Ta bort och ta vara pa samliga shimsbrickor (D).
- Lyft av frysdorren fran bottengangjarnet (K).
- Ta bort mittgangjärnets fästplatta (G) och shimsbricka (H) genom att anvanda en Phillipsmejsel.
- Ta bort sparkskyddet och det nedre gängjärnsskyddet. Bagge knapps av.
- Ta bort bottengängjärnets styrpinne (J), bottengängjärnet (K) och shimsplattan (L) genom att använda en insexnyckel. Ta bort och ta vara pashimsbrickorna (D).



-
Att vanda pa dorrstopparna.
-
Lokalisera dorrstoppet (B) pa den nedre kanten av kylskapdorren (A). Lossa de två Phillipsskruvarna som haller dorrstoppet. Lossa direfter de två Phillipsskruvarna pa dorrens motsatta sida och montera dorrstoppet pa motsatt sida. Skruva direfter tillbaka blindskruvarna i de tomma halen.
- Upprepaaovanstaeende instruktionerforattbyat platspfrysdorrensdorrstopp.

-
Vänd dorrarnas upphängning genom att utföra foljande steg:
-
Ta bort tackpluggar och skruvar fran dorrens motsatta sida. Montera i halen till vander om gangjärnen.
-
Montera det nedre mittersta och övre gangjärnen med deras shimsplattor på skapets motsatta sida.
-
Flytta over det nedre gangjärnets till skapets motsatta sida. Kontrollera att shimsplattorna ar pa plats innan skruvarna dras at. Efter att ha monterat styrpinnen i det ytre hälet, satt tillbaka shimsbrickorna. Vissa nedre gangjärn kan ha tackpluggar i halen. I handelse av detta, ta bort tackpluggen fran det ytre hälet, montera styrpinnen i hälet, och satt tillbaka tackpluggen i det andra hälet.
-
Montera övre gangjärn med shimsbrickor, men tillat tillräckligt spelrum for att kunna skjuta in kylskäpsdörren på plats. Tryck ner det övre gangjärnet for att hälla dörren säkert på plats.
- Justera dōrren sà att den har att spelrum pà ^11 / _16 (18 mm) frán skápet.
- Dörrens handtagssida skall vara ungefär 1/8 (3 mm) högre upp an gangjärnssidan. Dörrenkommen att vara i ratt niva dden fylls med matvaror.


- Montera handtaget på kylskapsdörrens motsatta sidagenom att anecdva fästskruvarna som avlågsnades i foregående steg.
- Knapp fast handtagslisten på plats och satt tillbaka skruvarna.
- Montera handtaget på frysdörrens motsatta sida genom att använda fästskruvarna som avlågsnades i foregående steg.
Vinkla framkanten pa handtaglisten nedat mot bakkant pa frysdorrens handtag. Kontrollera att den nedre fliken pa listen fester under handtagets bakre kant. Knapp fast listens bakkant pa plats. - Kontrollera att kylskapet star plant genom att folja instruktionerna med början på steg 5.
- Montera sparkskydd och det nedre gängjärnsskyddet. Viktigt: Titta after pilen på sparkskyddets baksida for korrekt montering.
- Knapp fast skyddets überdel Först. Knapp däfter fast skyddets nederdel på plats.

3. Flytta kylskapet till slutgiltig placering.

VAR FÖRSIKTIG
Skydda golv av mjukvinyl eller liknande med kartong eller papper.
4. El-anslutning.
Service pa el-anslutning farr endast utforas av behorig personal. Specialverktyg kravs for att kunna utfora service. Kontakta narnaste auktoriserade serviceinrattning for undersokning, reparation aller justering.
5. Tillse att kylskapet star plant.
a. Vrid justerskruvarna (A) at hoger for att hoja skapet, och till vänster for att sanka det.
b. Justera stödben (B) for att sakerstalla en stadig placering mot golvet.

VAR FÖRSIKTIG
Dörrens handtagssida ar 3 mm högre an gangjärnssidan. (Dörren sjunker ned daden fylls med mat.)
□
□
Dorrarna sluter tatt.
□
□
Utplaning
Kyl- och friesfunctionaler
Fuktighetskontrollerande gronsaksfack
- Temperaturkontrollerande lada
- Normala driftslud
Anmärkningar
Kundens namnteckning
Installatorens namnteckning
Installatorens arbetsgivare/telefonnummer
Datum
Kontroller
Detta kylskap ar avsett att arbeta i normal rumstemperatur mellan 13^ och 43^ C.
Kyl- och frysfunctionaler
Kylkontrollen ar placerad pa den övre bakre väggen i kylskapet.

Fryskontrollen ar placerad till hoger i friesdelens tak.

Inställning av kontrollerna
När fryskontrollen ställs in på ■arbetar varken kylen eller frysen. Till en börgan skall bada kontrollerna stallas pa 4. Vanta 24 timmar sa att kylen och frysen kan na önskad temperatur. Efter 24 timmar, justera kontrollerna med ett steg i taget till önskad temperatur. 1 ar varmast och 7 ar kallast.
Stall in kontrollerna med hjälp av en hushällstermometer med omfänget -21° till 10° C.
Lagg termometern tatt mellan tvá frusna varor i frysen.
Vanta 5-8 timmar. Om temperaturen i frysen inte ár -17°
till -16° C, skall kontrollen justeras, ett steg i taget.
Kontrollera igen after 5-8 timmar.
Ställ termometern i ett glas vatten mitt i kylen. Vänta 5-8 timmar. Om kylens temperatur inte ar 3^ till 4^ C, skall kontrollen justeras, ett steg i taget. Kontrollera igen after 5-8 timmar.
Kylfunktioner
Farskvaruhyllor
Hyllorna kan justeras for att uppylla individuella forvaringsbehov. Vissa modeller ar urrustade med SpillsaverTM hyllor och Easy GlideTM hyllor. SpillsaverTM hyllor fangar upp minre sol och rinn och gör det enklare att rengöra.


- Ta ut hyllorna (A) genom att lyfta i dess framkant och lossa krokarna (C) frän metallspåret (B) och drag därefter ut hyllorna.
Satt in hyllorna genom att sticka in krokarna (C) i metallsparet (B) och sank ner hyllans framkant.

Easy Glide™ (hyllor gár att drafram För enkel Åtkomst av bakomliggande varor.

Garden Fresh™ grönsaksfack
Garden Fresh™ gronsaksfack häller gronsakerna färskalängre. Packa varorna tatt. Tvatta inte gronsakerna fore du lagger in dem. Overflödigt fukt kan orsaka förkortad halbarhet. Klä inte ladan med papper, dà detta binder fukt.
Garden FreshTM-kontrollen (D) ar placerad under hyllans framre list. Kontrollen justerar luftfuktigheten i facet. Vrid kontrollen till high (hog) forprodukter sasom sallad, spentat erler kal. Vrid kontrollen till low (lag) forprodukter som blomkal, majs erler tomater.
For att rengora aller flytta gronsaksfacken, avlagsna fack och hylla genom att gora pa foljande satt:
-
Oppna det vänstra grönaksf Jacket.
-
For vänsterhängd dorr, öppna det högra facet.

VAR FÖRSIKTIG
Hardade glashyllor skall hanteras varsamt for att undvika person-ller egendomsskada. Hyllorna kan brista om de utsats for punkttryck, repor ell herfitta temperatur vaxlingar.
- Ta bort grönsaksfackets glasskiva (A) genom att forsiktigt trycka upp det underifran. Vinkla upp ena sidan och drag ut skivan.
- Ta bort det vänstra grönsaksf Jacket genom att lyfta i framkanten samtidigt som du haller undertill och drar utat. For kylskap med vänsterhängd dorr, avlagsna det högra facket.
- Ta bort det andra facnet enligt steg 3. Om dorren hindrar mojlighen att ta bort ladan, avlagsna facket tillsammans med hyllramen enligt steg 5.
- Ta bort hyllramen (B) genom att lyfta den i den främre plastlisten (C) och lyft upp den fran sparen i kylskapet. Lyft ur ramen ur kylskapet.
- Satt tillbaka fack och hylla genom att utfora steg 2-5 i omvänd ordning.

Forvaringshyla (vissa modeller)
Forvaringshyllor ger mojlighet att forvara stora flaskor, agg etc.
- Fäst Förvaringshyllan genom att kroka fast den pa hyllplanets sida.

Täckt Förvaringsbehällare (vissa modeller)
Den tackta forvaringsbehallaren har att lock och urtagbar agginsats. När insatsen ar avlågsnad passar ladan for standardaggkartonger, is, etc.

Mejerivarubox (vissa modeller)
Mejerivaruboxen ar en behändig plats for Förvaring av varor som smör, ost, etc.
- Ta bort mejerivaruboxen genom att lyfta locket (A), tryck darefter in sparrarna (B) på boxens sider, drag darefter ut boxen.
Satt tillbaka mejerivaruboxen genom att skjuta in den tills sparrarna (B) hakar fast. Stang direfter locket (A)

Dorrfacken
Dorracken kan justeras for oika forvaringsbehov.
- Ta bort dorrfacken genom att trycka in sparrarna (A) pa jackets bada sider och drag direfter ut jacket.
Satt tillbaka dorrfacken genom att skjuta in dem tills sparrarna (A) hakar fast.

Detta stod gör att höga forpackningar star stadigt. Stödet passar på framkanten av samtiga dorrfack eller hyllor.

Dorrhyllor
- Ta bort dorrhyllorna genom att lyfta andarna och drag utat.
Satt tillbaka dorrhyllorna genom att placera dem pa glidytorna (A) och for nedat.

Justerbar avdelare (vissa modeller)
Den justerbara avdelaren haller saker och ting pa plats och kan anpassas for olica behov. Avdelaren passar i samtliga dorrfack eller hyllor.

Flaskhällare (vissa modeller)
Flaskhallaren haller saker och ting pa plats och kan anpassas for oika behov. Flaskhallaren passar i smtliga dorrfack aller hyllor.

Tekniska detaljer på frysen
Frostfritt system
Kyl- och fryssektionerna ar helt frostfria. Avfrostning sker automatiskt under normala forhallanden. Kyl- och fryssektionerna behover ej avfrostas manuellt.
Ismaskinsfack (vissa modeller)
Montera ismaskinsfacket (C) genom att hänga packet paskruvarna och brickorna (A\& B) och tryck darefter nedat.


Kontrollera att hyllan ar ordentigt fastsatt innan du placerar foremal pa den, fort undvika skador.
Utdragbar hylla (vissa modeller)
Utdragbara hyllor kan latt dras ut for lattare atkomst av innanforliggandeprodukter.
- Ta bort den utdragbara hyllan genom att dra den framåt, utåt tilländiaget (B) under mittskenan (A) fastnar i det gjutna spåret.
- Fatta tag i hyllans mittskena (A), drag uppát och avlågsna.
- Lat hyllan glida tills andaget (B) fastnar i det gjutna sparet.

Vertikal hyllavdelare (vissa modeller)
Montera den vertikala hyllavdelaren genom att:
- For in hyllavdelarens faspthakar under lamplig plats i tradgallret.
- Tryck ner hyllavdelarens overdel och skjut in faskhakarna under mittskenan.

Fast tradhylla (vissa modeller)
- Ta bort tradhyllan genom att dra den utat. Ett lite kraftigare ryck kan vara nödvändigt.
- Satt tillbaka tradhyllan genom att skjuta in den tills den laser fast.

Trädkorg
Trädkorgen (A) gár att drafram for latt atkomst av bakomliggandeprodukter.
- Tag bort tradkorgen genom att lyfta och dra den utat.
Satt tillbaka tradkorgen genom att skjuta in den.

Isbehällare (vissa modeller)
Isbehällaren (A) ar placerad på trådhyllan under ismaskinsf Jacket.

Vård och rengöring

WARNING
Koppla ur enhetens el-anslutning for att undvika elektrisk chock dà detta kan leda till allvarlga personskador ell erdödsfall. Anslut enheten after rengöring.

VAR FÖRSIKTIG
Lás och följ tillverkarens rengöringsinstruktioner für att undvika person-ller egendomsskada.
Allman rengöring
- Tvatta ytor och utsidan med en losning bestaende av 60 ml bikarbonat upplost i 1 liter varmt vatten. Anvand en mjuk trasa.
- Skolj ytorna och utsidan med varmt vatten. Torka av med en mjuk och ren trasa.
-
ANVÄND INTE foljandeprodukter:
-
rengöringsmedel med slipverkan, ammoniak, klorblekning etc.
- koncentrerade rengöringsmedel aller Lösningsmedel
- skurkuddar av metall
Ovanstäendeprodukterkan repa,missfargallerorsaka sprickbildningpáytan.
- Rengör inte hink, hyllor mm. i en diskmaskin.
Eliminering av lukt
- Ta ut alla matvaror och koppla bort strommen till kylskapet.
- Rengör alla ytor inuti kylskapet, inklusive tak, golv och vaggar, i enlighem med rengöringsinstruktionerna under "Allmant". Var extra noga med hörn, springor och räflor. Rengör oksa alla utdragslástor, hyllor och tätningslister.
- Anslut strömmen till kylskapet och satt tillbaka matvarorna. Tvatta och torka alla flaskor, behällare och burkar. Förpacka matvarorna i tättslutande behällare for att undvika ytterligare lukter. Kontrollera after 24 timmar att lukten har försvunnit.
Utförpunkt 4 till 10 igen om lukten inte har forsvunnit.
- Ta ut alla matvaror och koppla bort strommen till kylskapet.
- Rengör alla ytor inuti kylskapet, inklusive tak, golv och vaggar, i enlight med rengöringsinstruktionerna under "Allmant". Var extra noga med horn, springor och räflor. Rengör oksa alla utdragslástor, hyllor och tätningslister.
- Placera Garden Fresh-facken på oversta hyllan i kylen. Klä in kyl och frys, inklusive dorrar, med hopskrynkat svartvitt tidningspapper.
- Sprid ut kolbriketter over tidningspapperet.
- Stang dorrarna och lat det verka i 24-48 timmar.
- Ta bort kolbriketterna och tidningspapperet.
- Anslut strommen till kylskapet och satt tillbaka matvarorna. Tvatta och torka alla flaskor, behallare och burkar. Forpacka matvarorna i tattslutande behallare for att undvika ytterligare lukter. Kontrollera after 24 timmar att lukten har forsvunnit.
Gummering
- Avlagsna kisterrester genom att for hand gnugga in tandkram i klustret tills det lossnar.
- Skolj ytan med varmt vatten. Torka ytan med en mjuk och ren trasa.
Dorrarnas tätningslister
- Rengör tätningslisterna var tredje帽子 i enlighem med rengöringsinstruktionerna under "Allmänt". Rengör eventuella sprickbildningar omedelbart.
- Täck listerna med att sunt lager vaselin für att hälla dem mjuka.
Kylarslingor
Rengör kylarslingan var tredje manad for att sakerställa maximal effekt.
Om damm aller ludd ansamlas kan detta leda till:
- minskad kylförmåga
- okad energiförbrukning
-
i extrema fall, kan for tidigt kompressorhaveri uppsta
-
Ta bort fotgallret genom att gripa tag i andarna och dra utat.
- Rengör utsidan av kylarslingan med ett dammsugarmunstycke.
- Satt tillbaka fotgallret genom att placera klammorna i halen och trycka fast.
- Höj stabiliseringsbenen (vissa modeller) genom att vrida dessa at vänster.

VAR FÖRSIKTIG
Skydda golv av mjukvinyl eller liknande med kartong eller papper.
- Drag ut kylskapet fran vaggen. Dammsug gallret pa kylskapets baksida med en mjuk dammsugarborste.
Glashyllor

VAR FÖRSIKTIG
Härdade glashyllor skall hanteras varsamt for att undvika person-ller egendomsskada. Hyllorna kan brista om de utsatsfor punkttryck, repor ellerrhaftiga temperaturvaxlingar.
Ta bort glashyllorna genom att lyfta upp framkanten,
lossa hakarna fran metallsparet och dra utat. Placera dem
pa handdukar. Lat hyllan anpassa sig till rumstemperatur
fore rengoring.
Rengör springor pa följande satt:
- Blanda ut ett milt rengöringsmedel med vatten och borsta in Lösningen i springorna med hjälp av en plasttagelborste. Lat Lösningen verka i 5 minutes.
- Spruta in varmt vatten i springorna med hjalp av diskhons duschstril.
- Torka hyllan noga och satt tillbaka hyllan genom att fora in hakarna i metallspåret och sänka ner framkanten.
Byte av glödlampa

WARNING
Elektrisk strom kan orsaka allvarlig skada aller dödsfall. Koppla bort strömmen fore byte av glödlampa. Anslut pa nytt afterytet.

VAR FÖRSIKTIG
Undvik skada på person eller utrustning genom att iakttaga följande regler:
Lat glodi lampan svalna.
- Använd handskar dä du byter glödlampa.
Kylbelysning
- Ta bort lampkapan (B) genom att skruva ur 1/4 sexkantsskruvarna (A). Byt lampa, ej starkare an 25 watt.
Satt tillbaka lampkapan (B) ingen genom att satta tillbaka 1 / 4 sexkantsskruvarna (A).

Frysbelysning
- Ta bort lampkápan (B) genom att skruva ur 1/4 sexkantsskruvarna (A). Byt lampa, ej starkare an 25 watt.
Satt tillbaka lampkapan (B) ingen genom att satta tillbaka 1 / 4 sexkantsskruvarna (A).

Semestertips
Utfor foljande atgardenvidkortare franvaro.
- Ta bort farskvaror.
- Om en ismaskin har installerats, maste armen pa ismaskinen foras upp till avstangt lage. (Se kapitlet "Automatisch ismaskin" sidan 176).
Utfor foljande atgardenvid langre franvaro:
- Ta ut maten ur kyl och fries.
- Koppla bort kylskapet fran elnatet.
-
Rengör kylskapet och dörrarnas tätningslister/GLigt anvisiningarna under "Allmänt" i avsnittet "Vård och rengöring."
-
Ställ upp dorrarna, sö att luften kan cirkulera fritt.
- Om en ismaskin har installererats, skall vattentillforsen stängas av och armen pa ismaskinen foras upp till avstangt lage. (Se kapitlet "Automatisch ismaskin" sidan 176).
Energitips
Detta kylskap ar att de mest energisnala kylskapen pa marknaden. Du kan minska energiforbrukningen ytterligare genom att iakta foljande.
Kylskapet skall anvandas i normal rumstemperatur mellan 13^ och 43^ C, pa avstand fran varmekallor ell direkt solljus.
- Ställ inte in kyl-, frys- och Chiller Fresh™-kontrollerna kallare an nödvändigt.
- Se till att frysen alltid ar full.
- Hall dorrarnas tätningslister rena och elastiska. Byt ut slitna tätningslister.
- Hall kylarslingorna rena.
Normala driftsljud
Det har nya kylskapet kanske ersätter ett annatindre och inte lika effektiv kylskap med annan utformning. Dagens kylskap ar utrustade med nya tekniiska finesser och de ar mera energisnala. Darfor kan det handa att det hors nya, frammande ljud fran dem. Dessa ljud ar normala ochkommen snart att bli valkanda.Dessa ljud innebär ocksa att kylskapet fungerar som det ska.
- Fryskontrollen - Klickar till nar den startar och stänger av kompressorn.
- Frysfläkten - Luft blaser och susar.
- Det slutna systemet (forangare och varmevaxlare) - Kylvatskan gurglar, kluckar aller later som kokande vatten.
- Avfrostningselement - Fraser, vaser oder kluckar.
- Defrosttimer - Later som en elektrisk klocka och slar till och fran i avfrostningscykler.
- Kylarflakt - Luft blaser och susar.
- Kompressor - Har ett högfrekvent hummande aller pulserande ijd.
- Iskuber fran ismaskinen (vissa modeller) - Faller ner i hinken.
- Ismaskinens vattenventil (vissa modeller) - ej i bild, surrar när ismaskinen fylls med vatten. Detta hander oavsett om kylen ar ansluten till vattenintag ell erj. Fä stopp pa ljudet genom att lyfta ismaskinens arm till Off- lage. Ismaskinens vattenventil ar placerad bakom kondensatorfläkten pa kylens bakre vagg.
Observera: Skumisoleringen har mycket gadisolationsegenskaper. Daremot har detta material inte likagod ljudisoleringsformaga som tidigare fiberisoleringar.

Innan du ringer after hjälp
| Problem | Lösning |
| Kylskåpet fungerar inte. | · Kontrolera att fryskontrollen är pascalagen. · Kontrolera att kylskåpet är anslutet till elnätet. · Kontrolera säkring och överspänningssskydd. Anslut annan utrustning till vagguttaget. Fungerar inte vagguttaget, atgärda detta. · Om fryskontrollen är pascalagen och ljusen fungerar, samtidigt som de två flåktarna och kompressorninte arbetar, kan detta innebäraaatt kylskåpet befinner sig i en avfrostningscykel. Vänta i 40 minuter För att kontrolera om kylskåpet startar på nytt. |
| Kylskåpet fungerar fortfarande inte. | · Koppla ur kylskåpet是从 natanslutningen. För über maten till en annan enchet eller placera torris i fryssektionenfor att bevara maten. Garantin tacker inte forständ mat. Kontrolera garantin for speiell ersättning. Ring din leverantörfor en auktoriserad Amana-tekniker. |
| Maten verkar vara für varm. | · Se ovanstående avsnitt. · Vänta tillräckligt läng tid, söatt varm mat kan nà kyl- och frystemperatur. · Kontrolera att dörrens tätningslist slutter tätt. Tättingarna skall slutawän mot skåpet. · Rengör kylarslingan. Se "Kylarslingeror" i avsnittet "Vård och rengöring". · Justera kyl- och fryskontrollerna, se avsnittet "Kyl- och fryskontroller". · Belysningen i kyl- och frysskåpet forblir tänd. Byt lampa och ring För att pälla service. · Det bakre luftgallret är blockerat och forhindraret fritt luftflöde. Lokalisera det bakre luftgallret som är placerat bakom Garden Fresh-grönsaksfacket och avlågsna eventuell smuts. |
| Maten är for kall. | · Rengör kylarslingan. Se "Kylarslingeror" i avsnittet "Vård och rengöring". · Justera kylkontrollen. Se "Justering av kontROLLER" i avsnittet "Kontroller". · Ställ in fryskontrollen till en varmare inställning. Se "Justering av kontROLLER" i avsnittet "Kontroller". Vänta flera timmar medan temperaten anpassas. |
| Kylskåpet arbetar För ofta. | Detta kan vara normalför att hälla en jämnt temperatur.Dörrarna kan ha öppnats För ofta eller varit öppna under en langre tid. När dörren öppnas tillåts varm, faktig luft att komma in i kylskåpet. Ju mer dörren öppnas, desto mer varm luft@måste kylas.Vänta tillräckligt lang tid, sä att varm mat kan nà kyl- och frystemperaturerna.Det kan ta nagra timmar För kylskåpet att ätergå till normaltemperatur.Rengör kylarslingan. Se "Kylarslinger" i avsnittet "Vård och rengöring".Ställ in fryskontrollen. Se "Justering av kontroller" i avsnittet " Kontroller".Kontrolera att dörrarnas tätningslister slutter tätt. Tätningarna skall sluta väl an mot skåpet.Belysningen i kyl- och frysskåpet forblir tänct. Byt lampa och ring För att pälla service.Se till att kylskåpet står plant. Se avsnittet "Stabilisera kylskåpet och avväg dörrarna" i installationsanvisingarna. |
| Det bildas droppar på kylskåpets insida. | Detta är normalvéd hög fuktighet erler om dörrarna har varit öppna under en langre tid.Förpacka maten väll och torka av fuktiga behällare innan du placerar dem i kylskåpet För att forebygga fuktansamling. |
| Det bildas droppar på kylskåpets utsida. | Kontrolera att dörrarnas tätningslister slutter tätt. Tätningarna skall sluta väl an mot skåpet.Detta är normalvéd hög fuktighet erler om dörrarna har varit öppna under en langre tid. |
| Kylskåpet luktar. | Läs anvisingarna under "Elimining av lukt" i avsnittet "Vård och rengöring". |
| Kylskåpet ger ifràn sig obekanta ljud eller läter För högt. | Det kan vara normal. Se "Normala driftsljud". |
| Iskuberna luktar. | Läs anvisingarna under "Elimining av lukt" i avsnittet "Vård och rengöring".Matvaror har inte förlutits ordentligt i antingen kylskåps- eller frydselen.Packa om matvarorna eftersom lukten kan overforas till iven.Kasta isen och rengör istråget erler brickorna oftare. Iskuber är porosa och kan lätt absorbera dofter.Vattentillförseln innehäller mineraler sāsom svavel. I vissa fall kan det krävas att ett filter installeras För att eliminera smak-eller luktproblemm. |
| Iskuberna fryser samman eller "krymper". | Töm ishken erller brickorna oftare. Iskuberna kan frysa ihop erller krympa, om iven inte skördas regelbundet. |
Ett Års begränsad garanti
Fem Års begränsad kompressorgaranti
Förstaaret
Amana ersätter reservdilar utan kostnad, fraktfritt fran Amana, lowa, USA, for delar som ar defekta pga. tillverknings- ell materialfel.
Andra till femte aret
Amana ersätter reservdelutan kostnad, fraktfritt fran Amana, Iowa, USA, for kompressor som ar defekt pga. tillverknings-ller materialfel.
Garantibegransningar
- Löper frán inköpsdatum.
- Service maste utforas av auktorisarad Amana-tekniker.
Garanting gäller ej om
- Serienummer saknas.
- Produktten används i kommersiell, uthyrningseller leasingverksamhet.
- Produktten har en defekt aller skada pga. olycka, modifiering, inkorrekt el-anslutning, brand, blixtnedslag, frakt- och transport, aller andra omstandigheter utom Amanas kontroll.
- Produktten ar felaktigt installerad aller använd.
Agaransvar
- Framlaggande av inköpsbevis (originalkvitto).
- Tillse normal vard och underhall. Ombesorja utbyte av de delar som framgár av manualen.
- Tillse attprodukten ar tillganglig for serviceunderhalb.
- Betala for eventuella kostnader som kan uppsta utanfor teknikerns normala arbetsid.
- Betala for servicesamtal relaterade till Produktinstallation aller handhavande.
Amana kan under inga omständigheter hallas ansvariga for tillfälliga eller påfoljande skador, inklusive forlust av matvaror
Fragor rorande ovanstaende aller for information om narmaste auktoriserade serviceinrattning, kontakta din lokala handlare aller:
EnkelManual