BX 518 VW VE - Réfrigérateur AMANA - Notice d'utilisation et mode d'emploi gratuit
Retrouvez gratuitement la notice de l'appareil BX 518 VW VE AMANA au format PDF.
| Caractéristiques techniques | Réfrigérateur AMANA BX 518 VW VE |
|---|---|
| Type d'appareil | Réfrigérateur |
| Capacité totale | Volume total de 518 litres |
| Dimensions (HxLxP) | 178 cm x 90 cm x 70 cm |
| Classe énergétique | A+ |
| Système de refroidissement | Froid ventilé |
| Nombre de tiroirs | 3 tiroirs à légumes |
| Éclairage intérieur | LED |
| Utilisation | Réfrigération des aliments et boissons, conservation à long terme |
| Entretien | Dégivrage automatique, nettoyage régulier des surfaces |
| Réparation | Consulter un technicien agréé pour les réparations complexes |
| Sécurité | Verrouillage de sécurité pour enfants, matériaux conformes aux normes |
| Informations générales | Garantie de 2 ans, service client disponible pour assistance |
FOIRE AUX QUESTIONS - BX 518 VW VE AMANA
Téléchargez la notice de votre Réfrigérateur au format PDF gratuitement ! Retrouvez votre notice BX 518 VW VE - AMANA et reprennez votre appareil électronique en main. Sur cette page sont publiés tous les documents nécessaires à l'utilisation de votre appareil BX 518 VW VE de la marque AMANA.
MODE D'EMPLOI BX 518 VW VE AMANA
Firmname/Téléphone des Installateurs
Datum
Table des matières
Installation électrique 45
Identification du modèle 45
Élimination adéquate du vieux réfrigérateur....45
Instructions d'installation 45
Liste de contrôle de l'installation. 49
Commandes 50
Commandes du compartiment denrées
fruits et du congélateur 50
Réglage des commandes 50
Caractéristiques du compartiment denrées fraîches....50
Tablettes du compartiment denrées fraîches
Bacs à légumes Garden FreshTM 51
Casier de stockage (sur certains modèles) 51
Bac de stockage couvert (sur certains modèles)....51
Compartiment pour produits laitiers
(sur certains modèles) 51
Bacs de porte 51
Barre de retenue pour récipients hauts
(sur certains modèles) 52
Tabletes de porte 52
Plaque de séparation réglable
(sur certains modèles) 52
Porte-bouteilles (sur certains modèles) 52
Caractéristiques du congélateur 52
Système anti-givre 52
Clause pour glace (sur certains modèles) 52
Tablette coulissante (sur certains modèles) 52
Séparateur vertical pour tablette
(sur certains modèles) 53
Tablette fixe à claire-voie (sur certains modèles)....53
Panier à claquette 53
Bac à glace (sur certains modèles) 53
Entretien et nettoyage 53
Instructions générales 53
Élimination des odeurs 54
Adhésifs 54
Joints de porte 54
Condensateur en serpentin 54
Tabletes en verre 54
Remplacement des ampoules. 54
Conseils pour les vacances 55
Conseils pour économiser l'énergie 55
Bruit de fonctionnement normaux 56
Avant de contacter le réparateur 57
Garantie 59
Remarque:
La signification de certains termes peut varier en fonction de la traduction. Si tel est le cas, la signification la plus précise est celle de la version anglaise de ce document.

Installation électrique
Ce réfrigerateur est donc pour fonctionner sur un circuit séparé de 230 volts, 50 Hertz, 10 ampères.
Identification du modèle
Les informations sur le produit figurent sur la plaque signalétique. Notez les informations suivantes.
Numéro de module :
Numéro de fabrication :
Numéro de série :
Date d'achat :
Nom et adresse du fournisseur :
Conservez une copie de la facture pour toute consultation ultérieure.

Élimination ajustée de votre ancien réfrigérateur
IMPORTANT : les accidents par enfermement et asphyxie touchant les enfants ne sont pas si rares. Les réfrigerateurs mis au rebut ou abandonnés restent dangereux - même s’ils ne sont entrepris que « pour quelques jours ». Pour vous débarrasser de votre ancien réfrigerateur, veuillez suivre les instructions ci-dessous afin de prévenir tout accident.
Avant de JETER votre ANCIEN refrigerateur ou congelateur:
- Démontez les portes.
- Laissez les tablettes en place afin que des enfants ne puissent pas pénétrer facilement dans le réfrigerateur.

Instructions d'installation
Le réfrigerateur doit être raccordé par un technicien qualifié conformément aux instructions d'installation suivantes.
Mesurer l'ouverture de la porte ainsi que la profondeur et la largeur du réfrigerateur. Démonter les poignées et les portes, si nécessaire. Le technicien doit respecter les réglementations du distributeur d'eau et d'électricité local en matière de raccordement.
La réparation ou le remplacement du cordon d'alimentation doit être effectué par un technicien qualifié.
Une installation correcte garantira le parfait fonctionnement de ce réfrigerateur. Amana Appliances ne peut être tenue responsable d'une installation incorrecte.
Conditions d'installation
- Brancher le réfrigerateur sur une sortie reliée à la terre avec un circuit séparé de 230 volts, 50 Hz, 10 A.
- Protégez le revêtement de sol textile avec du carton ou des tapis.
- Installer le réfrigerateur sur un sol pouvant supporter jusqu'à 429 kg.
- Laisser un espace libre de 25 mm au-dessus du réfrigerateur et de 5 mm sur les côtés.
REMARQUE: N'installez pas le réfrigerateur près d'un four, d'un radiateur ou d'une autre source de chaleur. Ne l'installez pas dans un local dont la température peut descendre en dessous de 13°C.

Attention
- Pour prévenir tout dommage corporel ou matériel, la base en bois doit être démontée par deux personnes.
- Pour éviter une défaillance mécanique, le réfrigerateur ne doit rester couché que le temps nécessaire à l'enlèvement des boulons.
- Coller les portes avec du ruban adhésif au niveau des coins supérieur gauche et droit pour éviter qu'elles ne s'ouvrent subitement.
- Glisser le diable sous le flanc du réfrigerateur, du côté opposé aux charnières.
- Envelopper le réfrigerateur avec un drap ou une piece de tissu. Passer une lanière autour du réfrigerateur. Prendre les coussinets de mousse se trouvant dans le carton d'expédition, et les placer sous la lanière. Serrer fermement la lanière. Ne pas serrer la lanière de maniere excessive.
- Incliner le diable jusqu'à ce que ses poignées touchent le sol.
- Enlever les deux boulons supérieurs du socle.
- Remettre le réfrigerateur et le diable en position verticale. Retirer les lanières.
- Glisser le diable sous l'autre coté du réfrigerateur.
- Répéter les opérations 3 à 5.
- Retirer la base en bois.
- Remettre le réfrigerateur et le diable en position verticale. Amener le réfrigerateur face à son emplacement définitif etsteroler le diable.
2. Enlever et inverser les portes si nécessaire.
Il est parfois nécessaire d'inverser les portes afin de permettre l'ouverture totale des portes. Pour inverser le sens de rotation des portes, procédez comme suit :
Outillage requis
Clefs et douilles appropriées
Tournevis cruciforme
Tournevis plat
Ruban-cache
IMPORTANT: Pour l'enlèvement des bouchons nécessitant l'utilisation d'un tournevis plat ou d'un couteau à mastiquer, la lame de l'outil doit être recouverte de ruban-cache afin de ne pas endommager la peinture du réfrigerateur. Pour les bouchons dont la tête est de type tournevis ou clef à douilles, utilisez l'outil approprié afin d'éviter d'endommager le bouchon.
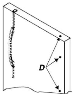
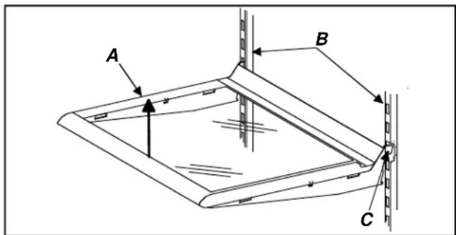
- Enlever la poignée du réfrigerateur.
- Retirer la vis de poignée (C) de la garniture supérieure de la poignée (A). Soulever le bord de la garniture (A) à l'aide d'un tournevis plat dont la lame est recouverte de ruban-cache. Enlever la poignée (B) de la porte en retardant la vis de montage (C) restante à chaque extrémité de la poignée.
- Enlever 1 bouchon au sommet de la porte côté charnières et 2 sur la face avant côté charnières (D). Remettre les 3 bouchons dans les trous de montage vides du côté opposé de la porte à l'aide de vis de montage (C).


- Enlever la poignée du congélateur.
- Ouvrir la porte du congélateur à. Repérer les deux encoches situées derrière la poignée du congélateur (A). Insérer la lame d'un tournevis plat (recouverte de ruban-cache). Soulever le bord arrêté du cache de la poignée (B) et le retarder de la poignée.
- Retirer la poignée (A) de la porte en enlevant les deux vis d'assemblage (C).
- Enlever 2 bouchons (D) du côté opposé du congélateur et les remettre dans les trous d'assemblage vides.

- Enlever la protection de la charnière supérieure. Cette protection s'enlève en tirant d'un coup sec. Retirer les écrous 5 / 16 (A) à l'aide d'une clé à douilles hexagonales afin de libérer la charnière supérieure (B) et la cale d'épaisseur (C). Enlever et conserver toutes les rondelles et cales d'épaisseur (C & D)
- Enlever la porte du réfrigérateur en soulevant la porte afin de la dégager de l'axe de charnière central (F) et de l'écrou hexagonal (E). S'assurer que toutes les rondelles (D) restent sur l'axe de charnière.
- Retirer l'axe de charnière central (F) à l'aide d'une clé à douilles hexagonales. En raison de l'ajustement serré de l'axe, une forte pression peut être nécessaire. Enlever et conserver toutes les rondelles (D).
- Enlever la porte du congélateur en la soulevant afin de la dégager de la charnière inférieure (K).
- Enlever le support (G) et la cale d'épaisseur (H) de la charnière centrale à l'aide d'un tournevis cruciforme.
- Enlever la grille du bas et la protection de la charnière inférieure. Les deux s'enlevent d'un coup sec.
- Enlever l'axe de charnière inférieure (J), la charnière inférieure (K) et les cales d'épaisse

- Inverser les butées de porte.
- é opposé de la porte. Monter la butée de porte du côté opposé. Replacer les vis restantes dans les trous de montage vides.
- Répéter la procédure ci-dessus pour inverser la butée sur la porte du congélateur.

- Inverser les portes en procédant comme suit :
- Enlever les bouchons et les vis du côté opposé du meuble réfrigérateur. Les remettre dans les trous laissés vides après le démontage des charnières.
- Monter les charnières inférieure, centrale et supérieure avec les cales d'épaisseur du côte opposé de l'appareil.
- Remplacement la charnière inférieure du côté opposé de l'appareil. Avant de visser la charnière, s'assurer que les cales d'épaisseur sont en place. Aprè
- Replacer la charnière supérieure et les cales d'épais enir fermement la porte. Assurer un espacement de 11 / 16 (18 mm) entre la porte et le corps de l'appareil.
- Le côté poignée de la porte devrait être environ 1/8 (3 mm) plus élevé que le côté charnières. La différence de niveau disparaîtra lorsque la porte sera chargée d'aliments.

- Monter la poignée du réfrigerateur du côté opposé de la porte en utilisant les vis de montage enlevées lors de l'étape précédente.
- Placer la garniture de charnière en l'enfonçant d'un coup sec et remettre la vis.
- Monter la poignée du congélateur du côté opposé de la porte en utilisant les vis de montage enlevées lors de l'étape précédente.
- Diriger vers le bas le bord avant du cache de la poignée, jusqu'à l'arrêté de la poignée du congélateur. S'assurer que la languette inférieure du cache glisse sous l'arrêté de la poignée du congélateur. Encocher d'un coup sec le bord arrêté du cache de la poignée.
- S'assurer du niveau correct de l'ensemble en suivant les instructions à partir de l'étape n° 5.
- Replacer la grille du bas et la protection de la charnière inférieure. Important: Vérifier le sens de placement de la grille à l'aide de la flèche imprimée à l'intérieur de celle-ci.
- Placer en premier lieu la partie supérieure en appuyant d’un coup sec. Appuyer ensuite sur la partie inférieure de la grille jusqu’à ce qu’elle se mette en place.

- Placer le réfrigérateur à son emplacement définitif.

Attention
Protégez le revêtement de sol avec du carton, des tapis ou tout autre matériel de protection afin d'éviter tout dommage matériel.
- Brancher le cordon d'alimentation.
- Le cordon d'alimentation ne doit être réparé que par un technicien qualifié. La maintenance de l'équipement nécessite un outillage spécial. Pour toute inspection, réparation ou réglage, contactez le service technique agrée le plus proche.
- Stabiliser le réfrigérateur.
a. Tourner la vis de réglage (A) vers la droite pour lever le meuble, et vers la gauche pour l'abaisser. b. Régler le pied stabilisateur (B) afin que le réfrigérateur repose fermement sur le sol.

Attention
Pour éviter tout dommage corporel ou matériel du au basculement du réfrigerateur, le pied stabilisateur doit reposer fermement sur le sol.

Cette liste de contrôle est uniquement destinée aux archives du client.


Portes
Le côté poignée de la porte est 3 mm plus haut que le côté charnières. (La porte descend lorsqu'elle est chargée d'aliments).

Les portes ferment hermétiquement le compartiment réfrigérateur.


Mise à niveau
L'arête du réfrigérateur est 6 mm plus bas que l'avant.


Le pied stabilisateur repose sur le sol.


La grille du bas est solidement fixée au réfrigerateur.


Documentation sur le produit
Le Manuel d'utilisation a été passé en revue, et notamment les informations concernant:
- les commandes du congélateur et du compartiment denrées fraîches
- le bac à légumes à humidité contrôlée
- le bac à température contrôlée
- les bruits de fonctionnement normaux
Notes
Commandes
Ce réfrigerateur est conçu pour une utilisation domestique à des températures normales comprises entre et 43°C.
Commandes du compartiment des denrées fraîches et du congélateur
La commande du compartiment denrées fraîches se trouve sur la partie supérieure de la paroi arrière de la partie denrées fraîches.

La commande du congélateur se trouve à l'avant (côté droit) de la paroi supérieure de la partie congélateur.

Réglage des commandes
Lorsque la commande du congélateur est sur les compartiments de réfrigération et de congélation ne refroidissent pas. Au début, régler les deux commandes sur 4. Attendre 24 heures afin que la température des compartiments de réfrigération et de congélation se stabilise. Après 24 heures, régler les commandes comme souhaité, un numéro à la fois. Le «1» correspond au réglage le plus chaud et le «7» au plus froid.
Régler les commandes de manière précise en utilisant un thermomètre domestique affichant les températures entre -21° et 10°C.
Placer le thermomètre entre des paquets congelés dans le compartment de congestion. Attendre 5 à 8 heures. Si la température du congealateur ne se situe pas entre -17°C et -16°C, régler la commande d'un numéro à la fois. Vérifier à nouveau au bout de 5 à 8 heures.
Placer le thermomètre dans un verre d'eau au milieu du compartiment denrées fraîches. Attendre 5 à 8 heures. Si la température du compartiment denrées fraîches ne se situe pas entre et 4
Tablettes du compartiment denrées fraîches
Les tablettes s'adaptent selon les besoins de rangement du client. Certains modèles sont équipés de tablettes Spillsaver™ et Easy Glide™. Les tablettes Spillsaver™ retiennent les liquides renversés et facilitent ainsi le nettoyage.

Attention
Pour éviter tout dommage matériel, s'assurer que les tablettes sont correctement placées avant d'y poser des denrées.

Attention
Pour éviter tout dommage corporel ou matériel, manipuler les tablettes en verre trempé avec précaution. Une tablette ébréchée, rayée ou exposée à un brusque changement de température risque de se briser subitement.
- Pour enlever les tablettes (A), les soulever par l'avant en dégageant les crochets (C) du rail métallique (B), puis tirer.
- Pour replacer les tablettes, insérer les crochets (C) dans le rail métallique (B) et abaisser la partie avant de la tablette.

Les tablettes Easy Glide™ se glissant vers l'avant pour faciliter l'accès aux denrées se trouvant à l'arrière.

Bacs à légumes garden freshTM
Les bacs à légumes Garden Fresh™ prolongent la fraîcheur des produits. Envelopper soignement les produits. Ne pas laver les produits avant de les placer dans les bacs. Un excès d'humidité pourrait gêner les produits prématurément. Ne pas tapisser les bacs d'essuie-tout. L'essuie-tout retient l'humidité.
La commande des bacs à légumes Garden FreshTM (D) se trouve sous le bord antérieur de la tablette. La commande permet de régler l'humidité à l'intérieur des bacs. Positionner la commande sur haut pour les aliments à feuilles comme les laitues, les épinards ou les choux. Positionner la commande sur bas pour les aliments à pelure comme les choux-fleurs, le maïs ou les tomates.
Pour nettoyer ou remettre en place les bacs à légumes, enlever la tablette et les bacs à légumes en procédant comme suit:
- Ouvrir le bac gauche.
- Si les charnières de portes sont à gauche, ouvrir le bac droit.

Attention
Pour prévenir tout dommage corporel ou matériel, manipuler les tablettes en verre trempé avec précaution. Une tablette ébréchée, rayée ou exposée à un brusque changement de température risque de se briser subitement.
- Enlever le dessus en verre du bac à légumes (A) en le soulevant doucement par le bas. L'incliner d'un côté et le sortir.
- Enlever le bac gauche en le soulevant par l'avant tout en le maintenant par le dessous et en tirant. Si les charnières de portes sont à gauche, enlever le bac droit.
- Enlever l'autre bac comme indiqué au point 3. Si la porte gène le retrait du bac, enlever le bac en même temps que le cadre, comme indiqué au point 5.
- Enlever le cadre du bac à légumes (B) en soulevant le cadre par la moulure avant (C) et en le sortant des rainures pratiquées dans les rails du réfrigérateur. Tirer vers soi et sortir le cadre.
- Replacer les bacs à légumes et la tablette en repétant les étapes 2 à 5 dans l'ordre inverse.

Casier de stockage (sur certains modèles)
Le casier de stockage est très pratique pour ranger une grande bouteille, des œufs, etc.
- Suspendre le casier en l'accrochant sur le côté de la tablette.

Bac de stockage couvert
Le bac de stockage couvert comprend un couvercle et un casier à œufs. Si l'on enlève le casier, on peut y mettre des boîtes d'œufs, de la glace, etc.

Compartment pour produits laitiers (sur certains modèles)
Le compartiment pour produits laitiers est très pratique pour ranger le beurre, le fromage, etc.
- Pour enlever le compartiment pour produits laitiers (A), appuyer sur les languettes (B) de chaque côté de la tablette et tirer. Pour replacer le compartiment pour produits laitiers, le glisser vers le fond jusqu'à ce que les languettes (B) soient verrouillées, puis baisser la porte (A).

Bacs de porte
Les bacs de porte sont adaptables selon les besoins de rangement de l'utilisateur.
- Pour enlever un bac de porte, ramener vers le centre les languettes (A) de chaque côté de la tablette et tirer sur le bac.
- Pour replacer un bac de porte, le faire glisser jusqu'à ce que les languettes (A) soient verrouillées.

Barre de retenue pour récipients hauts (sur certains modèles)
La barre de retenue pour récipients hauts permet de ranger ce type d'articles en toute sécurité. La barre de retenue peut se placer sur le bord antérieur de tout bac de porte ou tablette de porte.

- Pour enlever une tablette, soulever les extrémités et tirer.
- Pour replacer une tablette, la poser sur les glissières (A) et faire glisser vers le bas.

Plaque de séparation réglable (sur certains modèles)
La plaque de séparation réglable maintient les aliments en place et est adaptable selon les besoins du stockage de l'utilisateur. La plaque de séparation convient pour tout bac ou tablette de porte.

Porte-bouteilles (sur certains modèles)
Le porte-bouteilles maintient les bouteilles en place et est adaptable selon les besoins de stockage de l'utilisateur. Le porte-bouteilles convient pour tout bac ou tablette de porte.

Système anti-givre
Les comportements des denrées fraîches et congélateur sont totalement à l'épreuve du givre. Dans des conditions normales, le dégivrage est automatique. Les comportements des denrées fraîches et congélateur ne doivent jamais être dégivrés.
Claie pour glace (sur certains modèles)
Installer la claie pour glace (C) en la plaçant sur des vis et rondelles (A\& B) et en la faisant glisser vers le bas.


Attention
Pour éviter tout dommage matériel, s'assurer que la tablette est solidement installée avant d'y poser des denrées.
Tablette coulissante (sur certains modèles)
La tablette coulissante glisse vers l'avant pour permettre un accès aisè aux denrées se trouvant à l'arrière.
- Pour enlever la tablette coulissante, la faire glisser vers l'avant jusqu'à ce que la bille (B) située sous le rail central (A) entre dans l'encoche de la moulure.
- Saisir la tablette par le rail central (A), soulever et enlever la tablette.
- Remettre en place en faisant glisser la tablette jusqu'à ce que la bille (B) tombe dans l'encoche de la moulure.

Séparateur vertical pour tablette (sur certains modèles)
Pour installer le séparateur vertical pour tablette, procéder comme suit:
- Faire glisser les pointes du séparateur sous la grille en position légèrement décentrée par rapport au rail central.
- Appuyer sur le dessus du séparateur et faire glisser le crochet sous le rail central.

Tablette fixe à claire-voie (sur certains modèles)
- Enlever la tablette à claire-voie en la tirant vers soi. Si nécessaire, tirer fort.
- Remettre la tablette en place en la glissant vers le fond jusqu'à ce que l'extrémité se bloque.

Panier à claie-voie
Le panier à claire-voie (A) coulisse vers l'avant pour faciliter l'accès aux denrées se trouvant à l'arrière.
- Pour enlever le panier, le soulever et tirer.
- Pour remettre le panier en place, le glisser vers l'intérieur.

Bac à glace (sur certains modèles)
Le bac à glace (A) se trouve sous la grille pour glace, sur la tablette à grilles-voie du congélateur.


Avertissement
Débrancher le réfrigerateur avant de le nettoyer afin d'éviter tout choc électrique pouvant causer des blessures graves ou mortelles. Après le nettoyage, rebrancher le réfrigerateur.

Attention
Pour éviter tout dommage corporel ou matériel, lire et suivre toutes les instructions du fabricant concernant le nettoyage.
Instructions générales
- Laver les surfaces intérieures et extérieures avec 60 ml de bicarbonate de soude dissous dans 1 litre d'eau chaude et un chiffon doux et propre.
- Rincer les surfaces interieures et extérieures à l'eau chaude. Sécher les surfaces avec un chiffon doux et propre.
- NE PAS UTILISER les produits suivants:
- nettoyants abrasifs ou mordants, ammoniaque, produits chlorés, etc.
- détérgeants concentrés ou solvants
- tampons métalliques à récurer
Ces produits peuvent griffer, fissurer et décolorer les surfaces. 4. Ne pas mettre les bacs, tablettes, etc. dans le lave-vaisselle.
Élimination des odeurs
- Enlever toutes les denrées et débrancher le réfrigerateur.
- Laver toutes les surfaces intérieures, y compris la paroi supérieure, la paroi inférieure et les parois latérales, en suivant les instructions générales ci-dessus. Insister tout particulièrement sur les coins, les cavités et les rainures. Nettoyer l'ensemble des tiroirs, tablettes et joints.
- écipients. Placer les aliments dans des récipients hermétiques pour prévenir la formation de nouvelles odeurs. Après 24 heures, vérifier si l'odeur a disparu.
Si l'odeur n'a pas disparu, suivre les étapes 4 à 10. 4. Enlever toutes les denrées et débrancher le réfrigerateur. 5. Laver toutes les surfaces intérieures, y compris la paroi supérieure, la paroi inférieure et les parois latérales, en suivant les instructions générales ci-dessus. Insister tout particulièrement sur les coins, les cavités et les rainures. Nettoyer l'ensemble des tiroirs, tablettes et joints. 6. Placer les bacs à légumes sur la tablette supérieure du réfrigerateur. Remplir les compartiments de réfrigération et de congélation, y compris les portes, de feuilles de papier journal chiffonnées. 7. Éparpiller des briquettes de charbon de bois sur les feuilles de papier journal. 8. Fermer les portes et attendre entre 24 et 48 heures. 9. Enlever les briquettes de charbon de bois et les feuilles de papier journal. 10. écipients. Placer les aliments dans des récipients hermétiques pour prévenir la formation de nouvelles odeurs. Après 24 heures, vérifier si l'odeur a disparu.
Adhesifs
- Enlever les résidus d'adhesifs sur les surfaces du réfrigerateur en les frottant avec les doigts à l'aide de dentifrice jusqu'à ce que l'adhésif disparaisse.
- Rincer la surface à l'eau chaude. Sécher les surfaces avec un chiffon doux et propre.
Joints de porte
- Laver les joints de porte tous les 3 mois en suivant les instructions générales de nettoyage. Nettoyer immédiatement toute éclaboussure.
- Appliquer une fine couche de vaseline afin que les joints restent soudés.
Condenseur à serpentin
Nettoyer le condenseur à serpentin situé derrière la grille du bas tous les 3 mois afin d'assurer à votre réfrigérateur des performances optimales. Une accumulation de poussière et de peluches peut avoir pour effet :
- une diminution des performances du système de réfrigération,
- une consommation accrue en énergie,
- la défaillance prématurée d'une pièce.
- Enlever la grille du bas en maintenant les extrémités et en tirant vers soi.
- Nettoyer la face avant du condenseur à serpentin avec l'embout d'un tuyau d'aspirateur.
- Replacer la grille du bas en insérant les clips dans les trous et en appuyant d'un coup sec.
- Lever le pied stabilisateur (sur certains modèles) en tournant le pied vers la gauche.

Attention
Protéger le revêtement de sol à l'aide de cartons, de tapis ou d'autres matériaux de protection afin d'éviter tout dommage matériel.
- Écarter le réfrigerateur du mur. Passer une roussse aspirante sur la grille à l'arrière du réfrigerateur.

Attention
Pour éviter tout dommage corporel ou matériel, manipuler les tablettes en verre tempé avec précaution. Une tablette ébréchée, rayée ou exposée à un brusque changement de température risque de se briser subitement.
Soulever l'avant de la tablette de manière à faire sortir les crochets du rail métallique, puis enlever la tablette. La placer sur une serviette. Avant de nettoyer la tablette, la laisser s'adapter à la température ambiente.
Pour nettoyer les cavités, procéder comme suit:
- Diluer du détergent doux et faire pénétrer la solution à l'intérieur des cavités à l'aide d'une petite brosse en plastique. Laisser agir pendant 5 minutes.
- Asperger les cavités d'eau chaude à l'aide d'un pommeau raccordé au robinet.
- Essuyer soigneusement la tablette et la remettre en place en insérant les crochets dans les rails métalliques et en l'abaissant par l'avant.

Avertissement
Avant de remplacer une ampoule, débrancher le réfrigerateur afin d'éviter tout choc électrique pouvant causer des blessures graves ou mortelles. Après avoir replacé l'ampoule, rebrancher le réfrigerateur.

Attention
Pour éviter tout dommage corporel ou matériel, procéder comme suit:
Laisser refroidir l'ampoule. - Mettre des gants pour remplacer l'ampoule.
Lampe du compartiment denrées fraîches
- Enlever la plaque protectrice de l'ampoule (B) en desserrant les écrous 1/4 à six pans (A). Remplacer par une ampoule de 25 watts maximum.
- Replacer la plaque protectrice de l'ampoule (B) en retissant les écrous 1/4 à six pans (A).

Lampe du condensateur
- Enlever la plaque protectrice de l'ampoule (B) en desserrant les écrous 1/4" à six pans (A). Remplacer par une ampoule de 25 watts maximum.
- Replacer la plaque protectrice de l'ampoule (B) en retissant les écrous 1 / 4'' à six pans (A).

Conseils pour les vacances
Pour de courtes vacances, procéder comme suit.
- Enlever les denrées périssables.
- Si un appareil à glaçons est installé, placer le bras de l'appareil à glaçons en position arrêt. (Voir la rubrique « Appareil à glaçons automatique » page 57).
Pour de longues vacances, procéder comme suit.
- Vider les compartiments réfrigerateur et congélateur.
- Débrancher le réfrigerateur.
- Nettoyer le réfrigerateur et les joints de portes en suivant les instructions générales de la section « Entretien et nettoyage »
- Ouvrir les portes afin que l'air puisse circuler dans l'appareil.
- Si un appareil à glaçons est installé, fermer l'arrivée d'eau du réfrigerateur et placer le bras de l'appareil à glaçons en position arrêt. (Voir la rubrique « Appareil à glaçons automatique » page 57).
Conseils pour économiser l'énergie
Par sa conception, ce réfrigerateur est l'un des plus économiques parmi les appareils actuellement disponibles. Vous économiserez de l'énergie en respectant les règles ci-dessous.
- Maintenir une température ambiante normale (entre 13°C et 43°C) et éloigner l'appareil des sources de chaleur et du rayonnement solaire direct.
- Ne pas régler le réfrigerateur, le congélateur et le tiroir à viande à température contrôle sur une température plus BASSE que nécessaire. Garder le compartiment congélateur rempli en permanence.
- S'assurer que les joints restent propres et couplés. Remplacer les joints usés.
- Maintenir le condensateur à serpentin propre.
Bruit de fonctionnement normaux
Il se peut que ce nouveau réfrigerateur remplace un appareil conçu différemment, moins efficace ou plus petit. Les réfrigerateurs actuels ont de nouvelles fonctions et consomment moins d’énergie. Dès lors, il se peut qu’ils émettent des bruits inhabituels. Ces bruits sont normaux et vous seront bien vite familiers. Ils indiquent que le réfrigerateur est en service et qu’il fonctionne comme prévu.
- La commande du congélateur émet un bruit sec à la mise en marche et à l'arrêt du compresseur.
- Le ventilateur du congélateur souffle de l'air en vrombissant.
- Le fluide réfrigérant du système d'étanchéité (évaporateur et échangeur de chaleur) gargouille, claque ou fait un bruit similaire à l'eau qui bout.
- Le système de dégivrage grésille, siffle ou claque.
- L'horloge du système de dégivrage émet un bruit similaire à une horloge électrique ainsi qu'un bruit sec au début et à la fin du cycle de dégivrage.
- Le ventilateur du condenseur souffle de l'air en vrombissant.
- Le compresseur émet un ronflement aigu ou un son vibrant et fait du bruit au début et à la fin de chaque cycle.
- Les glaçons tombent de l'appareil à glaçons (sur certains modèles) dans leseau à glace. __CORRIGÉ__ Les glaçons tombent de l'appareil à glaçons (sur certains modèles) dans le seau à glace.
- Le raccordement du robinet de prise d'eau de l'appareil à glaçons (sur certains modèles non illustrés ici) bourdonne lorsque l'appareil à glaçons se remplit d'eau, que le réfrigerateur soit ou non raccordé au réseau de distribution d'eau. Si le réfrigerateur n'est pas raccordé au réseau de distribution d'eau, vous pouvez arrêter le bruit en levant le bras de l'appareil à glaçons sur la position arrêt. Le raccordement du robinet de prise d'eau se trouve derrière le ventilateur du condenseur, à l'arrière du réfrigerateur.
Remarque: la mousse isolante est très efficace sur le plan énergétique et est un excellent matériel d'isolement. Toutefois, la mousse isolante absorbe moins bien lessons que la fibre de verre utilisée autres.

Avant de contacter le réparateur
| Problème | Solution |
| Le réfrigérateur ne fonctionne pas. | S'assurer que la commande du congealaur est sur marche.S'assurer que le réfrigérateur est branché. Si ce n'est pas le cas, insérer fermement la fiche du cordon dans une prise de courant à la bonne tension.Vérifier le fusible ou le coupe-circuit. Brancher un autre apparéil sur cette prise murale. Si la prise ne fonctionne pas, replacer le fusible ou remettre le circuit.S'il apparaït que la commande du réfrigérateur est sur marche, que les ampôules sont allumées, mais que les 2 ventilateurs et le compresseur ne fonctionnent pas, il se peut que le réfrigérateur soit en cycle de dégivrage. Attendre 40 minutes et voir si le réfrigérateur redémarre. |
| Le réfrigérateur ne fonctionne toujours pas. | Débrancher le réfrigérateur. Transférer les alimentés vers un autre apparéil oumettre de la glace sèche dans le compartment congestionel pour préserver les alimentés. Appeler le service technique. |
| La température des alimentés est trop élevé. | Voir les points ci-dessus.II faut un certain temps pour que des alimentés chauds placés dans l'appareil arrivent à température de réfrigération ou de congeélation.Lorsqu'on ajoute des alimentés, le réfrigérateur se rechauffe. Il lui faut alors un certain temps (parfois plusieurs heures) pour retrouver sa température normale.Vérifier l'étanchéité des joints. Les joints doivent fermer l'appareil de manière parfaitement étanche.Nettoyer le condenseur à serpentin. Voir la rubrique « Condenseur à serpentin » dans la section « Nettoyage et entretien ».Régler la commande du réfrigérateur et du congealaur. Voir la rubrique « Réglage des commandes » dans la section « Commandes ».La lampe du congealaur ou du réfrigérateur reste allumée. Dans ce cas, enlevez l'ampoule et appelez le service technique.Les trous d'aération derrière les bacs à légumes sont bouchés, ce qui limite le passage de l'air. Repérer les troughs d'aération derrière les bacs à légumes et enlever les déchets qui bouchent les orifices ou limitent le passage de l'air. |
| La température des alimentés est trop BASSE. | Nettoyer le condenseur à serpentin. Voir la rubrique « Condenseur à serpentin » dans la section « Nettoyage et entretien ».Régler la commande du réfrigérateur. Voir la rubrique « Réglage des commandes » dans la section « Commandes ».Régler la commande du congealaur sur une température plus élevée. Voir la rubrique « Réglage des commandes » dans la section « Commandes ».Il faut plusieurs heures pour que la température s'adapte. |
| Le réfrigérateur se met en marche trop souvent. | Ceci peut être nécessaire pourmaintirin unetempérature constante.II se peut que les portes aientété ouvertes à maintes reprises ou de manière prolongée.Lorsque la portee est ouverte,de l'air chaud et humide pénétre dans le réfrigérateur.Plus la porte est ouverte,plus grande est la quantité d'air chaud que le réfrigérateur doit refroidir.II faut un certain temps pour que des alimentéschauds placés dans l'appareil arrivent à température de réfrigération ou de congélation.II faut parfois plusieurs heures pour que le réfrigérateur retrouv sa température normale.Nettoyer le condenseur à serpentin.Voir la rubrique « Condenseur à serpentin » dans la section « Nettoyage et entretien ».Régler la commande du condéatelur.Voir la rubrique « Réglage des commandes » dans la section « Commandes ».Vérifier l'étanchéité des joints.Les joints doivent fermer l'appareil de manière parfaitement étanche.La lampe du condéatelur resté allumée.Dans ce cas,enlevez l'ampoule etappelez le service technique.S'assurer que le réfrigérateur est de niveau.Voir la rubrique « Stabiliser le réfrigérateur » dans les Instructions d'installation. |
| Des gouttelettes d'eau se forment à l'intérieur du réfrigérateur. | Ceci est normal lorsquel'humidité est élevée ou lorsquels portes ontété ouvertes à maintes reprises.Envelopper soigneusement les alimentés et essuyer les récipliers humides avant de les placer dans le réfrigérateur afin d'éviter toute condensation. |
| Des gouttelettes d'eau se forment à l'esthérieurdu réfrigérateur. | Vérifier l'étanchéité du joint de porte.Les joints doivent fermer l'appareil de manière parfaitement étanche.Ceci est normal lorsquel'humidité est élevée ou lorsquels portes ontété ouvertes à maintes reprises. |
| Le réfrigérateur émet une odeur. | Voir la rubrique « Elimination des odeurs » dans la section « Entretien et nettoyage » |
| Le réfrigérateur produit dessons inhabituels ou semble bruyant. | Ceci est peut-être normal.Voir la section « Bruits de fonctionnement normaux » |
| Les glaçons ont une odeur. | Voir la rubrique « Elimination des odeurs » dans la section « Entretien et nettoyage ».Les alimentés n'ont pas été enveloppés soigneusement dans le réfrigérateur ou le condéatelur.Veillez à bien les enveloppper,car l'odeur d'aliments mal enveloppés peut se transmettre aux glaçons.Procedure plus régulièrement à l'enlèvement des glaçons et au nettoyage duseau ou des plateaux à glaçons.Les glaçons sont poreux et absorbent facilement les odeurs.L'eau courante contient des minéaux, comme le soufre.Dans certains cas, il peut être utile d'inlocker un filtre afin d'éliminer les problèmes de goût et d'odeur. |
| Les glaçons collent entre eux ou «rapetissent». | Vider plus régulièrement leseau ou les plateaux à glaçons.En cas d'utilge peu fréquent,les glaçons peuvent coller entre eux ou rapetissier. |
Première année
Amana fournira notamment une pièce de rechange, f.o.b. Amana, Iowa, États-Unis, pour toute pièce défectueuse en raison d'un défaut de fabrication ou de matériaux.
De la deuxième à la cinquième année
Amana fournira gratuitement une pièce de rechange, f. o. b. Amana, Iowa, États-Unis, pour tout compresseur défectueux en raison d'un défaut de fabrication ou de matériaux.
Limites de la garantie
- La garantie prend cours à la date de l'achat initial.
- La maintenance doit être assurée par un technicien Amana agréé.
La garantie est nulle si
- La plaque signalétique est illisible.
- Le produit est utilisé dans le cadre d'un commerce, d'une location ou d'un leasing.
- Le produit présente des défauts ou des dommages dus à l'une des causes suivantes : accident, altération, connexion à une source électrique inadéquate, incendie, foudre, expulsion ou manutention, ou toute autre situation dont Amana n'a pas le contrôle.
- Le produit a été installé ou utilisé de manière inadéquate.
Responsabilités du propriétaire
Fournir la preuve de l'achat (facture). Assurer une maintenance et un entretien normaux. Remplacer les éléments dont le remplacement incombe au propriétaire, comme indiqué dans le Manuel d'utilisation. - S'assurer que le produit est suffisamment accessible pour l'entretien. - Payer les frais supplémentaires liés aux réparations en dehors des heures de travail normales du technicien. - Payer les interventions liées à l'installation ou à l'utilisation du produit.
Pour toute question relative aux points qui précèdent ou pour connaître le technicien agréé le plus proche, veuillez contacter votre fournisseur ou:
Numéro de série ou S/N:
Date d'acquisition:
Notice Facile