BX 518 VW VE - Koelkast AMANA - Gratis gebruiksaanwijzing en handleiding
Vind de handleiding van het apparaat gratis BX 518 VW VE AMANA in PDF-formaat.
Download de handleiding voor uw Koelkast in PDF-formaat gratis! Vind uw handleiding BX 518 VW VE - AMANA en neem uw elektronisch apparaat weer in handen. Op deze pagina staan alle documenten die nodig zijn voor het gebruik van uw apparaat. BX 518 VW VE van het merk AMANA.
GEBRUIKSAANWIJZING BX 518 VW VE AMANA
Gebruiksaanwijzing en onderhoudshandleiding voor de internationale koel-/vriescombinatie met vriesruimte onder Inhoud
Weggooien van uw koelkast 75
Installatie-instructions 75
Installatiechecklist 79
Regelaars 80
Elementen voor verse levensmiddelen
en vriesruimte 80
De planken instellen 80
Eigenschappen voor verse levensmiddelen 80
Schappen voor verse levensmiddelen 80
Garden FreshTM groenteladen 81
Opbergrek (sommige modellen) 81
Bewaarvak met deksel (sommige modellen) 81
Zuivelcentrum (sommige modellen) 81
Deurvakken 81
Reling voor hoge verpakkingen
(sommige modellen) 82
Deurschappen 82
Verstelbare verdeler (sommige modellen) 82
Flessenhouser sommige modellen) 82
Elementen van de vriesruimte 82
Rek voor ijslades (sommige modellen) 82
Uitschuifplank (sommige modellen) 82
Verticale plankverdeler (sommige modellen) 83
Vaste draadplank (sommige modellen) 83
Mand 83
Bak voor blokjes (sommige modellen) 83
Onderhoud en reiniging 83
Algemeen reinigen 83
Geuren verwijderen 84
Lijmen 84
Deurafsluitingen 84
Condensorspoelen 84
Glazen planken 84
Het lampje verrangen 84
Vakantietips 85
Energietips 85
Normale bedrijfsgeluiden. 86
Voordat u de reparatiedienst belt 87
Garantie 89
Opmerking:
Vertaling kan soms een verschil in betekenis veroorzaken. In alle gevallen waar de betekenis verschilt, is de meest
nauwkeurige betekenis de Engelse versie van dit document.

Dit symbol geeft een veiligheidswaarsch huwing aan.
De koelkast is zodanig ontworpen dat deutsche op een
afzonderlijk circuit van 230 V, 50 Hz, 10 A werkt.
Modelidentificatie
Productinformationatie staat op het serienummerplaatje. Noteer de volgende informatatie.
Model Number (modelnummer):
Manufacturing Number (fabrikatienummer):
Serial of S/N Number (serienummer):
Aankoopdatum:
Naam en adres van verkoper:
Bewaar een kopie van de aankoopfactuur voor later gebruik.

GEVAAR
Weggooien van uw koelkast
BELANGRIJK: Kinderen die sich opsluiten in koelkasten en stikken, ist nicht alleen een probleem uit het verleden.
Afgedankte of achtergelaten koelkasten zich nog steeds gevaarlijk, zelfs als ze maar "enkele dagen" worden achtergelaten. Indien u zich wilt ontdoen van uw oude
koelkast volg dan onderstaande instructies om ongelukken te vermijden.
VOORDAT U UW OUDE KOELKAST OF DIEPVRIES WEGGOIT:
- Verwijder de deuren.
- Laat de planken op hunplaats zodate kinderen nicht zo makkelijk in de koelkast kuren klimmen.

Installatie-instructies
Inleiding
De koelkast moet aangesloten worden door een bevoegde bevægote technicus, volgens deze installment-instructies.
Meet de deuropening, en de diepte en bredte van de koelkast. Verwijder de deurhendels indien noodzakelijk. De technicus要去 de voorschriften voor aansluiting van deplaatselijke waterleiding- en elektricitetsbedrijven volgen.
Reparaties of vervanging van het netsnoer要去en door een technicus worden uitgevoerd.
De juiste installment zorgt ervoor dat de koelkast het efficienst werkt. Amana Appliances neemt geen verantwoordelijkheid voor onjuiste installment.
Installatievereisten
- Sluit aan op met een geaard stopcontact met een afzonderlijk 230V 50Hz 10 A circuit.
- Bescherm zachte vloerbekleding met karton of dekens.
- Installeer op een vloer die tot 429kg kan ondersteunen.
- Zorg voor 25 mm speling aan de bovenkant en 5 mm aan de zijkanten van de koelkast.
OPMERKING: Installee de koelkast Niet in de buurt van een oven, radiator of andere warmtebron. Installee de koelkast Niet op eenplaats waar de temperatuur onder de 13^ komt.
1. De houten basis verwijderen.

OPGELET
- Om persoonlijke verwondingen of beschadigingen te vermijden要去en twee Personen de houten basis verwijderen.
-
Laat om mechanische storing te voorkomen de koelkast Niet langer dan voor het verwijderen van de bouten nodig is op de zijkant liggen.
-
Plak de deuren in de rechter en linker bovenhoeken vast om te voorkomen dat ze onverwacht open gaan.
- Schuif een karretje onder de zijkant van de koelkast gegenover de scharnieren.
- Pak de koelkast in met een deken of kussen. Wikkel de riem rond de koelkast. Plaats piepschuim uit de verpakking onder de riem. Maak de riem stevig vast. Haal de riem Niet te strak aan.
- Vaat het karretje maar de vloer zakken met de hendels maar beneden gericht.
- Verwijder de twee bovenste bouten uit de bescherming.
- Plaats het karretje en de koelkast opnieuw rechtopen verwijder de riem.
- Schuif het karretje onder de tegenovergestelde zijkant van de koelkast.
- Herhaal stap 3-5.
- Verwijder de houten basis.
- Zet de kar en de koelkast wee rechtop. Zet de koelkast voor de uiteindelijke plaats van bestemming en verwijder de kar.
2. De deuren zo nodig verwijderen en omdraaien.
Bij sommige installations is het nodig dat de deuren worden omgedraaid zodate ze helemaal geopend kuren worden. Om de draairichting van de deuren te veranderen, voert u de volgende stappen UIT:
Benodigd gereedschap
Geschikte moersleutels
Kruiskopschroevendraier
Platte schroevendraier
Afplakband
BELANGRIJK: Voor het verwijderen van proppen met gebruik van een platte schroevendraier of plamuurmes het blad met aflplakband aflpakken om beschadiging aan de afwerking van de koelkast te voorkomen. Voor propen die met een schroevendraier of moersleutel verwijderd要去en worden het gpaste gereedschap gebruiken om beschadiging van de proppen te voorkomen.
-
De deurhendel van de koelkast verwijderen.
-
Verwijder de schroef (C)uit de sierstrip van de bovenste hendel (A). Wrik de rand van de sierstrip (A) omhoog met het met afplakband bedekte blad van een schroevendraaier. Verwijder de hendel(B) van de deur door 1 overblijvende bevestigingssschroef (C) aan elk uiteinde van de hendel te verwijdersen.
- Verwijder 1 prop uit de bovenkant van de deur aan de scharnierkant en 2 uit de voorkant van de deur
aan de scharnierkant (D) .Breng de 3 proppen met bevestigingschroeven (C) aan in de lege bevestigingsgaten aan de andere Kant van de deur.


-
De deurhendel van de vriesruimte verwijderen.
-
Open de deur van de vriesruimte 90^ . Zoek de twee inkepingen op de achterkant van de hendel van de vriesruimte (A) op. Steek hier het met afplakband bedekte blad van een schroevendraaier in. Wrik dechterste rand van het beschemkapje van de deurhendel (B) omhoog en verwijder dit van de hendel.
- Verwijder de hendel (A) van de deur door de twee bevestigingsschroeven te verwijdenen.
- Verwijder 2 proppen (D) uit de andere kant van de deur van de vrieskast en zet deze in de lege bevestigingsgaten.

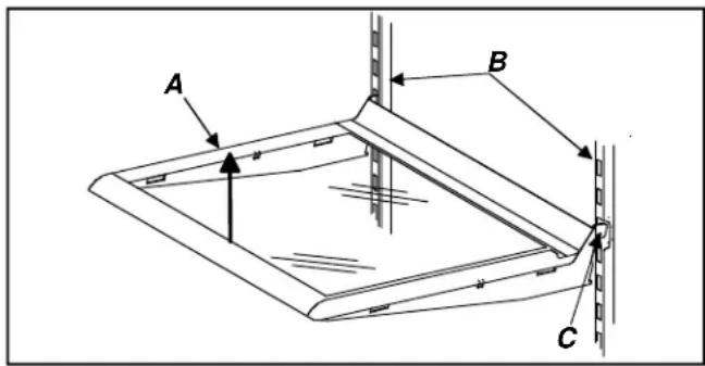
- De deksel van het bovenscharnier verwijderen. De deksel kan met de hand verwijderd worden. Verwijder de 5 / 16 schroeven (A) om het bovenscharnier (B) en het vulstuk (C) los te makeen met een zeskantsleutel. Verwijder en bewaar alle vulstukken (C en D).
- De koelkastdeur verwijderen door de deur van de middelste scharnierpen (F) en zeskantmoer (E) af te tillen. Inspecteer de deur om er zeker van te+zijn dat alle vulstukken (D) bij de scharnierpen zich.
- De middelste scharnierpen (F) verwijdenen met gebruik van de zeskantsleutel. Omdat de pen heel nauw past, moet wellicht stevige druk worden uitgeoefend. Verwijder en bewaar alle vulstukken (D).
- De deur van de vriesruimte verwijderen door deze van het onderste scharnier (K) af te tillen.
- De middelste scharnierbeugel (G) en vulstuk (H) met een kruskopschroevendraier verwijderen.
- Verwijder het rooster en de deksel van het anderscharnier. Beide können met de hand verwijderd worden.
- Verwijder de onderste scharnierpen (J) , onderscharnier (K) en scharniervulstukken (L) met de zeskantsleutel. Verwijder en bewaar de vulstukken (D) .



-
De deurstoppen omkeren.
-
Zoek de deurstoppen (B) aan de onderkant van de koelkastdeur (A) op. Maak de twee kruskopschroeven los om de deurstop te verwijderen. Verwijder de twee kruskopschroeven aan de gegenoverliggende kant van de deur. Monteer de deurstop op de gegenoverliggende kant. Breng de resterende schroeven in de lege bevestigingsgaten aan.
Herhaal bovenstaande aanwijzingen voor het omkeren van de deurstop op de deur van de vriesruimte.

-
De deuren omkeren door de volgende stappen uit te voeren:
-
Verwijder de proppen en schroeven in de tegenoverliggende kant van de koelkast. Breng deze aan in de gaten die weiterো gebleven na het verwijdersen van de scharnieren.
-
De onder-, midden- en bovenscharnieren met vulstukken aan de tegenoverliggende kant van de kast monteren.
-
Breng het onderscharnier op de tegenoverliggende kant van de kast aan. Controleer dat de scharniervulstukken op hunplaats�n voordat u het scharnier vastschroeft. Zet, nadat u de scharnierpen in het buitenste gat hebt geplaatst, de ronde vulstukken terug. Bij sommige onderscharnieren zijn er proppen in de gaten. Verwijder in dat geval de prop uit het buitenste gat, zet de pen in het gat en zet de prop in het lege gat terug.
Breng het bovenscharnier en de vulstukken aan,
maar LAST genoeg spelig om de gescharnierde kant
van de koelkastdeur op+zijn plaats te schuiven.
Maak het bovenscharnier vast zodat de deur stevig
op+zijn plaats worden gehonden.
- De afstand:tussen de deur en de kast moet 18 mm (^11 / _16 inch) zijn.
- De kant van de deur met de hendel moet ongeveer 3mm(18 inch) hoger়n dat de gescharnierde kant. De deur worden waterpas als deze worden opgevuld met levensmiddelen.


-
De deurhendel van de koelkast aan de tegenoverligende kant bevestigen met de in een vorige stap verwijderde bevestigingsschroeven.
-
Klik de sierstrip van de hendel op+zijnplaats en breng de schroefeer aan.
-
De deurhendel van de vriesruimte aan de tegenoverligende Kant bevestigen met de in een vorige stap verwijderde bevestigingsschroeven.
-
Draai de voorrand van de beschemkap van de hendel maar benedenaar de achterrand van de hendel van de vriesruimte. ControllerDat het ondersteuitsteeksel op de beschemkap van de vriesruimte onder de achterrand van de hendel van de vriesruimte schuift. Klik dechterste rand van de beschemkap van de hendel op+zijnplaats.
- Controlleren dat de koel-/vriescombinatie waterpas is nadat de aanwijzingen beginnend met stap 5 zijn uitgevoerd.
- Het rooster onderaan en de deksel van het anderscharnier wee aanbrengen.
Belangrijk: Kijk maar de op de binnenkant van het rooster gedrukte pijl om voor de juisteplaatsing te zorgen.
- Klik het bovenste gedeelte eerst op+zijn plaats. Duw op het onderste deel van het rooster totdat dit op+zijn plaats klikt.

3. De koelkast op de uitkozen plaats neerzetten.

OPGELET
Beschem de vloer met karton, kleden of ander beschermend materiaal om beschadiging aan de vloer te voorkomen.
4. De stekker van het netsnoer in het stopcontact steken.
- Het netsnoer mag uitsluitend door bevoegt onderhoudspersoneel worden gerepareerd. Er is speciaal gereedschap nodig om het apparaat te onderhoden. Neem contact op met de dichtstbijzijnde onderhoudsinstantie voor onderzoek, reparatie of afstellen.
5. De koelkast waterpas make.
a. Draai de rolstelschroef (A) maar rechts om de kast omhoog te brengen enaar links om de kast omlaag te brengen.
b. Stel de stabiliseerpoot (B) zodanig af dat de koelkast stevig gegen de vloer ondersteund worden.

OPGELET
Om personlijk letsel of schade aan eigendommen door het omkiepen van de koelkast te vermijden, moet de stabiliseerpoot stevig gegen de vloer staan.

Deze checklist is uitsluitend voor uw persoonlijke archief.
Klant Installateur
□
□
Deuren
De Kant van de deur met de hendel is 3 mm hoger dan de gescharnierde kant van de deur. (De deur zakt waar beneden wonneer er levensmiddelen in zich geplaatst.)
□
De koelkast is 6 mm van voor maar afterwards gekanteld.
□
□
De stabiliseerpoot staat stevig op de vloer.
□
□
Het rooster onderaan is bevestigd aan de koelkast.
□
□
Productliteratur
De gebruikershandleiding werden gelezen, waaronder de volgende informatatie:
Regelaars voor verse levensmiddelen en vriesruimte
Groentelade met vochtigheidsregeling
Lade met temperatuurregeling
- Normale bedrijfsgeluiden
Opmerkingen
Handtekening klant
Handtekening installer
Bedrijf installateur/telefoonnummer
Datum
Regelaars
Deze koelkast is ontworpen voor gebruik bij normale woningtemperaturen, van 13^ tot 43^ .
Regelaars voor verse levensmiddelen en vriesruimte
De regelaar voor de verse levensmiddelen bevindt zich bovenaan op dechterwand van de ruimte voor verse levensmiddelen.

De regelaar voor de vriesruimte bevindt zich rechtsboven op het plafond van het vriesgedeelte.

De regulaars instellen
Wanneer de vriesruimteregelaar is ingesteld op koelen zowel de koelkast als de vriesruimte Niet. Stel eerst beiden regelaars in op 4. Wacht 24 uur totdat de temperatuur in de koelkast en de vriesruimte gestabiliseerd is. Stel na 24 uur de regelaars met een cijfer tegelijk af op de gewenste temperatuur. Een is de warmste instelling en zeven is de koudste.
Stel de controles nauwkeurig af met gebruik van een huishoudthermometer met een temperatuurbereik tussen -21^ en 10^ .
Plaats de thermometerussen bevroen pakjes in het vriesgedeelte. Wacht 5 tot 8 uur. Als de temperatuur in de vriesruimte Niet -17^ tot -15^ is, stel de vriesruimteregelaar dan met een cijfer tegelijk af. Verifieer opnieuw na 5 tot 8 uur.
Zet de thermometer in een glas water midden het gedeelte voor verse levensmiddelen. Wacht 5 tot 8uur. Als de temperatuur voor verse levensmiddelen Niet 3^ tot 4^ is, stel de regelaar voor verse levensmiddelen dan met een cijfer tegelijk af. Verifieer opnieuw na 5 tot 8uur.
Elementen voor verse levensmiddelen
Planken voor verse levensmiddelen
De planken zijn verstelbaar zodat ze voldoen aan individuèle bewaarbehoeften. Sommige modellen zijn uitgerust met Spillsaver™ planken en Easy Glide™ schappen. Spillsaver™ planken hondenkleine hoeveelheden gemorst product vast waardoor reinigen makkelijker is.

OPGELET
Zorg ervoor dat de plank stevig op+zijnplaats zit voordat u articleken op de plank terugzet om schade aan eigendommen te vermijden.

OPGELET
Wees voorzichtig met van voorgespannen glas om persoonlijk letsel of planken aan eigendommen te vermijden. Deze planken können breken indien zich worden gekrast of gekerfd, of indien+zijn aan snelle temperatuurswisselingen wordenblootgesteld.
- Verwijder de planken (A) door de plank aan de voorkant op te tillen, de haken (C)uit het metalen spoor (B) vrij te makeen en de plankervolgens maar buiten te trekken.
- Zet de planken werden terug door de haken (C) in het metalen spoor (B) te steken en de voorkant van de plank te lately zakken.

Easy Glide™ planken können maar voren worden getrokken zodat u makkelijker bijarticelen achechterin de koelkast kuntkommen.

Garden Fresh™ groenteladen
In Garden Fresh™ groenteladen blijven groenten en fruit langer vers. Pak de groenten of het fruit stevig in. Was de groenten of het fruit Niet voordat u het in de groentelade legt. Buitensporig vocht kan ervoor zorgen dat de groenten of het fruit voortijdig bederven. Leg geen papieren handdoekjes in de groentelade. Papieren handdoekjes honden vocht vast.
De regelaars voor de Garden FreshTM (D) groenteladen bevindt zich onder de sierrand van de Voorste plank. De regelaars stelt de vochtigheid in de groenteladen af. Schuif de regelaars maar high (hoog) voor bladgroenten zoals sla, spinazie of kool. Schuif de regelaars maar low (laag) voor groenten met een schil, zoals bloemkool, maïs of tomaten.
Om de groenteladen te reinigen of terug te zetten, verwijdert u de plank en de groenteladen door de volgende stappen uit te voeren:
-
Open de linker groentelade.
-
Open bij een koelkast met de scharnieren links de rechter groentelade.

OPGELET
Wees voorzichtig met van voorgespannen glas om persoonlijk letsel of planken aan eigendommen te vermijden. De planken hunnen plotseling breken als ze gekrast worden, er tegen gestoten worden ol as ze worden blootgesteld aan een plotselinge verandering in temperatuur.
- Verwijder de glazen bovenkant van de groentelade (A) door er zachtjes van onder af op de duwen. Kantel een uiteinde maar boven en trek�<|im_start|>
- Verwijder de linker groentelade door deze vanaf de voorkant op te tilen verwijl u hem van onderen steunt enaar buiten te trekken.Verwijder bij een koelkast met de scharnieren aan de linker Kant de rechtier groentelade.
- Verwijder de andere groentelade volgens stap 3. Als de deur u beperkt in de mogelijkheid de lade te verwijderen, verwijder de lade dan samen met het frame volgens stap 5.
- Verwijder het frame van de groentelade (B) door dit bij de plastic sierrand aan de voorkant op te tillen en uit de groeven van de rails in de koelkast op te tillen. Trek het waar voren en uit de koelkast.
- Zet de groenteladen en de plank wee terug door stap 2-5 in omgekeerde volgorde uit te voeren.

Opbergrek (sommige modellen)
Het opbergrek biedt een gemakkelijke plaat voor het opbergen van een groe fles, eieren enz.
- Hang het rek op door dit over de zijkant van de plank te haken.

Bewaarvak met deksel (sommige modellen)
Het bewaarvak met deksen teelt een deksel en een verwijderbaar eierlade. Wanner de lade wordt verwijderd, kunt u een standarde eierdoos, ijsdoos enz. in het vakplaatsen.

Zuivelcentrum (sommige modellen)
Het zuivelcentrum geeft plaats aan boter, kaas enz.
- Verwijder het zuivelicentrum door de deur (A) op te tillen, de uitsteeksels (B) van het schap aan beiden kanten maar beneden te duwen en het zuivelicentrum�n aan buiten te trekken.
- Zet het zuivelcentrum waar terug door het maar binnen te schuiven totdat de uitsteeksels (B) op hunplaats klikken en LASTVervolgens de deur (A) zakken.

Deurvakken
Deurvakken zijn aanpasbaar om aan individuele bewaarbehoeften te voldoen.
- Verwijder de deurvakken door de uitsteeksels (A) aan beiden kanten van de schappen maar het midden te duwen en het yak uit de deur te trekken.
- Zet de deurvakken terug door ze te schuiven totdat deuitsteeksels (A) op hun plaats klikken.

Reling voor hoge verpakkingen (sommige modellen)
De reling voor hoge verpakkingen beschermt hoge producten. De reling past op de voorkant van alle deurschappen of op het deurvak.

Deurschappen
- Verwijder de deurschappen door de uiteinden op te tillen en waar buiten te trekken.
Zet de deurschappen terug door het schap op de glijders (A) te zetten en waar beneden te schuiven.

Verstelbare verdeler (sommige modellen)
De verstelbare verdeler houdt producten op hun plaats en kan aangepast worden om te voldoen aan individuèle bewaarbehoeften. De verdeler past in alle deurvakken of in het deurschap.

Flessenhouser (sommige modellen)
De flessenhouser houdt flessen en potten op hunplaats en kan aangepast worden om te voldoen aan individuèlebewaarbehoeften. De flessenhouser past in alle deurvakken of in het deurschap.

Elementen van de vriesruimte
De ruimte voor verse levensmiddelen en de vriesruimte zich volledig vorstvrij. Ontdooien gebeurt automatisch onder normale omstandigheden. De ruimte voor verse levensmiddelen en de vriesruimte hoeven nooit ontdooid te worden.
Rek voor ijslades (sommige modellen)
Installer het rek voor ijslades (C) door dit op de schroeven met borgingen (A en B) teplaaten en maar beneden te schuiven.


OPGELET
Zorg ervoor dat het rekje stevig vastzit voordat u er artikelen op zet om schade aan eigendommen te vermijden.
Uitschuifplank (sommige modellen)
De uitschuifplank kan maar voren getrokken worden zodate u gemakkelijk bij producten achterin kutnkommen.
- Verwijder de uitschuifplank door dit maar voren te schuiven totdat het balpunt (B) onder de middenrail (A) in de groef in het lijstwerk grijt.
Grijp de plank bij de middenrail (A) vast, trek hem omhoog en verwijder hem.
- Schuif de plank waar'erug totdat het balpunt (B) in de groef in het lijstwerk valt.

Verticale plankverdeler (sommige modellen)
Installer de verticale plankverdeler door de volgende stappen uit te voeren:
- Schuif de tanden van de plankverdeler onder het gewenste roosterwerk, ie's uit het midden van de middenrail.
- Duw de bovenkant van de verdeler maar beneden en schuif de haak onder de middenrail.

Vaste draadplank (sommige modellen)
- Verwijder de draadplank door deze maar buiten te trekken. Het kan zich dat u er een ruk aan moet gehen.
- Zet de draadplank waar terug door deze maar binnen te schuiven totdat hij op+zijnplaats klikt.

Mand
De mand (A) schuift waar buiten zatat u makkelijk bij producten achterin kunt komen.
- Verwijder de mandoordeze op te tillen enaar buiten te trekken.
Zet de mandtering door deze nabin te schuiven.

Bak voor blokjes (sommige modellen)
De bak voor de blokjes (A) past onder het rek voor ijslades op de draadplank in de vriesruimte.

Onderhoud en reiniging

WAARSCHUWING
Haal de stekker uit het stopcontact voordat u de koelkast reinigt om een elektrische schok te voorkomen die ernstiglichamelijk letsel of de dood kan veroorzaken. Steek de stekker na het reinigeneer in het stopcontact.

OPGELET
Lees alle reinigingsaanwijzingen van de fabrikant en volg\ deze op om lichamelijk letsel of schade aan\ eigendommen te vermijden.
Algemeen reinigen
- Was de oppervlakken en de buitenkant met 60 ml natriumbicarbonaat in 1 liter warm water en een zachte, schone doeK.
-
Spoel de oppervlakken en de buitenkant met warm water af. Droog met een zachte, schone doek.
-
Gebruik de volgende artikelen nicht:
-
schurende of bijtende schoonmaakmiddelen, ammoniak, bleekwater, etc.
- geconcentreerde wasmiddelen of oplosmiddelen
- metalen schuursponzen
Deze artikelen können de oppervlakken begrassen, doe scheuren of verkleuren.
- Plaats de bakken, planken, etc. Niet in de vaatwasmachine.
Geuren verwijderen
- Verwijder alle voedingswaren en haal de stekker uit het stopcontact.
- Reinig alle binnenoppervlakken, inclusief het plafond, de bodem en wanden in overeenstemming met de aanwijzingen voor algemeen reinigen hierboven. Wees bijzonder aandachtig voor hoeken, gleuven en groeven. Reinig eveneens alle laden, planken en afsluitingen.
- Steek de stekker werk in het stopcontact enplaats de voedingswaren谈起 in de koelkast. Reinig en droog alle flessen, dozens en bokaals. Plaats voedingswaren in goed afgesloten verpakkingen om verdere geuren te voorkomen. Kijk na 24 uur na of de geuren zich verdwenen.
Voer stap 4-10 UIT als de geur nog Niet verdreven is. - Verwijder alle voedingswaren en haal de stekker uit het stopcontact.
- Reinig alle binnenoppervlakken, inclusief het plafond, de bodem en wanden in overeenstemming met de aanwijzingen voor algemeen reinigen hierboven. Wees bijzonder aandachtig voor hoeken, gleuven en groeven. Reinig eveneens alle laden, planken en afsluitingen.
- Plaats de krokanthouder op de bovenste schap van het koelgedeelte. Vul de vries- en koelgedeelten en de deuren ervan met verfrommelde bladen zwart/wit krantenpapier.
- Plaats houtskoolbriketten op willekeurige wijze in het krantenpapier.
- Sluit de deuren en wacht 24 tot 48 Uhr.
- Verwijder de houtskoolbriketten en het krantenpapier.
- Schakel de spanning opniew in en plaats de voedingswarenteringugindekoelkast.Reinigendroog alle flessen,dozen en potten.Plaats voedingswaren in goed afgesloten verpakkingen om verdere geuren te voorkomen.Kijk na 24 uur na of de geuren zich verdwenen.
Lijmen
- Verwijder kleefmiddelresten van de koelkastoppervakken door met de vingers tandpasta in het kleefmiddel te wrijven totdat dit loslaat.
- Spoel het oppervlak met warm water. Droog met een schone, droge doeck.
Deurafsluitingen
- Reinig de deurpakkingen om de 3 maanden in overeenstemming met de aanwijzingen voor algemeen reinigen. Ruim gemorst product onmiddelijk op.
- Breng een dun laagje vaseline aan op de pakkingen om deze soepel te honden.
Condenstorspiralen
Reinig de condensatorspiralen awhile het rooster onderaan om de 3 maanden om ervoor te zorgen dat de prestatie van de koelkast maximaal is. Stof en plus kannen de volgende problemen voroorzaken:
- verminderde koelprestaties
- verhoogd energieverbruik
-
in extremeGeVallen, voortijdige slijtage aan de compressor
-
Verwijder het rooster onderaan door dit bij de uiteinden vast te pakken en bij de koelkast weg te trekken.
- Maak de voorzijde van de condensatorspiraal schoon met het mondstuk van een stofzuiger.
- Plaats het rooster onderaan谈起 door de klemmen in de gaten teplaatsen en vast te drukken.
- Breng de stabilisatorpoot (sommige modellen) omhoog door de poot waar links te draaien.

OPGELET
Beschem de vloer met karton, kleden of ander beschemend materiaal om beschadiging aan de vloer te voorkomen.
- Trek de koelkast weg van de muur. Zuig met de stofzuigerborstel het rooster op de achterkant van de koelkast schoon.
Glazen planken

OPGELET
Wees voorzichtig met van voorgespannen glas om persoonlijk letsel of planken aan eigendommen te vermijden. Deze planken hunnen breken indien zich worden gekrast of gekerfd, of indien zich aan snelle temperatuurswisselingen worden blootgesteld.
Verwijder de plank door de voorzijde op te tillen zodat de haken uit de metalen houder loskomen en de plank verzolgens uit te trekken. Laat de plank op kamertemperatuur komen voor het schoonmaken. Maak groeven op de volgende wijze schoon:
- Verdun een mild wasmidele en breng de oplossing in de groeven aan met een zachtie plastic borstel. Laar 5 minuten inwerken.
- Sproei warm water in de groeven met een kraansproeier.
- Droog de plank grondig en plaats deze'erug door de haken in de metalen houder teplaatsen en de voorzijde maar beneden te drukken.
Het lampje verrangen

WAARSCHUWING
Haal de stekker van de koelkast uit het stopcontact voordat u het lampje verrangt om een elektrische schok te vermijden die ernstig lichamelijk letsel of de dood kan veroorzaken. Steek de stekker weer in het stopcontact nadat het lampje verrangen is.

OPGELET
Neem het volgende inucht om lichamelijk letsel of schade aan eigendommen te voorkomen.
- Laat het lampje afkoelen
- Draag handschoenen bij het verwangen van het lampje.
Lampje voor de koelruimte
- Verwijder de lampdeksel (B) door de 1/4 zeskantschroeven (A) te verwijdenen. Vervang het lampje door een koelkastlampje van nicht meer dan 25 Watt.
Zet de lampdeksel (B) wee terug door de 1 / 4 zeskantschroeven (A) weer vast te schroeven.

Lampje voor de vriesruimte
- Verwijder de lampdeksel (B) door de 1/4 zeskantschroeven (A) te verwijden. Vervang het lampje door een koelkastlampje van nicht meer dan 25 Watt.
Zet de lampdeksel (B) wee terug door de 1 / 4 zeskantschroeven (A) weer vast te schroeven.

Vakantietips
Voer het volgende uit bij korte vakanties:
- Verwijder bederfelijke producten. De garantie dekt geen verliezen van voedingswaren. Kijk het garantiecertificaat na voor specifieke dekking.
- Indien er een ijsmaker aanwezig is,plaats de arm ervan in de bovenste positie, zodate hij uitgeschakeld worden. (Zie het gedeelte "Automatische ijsmaker" op pagina 87)
Voer het volgende uit bij langere vakanties:
- Maak de koelkast- en vriesgedeeltes leeg.
- Trek de stekker uit het stopcontact.
- Maak de koelkast- en vriesgedeelteres schoon volgens de algemene aanwijzingen in de alinea "Onderhoud en reiniging".
- Laat de deuren openstaan zodate er lucht kan circuleren.
- Indien een ijsmaker aanwezig is, sluit de watertoevoer af en plaats de arm ervan in de bovenste positie, zodate hij uitgeschakeld worden. (Zie het gedeelte "Automatische ijsmaker" op pagina 87)
Energietips
Deze koelkast is ontworpen om een van de meest energie-efficiente op de markt teijken. Verminder het energieverbruik door het volgende in acht te nemen.
- Gebruik de koelkast bij normale huiselijke temperaturen tussen 13^ en 43^ , UIT de buurt van warmtebronnen ofrechtstreeks zonlicht.
- Stel de regelaars van de koelkast, de vriesruimte en de vleeslade met temperatuurregeling Niet kouder dan nooodzakelijk in.
- Hou het vriesgedeelte zo vol möglichk.
- Hou de deurafdichtingen schoon en plooibaar. Vervang indien ze versleten zich.
- Hou de condensatorsiralen schoon.
Normale bedrijfsgeluiden
Deze neue koelkast zal in zekere gezallen een verschillende, minder efficiente of Kleinere koelkast verrangen. De huidige koelkasten haben neue eigenschappen en zich efficienter qua energieverbruik, met als gevolg dat sommige geluiden soms ongewoon klinken. Deze geluiden zich normala, en u went er snel aan. Deze geluiden gehen eveneens aan dat de koelkast goed werkt en presteert zoals hij is ontworpen.
- De besturing van het vriesgedeelte klikt wanner deze de compressor opstart of stopzet.
- De lucht van de ventilator van het vriesgedeelte kolkt en zoemt.
- Het koelmiddel in het afgesloten system (verdamper en warmtewisselaar) klokt, poft of klinkt als kokend water.
- De ontdoolingsverwarmer sist en poft.
- De ontdooitijdklok klinkt net als een elektrische klok en klikt in en uit de ontdoocyclus.
- De lucht van de condensorventilator kolkt en zoemt.
- De compressor maakt een hoog zoemgeluid of een pulserend geluid en gaat aan en uit.
- De ijsblokjes in de ijsmaker (op sommige modellen) vallen in de ijsemmer.
- De waterkraanverbinding van de ijsmaker (sommige modellen) bromt wanner de ijsmaker worden gemvuld met water. Dit gebeurt onafhankelijk van het feit of de koelkast met de watertoevoer is verbonden of Niet. Indien de koelkast Niet is verbonden met de watertoevoer kunt u dit geluid stopzetten door de arm van de ijsmaker in de bovenste positie te plaatsen. De waterkraanverbinding van de ijsmaker bevindt zich achterin de koelkast,chyter de condensatorventilator.
Opmerking: De schuimisolatie is erg energiebesparend en heeft uitstekende isolatiecapaciteiten. Deze schuimisolatie is darüber nicht zo geluidsabsorberend als de voorheen gebruekte glaswolisolatie.

Voor u de reparatiedienst belt
| Probleem | Oplossing |
| De koelkast werkt nicht. | Zorg dat de regelaar van de vriesruimte aan is.Verzeker u ervan dat de koelkast op het stopcontact is aangesloten. Alsdat Niet het geval is, steek de stekker van het netsnoer dan stevig in eenwerkend stopcontact met de juiste spanning.Kijk de zekering na. Sluit een ander apparaat aan de hetzelfdestopcontact. Als het stopcontact Niet werkt, verrang de zekering dan ofstel het circuit opnieuw in.Indien de vries reglaar aan staat, de lampen werken maar de tweeventilators noch de compressor werken is de koelkast misschien in eenontdoocyclus. Wacht 40 minuten tot de koelkast opstart. |
| De koelkast werkt nogsteeds nicht. | Trek de stekker van de koelkast UIT het stopcontact. Plaats devoedingswaren in een andere koelkast of plaats droog ijis in hetvriesgedeelte om de voedingswaren te bewaren. Bel de reparatiednest. |
| De temperatuur van devoedingswaren lijkt te hoog. | Zie bovenstaande alinea's.Geef warme voedingswaren die u net heeft in de koelkast geplaatst de tijd om de koude temperatuur te bereiken. Het toevoegen vanlevensmiddelen maakt de koelkast warmer. Het kan eenpeer uur inbeslag nemen voordat de koelkast tot de normale temperatuurterugkeert.Kijk na of de afdichtingen goed zitten. De pakkingen要去en de kastgoed afluiten.Reinig de condensorspiralen. Zie de aanwijzingen in"Condensatorspiralen" in het gedeelte "Verzorging en reinigging".Stel de regelaar voor de koelkast en de vriesruimte af. Zie deaanwijzingen voor "Regalaars instellen" in het gedeelte "Regalaars".Het lampje van de vriesruimte of de koelkast blijft aan. Als het lampjaanblijft, dit verwijderen en de onderhoudsafdeling bellen.De retourluchtopeningenchter de groentelade+zijn geblokkeerdwaardoor de luchtstroom worden beperkt. Zoek de luchtopening op achefterde groenteladen en verwijder alle rommel die de openingen blokkeert ofde luchtstroming beperkt. |
| De temperatuur van devoedingswaren is te koud. | Reinig de condensorspiralen. Zie de aanwijzingen voor"Condensatorspiralen" in het gedeelte "Verzorging en reinigging".Stel de regelaar voor de koelruimte af. Zie de aanwijzingen voor"Regelaars instellen" in het gedeelte "Regelaars".Stel de vriesregelaar in op een warmere instelling. Zie de aanwijzingenvoor "Regelaars instellen" in het gedeelte "Regelaars".Geef de temperatuur eenpeer uur om zich aan te passen. |
| De koelkast draait te frequent. | • Dit kan normal aan jism om een constante temperatuur te behouden. • De deuren kunnen vaak zijn geopend, of voor een langereperiode. Wanner de deur wordt geopend, komt er warme, vochtige lucht in de koelkast. Hoe meer de deur geopend wordt, hoe更是 warmer lucht de koelkast moet afkoelen. • Geef warme voedingswaren die u net heeft in de koelkast geplaatst de tijid om de foude temperatuur te bereiken. Het kan een paar uur in beslag nemen voordat de koelkast waar aan de normale temperatuur terugkeert. • Reinig de condensorspoelen Zie de aanwijzingen voor “Controles instellen” in het gedeelte “Regelaars”. • Stel de vriesregelaar bij. Zie de aanwijzingen voor “Regelaars instellen” in het gedeelte “Regelaars”. • Kijk na of de afdichtingen goed zitten. De pakkingen要去 stevig gegen de kast aansluiten. • Het lampje in de vriesruimte blij aan. Als het lampje aanblijft, dit verwijderen en de reparatiednst bellen. • Zorg ervoor dat de koelkast waterpas is. Zie het gedeelte “De koelkast waterpas make” in de aanwijzingen voor de installmentie. |
| Er vormen zich waterdruppels op de binnenkant van de koelkast. | • Dit is normal indien de luchtvochtigheid hoog is of de koelkast vaak is geopend. • Pak de levensmiddelen stevig in en droog vochtige verpakkingen af voordat u ze in de koelkast zet om ophoping van vocht te vermiiden. |
| Er vormen zich waterdruppels op de buitenkant van de koelkast. | • Kijk na of de afdichting van de deur goed zit. De pakkingen要去 stevig gegen de kast aansluiten. • Dit is normal黄埔ienden perioden met hoge vochtigheid of als de deuren vaak geopend worden. |
| De koelkast heeft een geur. | • Zie de alinea “Geuren verwijderen” in het hoofdstuk “Onderhoud en reiniging”. |
| De koelkast maakt ongewone geluiden of veel lawaai. | • Dit kan normal aan jism. Zie alinea “Normale bedrijfsgeluiden”. |
| De ijsmaker producert geen ijs. | • Zie de alinea “Geuren verwijderen” in het hoofdstuk “Onderhoud en reiniging”. • De levensmiddelen zijn Niet goed ingepakt in hetzij de ruimte voor verse levensmiddelen of de vriesruimte. Pak de levensmiddelen opnieuw inaar geuren maar het ijs hunnen migreren als de levensmiddelen Niet goed ingepakt zijn. • Gooi het ijs weg en maak de ijsemmer of de laden vaker schoon. Ijsblokjes+zijn poreus en absorberen makkelijk geuren. • De watertoevoer bevat mineralen zoals zwavel. In sommige situatives要去 er wellicht een filter worden geinstalleerd om smaak- en geurproblemen te elimineren. |
| IJsblokjes kleven aan elkaar of krimpen. | • Maak de ijsemmer of de laden vaker leeg. Indien deze Niet dikwijls worden gebruikt hunnen ijsblokjes samenkleven of krimpen. |
Beperkte garantie voor eenaar
Beperkte garantie van vrij发展格局
EersteJAar
Amana geeft een gratis verrangend onderdeel, franco Amana, Iowa, U.S.A. voor alle onderdelen die defect zichn wegensvakmanschap of materialen.
Tweede t/m vrijfdeaar
Amana geeft een gratis verrangend onderdeel, franco Amana, Iowa, U.S.A. voor een compressor die defect is wegens vakmanschap of materialen.
Garantiebeperkingen
- Begint op de datum van oorspronkelijke aankoop.
- Onderhoud moet worden uitgevoerd door een bevoegde Amana-technicus.
De garantie is ongeldig indien
- Het serienummerplaatje onleesbaar is gemaakt.
- Het product op commerciele, huur- of leasebasis worden gezruikt.
- Het product een defect heeft of beschadigd is wegens een ongeval, verandering, aansluiting op een verkeerde elektrische leiding, brand, overstroming, bliksem, verzending en behandeling of een andere omstandigheid die buiten het beheer van Amana valt.
- Het product verkeerd geinstalleerd of gebruikt is.
Verantwoordelijkheden van de eigenaar
Bewijs van aankoop (kassabon) voorzien.
- Normale verzorging en onderhoud leveren. Door de eigenaar verrangbare onderdelen verrangen waar de aanwijzingen in de Handleiding dit aangeven.
- Het product redelijk toegankelijk makes voor onderhoud.
- Extra onderhoudskosten betalen voor onderhoud buiten de normale werkuren van de technicus.
- Betalen voor onderhoudsbezoeken die verband honden met de installmentie of het gebruik van het product.
In geen geval is Amana aansprakelijk voor incidentele of gevolgschade, inclusief het verlies van levensmiddelen\*.
Neem voor eventuele vragen met betrekking tot het bovenstaande of om een bevoegde onderhoudsinstantie te vinden contact op met de leverancier van de koelkast of met:
SimpelGids