BX 518 VW VE - Køleskab AMANA - Gratis brugsanvisning og manual
Find enhedens vejledning gratis BX 518 VW VE AMANA i PDF-format.
Download vejledningen til din Køleskab i PDF-format gratis! Find din vejledning BX 518 VW VE - AMANA og tag din elektroniske enhed tilbage i hånden. På denne side er alle dokumenter nødvendige for brugen af din enhed offentliggjort. BX 518 VW VE af mærket AMANA.
BRUGSANVISNING BX 518 VW VE AMANA
International brugsanvising for koleskab med bundfryser
Indhold
Elektricitetskray. 15
Modelidentificering 15
Korrekt afskaffelse af et koleskab 15
Installeringsanvisninger 15
Afkrydsningsliste for installing 19
Kontrolfunktioner for koleskab og fryser 20
Indstilling af kontrolfunktionerne. 20
Koleskabsfungtionaler 20
Koleskabshylder 20
Garden FreshTM gronsagsskuffer 21
Opbevaringsstativ (visse modeller) 21
Opbevaringsboks med lag (visse modeller) 21
Mejericenter (visse modeller) 21
Dorbeholderene 21
Holder til haje pakker (visse modeller) 22
Dorhylder 22
Indstillelig opdeler (visse modeller) 22
Flasheholder (visse modeller) 22
Fryserens functorer 22
Isfrit system 22
Isservicestativ (visse modeller) 22
Udglidningshylde (visse modeller) 22
Lodret hyldeopdeler (visse modeller) 23
Stationer tradhylde (visse modeller) 23
Trådkurv 23
Isbeholder (visse modeller) 23
Pleje og rengoring 23
Generel rengoring 23
Bortskaffelse af lugt 24
Klaebemidler 24
Dorpakninger 24
Kondensatorspiraler 24
Glashylder 24
Udskiftning af elektriske pærer 24
Godeferierad. 25
Gode rad angaende energia. 25
Normale driftslyde 26
Oversættelse kan nogle gange forarsage variationer i受到影响。I tilfælde af at受到影响 varierer, er den mest nojagtige受到影响 den engelske udgave af dette dokument.

Anerkend dette tegn som en sikkerhedsadvarsel.
Elektricitetskray
Koleskabet er konstrueret til at kore med separat 230 volt, 50 hz, 10 A kredslab.
Modelidentificering
Produktinformationen findes på seriepladen. Skriv følgende oplysninger ned:
Modelnummer:
Fabrikingsnummer:
Serie-eller S/N-nummer:
Kobsdata:
Behold kvitteringen til senere brug.

FARE
Korrekt afskaffelse af et koleskab
VIGTIG: Det er ikke et problem, der hører fortiden til, at børn bliver lukket inde i køleskabe og bliver kvalt.
Kassere de aller forladte koleskabe er stadigvark farlige - Selv nare de bare kommer til at stä i et par dage". Hvis koleskabet skal kasseres, vær venlig at folge nedenstænde anvisninger, der hjælper til med at undgå ulykker.
INDEN GAMLE KOLESKABE ELLER
FRYSEBOKSE KASSERES:
- Tag dorene af.
Lad hylderne blive siddende, saledes at born\ ikke sa let kan kravle ind i koleskabet.

Installeringsanvisninger
Indledning
En autoriseret el-montor skal tilslutte koleskabet ifolge disse installeringsanvisninger.
Mål dørabningen og koleskabets dybde og bredde. Tag handtag og dre af, hvis det bliver nadvendigt. Montøren skal ffolge bestemmelserne angaende tilslutning fra det lokale vandværk og elektricitetsværk.
Service aller udskifting na stromkablet skal udfores af en autoriseret servicetekniker.
Korrekt installering vil sikre at dette koleskab fungerer mest effektivt. Amana-apparater kan/DDke holds ansvarlige for ukorrekt installering.
Installeringskrav
- Installer koleskabet i en stikkontakt med jordforbindelse og med separat 230 volt, 50 hz, 10 A kredslob.
- Beskyt blode gulvmaterialer med pap ell taepper.
- Skal installeres pa et gulv, der kan bae op til 429kg
- Sorg for, at der er 25 mm afstand over koleskabets top og 5 mm pa hver side af koleskabet.
BEMÄRK: Installer erkke koleskabet tæt ved en oven, radiator erller anden varmekilde. Installer erkke koleskabet pa et sted hvor temperaturen falder til under 13^
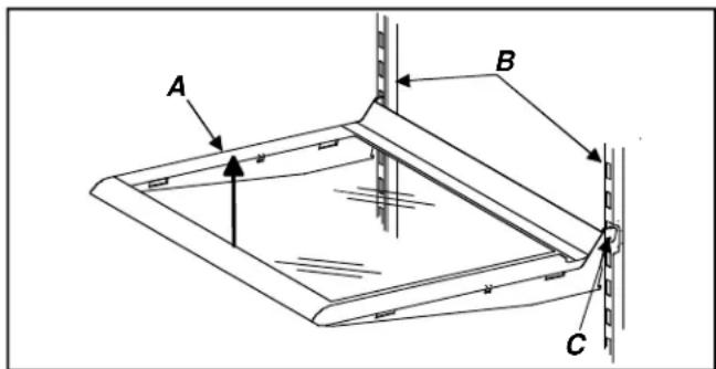
1. Sādan fjernes traübunden

FORSIGTIG
- Der skal to personer til at fjerne traebunden for at undgå person- eller ejendomsskade.
-
For at undgå maskinelle fejl, på koleskabet ikke blive stænde på sider ængere end nødvendigt for at fjerne boltene.
-
Sæt tape på de øverste hjørde og venstre hjørner for at undgå at dorene abner sig uventet.
- Skub en dolly under koleskabets side modsat haengslerne.
- Vikl et tæppe eller et underlag om koleskabet. Vikl stroppen rundt om koleskabet. Anbring skumpuderne, der ligger i forsendelseskartonet, under stroppen. Stram stroppen, sa den sidder godt fast. Overstram ikke stroppen.
- Sænk dollyen til gulvet vha. handtagene nederst på dollyen.
- Fjern de to overste bolte fra stotten.
- Stil koleskabet og dollyen op igen. Tag stroppen af.
- Skub dollyen under den modsatte side af koleskabet.
- Gentag trin 3-5.
- Fjern traebunden.
- Sæt koleskabet og dollyen op i lodret stilling igen. Flyt koleskabet hen til dets endelige placering og fjern dollyen.
2. Fjern og vend dorene om nodvendigt.
Nogle installereringer gør det nødvendigt at vende doren for at fæ en optimal dørsvingning. For at vende om pa dorens svingningsretning, skal følgende trin følges:
Nødvendigt værktj
Passende skruenogler og topnogler
Stjerneskruetrækker
Alminderig skruetrækker
Afdækningtape
VIGTIGT: I tilfælde af at tapper skal fjernes med en almindelig flad skruetraækker erler kitspartel, skal værktøjets blad dækkes med afdækningstape for at undgå beskadigelse af koleskabets finish. For tapper hvor der skal bruges en stjerneskruetraækker erler et drivhoved til møtrikker, skal det rette stykke værktøj bruges, sa beskadigelse af tapperne undgas.
-
Sādan fjernes koleskabets handtag.
-
Tag handtagets skruer (C) af det overste handtags udstyr (A). Lirk handtagets udstyr (A) op med den almindelige skruetrækker, his blad er daekket med afdaekningtape. Fjern handtaget (B) fra doren ved at udtage den resterende monteringsskrue (C) ved haver af handtagets ender.
Fjern 1 tap fra det overste hagensel og 2 fra for-haenslet i dorrens hagenselsside (D).Saat 3 tapper i de tome monteringshuller i den modsatte side af dorren ved hjaelp af monteringsskruerne (C).


-
Fjern fryserens dorhandtag.
-
Abn fryserens dør 90^ . Find to hakker bag pa fryserens handtag (A). Indsæt den almindelige skruetraekkers blad der er omviklet med afdækningstape. Lirk den bagerste kant af handtagets hætte (B) og fjern den fra handtaget.
- Tag handtaget (A) af øren ved at fjerne de to monteringsskruer (C).
Fjern de 2 tapper (D) fra den modsatte side af fryserens dor og saet dem i de tome monteringshuller.

- Fjern det overste hängelsdaksel. Det overste hängelsdaksel springer af. Fjern 5 / 16 skruerne (A) for at lsgore tophangslet (B) og hangslets mellelmaegsplade (C) med en sekskantet topnagle. Fjern og gem alle mellelmaegsplader (C & D).
- Tag koleskabets dor af ved at lofte doren af den midterste haengselspind (F) og sekskantmotrik (E). Undersog doren for at kontrollere at alle mellelmaegsplader (D) ligger ved haengselspinden.
- Fjern den midterste haengelspind (F) med den seskanteede topnagle.Da pinden sidder godt fast, kan det vare ndvendigt med et fast tryk.Fjern og gem alle mellemlagsplader (D)
- Tag fryserens dor af ved at Iofte doren af det nederste haengsel (K).
- Tag den midterste hängelselstotte (G) af og mellemlagsplade (H) med stjerneskruetrækkeren.
-
Fjern fodristen og det nederste hængselsdæksel. Begge springer af.
-
Fjern den nederste hangselspind (J) , nederste hangsels (K) og hangslets mellelmaegsplade (L) med den sekskanteede topnagle. Fjern og gem mellemlaegspladerne (D).

- Vend dṛstoppene.
Find dorstoppet (B) ved den nederste kant pa koleskabets dor (A). Skru de to skruer af for at fjerne dorstoppet. Tag de to skruer af pa drens modsatte side. Monter dorstoppet pa den modsatte side. Saet de resterende skruer i de tome monteringshuller.
Gentag ovenstaende vejledning for at vende dorstroppet pa fryserens dor.

- Vend dorene ved at udfore folgende trin:
- Tag tapper og skruer af i den modsatte side af koleskabet. Indsæt dem i de huller der er tilbagenar hængslet er fjernet.
- Montér de nederste, midterste og overste haengsler med mellemlægspladerne på koleskabets modsatte side.
-
Sæt det nederste hængsel pa den modsatte side af koleskabet. Se after at haengslernes mellemlægsplader er pa plads for de skrues i. Nár hængselspinden er sat i det yderste hul, skal de runde mellemlægsplader sættes i. Nogle af de nederste hængsler kan have tapper i hullerne. I tilfelde heraf fjernes tapperne fra hullets yderside, saet herefter pinden i hullet og sæt tappen i det tomme hul.
-
Sæt tophaengslerne og mellemlaegspladerne i, men lad der vare nok mellemrum til at koleskabsdorens haengselsside kan glide pa plads. Stram det overste haengsel godt til, sa doren sidder ordentligt fast.
Anbring dorene 11 / 16 (18 mm) fra skabet.
Den side af doren hvor handtaget sidder skal vare ca. ^1/_8 (3 mm) hojere end den side af doren hvor haengslet sidder. Doren bliver lige nár den er fyldt med mad.

- Montér koleskabets handtag à dorens modsatte side med de monteringsskruer der blev fjernet i et tidigere trin.
- Sæt handtagets udstyr på plads og sæt skruen i ingen.
- Monter fryserens handtag til dorens modsatte side med de monteringsskruer, der blev fjernet i et tidiligere trin.
- Lad forkanten af handtagets hætte skrø nedad mod fryserhandtagets bagkant. Sørg for at den nederste tap på fryserens låg glider under den bagerste kant på fryserhandtaget. Sæt bagkanten på handtagets hætte på plads.
- Undersog om enheden star tilstrækkeligt plant ifolgevejledningen i punkt 5.
- Sæt fodristen og det nederste hængselsdæksel. Vigtigt: Kik after en pil der er trykt på ristens inderside for at sikre at den bliver sat ordentlich i.
- Sæt den øverste del pa plads forst. Pres ned pa ristens nederste del, indtil den nederste del griber fast.

3. Flyt koleskabet til dets endelige placering.

4. Strømforsyningskabel.
- Strömforsyningskablet ma kun serviceres af en autoriseret servicetekniker. Der kræves specielt værktøj til servicering af udstyret. Kontakt de naermeste autoricere de servicekontor for undersøgelse, reparation eller tilpasning.
5. Nivellér koleskabet.
a. Drej rullenivelleringsskruen (A) til hajre for at lofte koleskabet og til venstre for at sænke koleskabet.
b. Indstil stabiliseringsfoden (B) , sa den stotter koleskabet solidt mod gulvet.

FORSIGTIG
Stabiliseringsfoden skal stå solidt på gulvet säledes at køleskabet ikke kan vælte og forårsage persönskade eller beskadige ejendom.

Denne afkrydsningsliste er udelukkende til personligt brug.
Kunde Installerator
Dore
□
Den side af doren hvor handtaget sidder er 3 mm hjere end siden med haengslet. (Doren saenkes nar koleskabet er fyldt med mad.)
□
Dorene er fuldstændigt hermetisk sluttet til koleskabskabinett.
Nivellering
□
Stabiliseringsfoden er mod gulvet.
□
Fodristen sidder rigtigt fast pa koleskabet.
□
Produktlitteratur
Brugsanvisningen er gennemgået, inklusiv følgende oplysninger:
- kontrolfunktioner for koleskab og fryseboks
fugtighedsstyret gronsagsskuffe - temperaturstyret skuffe
normale driftslyde
Notater
Forbrugerens underskrift
Koleskabet er beregnet til at fungere ved normal indendorstemperatur mellem 13^ og 43^ .
Kontrolfunktioner for koleskab og fryser
Kontrolfunktionen for koleskabet sidder pa overste bagvag i koleskabssekctionen.

Fryseboksens kontrolfunktion sidder på højre frontloft i frysersekctionen.

Indstilling af kontrolfunktionerne
Nár frysebokskontrolfunktionen stär på vil haverken koleskabs-ller frysebokssekctionen kole ned. Til at begynde med indstilles begge kontrlfunktioner pa 4.Vent 24 timer for at koleskabs- og frysebokssekctionen kan na de onskedete temperaturer. Efter 24 timer indstilles kontrolfunktionerne, et tal ad gangen som onsket. Et er den varmeste indstilling og syv er den koldeste.
Indstil kontrolfunktionerne nogagtigt ved hjælp af et almindeligt husholdningstermometer, der omfatter temperaturer mellem -21° og 10°C.
Saat termometreet teet ind mellem frosne pakker i fryseboksen. Vent 5-8 timer. Hvis temperaturen i fryseboksen ikke er -17^ til -16^ reguleres kontrolfunktionen for fryseboksen et tal ad gangen. Kontrollerigenfter 5-8 timer.
Saat termometreet i et glas vand口中 i koleskabssekctionen. Vent 5-8 timer. Hvis koleskabstemperaturen-ieke er 3^ til 4^ reguleres kontrolfunktionen for koleskabet et tal ad gangen. Kontrollerigen after 5-8 timer.
Koleskabsfunktioner
Koleskabshylder
Hylderne kan afpasses, sa de passer til individuelle opbevaringsbehov. Nogle modeller har SpillsaverTM (spilderednings) hylder og Easy GlideTM (glide-let) hylder. SpillsaverTM hylderne begraenser smaspild, sa det er lettere at tøre op.

FORSIGTIG
Sorg for at hylderne sidder ordentlich fast for der saettes noget pa dem, saledes at beskadigelse undgas.

FORSIGTIG
Handter hærdede glashylder forsigtigt for at undgá person- ell er ejendomsskade. Hylderne kan pludseligt gä i stykker, hvis der slas skar dem, eller hvis de bliver ridsede ell er udsat for pludselig temperaturaendring.
- Tag hylderne (A) ud ved at løfte den forreste kant og lysne krogene (C) fra metalskinnen (B) og trække dem ud.
- Sæt hylderne på pladsigen ved at sætte krogene (C) i metalskinnen (B) og sænke hyldens forreste kant.

Easy Glide™ (glide-let) hylderne kan trækkes ud, sa det er let at ná ting bagved.

Garden Fresh™ grønsagsskuffer
Garden Fresh™ grønsagsskuffer holder grønsagerne friske i længere tid. Pak grønsagerne stramt ind. Grønsagerne ma ikke vaskes, inden de anbringes i grønsagsskufferne. Med for megen fugtighed kan man risikere at grønsagerne rådner for tiden. Grønsagsskufferne ma ikke fores med køkkenrulle. Køkkenrulle holder på fugtigheden.
Kontrolfunktionerne (D) til Garden FreshTM gronsagskufterne sidder under den forreste pynteliste pa hylden. Kontrolfunktionen regulerer fugtigheden i gronsagsskufterne. Skub kontrollen hen pa hoj for gronsager med blade, som f.eks. salat, spinat erler kal. Skub kontrollen hen pa lav for gronsager med skind, f.eks. blomkal, majs eller tomater.
For at rengore ull opbevar gronsagsskufferne, fjernes hylden og gronsaggsskufferne ved at folge folgende trin:
-
Abn den venstre gronsagsskiffe.
-
For dare der sidder pa den venstre side, skal den højre grønssagsskuffe abnes.

FORSIGTIG
Handter hærdede glashylder forsigtigt for at undgape person- ell er ejendomsskade. Hyderne kan pludseligt g i stykker, his der slas skar dem, ell her vis de bliver ridsede ell udsat for pludselig temperaturaendring.
- Tag glashylden (A) over gronsagsskuffen ud ved at skubbe lidt nedefra. Vip den ene ende op og træk den ud.
- Tag den venstre grønssagsskuffe ud ved at lofte hyldens forreste del, mens undersiden stottes, og dernaest trækkes den ud. Hvad angar koleskabsdore der sidder pa den venstre side, udtages den højre grønssagsskuffe.
- Udtag den,anden gronsssagsskuffe som forklaret i trin 3.Hvis daren begrænser muligheden for at udtage skuffen,kal skuffen udtagesammen med gronsagsskuffens ramme som i trin 5.
- Udtag gronsssagsskuffens ramme (B) ved at lofte rammen ved den forreste plastikstobning (C) og lofte den fri for rillerne i koleskabets skinnesamling. Hiv fremad og ud af enheden.
- Sæt grønsagsskufferne og hylden i igen ved at udføre trin 2-5 i modsat rækkefolge.

Opbevaringsstativ (visse modeller)
Opbevaringsstativet er en praktisk opbevaringmetode til en stor flaske, æg osv.
Haeng stativet op ved at hægte det fast på sider af hylden.

Opbevaringsboks med lag (visse modeller)
Opbevaringsboksen har et lag og en aftagelig bakke til aeg. Nár bakken tages ud, kan boksen gemme en almindelig aeggebakke, is osv.

Mejericenter (visse modeller)
Mejericentret giver practisk opbevaring af smor, ost osv.
- Tag mejericentret af ved at lofte doren (A), og skubbe tapperne (B) pa hylden ned i begge sider, og hive det ud.
- Sæt mejericentret på plads igen ved at lade det glide indtil tapperne (B) lases på plads, og sænk derefter døren (A).

Dorbeholder
Dorbeholderne kan afpasses, sa de passer til individuelle opbevaringsbehov.
- Utag dorbeholderne ved at skubbe tapperne (A) på begge sider af hylderne mod midten og hive beholderen ud.
Saat dorbeholderne pa plads igen ved at lade dem glide indtil tapperne (A) lases pa plads.

Holder til hje pakker (visse modeller)
- Tag dorhylderne ud ved at løfte enderne og trække dem ud.
- Dörhylderne sættes på plads igen ved at placere hylderne på skinner (A) og lade dem glide på plads.

Indstillelig opdeler (visse modeller)
Den indstellige opdeler holder tingene pa plads og kan indstilles sa den passer til individuelle opbevaringsbehov. Opdeleren passer til enhver dorbeholder erler dorhylde.

Flaskeholder (visse modeller)
Flaskeholderen holder tingene på plads og kan indstilles sa den passer til individuelle opbevaringsbehov.
Flaskeholderen passer til enhver dorbeholder aller dorhylde.

Fryserens Funktioner
Isprit system
Koleskab og frysebokssektionerne er helt fri for is.
Afrimning er automatisk under normale forhold. Koleskab og frysebokssektionerne behover aldrig at blive afrimet.
Isservicestativ (visse modeller)
Udglidningshylden kan hives fremad sa der let er adgang til ting bagved.
- Tag udglidningshylden ud ved at lade den glide fremad, indtil kuglepunktet (B) under den midterste skinne (A) fär fat i stöbningsrillen.
- Hold hylden ved den milderste kinne (A), hiv op og tag den ud.
- Lad den glide ind indtil kuglepunktet (B) falder ned i stobningsrillen.

Lodret hyldeopdeler (visse modeller)
Indsæt den lodrette hyldeopdeler ved at folge folgende trin:
- Lad hyldeopdelerens grene glide under det onskedete ristværk, en smule væk fra midten af den miderste skinne.
- Tryk den overste del af opdeleren ned og lad hengelsssamlingen glide ned under den midterste kinne.

Stationær tradhylde (visse modeller)
- Tag tradhylden ud ved at hive den ud. Et HARD ryk kan vare ndvendigt.
- Sæt tradhylden i gen ved at lade den glide ind, indtil bagsiden lases pa plads.

Trådkurv
- Tag tradkurven ud ved at løfte den og hive den ud.
- Sæt trådkurven ind igen ved at lade den glide ind.

Isbeholder (visse modeller)
Isbeholderen (A) sidder under isservicestativet pa tradhylden i fryseren.

Pleje og rengøring

ADVARSEL
Afbryd strommen til koleskabet inden rengoring for at undga elektrisk stod, som kan forarsage alvorlige personskader erler ddd. Efter rengoringen tilsluttes strommenigen.

FORSIGTIG
Læs og følg alle fabrikantens brugsanvisninger for at undgå persorskade eller ejendomsskade.
Generel rengoring
- Vask overfladerne og uten pa med 60 ml tvekulsurt natron oplost i 1 liter varmt vand og brug en blod, ren klud til at rengore overfladerne.
- Skyl overfladerne og det ydre med varmt vand. Tør overfladerne med en blod, ren klud.
-
Folgende genstande M'IKKE ANVENDES:
-
sibende aller skrappe rengøringsmidler, salmiak, blegvand med klor osv.
- koncentrerede opvaskemidler aller solventer
- skurepuder af metal
Disse genstande kan ridse, lave revner i og misfarve overfladerne.
- Sæt ikke beholderne, hylderne osv. i opvaskemaskinen.
Bortskaffelse af lugt
- Tag al maden ud, og afbryd strømmen til koleskabet.
- Gør alle de indvendige overflader rene deri inkluderet loftet, gulvet og væggene ifolge den generelle ren:gingsvejledning herover. Vær især opmærksom pa hjørner, sprekker og riller. Inklud er alle skuffer, hylder og dorpakninger.
- Tænd for strømmen til koleskabet, og saet maden i koleskabet igen. Vask og tør alle beholdere. Pak maden godt ned i hermetisk lukkede beholdere for at undgå yderligere lugt. Efter 24 timer kontrolleres det, om lugten er elimineret.
Gennemfor trin 4-10, hvis lugten ikke er elimineret.
- Tag al maden ud, og afbryd strømmen til koleskabet.
- Gør alle de indvendige overflader rene deri inkluderet loftet, gulvet og væggene ifolge den generelle ren:gingsvejledning herover. Vær især opmærksom pa hjørner, sprekker og riller. Inklud er alle skuffer, hylder og dorpakninger.
- Anbring gronsagsskufferne pa overste hylde i koleskabssekctionen. Pak koleskabs- og frysebokssektionerne, ogsa dorene, med sammenkralle de avissider.
- Put trækulsbriketter tilfaeldigt ind mullem avispapiret.
- Luk drene og lad koleskabet sta i 24-48 timer.
- Fjern traekulsbriketterne og aviserne.
- Tænd for strømmen til koleskabet, og saet maden i koleskabet igen. Vask og tør alle beholderere. Pak maden godt ned i hermetisk lukkede beholderere for at undgå yderligere lugt. Efter 24 timer kontrolleres det, om lugten er elimineret.
Klaebemidler
- Fjern klæbemiddelrester fra koleskabets overflader ved at gnide tandpasta ind i resterne med fingrene, indtil klæbemidlet lnsnes.
- Skyl overfladen med varmt vand. Tør overfladen med en blod, ren klud.
Dorpakninger
- Gør pakningerne rene haver 3. maned ifolgeden generelle rengoringsvejledning herover.
- Smør et tyndt lag vaselin pa haengselssiden af dorpakningerne for at holde pakningerne smidige.
Kondensatorspiraler
Gör kondensatorspiralen bag ved fodristen ren haver 3.
måned for at sikre maksimal ydelse af koleskabet.
Stov og lommeuld, der samler sig, kan forarsage fologende:
- mindsket afkølningseffekt
- oget stromforbrug
-
tidligt svigt af reservationelene
-
Fjern fodristen ved at龄 fat i begge ender og trække den vek fra koleskabet.
- Rens forsiden af kondensatorspiralen med en stovsugerdyse.
- Sæt fodristen på plads igen ved at sætte klipsene ind i hullerne og trykke risten ind.
- Loft stabiliseringsfodderne (visse modeller) ved at dreje fodderne til venstre.

FORSIGTIG
Beskyt blodt linoleum aller andre gulvoverflader med pap, tæpper aller andet beskyttende materiale for at undgå ejendomsskade.
- Træk koleskabet ud fra væggen. Kør støvsugerbørsten hen over risten på bagsiden af koleskabet.
Glashylder

FORSIGTIG
Handter hærdede glashylder forsigtigt for at undgø person-ller ejendomsskade. Hylderne kan pludseligt gä i stykker, his der slas skar dem, eller his de bliver ridsdete aller udsat for pludselig temperaturændring.
Tag glashylderne ud ved at lofte forkanten, udlose krogene fra metalskinnen og trakke dem ud. Hylden anbringes pa et handklade. Lad hylden tilpasse sig stuetemperaturen, inden den gores ren.
Gor rilleme rene ved at gennemfore folgende trin:
- Fortynd mildt opvaskemiddel og pensl oplosningen ind i rillerne vha. en børste med plasticborster. Lad det sta i blod i 5 minutter.
- Sprøjt varmt vand ind i rillerne med en spray-anordning på vandhanen.
- Tør hylden omhyggeligt og sæt den på plads ved at sætte krogene i metalskinnen og sænke den forfra.
Udskifting af elektriske paerer

ADVARSEL
Afbryd strømmen til koleskabet inden elektriske paerer udskiftes, for at undgå elektrisk stød, som kan forårsage alvorlig personskade eller død. Efter paeren er sat i, tilsluttes strømmen.

FORSIGTIG
Overhold falgende for at undgå personskade aller ejendomsskade:
Lad pærén kole af.
- Tag handsker på, mens paeren udskiftes.
Lys til koleskabssektionen
- Tag paeredaekslet (B) af ved at fjerne de 1/4 seskanteede skruer (A). Udskift paeren med en paere med hoject 25 watt.
- Sæt paeredaekslet (B) pá plads ved at sætte de 1/4" seskantepe skruer (A) pá plads.

Lys til fryseren
- Tag paeredaekslet (B) af ved at fjerne de 1/4 seskantede skruer (A). Udskift paeren med en paere med højest 25 watt.
- Sæt paeredaekslet (B) på plads ved at sætte de 14 seskantede skruer (A) på plads.

Gode ferieråd
Hvis det drejer sig om en kort ferie, gør følgende.
- Fjern madvarer, som kan fordereves.
- Hvis der er en ismaskine, skal handtaget drejes op, dvs. hen pa off-stillingen (slukket). Se afsnittet "Automatisch ismaskine" pa side 27).
Hvis det drejer sig om en lang ferie, gør følgende.
- Tøm køleskabs- og frysebokssektionerne for mad.
- Træk koleskabskablet ud af stikket.
- Gør koleskabet og dorpakningerne rene iflg. anvisningerne i den generelle rengringsvejledning i afsnittet om "Pleje og renngering".
- Sæt noget i klemme, sa dorene bliver stænde abne, og luften kan cirkulere inde i koleskabet.
- Drej om for vendet til koleskabet, hvis der er installereret ismaskine, og drej ismaskinehandtaget op, dvs. hen pa "off" (slukket). (Se afsnittet "Automatisk ismaskine" pa side 27).
Gode rãd angëende energia
Dette koleskab er konstruert til at vaere et af de mest effektive lavenergikoleskabe i handlen. Energiforbruget reduceres ved at overholde folgende:
- Betjen ved normal stuetemperaturer mellem 13^ og 43^ , væk fra varmekilder og direkte sol.
- Temperature for koleskabet, fryseboksen og den temperaturstyrede kodskiffe ma ikke indstilles koldere end nodvendigt.
Sorg for at frysebokssekctionen er fuld. - Hold dorpakningerne rene og smidige. Udskift pakningerne, när de er slidte.
- Hold kondensatorspiralerne rene.
Normale driftslyde
Dette nye koleskab erstatter muligvis et anderledes konstrueret, minde effektiv aller mindre koleskab. Nutidens koleskabe har nye functiorer og bruger lavenergi. Som folge deraf kan visse lyde vareukendte. Disse lyde er normale og vil snart blive bekendte for dig. Lydene kan i ovrigt ogsa indikere, at koleskabet fungerer og virker, som det skal, iflg.dets konstruktion.
- Frysebokskontrollen klikker, nár den starter eller stopper kompressoren.
- Fryseboksblæserens luft bruser og summer.
- I det forseglede system (evaporator og varmeveksler) gurgler og svupper kolevæsken, aller den lyder som kogende vand.
- Afrinningsvarmeapparatet syder, hvaeser ellersvupper.
- Afrimningsuret lyder som et elektrisk ur og klikker ind og ud af afrimningscyklusen.
- Kondensatorblaeserens luft bruser og summer.
- Kompressoren afgiver en skinger brummen aller pulserende lyd, somkommen og gär.
- Isterninger fra ismaskinen (visse modeller) falder ned i isbeholderen.
- Ismaskinens vandventiltilslutning (visse modeller) -配套设施 -İkke vist her -brummer, när ismaskinen fylder op med vand. Dette sker, hvad enten koleskabet er tilssluttet vandforsyningen aller ej. Hvis koleskabet..., ... -Hvskovskabet..., ... -Hvskovskabet..., ... -Hvskovskabet..., ... -Hvskovskabet... ... -Hvskovskabet... ... -Hvskovskabet... ... -Hvskovskabet... ... -Hvskovskabet... ... -Hvskovskabet... ... -Hvskovskabet... ... -Hvskovskabet... ... -Hvskovskabet... ... -Hvskovskabet... ... -Hvskovskabet... ... -Hvskovskabet... . ... -Hvskovskabet... ... -Hvskovskabet... ... -Hvskovskabet... ... -Hvskovskabet... ... -Hvskovskabet... ... -Hvskovskabet... ... -Hvskovskabet... ... -Hvskovskabet... ... -Hvskovskabet... ... -Hvskovskabet... ... -Hvskovskabet... ..
Bemark: Skumisoleringsmaterialie er et lavenergmaterialie og har udmærkede isoleringsevner. Dog er skumisoleringsmaterialie ikke sa lydabsorberende som det tidigere anvendte isoleringsmaterialie af fiberglas.

| Problem | Løsning |
| Køleskabet fungerer ikke. | · Kontrollér at der er tændt for knappen til fryseboksen. · Kontrollér at køleskabets elektriske kabel er tilsluttet. Hvis ikke, skal ledningen sættesHLT ind i en strømførende stikkontakt med passende spænding. · Kontrollér sikringen eller strømafryderyen. Sæt et andet elektrisk apparat til i samme stikkkontakt. Hvis stikkkontakten ikke fungerer, skal sikringen udskiftesell er strømmen skal sættes Tilbage. · Hvis der er tændt for frysebokskontrollen, og lyset virker, men 2 blæsere og kompressoren ikke fungerer, er det muligt, at køleskabet er i afrimningscyklus. Vent 40 minutter for at se, om køleskabet starter af sig selv igen. |
| Køleskabet vil stadigvæk ikke fungere. | · Træk køleskabskabet ud af kontakten. Flyt madvarne over i et andet køleskab, eller læg töris i frysebokssekctionen for at holde maden frisk. Ring after service. |
| Madvarerne forekommer for varme. | · Se ovennstænde afsnit. · Sørg for tilstrækkelig tid til, at nyligt indlagte varme madvarer kan på køleskabs- eller frysebokstemperaturen. Tilføjning af mad gør køleskabet varmt. Det kan tage køleskabet nogle få timer at vende tilbage til detsnormale temperatur. · Kontrollér at pakningerne er tætte. Pakningerne bør klæbe tæt til køleskabet. · Gør kondensatorspiralerne rene. Se vejledningen i "Kondensatorspiraler" i afsnittet "Pleje og rengøring". · Regulér kontrolknappen for køleskabet og fryseboksen. Se "Indstilling af kontrolfungtionerne" i afsnittet "Kontrolfunktioner". · Lyset til fryseboksen erller køleskabet forbliver tændt. Hvis lyset bliver ved med at ∀re tændt, tages pærud og der skal ringsesfter service. · Returluftafløbene bag ved grønsagsskuffen er blokerede, hvilket begrænser lufttilstrømmen. Find returluftafløbene bag ved grønsagsskufferne og fjern alle tilstopninger som blokerer afløbene eller begrænser luftstrømmen. |
| Madvaratemperaturen er for kold. | · Gør kondensatorspiralerne rene. Se vejledningen i "Kondensatorspiraler" i afsnittet "Pleje og rengøring". · Regulér kontrolknappen for køleskabet. Se vejledningen i "Indstilling af kontrolfungtionerne" i afsnittet "Kontrolfunktioner". · Regulér frysebokskontrollen til en varmere indstilling. Se vejledningen i "Indstilling af kontrolfungtionerne" i afsnittet "Kontrolfunktioner". Det kan godtAGE flere timerfor temperaturen reguleres. |
| Køleskabet kører for ofte. | Dette kan vare normal for at vedligeholde en konstant temperatur.Dørene har muligvis varet abnet for tit eller i længere tid ad gangen. Nårdøren Åbnes kommt der varm fugttig luft ind i køleskabet. Jo mere døren Åbnes jo mere varm luft skal køleskabet nedkøle.Giv varme madvarer der er lagt ind fornyligt, tid til at nækøleskabs-ller frysebokstempoiren. Det kan tage et par timer før køleskabet vender tilbage til det's normale temperatur.Gør kondensatorspiralerne rene. Se vejledningen i "Kondensatorspiraler" i afsnittet "Pleje og rengøring".Regulér frysebokskontrollen. Se vejledningen i "Indstilling afkontrolfunktionerne" i afsnittet "Kontrolfunktioner".Kontrller pakningerne for at vare sikker på, at de slutter tæt. Pakningerne bør klæbe tæt til køleskabet.Lyset til fryseboksøn forbliver tændt. Hvis lyset bliver ved med at vare tændt, tages øreten ud og der skal ringses after service.Sorg for at køleskabet stær plant. Se afsnittet "Nivellér køleskabet" i installeringsanvisingerne. |
| Der dannes vandråber på andersiden af køleskabet. | Dette er normal i perioder med megen fugttighed, eller hvis dørene er blevet abnet ofte.Pak maden stramt ind og tør fugttige beholdere af før de gemmes i køleskabet for at undgå ophobning af fugttighed. |
| Der dannes vandråber uden på køleskabet. | Kontrolér at dorpakningerne slutter tæt. Pakninger bør slutte tæt til køleskabet.Dette er normal i perioder med megen fugttighed, eller hvis dørene er blevet abnet ofte. |
| Køleskabet lugter. | Se anvisingerne under "Bortskaffelse af lugt" i "Pleje og rengøring"sektionen. |
| Køleskabet laver uvante lyde eller forekommer for støjende. | Det kan vare normal. Se afsnittet "Normale driftslyde". |
| Isterningerne lugter. | Se anvisingerne under "Bortskaffelse af lugt" i afsnittet om "Pleje og rengøring".Noget mad i enten køleskabet eller fryseboksøn er ikke blevet pakket stramtind. Ompak maden, da lugten kan fores til isen, hvis maden ikke er pakketordentligt ind.Kassér—isen og rengør isbeholderen erller bakkerne oftere. Isterninger ersporse og har let vind at absorbere lugt.Vandtilførsel indeholder mineraler sasom sulfur. I nogle situationer derdetnødvendigt at montere et filter for at bortskaffe smags- og lugtproblemer. |
| Isterningerne hængerSAMmen eller "skrumper". | Tøm isterningbeholderen erller bakkerne oftere. Hvis de kun bruges sjældent, risikerer isterningerne at hænge sammen eller skrumpe. |
Begrænset et ársproduktgarganti
Amana leverer en gratis reservedel fob Amana, Iowa, USA for enhver del som er defekt som folge af dets udforelse aller materialer.
Andet til femte ar
Amana leverer en gratis reservedel fob Amana, Iowa, USA for enhver kompressor som er defekt som folge af udforelse eller materialer.
Begrænsninger af garantien
- Begynder på datoen for det originale køb.
Service skal udfores af en autoriseret Amana tekniker.
Garantien er ugyldig hvis
- Navnepladen er ulaeselig.
- Produktet anvendes på erhovers-, leje- ulludlejningsbasis.
- Produktet er defekt aller beskadiget som ffolge af produktulykke,ændring,tilslutting til en forkert strømtilforsel,brand,oversvommelse,lynnedslag, forsendelse og handtering ull andre tilstande ud over Amanas control.
- Produktet er forkert monteret aller anvendt.
Ejers ansvar
- Tilvejebringe bevis for købet (salgskvittering).
Sorge for normal pleje og vedligeholdelse. Udskifte de reservedele hvortil der er vejledninger i brugsanvisningen. - Gore Produktet rimeligt tilgaardeligt for service.
- Betale et tillaeg for serviceomkostninger for service der foretages uden for teknikerens normale arbejdstad.
- Betale for servicebesog der er i forbindelse med Produktinstallering aller anvendelse.
Amana skal på ingen@made vare ansvarlig for tilfaelidge skader eller ffolgeskader, herunder ogsa madtab*.
Vedrørende sporgsmål om ovenstaende eller hvordan man fær kontakt med en autoriseret serviceteekniker, kontakt venligstproduktleverandoren ull:
Krav til elektrisitet. 90
Produktopplysninger stå på sérieplaten. Noter følgende opplysninger.
Modellnummer:
Produksjonsummer:
S/Nllerserienummer:
Kjapedato:
2. Fjern og bytt dør om nødvendig.
Tetningslieter pà døren
Oppsamlet stov og lo kan forarsake folgende:
- Vent til lyspaeren er avkjolt.
- Bruk hansker nár lyspaaren skal skiftes.
Ferskmatlys
Utfor folgende trinn ved kortere ferier.
- Fjern ferskmat.
- Hvis det er installment ismaskin, kal armen til ismaskinen settes i av-stilling. (Se avsnittet "Automatisch ismaskin" side 101).
Utfor folgende trinn ved lenght ferier.
Spørsmål vedrørende garantien eller hjelp til á finne en autorisert servicetekniker kan fås ved á kontakte leverandøren, eller:
NemManual