BX 518 VW VE - Geladeira AMANA - Manual de utilização gratuito
Encontre gratuitamente o manual do aparelho BX 518 VW VE AMANA em formato PDF.
Baixe as instruções para o seu Geladeira em formato PDF gratuitamente! Encontre o seu manual BX 518 VW VE - AMANA e retome o controlo do seu dispositivo eletrónico. Nesta página estão publicados todos os documentos necessários para a utilização do seu dispositivo. BX 518 VW VE da marca AMANA.
MANUAL DE UTILIZADOR BX 518 VW VE AMANA
Del segundo al quinto ano
Manual de Instruções do Frigorífico Combinado Índice
Requisitos electricos 134
Identificacao do Modelo 134
Como deitar fora o frigorifico de
modulo correcto 134
Instruções de instalação 134
Lista de verificacao da instalacao 138
Controlos 139
Controles do frigorífico e do congelador 139
Regular os controlos 139
Characteristicado frigorifico 139
Prateleiras do frigorifico 139
Gavetas para vegetais Garden FreshTM 140
Prateleira despensa (em algoins modelos) 140
Caixa despensa com tampa (em outros
modelos) 140
Caixa para lacticinios (em algoins modelos) 140
Caixas da porta 141
Compartmento parapacotes altos (emalguinsmodels) 141
Prateleiras da porta 141
Separador ajustavel (em algoins modelos) 141
Suporte para garrafas (em algunos modelos) 141
Characteristicadocongelador 141
Sistema Frost-Free 141
Tabuleiro para cuvetes de gelo
(em alguns modelos) 141
Prateleira extensivel (em algoins modelos) 142
Separador vertical de prateleiras (em algoins modelos) 142
Prateleira de rede fixa (em algunos modelos) 142
Cesto de arame 142
Cuvete de gelo (apenas em algunos modelos) 142
Vedaçoes das portas 143
Bobinas do condensador 143
Prateleiras de vidro 143
Substituicao das lampadas 143
Sugestoes relativas a ferias 144
como poupar energia 144
Ruidosnormaisdefunacionamento 145
Por vezes, a tradção pode alterar o sentido. Não que tal se verifique, o sentido mais exacto é o da versão inglesia deste documento.

Este"simbolo refere-se a medidas de seguranca.
Requisitos electricos
Ligar o frigorifico a uma tomada com ligação à terra com circuito分开 de 230 volts, 50 Hz., 10A.
Identificacao do modelo
As informacoes do produits encontrar-se na placar de identificacao. Anote as segunteis informacoes:
Numero de modelos:
Número de fabrico:
Nome e endereço do agente:
Guarde uma copia do recibo de compra para consulta futura.

PERIGO
Como deitar fora o frigorífico de modo correcto
IMPORTANTE: Os casos de crianças presas e sufocadas não são um problema do passado. Os frigoríficos deitados fora ou abandonados —agate que por "apenas algunos dias" —continuar a Constituiir perigo. Se vai deitar fora o seu frigorífico, siga por favor as instruções seguentes, para evitar acidentes.
ANTES DE DEITAR FORA O SEU VELHO FIGORIFICO OU CONGELADOR:
Retire as portas.
- Não retire as prateleiras, para que as crianças não possamentrar fácilmente no frigorífico.

Instruções de instalação
Introdução
O frigorífico deve ser ligado por um técnico qualificado, de acordo com as seguintes instruções de instalação. Meça a abertura da porta e a profundidade e largura do frigorífico. Retire os puxadores ou as portas, se necessário. O técnico deverá respeitar as normas de ligação das companhias de água e de electricidade.
O cabo de alimentação éve se reparado ou substituído por um专业技术e qualificado.
Uma instalação correcta é a melhor garantia de que este frigorífico irá functionar do modo mais eficiente. A Amana Appliances não pode ser responsabilizada por uma instalação Incorrecta.
Requisitos de instalacao
- Ligue a uma tomada com ligation à terra com circuito independente de 230 volts, 50hz., 10A.
- Proteja soalhos frogeis com cartao ou tapees.
- Instale num chao apto a suportar ate 429kg
- Deixe 25 mm de espoço na parte de cima do frigorífico e 5 mm de espoço de ambos os lados.
NOTA:Não instale o frigorífico perto de umorno, radiador ou outra fonte de calor. Não o instale num local onde a temperatura possa atingir valores inferiores a 13^
1. Retirar a base de madeira.

CUIDADO
- Para evitar danos pessoas ou em objectos, a base de madeira deve ser retirada por das pessoas.
-
Paraantaravarias mecancas, nãodeixe o frigorifico de lado por mais tempo do que o necessario parautaros parafusos.
-
Prenda as portas com fita adesiva, nos cantos superiores esquerdo e direito, para impedir que se abram inadvertamente.
- Coloque o carro para aparehos sob o lado do frigorífico oposto à articuição das portas.
-
Envolva o frigorífico num cobertor ou tecido almofadado. Passe a cinta à volta do frigorífico. Coloque sob a cinta as placas de transporte em espuma que se encontrar na embalagem de transporte. Aperte bem a cinta, mas não demasiado.
-
Baixe o carro até ao chão com as pegas na parte de baixo.
- Retire osinous superiores do calo.
- Reponha o frigorífico e o carro na posicao vertical. Retire a cinta.
- Coloque o carro sob o altri lado do frigorifico.
- Repita os passos 3-5.
- Retire a base de madeira.
- Reponha o frigorífico e o carro na posicao vertical, colque o frigorífico na posicao definitiva e retire o carro.
2. Retire e inverte as portas, se necessario.
Algomas instalacoes podem requirecer a inversao das portas para que possam ser totalmente abertas paraTRS. Para inverter o lado de articulacao das portas, procedo segunte modo:
Ferramentas necessarias
Chaves de porcas e de fendas, conforme aplicavel Chave Philips
Chave de fendas
Fita de proteção
IMPORTANTE: Paraletaluraguarricao,useuma chave de fendas ou lamina afiada (a lamina deve ser revestida com fitadeprotecao para evitar danos na pintura do frigorifico).No casodeguarinoescomparafuso deranhura ou porca,useachave apropriada para nao danificar as guarinocoes.
-
Retire o puxador da porta do frigorifico
-
Retire o parafuso do puxador (C) da peça de fixação superior (A). Levante a borda da peça de fixação do puxador (A) utilizing uma chave de fendas com a ponta revestida com fita de proteção. Retire o puxador (B) da porta,(before退回 os parafusos de montagem (C) que existem nas两大 pontas do puxador.
- Retire 1 guarnicao da parte superior do lado da articulacao da porta e 2 da parte frontal do lado da articulacao da porta (D). Monte estas 3 guarinoes nos furos existentes no除外 lado da porta, utilizing os parafusos de montagem (C).


-
Retire o puxador da porta do congelador
-
Abra a porta do congelador até aos 90^ . Localize as das ranhuras existentes na parte deTRS do puxador do congelador (A). Introduza a ponta da chave de fendas (revestida com fita de proteção). Levante a borda deTRS da capa do puxador (B) e retire-a do puxador.
- Retire o puxador (A) da porta, removendo osinous parafusos de montagem (C).
- Retire 2 guarinções (D) do除外doportocongelador e monte-as nos furos vazios.

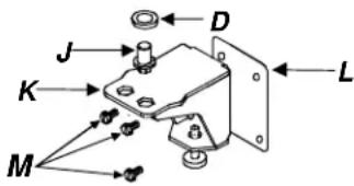
- Retire a capa da dobradiça superior. A capa é so de encaixar. Retire os parafusos de 5/16 " (A) para fazer a dobradiça superior (B) e o veio da dobradiça (C), utilizeso uma chave de porcas hexagonal. Retire e guarde todos os veios (C e D).
- Retire a porta do frigorífico elevando-a pelo situ do voio da dobradiça central (F) e da porca hexagonal (E) . Verifique se todas as guarrições (D) ficaram montadas no voio da dobradiça.
- Retire o veio da dobrada central (F)'utilizando a chave de porcas hexagonal. Podera ter de exercer alguma但对于 pois o veio está bastante apertado. Retire e guarde todas as guarinções (D).
- Retire a porta do congelador, elevando-a no sitio da dobradiça inferior (K).
- Retire o apoio da dobradiça central (G) e a guarriçao (H), utilizes a chave Philips.
- Retire a grelha inferior e a capa da dobradiça inferior. Ambas são de encaixar.
- Retire o veio da dobradiça inferior (J) , a dobradiça inferior (K) e as guarinções da dobradiça (L) , utilizeso a porca hexagonal. Retire e guarde as guarinções (D) .



-
Invertas das portas.
-
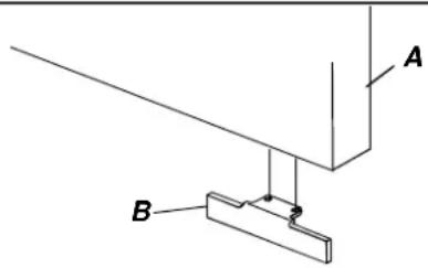
Localize o batente da porta (B) na borda inferior da porta do frigorífico (A). Desaparafuse os dois parafusos Philips para retirar o batente da porta. Retire os dois parafusos Philips do除外 lado da porta. Monte o batente da porta no除外 lado. Volte a colocar os outros parafusos nos furos de montagem vazios.
- Repita estas instruções para inverter o batente da porta do congelador.

-
Invertas as portas, procedendo do segunte modo:
-
Retire as guarnções e os parafudos do outras lado do compartmento do frigorífico. Introduza-os nos furos deixados pela remoção da dobrária.
-
Monte as dobradiças inferior, central e superior com as capas, no除外do compartmento.
-
Volte a colocar a dobradiça inferior no outras lado do compartmento. Verifique se os veiros das dobradiças está na posicao correcta antes de as aparafusar. Depois de introduzir o veio da dobradiça no furo exterior, volté a colocar as capas redondas. Certas dobradiças inferiores podem ter guarniços nos furos. Nesse caso, retire a guarnião do furo exterior, introduza o veio no furo e volté a colocar a guarnião no furo vazio.
-
Volte a colocar a dobradiça superior e as capas, deixando espoço livre sufficiente para fazer deslizar oazo das dobradiças da porta do frigorífico até a posicao definitiva. Empurre para baixo a dobradiça superior para que a porta fique bem fixa.
- Deixe um espaço livre de 1116 (18 mm) entre a porta e o compartmento.
- O lado do puxador da porta deve ficarerca de 1 / 8 (3 mm) mais alto do que o lado da dobradiça. Quando carregada, a porta fica nivelada.


-
Monte o puxador do frigorífico no除外o lado da porta, utilizeso os parafudos de montagem que retirou no passo anterior.
-
Encaixe a aba do puxador no siteo exacto e volta a colocar o parafuso.
-
Monte o puxador do congelador no除外do da porta,utilizando os parafusos de montagem que retirou no passo anterior.
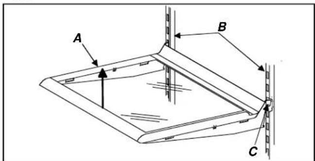
- Coloque a borda da fronte da cobertura do puxador inclinada para baixo e em direcção à aba posterior do puxador do congelador. Verifique se a aba inferior da cobertura do compartmento congelador desliza sob a aba posterior do puxador. Encaixe a borda posterior da cobertura do puxador.
- Verifique se o frigorífico está bem nivelado, seguido as instruções a partir do passo 5.
- Volte a colocar a greha inferior e a capa da dobrada inferior.
Importante: Procure a seta marcada no lado de dentro da grelha para se certificar de que a monta correctamente.
- Comece por encaixar a parte de cima. Empurre para baixo a parte inferior da grelha até encaixar na posicao correcta.

3. Coloque o frigorífico na posão definitiva.

CUIDADO
Para evaporar danos, proteja soalhos com cartão, tapetes ou除外 material de proteção.
4. Ligue o cabo de alimentacao.
- O cabo de alimentação é do ser reparado por um专业技术e qualificado. Para qualquer reparacao no equipamento sao necessarias ferramentas especialis. Para qualquer reparacao ou regulaçao, contacte o revendedor autorizzato mais proximo.
a. Rode o parafuso de regulacao (A) do rodizio para a direita elevar o aparelho ou para a esquerda baixar o aparelho.
b. Regule o pe estabilizador (B) para que o frigorifico fique bem assente no chao.

CUIDADO
Para fazer lesões fisicas ou danos materiais, causados por oscilação do frigorífico, o pé estabilizar deve ficar a exercer pressão sobre o chão.

Esta lista de verificacao destina-se a ser realizada apenas como registo pessoal do cliente.
Cliente Técnico
Portas
□
Oazo do puxador da porta deve ficar circa de 3 mm mais alto do que oazo da dobrada. (Quando carregada, a porta baixa.)
□
As portas aderem totalmente ao corpo do frigorifico.
□
Nivelamento
□
O pé estabilizar está a exercer pressão sobre o chão.
□
Documentação do produits
Leitura do manual de instruções que inclui as seguides informações:
- controllos do frigorífico e do congelador
- gaveta de vegetais com humidade controada
gaveta com temperatura controda - ruidos normais de funciona
Notas
Assinatura do cliente
Assinatura do instalador
Nome/telefone da Empresa instaladora
Data
Controls
Este frigorífico FOI concebido para funciona dométrico a temperatas entre 13^ e 43^ .
Controles do frigorífico e do congelador
O controlo do frigorífico está localizzato na parte de cima da parede do fundo do frigorífico.

O controlo do congelador está localizzato à fremte, na parede superior do congelador.

Regular os controls
Se o controlo do congelador estiver na posicao hem o frigorifico nem o congelador refrigeram. No inico, coloque ), os controlos na posicao 4. Aguarde 24 horas para que as secacoes de frigorifico e congelador atinjam as temperatas pretendidas. Passadas 24 horas, regule os controlos, numero a numero, conforme desejar. 1 corresponde a posicao menos fria e 7 a mais fria.
Regule os controlos com precisão,utilizando um termómetro dométrico com indicação das temperatas.
entre -21^ e 10^
Enfie o termometro entre as embalagens congeladas, no conglomer. Aguarde 5-8 horas. Se a temperatura nao for -17^ ou -16^ , regule o controlo do conglomer, numero a numero. Verifique de novo passadas 5-8 horas.
Coloque o termómetro num copo com agua a meio do frigorífico. Aguarde 5-8 horas. Se a temperatura do frigorífico não for 3^ ou 4^ , regule o controllo, número a número. Verifique de novo passadas 5-8 horas.
Characteristicado frigorifico
Prateleiras do frigorífico
As prateleiras são ajustaveis em alta, para satisfazer todas as necessidades. Alguns modelos possuem prateleiras Spillsaver™ e prateleiras Easy Glide™. As prateleiras Spillsaver™ retém algumasquantidades de liquidos derramados para uma limpeza mais fácil.

CUIDADO
Para evaporar danos materiais, certifique-se de que a prateleira está bem colocada, antes de colocar quaisquer artigos sobre ela.

CUIDADO
Para evaporar danos pessoas ou materiais, manuseie as prateleiras de vidro temperado com cuidado. Estas podem partir-se subitamente se estiverem rachadas, riscadas ou se foram sujeitas a alteracoes sábitas de temperatura.
- Para retirar as prateleiras (A), levante-as pela parte frontal, solte os ganchos (C) da guía metalica (B) e, em seguida, puxe-as para fora.
- Para as repor, insira os ganchos (C) na guia metalica (B) e baxe a parte frontal.

As prateleiras Easy Glide™ são extensively para fazer o acesso aos artigos que se encontrar mais às.

Gavetas para vegetais Garden FreshTM
As gavetas Garden Fresh™ conservam os produits durante mais tempo. Embale bem os produits sem os lavar antes de os colocar nas gavetas. O excesso de humidade pode fazer a degradacao prematura dos produits. Não forre as gavetas com toalhetes de papel, poi retem a humidade.
O controlo (D) das gavetas Garden FreshTM contra-se por baixo da moldura da prateleira frontal e regula a humididade das gavetas. Coloque-o na posicao high (alta) para produits com folhas, como alfaces, espinares ou couves, ou na posicao low (baixa) para produits com pele, como tomates, milho ou couve-flor.
Para limpar ou recolocar as gavetas para vegetais, retire a prateleira e as gavetas, procedendo do segunte modo:
-
Abra a gaveta do lado esquerdo.
-
No caso de a porta articular a esquerda, abra a gaveta da direita.

CUIDADO
Para evaporar danos pessoais ou em objectos, manuseie as prateleiras de vidro temperado com cuidado, poi pode quebrar-se se ficarem rachadas ou riscadas, ou se forem sujeitas a alteracoes subitas de temperatura.
- Retire a tampa de vidro da gaveta (A) empurrando-a ligeiramente para cima. Incline para cima um dos lados e retire a gaveta.
- Retire a gaveta para vegetais esquerda, levantando a parte frontal da mesma, quando a segura por baixo e puxa para fora. No caso dos frigorificos com porta articulada à esquerda, comece por retirar a gaveta direita.
- Retire a outras gaveta para vegetais repetirdo o procedimento do passo 3. Se a porta impeder os movimentos necessários à remoção da gaveta, retire-a jintamente com a moldura do vidro, procedendo conforme indicado no passo 5.
- Retire a moldura (B) elevando-a polo aro plástico frontal (C) e desencaixando-a das ranhuras existentes nas calhas do compartmento do frigorífico. Puxe-a para fora e retire-a do frigorífico.
- Volte a colocar as gavetas e a prateleira de vidro, repetetindo os passos 2-5PGA ordem inversa.

Prateleira despensa (em?),
A prateleira despensa oferece espaço suficiente para uma garrafa maior, ovos, etc.
- Pendure-a no lado da prateleira.

Caixa despensa com tampa (em algunos modelos)
A caixa despensa possui uma tampa e um tabuleiro para ovos removivel. Seletalar o tabuleiro, pode guardar uma caixa de ovos normal de cartao, gelo, etc.

Caixa para lacticínicos (em algunos modelos)
A caixa para lacticinios é o local ideal para guardar a manteiga, o quejo, etc.
- Para retirar a caixa para lacticínicos, levante a tampa (A), empurrando para baixo as duas patilhas laterais (B), e puxe a caixa para fora.
- Para reinstalar a caixa, introduza-a até sentido as patilhas (B) encaixarem correctamente e,deois, baixe a tampa (A).

Caixas da porta
As caixas da porta podem ser ajustadas de acordo com as suas necessidades.
- Para retiring as caixas da porta, empurre para dentro as patilhas (A) de(ambos os lados das prateleiras e puxe a caixa para fora.
- Para as recolocar, introduza-as até que as patilhas (A) encaixem correctamente.

Compartmento parapacotes altos (emalgunsmodelos)
Mantém os artigos alto bem seguros. Este compartmento coloca-se na parte da fronte de qualquer caixa ou prateleira da porta.

Prateleiras da porta
- Retire as prateleiras da porta elevando os lados e puxando para fora.
- Volte a colocar as prateleiras colocando-as sobre as guias (A) e fazendo-as deslizar para baixo.

Separador ajustavel (em algoons modelos)
O separators ajustavel mantém os artigos no lugar e ajusta-se para corresponder às necessidades de arrumação. O separators cabe em qualquer caixa ou prateleira da porta.

Suporte para garrafas (em algunos modelos)
O suporte para garrafas mantém as garrafas no lugar e ajusta-se para responder às necessidades de arrumação. O suporte cabe em qualquer caixa ou prateleira da porta.

\section*{Characteristicas do congelador}
Sistema Frost-Free
Os compartmentos frigorífico e congelador são totalmente Frost-Free, isto é, não formam gelo. Em condições normais, a descogelação processa-se automaticamente. Os compartmentos frigorífico e congelador nunca precisam de ser descongelados.
Tabuleiro para cuvetes de gelo (em algunos modelos)
Instale o tabuleiro para cuvetes de gelo (C) pendurando-o nos parafusos com anilhas (A e B) e empurrando-o ligeiramente para baixo ate encaixar.


CUIDADO
Para evacitar danos, verifique se a prateleira está bem fixada antes de colocar objectos sobre a mesma.
Prateleira extensivel (em?),
A prateleira extensivel sai para fora para permitir o fácil accesso aos artigos que está extras.
- Retire a prateleira extensivel puxando-a para fora ate a esfera (B) existente por baixo da vareta central (A) encaixar na ranhura.
- Agarre a prateleira pada vareta central (A), levante-a e retire-a.
- Paravoltaracolocá-la,empurre-a até a esfera (B) encaixar na ranhura.

Separador vertical de prateleiras (em algunos modelos)
Instale o separador vertical de prateleiras, procedendo do segunte modo:
- Passe os pés do Separator de prateleiras por baixo da vareta desejada, com o Separator ligeiramente descentrado em relação à vareta central.
- Empurre para baixo a parte de cima do separator e faça deslizar o gancho por baixo da guia central.

Prateleira de rede fixa (em algunos modelos)
- Retire a prateleira de rede puxando-a para fora. Podera ter de usar una ferramenta afiada.
- Recolque-a empurrando-a para tras até encaixar correctamente.

Cesto de arame
O cesto de arame desliza (A) para fora, para um acesso mais fácil aos artigos guardados na parte deTRS.
- Para retirar o cesto, levante-o e puxe-o para fora.
- Para o colocar novamente, encaixe-o e faça-o deslizar para dentro.

Cuvete de gelo (apenas em algunos modelos)
A cuvete de gelo (A) fica por baixo do dispenser de gelo, na prateleira de arame do congelador.

Cuidados e limpeza

ATENÇAO
Para evaporar choques electricos que podem provocar lesoes graves ou morte, deslige o frigorifico da corrente.
antes de o limpar. ApoS a limpeza, ligue-o novamente.

CUIDADO
Para evaporar danos pessoas ou em objectos, siga todas as instruções do fabricante do produits de limpeza.
Generalidades
- Limpe as superficies e o exterior com uma solucao de 60 ml de bicarbonato de sodio dissolvido numlitro de agua morna.Use um pano macio e limpo para limpar as superficies.
-
Retire o produits de limpeza com agua morna. Seque as superficies com um pano macio e limpo.
-
NAO UTILIZE os produits seguintes:
-
detergentes abrasivos ou agressivos, amoniaco, lixivia, etc.
- detergentes concentrados ou solventes
- objects de metal abrasivos
Estes materiais podem riscar, rachat ou descolorir as superficies.
- Não coloque os cestos, prateleiras, etc. na区管委会 de lavar loça.
Eliminação de odeores
- Retire todos os alimentos e deslgue o frigorifico.
- Limpe todas as superficies interiores, incluindo as paredes superior, inferior e laterais, segundo as instruções dadas anteriormente. Limpe com cuidado especial os cantos, ranhuras e entalhes, bem como as gavetas, prateleiras eVEDações.
- Ligue o frigorífico e volta a guardar os alimentos no frigorífico. Lave e seque todos os recipientes. Guarde os alimentos em recipientes bem vedados, para fazer mhus cheiros. Após 24 horas, verifique se os odeores desapareceram.
Se não tiverem desaparecido, siga as instruções 4-10.
4. Retire todos os alimentos e deslige o frigorifico.
5. Limpe todas as superficies interiores, incluindo as paredes superior, inferior e laterais, segundo as instruções dadas anteriormente. Limpe com cuidado especial os cantos, ranhuras e entalhes, bem como as gavetas, prateleiras eVEDações.
6. Coloque as gavetas para vegetais sobre a prateleira superior do frigorífico. Encha o frigorífico e o congelador, inclusive as portas, com folhas amarrotadas de jornal.
7. Coloque pedagens de carvao ao acaso no meio dos jornais.
8. Deixe o frigorifico fechado durante 24-48 horas.
9. Retire o carva e os jornais.
10. Ligue o frigorífico e volta a guardar os alimentos no frigorífico. Lave e seque todos os recipientes. Guarde os alimentos em recipientes bem vedados, para evaporar maus cheiros. Após 24 horas, verifique se os odeores desapareceram.
Autocolantes
- Remova os resíduos de cola esfregando com a maior pasta de dentes no autocolante, até o autocolante se soltar.
- Limpe a superficie com agua morna e seque-a com um pano limpo e macio.
Vedações das portas
- Limpe as vedações de 3 em 3 meSES, seguito as instruções incluidas na secção "Generalidades". Limpe de imediato qualquer sujidade ou liquido que tenha sido entornado no frigorífico.
- Aplique uma camada finala de vaselina nas vedações, para as manter maleáveis.
Bobinas do condensador
Limpe a bobina do condensador existente por這樣 da grelha inferior de 3 em 3 vezes, para assegurar um funciona optimo do frigorífico. A acumulação de pô e de fibras pode provocar:
- reducao da capacidade de refrigeracao
- maior consumo de energia
-
avaria prematura do aparelho
-
Retire a grelha inferior, agarrando-a pelas pontas e puxando-a para fora.
- Limpe a superfice frontal da bobina do condensador com o bico da mangueira do aspirador.
- Reinstale a grelha, inserindo os gramps nos orificios e encaixando-a.
- Levante o pé estabilizador (alguns modelos) rodando o pé para a esquerda.

CUIDADO
Para evacitar danos, proteja soalhos frageis com cartao, tapetes ou除外 material.
- Afaste o frigorífico da parede. Passe um aspirador equipado com escova pela grelha existente除外 do frigorífico.
Prateleiras de vidro

CUIDADO
Para evaporar danos pessoas ou em objectos, manuseie as prateleiras de vidro temperado com cuidado, poi pode partir-se subitamente se ficarem rachadas, riscadas ou se forem sujeitas a alteracoes sibitas de temperatura.
Retire a prateleira levantando-aPGA parte da frente, soltando os gramos da guia metalica e puxando-a para fora. Coloque a prateleira sobre una toalha. Deixe a prateleira atingir a temperatura ambiente antes de a limpar. Limpe as ranhuras, procedendo do segunte modo:
- Dilua detergente suave e aplique-o nas ranhuras, usinguna escova de plastico.Aguarde 5制动.
- Borrife as ranhuras com agua morna, using o ducha do lava-loicas.
- Seque bem a prateleira e reinstale-a, inserindo os gramos na guia metalica e baixando-a pela parte darente.
Substituição das lâmpadas

ATENÇAO
Para evitar choques electricos que podem provocar lesões graves ou morte, desluge ou frigorífico da corrente antes de substituir uma lâmpada. Depois da substituição, volta a ligá-lo.

CUIDADO
Para evaporar danos pessoas ou em bens, procure do seguinte modo:
- Deixe a lampada arrefecer.
- Use luvas para substituir a lampa.
Luz do frigorífico
- Retire a tampa da lampada (B) , tirando os parafusos hexagonais de 1/4 (A). Substitua-a por uma lampada propria para este tipo de electrodométricos, cuja potência não sera superior a 25 watts.
- Reinstale a tampa da lampada (B), colocando novamente os parafusos hexagonais de 1/4 (A).

Luz do congelador
- Retire a tampa da lampada (B), tirando os parafusos hexagonais de 14 (A). Substitua-a por uma lampada propria para este tipo de electrodométricos, cuja potência não sera superior a 25 watts.
- Reinstale a tampa da lampada (B), colocando novamente os parafusos hexagonais de 1/4 (A).

Sugestões relativas a férias
Em caso de férias prolongadas, proceda do segunte modo.
- Esvazie o frigorífico e o congelador.
- Deslige o frigorifico da tomada.
- Limpe o frigorífico e as vedações das portas, seguido as instruções incluidas em "Generações", na sequção "Cuidados e limpeza".
- Deixe as portas abertas, de modo a que o ar possa circular no interior do frigorífico.
- Se houver um dispositivo de producao de gelo instalado, feche a alimentacao de agua ao frigorifico e mova o respectivo braço para cima, posicao Off (desligado). (Consulte a secao "Dispensador automatico de gelo, na pagsa 146).
Como poupar energia
Este frigorífico foi concebido para ser um dos mais économicos do mercado. Reduza o consumo de energia, seguido estas sugestões.
- Utilize em temperatas normais, de 13^ a 43^ , afastado de fontes de calor e da luz directa do sol.
- Não regule os controlos do frigorífico e do congelador nem os controlos da temperatura da gaveta da carne para uma temperatura mais fria do que o necessário.
- Mantenha o congelador cheio.
- Mantenha as vedações das portas limpas e maleáveis. Substitua as vedações gastas.
- Mantenha as bobinas do condensador limpas.
Ruidos normais de funciona
Este novo frigorífico pode estar a substituir um frigorífico diferente, menos eficiente ou mais pouco. Hoje em dia, os frigoríficos tem novas funções e consomem menos energia, pelo que pode não estar familiarizado com eles ruidos que são normalis e acos quais se habituará rapidamente. Estes ruidos también indicam que o frigorífico está a funcional normalmente.
- O controlo do congelador produz um estalido quando o compressor para ou arranca.
- A ventoinha do congelador faz circular are zune.
- O fluxo de refrigerante doSYSTEMAVEDAO (evaporador e permutador de calor) borbulha, estala ou produz som semelhante ao da agua em ebulicao.
- O descongelador zune, assobia ou estala.
- O ruido do temporizador de descongelacao é semelhante ao de um relógio eletrico e ouve-se ou não consoante o ciclo de descongelacao.
- A ventoinha do condensador faz circular are zune.
- O compressor emite um som agudo ou pulsante, eso se ouve quando o ciclo do compressor está a funciona.
- Os cubos de gelo do dispositivo de producao de gelo (em algunos modelos) caem no respectivo balde fazendo barulho.
- O acoplamento da valvula de agua para gelo (alguns modelos) - não aparecido na figura - zune quando o dispositivo de producao de gelo se enche de agua, quer o frigorico esteja ou não ligado a alimentacao de agua. Se não estiver, pode parar este ruido desligando-o (braço para cima - posicao Off). O acoplamento da valvula de aguatica porTRS da ventoinha do condensador, na parte deTRS do frigorico.
Nota: O isolamento de espuma é muito eficiente em termos de poupança de energia e tem excellentes propriedades de isolamento. Contudo, não absorve tanto os ruidos como a fibra de vidro anteriormente realizada.

| Problema | Solução |
| O frigorífico não funciona. | Verifique se o controle do congelador está activo. Verifique se o frigorífico está ligado à tomada. Caso contrário, ligue a fcha a uma tomada que esteja em boas condições e que tenha a tensão correcta. Verifique os fusíveis ou disjuntores. Ligue及其他 aparecido à mesma tomada. Se a tomada não funciona, substitua o fusível ou ligue或其他 disjuntor. Se o controlo do congelador estiver本次活动 e as luzesfunctionarem, mas 2 ventoinhas e o compressor não funciona, o frigorífico pode estar no ciclo de descognização. Aguarde 40 minutos para ver se o frigorífico arrancar. |
| O frigorífico continua a não funciona. | Desligue o cabo do frigorífico. Mude os alimentos para及其他 frigorífico ou colque gelo seco no congelador para os preservar. Contacte o服务于 de assistência. |
| A temperatura dos alimentos parece demasiado elevada. | Consulte as secções anteriores. Agarde que os alimentos colocados recentamente atinjam a temperatura do frigorífico ou do congelador. quando se colocam alimentos no frigorífico, este normalmente aquece, e leva algumas horas às teatingemovamente a temperatura normal. Verifique se as vedações está a vedar bem. quando está, a porta do frigorífico adere completeness à caixa. Limpe as bobinas do condensador. Consulte as instruções sobre as "Bobinas do condensador" na sequção "Cuidados e limpeza". Regule o controlo do frigorífico e/ou do congelador. Consulte as instruções para "Regular os controlos" na sequção "Controlos". As Luzes do frigorífico e do congelador ficam sempre acazes. quando isto acontecer, retire a lâmpada e contacte o服务于 de assistência. Verifique se a greha de ventilação existente por以及其他 das gaveta dos vegetais está obstruída, e por isto não deixa passar o ar. Se estiver, retire todo o que a possa estar a bloquear e a impedir o ar deentrar. |
| Os alimentos está demasiado frios. | Limpe as bobinas do condensador. Consulte as instruções sobre as "Bobinas do condensador" na sequção "Cuidados e limpeza". Regulate o controlo do frigorífico. Consulte as instruções para "Regular os controlos" na sequção "Controlos". Coloque o controlo do congelador numa posicao menos fria. Consulte as instruções para "Regular os controlos" na sequção "Controlos". Aguarde outros horas para que a temperatura atina é valor correto. |
| O compressor do frigorífico., função demasiadas vezes. | · Pode ser normal para fazer a temperatura constante. · As portas podem ter sido abertas muitas vezes ou por um perfeito prolongado. quando se abre a porta, entra no frigorífico ar quente e humido. Quanto mais se abre a porta, mais ar tem de ser refrigerado ao frigorífico. · Aguarde que os alimentos recentemente colocados atinjam a temperatura do frigorífico ou do congelador. Pode levar algumas horas até o frigorífico atingir novamente a temperatura normal. · Limpe as bobinas do condensador. Consulte as instruções sobre as "Bobinas do condensador" na secção "Cuidados e limpeza". · Regule o controlo do congelador. Consulte as instruções para "Regular os 控los" na secção "Controlos" · Verifique se as vedações está a vedar bem. quando está, a porta do frigorífico adere completeness à caixa. · A luz do congelador fica sempre acesa. quando isto acontecer, retire a lâmpada e contacte o服务于 de assistência. · Verifique se o frigorífico está nivelado. Consulte a secção "Nivelamento" nas Instruções de instalação. |
| Formam-se gotas de água no interior do frigorífico. | · Istô é normal em periodos muitoágidos ou se as portas foram abertas frequentemente. · Embrûhme bem os alimentos emPEGUCA aderente e limpe os recipientes que estiveremágidos, antes de os utilizear para guardar alimentos no frigorífico, para fazer a acumulação de humididade. |
| Formam-se gotas de água na parte de fora do frigorífico. | · Verifique se as vedações da porta está a vedar bem. quando está, a porta do frigorífico adere completeness à caixa. · Istô é normal em periodos muitoágidos ou se as portas foram abertas frequentemente. |
| O frigorífico tem cheiros. | · Consulte as instruções "Remoçao de odores" na secção "Cuidados e limpeza". |
| O frigorífico faz ruidos estranhos ou muitofortes. | · Pode ser normal. Consulte a secção "Rúidos normais deestruturamento". |
| Os cubos de gelo tém odor. | · Consulte as instruções para "Remoçao de odores" na secção "Cuidados e limpeza". · Pode querer dizer que os alimentos que está no frigorífico ou no congelador não está bem embrulhados. Embrûhme-os com cuidado, porque os odores podem passar para o gelo quando a comida não está bem embrulhada. · Deite fora o gelo e limpe a cucete mais vezes. Os cubos de gelo são porosos e absorvem fácilmente os odores. · A água corrente contém mineralis, entre eles enxôfre. Em各类as situações poderá ser necessário instalar umfiltro para Eliminar problemas de paladar ou de odor da água. |
| Os cubos de gelo colam-se uns aos outros ou "encolhem". | · Esvazie mais vezes a cucete de gelo. quando usados com pouca frequência, os cubos podem color-se uns osculos ou "encolher". |
Garantia limitada de um ano
A Amana fornecerá gratuitoamente uma coisa, ficando os custos de Expedição a cargo da Amana, lowa, E.U.A., para substituição de qualquer coisa que aparece defeito de mao-de-obra ou material.
Do segundo ao quinto anos
A Amana fornecera gratuitoamente uma peca de substituicao, ficando os custos de expelled a cargo da Amana, lowa, E.U.A., para qualquer compressor que aparece defeito de mao-de-obra ou material.
Limitações da garantia
- Com início na data de aquisicao original.
- A assistência tem de ser efectuada por um专业技术 autorizzato pela Amana.
A garantia é nula se
- A placá de identificação tiver sido apagada.
- O produits for utiliser numa base commercial ou de aluguer.
- O produit estar de defeito ou dano devido a acidente, modificaçao, ligaço a uma fonte de alimentacao inadequada, incendio, inundacao, trovoada, transporte e manuseamento, ou outras situacoes fora do controlo da Amana.
- O produit for incorrectly instalado ou utilizado.
Responsabilitáções do proprietário
- Fornecer provade compra (factura-recibo).
- Providecer oseguardos e a manutençao normais. Proceder a substituicao dos elementos cuja substituicao compete ao proprietario, nas situações indicadas no Manual de Instruções.
- Providecer para que o produits possa receber a assistencia devida.
- Pagar os custos da assistência extraordinária no caso da assistência ser efectuada fora do horário laboral normal.
- Pagar os pedidos de assistência relacionados com a instalação ou utilização do produto.
Em caso algo germ sera a Amana responsavel por danos accidentais ou consequencias, inclindo perda de alimentos\*.
Quaisquer duidas ou quostoes acerca do acima exposto, ou para obter informacoes sobre信息服务 de assistencia autorizados, contacte o fornecedor do aparelho:
ManualFácil