ESTM1100 - Hand blender AEG-ELECTROLUX - Free user manual and instructions
Find the device manual for free ESTM1100 AEG-ELECTROLUX in PDF.
Questions des utilisateurs sur ESTM1100 AEG-ELECTROLUX
0 question sur cet appareil. Repondez a celles que vous connaissez ou posez la votre.
Poser une nouvelle question sur cet appareil
Download the instructions for your Hand blender in PDF format for free! Find your manual ESTM1100 - AEG-ELECTROLUX and take your electronic device back in hand. On this page are published all the documents necessary for the use of your device. ESTM1100 by AEG-ELECTROLUX.
USER MANUAL ESTM1100 AEG-ELECTROLUX
Thinking of you Electrolux
Stick mixer 11..

D Gebrauchsanweisung. 4
GB Operating instructions. 8
F Mode d'emploi 12
NL Gebruiksaanwijzing. 16
1 Instruzioni per l'uso 20
E Instrucciones de uso 24
P Instruções de utiliyacção 28
S Bruksanvising. 32
FIN Käytöohje 36
DK Brugsanvising 40
N Bruksanvising. 44
CZ Navod k pouziti. 48
SK Návod na použivanie. 52
TR Kullanma kilavuzu. 56
PL Instrukcja obslugi 60
H Hasznalati utmutató. 64
GR Obnies cxprnoewc 68
RUS PykoBoOCTBO NO 3KcPnPyatauun.....73
SLO Navodila za uporabo. 77
EST Kasutusjuhend. 81
LV Ekspluatacijas instrukcija 85
LT Naudojimo instrukcija. 89
HR Upute za rad. 93
SCG Uputstvo za upotrebu. 97
RO Instructjuni deutilizare. 101
BG uHCTpykuu 3a ynoTpe6a. 105
UA Ihctpykui 3 ekcnnyatauii 110



1
3

4.




5.

C.

6.
Please read these operating instructions through carefully.
Above all please follow the safety instructions on the first few pages of these operating instructions! Please keep the operating instructions for future reference. If applicable pass these instructions on to the next owner of the appliance.
With the warning triangle and/or by means of key words (Danger!, Caution!, Attention!), information is emphasized which is important for your safety or the correct functioning of the appliance. It is essential that this information is observed.
This symbol guides you step by step through the operating procedure for your appliance.
i After this symbol you receive supplementary information on the practical application and use of the appliance.
Tips and information about the economical and environmentally friendly use of the appliance are marked with the clover.
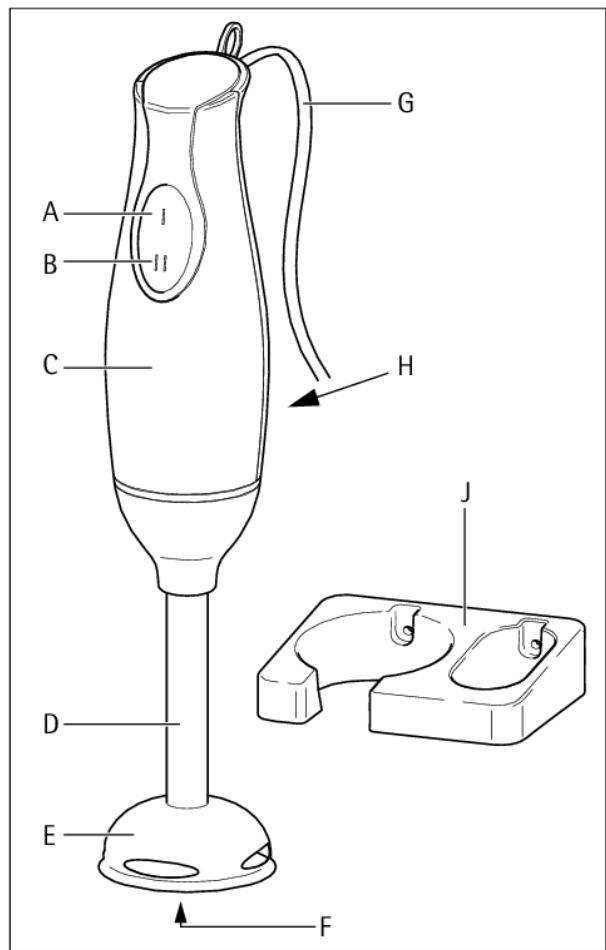
Description of the appliance (Figure 1)
A Switch for speed I
B Switch for speed II
C Motor part
D Mixing attachment
E Blade guard
F Mixing blade
G Lead
H Type plate
J Wall mounting
! Safety instructions
This appliance corresponds to accepted technological standards with regards to safety and to the Appliance Safety Law. Nevertheless as a manufacturer we are committed to familiarise you with the following safety instructions:
General safety
- The appliance may only be connected to a power supply whose voltage and frequency comply with the specifications on the rating plate!
-
Never pick up the appliance if
-
the lead is damaged,
-
the housing is damaged.
-
Never use the lead to pull the plug out from the socket.
- In order to avoid danger, if the connection lead of this appliance is damaged, it must be replaced by the manufacturer, its customer service department or a similarly qualified person.
- Repairs to this appliance may only be carried out by qualified service engineers. Considerable danger may result from improper repairs. If repairs become necessary, please contact the Customer Care Department or your authorised dealer.
- The manufacturer is not liable for any damages which are caused by using the appliance for any other purpose than that intended or incorrect use.
- This appliance is not intended for use by people (including children) who, due to lack of experience or knowledge, are unable to operate it safely, or for use by people (including children) whose physical, sensory or mental capabilities are reduced, unless a person responsible for them has shown them how to use it safely, and has supervised them initially.
Safety of children
- This appliance is not intended for use by persons (including children) with reduced physical, sensory or mental capabilities, or lack of experience and knowledge unless they have been given supervision or instruction concerning use of the appliance by a person responsible for their safety.
Children should be supervised to ensure that they do not play with the appliance. - Never leave the appliance unattended when on and supervise particularly carefully if young children are around!
When using your appliance
- Ensure fingers are kept away from the moving mixing blade. This could result in injury!
- Keep hands and utensils out of container while blending to reduce the risk of severe injury to persons or damage to the blender. A scraper may be used but must be used only when the blender is not running.
- Never use the mixer if you have wet hands.
- Do not use this appliance to stir paints (lacquers, polyesters etc.) This could result in an explosion!
- Never use the appliance in hot fat (there is a danger of splashes and you could burn yourself).
- The appliance should be switched off and unplugged before any cleaning or maintenance work is done on it.
- Never clean the motor part under running water or submerge it in washingup water.
- Avoid letting the mixing attachment runnig dry for more than max. 15 seconds.
- The mixing attachment is only to be inserted into or removed from the appliance when it is switched off.
- The blender can be used to mix food in any suitable bowl. Standard household plastic mixing bowls are the ideal choice, if these are sufficiently deep, rounded and non-slip.
To reduce the risk of injury, never place cutting blade on base without first putting bowl properly in place. - Be sure chopper lid is securely locked in place before operating appliance.
- Never switch on the appliance until the working attachment is in the mixing bowl with the ingredients to be processed. Always wait until the attachment stops before you remove the bowl.
- Do not hold any hard objects (e.g. a spoon, knife or whisk) against the moving attachment and do not touch it with your hand. The appliance cannot be used for chopping ice or blending hard and dry substance, such as nut, candy. Otherwise the blade could be blunted.
-
The use of accessory not recommended by the manufacturer may cause injuries to persons.
-
Do not operate the appliance for other than its intended use.
- Do not stand the appliance upright for storage but lay it down flat, otherwise there is a danger of an accident.
- When you have finished working with the appliance, switch it off and unplug it from the electricity supply.
Disposal
Packaging material
The packaging materials are environmentally friendly and can be recycled. The plastic components are identified by markings, e.g. >PE < , >PS < , etc. Please dispose of the packaging materials in the appropriate container at the community waste disposal facilities.
Old appliance
The symbol on the product or on its packaging indicates that this product may not be treated as household waste. Instead it shall be handed over to the applicable collection point for the recycling of electrical and electronic equipment. By ensuring this product is disposed of correctly, you will help prevent potential negative consequences for the environment and human health, which could otherwise be caused by inappropriate waste handling of this product. For more detailed information about recycling of this product, please contact your local city office, your household waste disposal service or the shop where you purchased the product.
Operation
You can use the blender e.g. for
produce mixed drinks,
- mixing liquids,
- cutting up fruit and vegetables very small,
producing emulsions (e.g. mayonnaise, sauces, cremes, toppings, and deserts based on dairy products),
- making pruée for vegetable soups or boiled baby-food,
- preparing coctails and shakes.
Preparing for use
Before using for the first time, it is advisable for reasons or hygiene to clean the mixing attachment. Dry the mixing attachment well before using it.
Inserting/removing the mixing attachment (Figure 3)
Before inserting or releasing the mixing attachment, switch off the blender and remove the plug from the mains socket!
Insert the mixing attachment to the motor part and lock it by turning clockwise.
Tor remove, unlock the mixing attachment by turning it anticlockwise.
Working with the blender
The appliance can be used for up to 1 minute without stopping. It should be allowed to cool afterwards for at least 1 minute.
Important: Blades are very sharp, handle with care. Ensure that the hand-held blender is unplugged from the power outlet before assembling or removing attachments.
Insert the blender deep into the bowl, then press switch A (for speed I) or switch B (for speed II) (Figure 2).
i Start all types of processing at speed I. This will avoid powdery foods and liquids spraying out.
Light upward and downward movements of the blender permit the material being worked on to be handled in the best possible way. Please make sure that:
- the mixing attachment never has more than two-thirds of its length immersed in the material,
- the mixing bowl is never more than two-thirds full (to avoid the danger of splashes).
Working with the chopper (ESTM1155) Figure 4.
Max operation duration under high speed per time cannot exceed 1 minute, and 1 minute rest time must be maintained at two consecutive cycles.
Place the chopper bowl on a clean, level surface.
Assemble the stainless steel blade into the chopper bowl, as shown in position A.
Place food into the chopper bowl.
Note: remove the bone of the meat, cut small piece (approximately 10 - 15mm ), then place the meat into the bowl, the max quantity of meat can't exceed 200g in every blending.
Attach the lid onto the chopper bowl and turn it in clockwise direction until it locks into position (see position B).To detach the lid, turn in adverse direction.
Insert the top part of the chopper into the hole of the chopper lid, and turn in clockwise direction to lock (see position C).
Plug the appliance to power outlet and depress the switch to begin operation.
To stop the appliance, release the switch at the top of the motor unit.
Caution: To reduce the risk of injury, never place cutting blade on base without first putting bowl properly in place.
Be sure chopper lid is securely locked in place before operating appliance.
Working with the egg white beater (ESTM1155) Figure 5.
Max operation duration under high speed per time cannot exceed 1 minute, and 1 minute rest time must be maintained at two consecutive cycles.
To assemble the egg white beater with the motor unit, turn the motor unit clockwise direction until tightened. To disassemble, turn in the adverse direction (see position A).
Plug the hand-held blender to power outlet.
Place egg white into the cup, generally, put two egg white is enough (see position B).
Lower the hand-held blender into food and depress the switch at the top of the motor unit (see position C).
To stop the hand-held blender release the switch at the top of the motor unit.
Fixing wall bracket Figure 6.
You can fix the wall bracket as following:

Drill two same holes in wall and strictly follow the dimension as indicated.

Knock two plastic tubes in them with hammer.

Secure the bracket on wall with another two screws.
Cleaning and maintenance

Ensure that the hand-held blender is unplugged from the power outlet before assembling or removing attachments for cleaning or maintaining.
Note: Do not immerse the detachable stem of the blender in water because overtime the lubrication on the bearings may wash away.

Wash the detachable stem under running water, without the use of abrasive cleaner or detergents. After finishing cleaning the detachable stem, place it upright so that any water which may have got in, can drain out.

Wash the cup, bowl, beater and blade in warm soapy water.

The mixing attachment, the bowl and the beater are not recommended to place in dishwashing machine as the plastic component deteriorate through prolonged use of dishwasher cleaning.

Unplug the motor unit. Wipe the motor unit with a damp cloth. Never immerse it in water for cleaning as an electric shock may occur.

Dry thoroughly.

Caution: Blades are very sharp, handle with care.

Reassemble the blender shaft to motor unit then place it upright in wall bracket (see Figure 6.) or hang it up for saving space.
Quick cleaning
Between processing tasks, hold the hand-held blender in the cup half filled with water and turn on for a few seconds.
Technical data
Mains voltage: 230 V, 50 Hz
Power consumption: 400 W
Maximum continuous operating time: 1 minute
CE; This appliance conforms with the following EC Directives:
Low Voltage Directive 2006/95/EC
EMC Directive 89/336/EEC with amendments 92/31/EEC and 93/68/EEC
F Chere cliente, Cher client,
Ved drug of apparatus
—πρινROMOBITb KOKTeJIN,
—CMeUaTb KNUKOCTN,
—pa3MeIbHITb OBOUINΦpyKTBl,
—PnIroTOBNTb MaHOe3, CoYcbl IpOCTbIe I NIKaHTHbIe, KpEmbl, IN3dEJIIN 3 TBOpOra I NIOyPta,
—CnIaTb Cyn-IOpe I3 OTBaPeHHbIX OBOUeI,IOpe I3 DeTCKO IINTaHnA,
—npnroTOBb aANKOROBHbIe KOKTeIN.
BbOaB 3KcnpyaTaauIO
I Ipeed npBbIM BkIIOeHnEM 6neHepa npomOte erO. XopoIo npocuUHTe 6neHeppeed nauanom paobToI.
BleHep yctahOBntb/chraTb (pnc.3)
OTKIIIOUHTNE npIbOp n BbITaUNTe wTeNCelb n3 pO3ETKn IpePeJ yCTaHOBko Jnn ChrTnem 6NeHdepa!
HacaTb 6IeHep Ha pyuKc mOTOpom n NOBepHyTb No YacOBoi CTpeJIke Do UeJUka.
IJIa CHTnIa 6JIeHepa NOBepHyTb erO npOTuB yacBOBc TpeKN.
Pa6Otbl C npIMeHHeHem 6IeHepa
! UcTPOUICTBOM MOXHO NOIb3OBAtbc8 HENpepbIBHO He 60Jee 1 MHN. IOTOM daTe Emy «OTDOXYtB» B TeueHne 1 MHN.
Baxho.Hoxn ouehb octpbe,
obpaauteceb c octopoxhoctbio. Ipeed
c6opkO nn CHrTneM
npnaIaeXHocTe pyuHoro 6JeHepa
y6eHntecb,yTO OH BbIKIOueH n3 CETn.
I IOrpy3ntb 6JIeHdep B pa3MeIbHaembl/ CMeIINBaEmbl npOdyKT npeKlnHouTeJeM A (CKOpocTb I) nII B (CKOpocTb II) BKJIIOHTb (pnc.2).
HaunhaIte pa6oTy Ha ckopocTn 1, YTObI n36eKaTaP a36paCsbIbAHnna IIN pa36pb3rIBaHnna npOyKta.
IOnHmMa IOnycka 6JIeHep, BbI MoKeTe JLyUe BCero pa3MeIbIHTb IpOdykT. PpN 3Tom ObaaaiTe BHIMAHne Ha To, YTObbl
-6neHep He norgykaIcB nepepa6aTbIbAemyo Maccy 6oJee Yem Ha 2/3 CboeI dInHbI,
-уTO6bI eMKoCTb 6blJa 3aONHeHa He 6Oone Ha 2/3 (onachocTb pa36pb3rBaHn).
Pa6ota c pe3akom (ESTM1155) Pinc. 4.
MakcimalbHna HnpepbIBHna npdoJnKntBHeBCTb pa60TbHa BbICOKo CKOPocTN He MoKeT npeBbIaTb 1 MNHyTu, CneDuET TAKKe CO6nOdaTb nepepbVB 1 MNHyTu MekDy DByMn NOcNeDoBaTeJIbHbIMu cIKnAmN.
IIOCTaBbTe yawpe3akaHa YnCTyIOPOBHyIO NOBepXHOCTb.
YctaHOBInTe HOK N3 HePjKabeIOUeI CtAIN B uany pe3aka, KAK NOKa3aHO Ha pnc. 4A.
Пложкite пишу в чашу pezaka.
PpmeaHne. YdaJInte c KcOteMЯco, pa3peXbTe ero Ha He6oJIbWne KcCKn (10-15 MM) nNoJoxNte B yAwy, MaKcImaJIbHOe KOJInuYeCTBO MraCa He DoJIxHo IpeBbIaTb 200 r Ha Ondy npocIO.
UctahOBHTe KpbIbKuHa YauSy pe3aka n NOBepHnTe ee no YacobOu CTpeJIke Do 3aueJKNBaHnA (CM.pnc.4B).YTObbl KpbIbKU, NOBepHnTe ee B npOTUBONIOJXHOM HaprabJIeHN.
BCTaBbTe BepxHIOU qactb pe3aka B OTBepCTne B KpbIuKe pe3aka N IOBepHnTe ee no yacBOB CTpeJIke Do 3aueJIKNBaHnA (cM.pnc.4C).
Поdkлочпс пибор К сети и нахмтевыкюател дя hayana pa60тbl.
Дя octaHOBn npmbopa OTnyCTnTe BbIKIOUaTeIb BBepx6 bloka DBIrataTЯ.
BHMaHne.ДЯуMeHBSeHnpyNcKa TpaBmbl He yCTaHaBnBaItepejxuyn HOx Ha Kopnyc,He yCTaHOBnBaYaShy Ha MeCTO.
Ipeed naujom pa6oTb npi6opa y6eJntEc, yTO KpbIuKa pe3aKa HndexHo 3akpenHeHa MeCTe.
Pa60Ta co B36nBaIkoN 6eJIka (ESTM1155) Pnc. 5.

MaKcImaIbHaNHepepbIBHnA npOJIKnteBHoCTb pa60Tb Ha BbICOKo CKOpocTn He MoKet npeBbIaTb 1 MNHyTu, CneNyET TAKKe CObIIOdaTb nepepbIB 1 MNHyTu MEXdy DByMЯ NOcNeDoBaTeBbIMu ZIKNaMn.

Дя писоевиненя В3бвалки 6ьнka K БOKу Двигателя NOВернITE 6нok мOTopa no yacobой CTpeлke Do 3akpenlenna. Дя OTcoeINHENI NOBepnITE erO B obpaTHOM Haprablenu (cM. pnc. 5A).

BkIIOHTe pyHNo6neHnDep B cTeB.

ПОНЖITEЯнчыбелOKвашку,обиноoctatoTuHNOdByxЯиc(CM.pnc.5B).

Onycntte pyuHoi 6JIeHepB nIuSy n HaxMnTe BbIKJIOUaTeJIb BBepxY bNoKa DBrVaTeJIa (CM.pnc.5C).

Дя octaHOBKpyHoro 6IeHepa OTNyCTnte BbIKIOuATeIb BBepxy 6Noka DBIrataJIЯ.
KpeJIeHne HacTeHHoro depXaTeIa(Pnc.6.)
3aKpeNtB HaCTeHHbI DepeXaTeJIb MoXHO CneDyUOUM o6pa3OM.

IpocBepnTe BCTeNe IBa OINHaKOBbIX OTBepCTNa CTOPO NO yKa3aHHbIM pa3MepaM.

3a6eIte B HIX MOIOTKOM DBaПл actMaccOBbIX IIO6eIЯ.

3aKpeNte depkaTeIb Ha CTHe DByMa BHTAMN.
ЧИстka И ТЕХИЧЕСКОЕ ОБСЛУЖИВАNHе

Ipeed c6opko nnn ChraTneM npnHaJnxKHOCTe pyHoro 6NeHepa DIIyNCTKN TExNHueCKOro 06cnyXuBaHHy6eDuNTecb, YTO OH BbIKJIIOUeH N3 CETN.
PpmeHne. He norgykaTe cEmbIcTepKeHb 6nEHepa B BODy, NocKoNbky COBpeMeHem Cma3Ka POnUINHnKOB MoXeT 6bItb CmIta.

PpombaiTe CbeMhbl CtepxHeB B npTOUHO Boe 63 npImeHnH
abpa3nBbix NCTraux IN MOUx CpeDCTB.
IIO 3aBepueHm NcTKn CbeMHoro CTepxHn
noCTabTe erO BePTKaklbHo, YTObI BODa,
KOTOPa MOrJa B Hero nonactb, MOrJa
CTeYb.

ПROMОТе чашky, чашу, ВЗИВАЛКУ и НЖ.TЕПОН МБЛБНОВ BODО.

PnHaJnxKHOCTn DnI CMeuBaHnna,
aWy n B3bUbaNky He peKoMeHdyETc
nOmeuTaB B NocyDOMoeHyU MaunHy
BO n36eKaHne DeRpaDaunn
PiactMacCOBbIX KOMIOHETOB PnI
PiOIoXHTeJIbHOM IcNoJIb3OBaHnMIOUxN CpeDCTB.

BbIKNoHTe 6nOK DVBraTeTn I3 cETn. IpOToPIte 6nOK DVBraTeTn BnAaXHoN TkaHbIO.Bo n36ExaHne yDapa 3NeKTPnueCKm TOKOM He nOrpykaiTe npi YnCTKe 6nOK B VOy.

TtataTeNbNo npoTpnte 6nok.

BHHMaHHe. HoXn ouChb ocTpbie, o6paaainTeCb c octopoXHOCTbIo.

CoeHnHTe BaI c 6IOKOM DBrTaTeIa I yCTAHOBHTe 6JIeHdep B HAcTeHHbI depKaTeIb (CM. pnc. 6.) IIN IOBeCbTe dIy 3KOHOOMM MeCTa.
БыICTяпстka
Bnpomexkykax mekjy paobOt noepknte pyuH0 6IeHdep B uAaKe, HanoNobHy 3aONHeHHo BOIOB, BKJIQUHb Ero Ha HECKOJIbKO CeKHyD.
TexHnueckne xapaKTepeNCTnKn
Hapjxene B cetn: 230B,50 Hz
Iotppe6JIeMaMoUHocTb: 400Bt
MaKc. npOdoJnxTeIbHocTb pa60tbl: 1 MmHyTa

Pnp6op COOTBETCTBYeT CNeDyHouIM DnpeKtNBam EC:
Opis uredaja (Slika 1)
A Prebacivanje na brzinu I
B Prebacivanje na brzinu II
C Dio s motorom
D Nastavak za miješalice
E Šitnik oštrice
F Ostrice za mijeisanje
G Kabel napajanja
H Pločica s podacima o vrsti
J Zidni drzač
!
Sigurnosne upute
Ovaj uredaj odgovara prihvacenim
tehnoloskim standardima koji se odnose na
sigurnost i zakon o sigurnosti uredaja. No, mi
kao proizvodaci zelimo vas upoznati sa
sljedecim sigurnosnim uputama:
Opca sigurnost
BHHMaHHe: HxOBeTe Ca MHOro OcTPh, onepnpaTe BHHMaTeJHo C TEx.

MOnTnpaIte OTHO BO pNCTaBkata Ha nacatopa KbM MOTOPHЯ 6bOK N CneI TOBa ro NOCTaBeTe B IN3npaBeHO NIOLOKeHne B cTeHHATA CKo6a (Bx.ФИrpa 6.) IINr ro OKaYeTe, 3a DA cNcETIte MRCTO.
Бързо поочьван:
Mekdy n3nblheneHTo Ha pa3nUHnTe 3aDau 3aDpBkTe pBHynna cataOp B yaHa, HANOOBuHa PbNHa C BOda, I rO BKlHouTe 3a HrKOJIko CeKHydN.
TexHnueckn daHHN
HanseHeHa mpekata: 230V,50Hz
KoHcymaunHa eJ. eHeprna: 400 W
MaKcImaJIHo BpeMe Ha
Hnpekbchata pa6ota: 1 MmHyTa

;Te3n ypeDn ca cbo6pa3eHn cbc cneHNTE EC DnpeKtBn:
-Директуba 3а Нськ Волтж 2006/95/EC
EMCДиректва89/336/EECси3MeHeHne 92/31/EECи93/68/EEC

ShaohBn nokyneCb!
BybI nacka, yBaXHO npOHTaJIte zu IHCTpyKUIO 3 ekCnIyatauII. Hacampepei, BydI nacka, doJepKuyTece bHCTpyKU3 3 Be3neKn, NaadHnx Ha nepxNc stOpIHkax dAnOI IHCTpyKU3 3 EKCNyatau!i! BybI nacka, 36epiraiTe IHCTpyKU3 3 ekCnIyatauII, uOb MaTnMOKnBicTB 3BePtaTcraDo hNIX hAdani. 3a MoKnBOcTI nepeDaabaTe UI IHCTpyKU3 HAcTyHOMy BlaChNKoBI NObyTOBoI TEXHKn.

PonepedkyBaIbHn3HaK y foPmi TpIKyTHnKa n/a6o KJIIOObi CNoBA (He6e3neuHO!, O6epeXHo!, BaxKnBO!) noBHHnpBepHyTn BaUy yBary do IHΦopMaui, 10 e BaxKnBOIo dNra BaWo i 6e3neKn a6o npaBnIbHoro fynKluOHyBaHNr no6yTOBoiTexhIKn. Heo6xJINO, 106c r IHΦopMaia 3NaXoDnIacnHa BnDHOMy MiCi.

Takn CmBbON 03Naue, 1o Bam HadaeTbc8 nokpOKoBA iHCTpyKzI 3 ekCnnyatauii BaWoRo NObyTOBO rnpaNy.

Iopuy i3 TAKIM CMMBOJOM Bn no6aunTe DoaTKOBy IHOpMauiO I npakTuHi Niika3Kn 1oDo BnKOpNCTAHNa NobyTOBOro npnna.

Ipopuy 3i 3nakom y Bnrrnki KOHIOHNn Bu 3naideTePiKa3kn iHOpmaciio IooEKOHOmiHOrn EKOJIorHOru NCTORO BIKOPNCtAHN npnlaNy.
Опис пиладу (MaJIHOHOK 1)
A Ipeemnkauch wBndkoctiI
B IpepeMnKaU WbNdkOci II
C Pyxoma qactnHa
D 3miuzybaIbHni IHCTpymENT
E Orotopokhenna IonaacteI
F 3miuyyaibbhi Inonacti
G KaebjxNbneHHra
H Ta6nUka 3TexHiuHMn daHmN
J HactinHe KpInnEnHn

Правида Тхнiku 6e3neкn
Дани плад BiIDOBiDAe пингтм ТхногИчнIM CTaHdApTAM BiHOCHO 6e3пеки в ВUMORam 3akOHODaBCTBa YkpaIHN шоDo 6e3пеки пладIB. ПpoTe,яК
Bnpo6HnK, Mm BvBaKaEMO CBOIM O6OB'3KOM O3HaJOMtN Bac i3 NaCTynHmN npabNJAmu texhikn 6e3neKn.
3araJIbHa 6e3neKa
ДонуckaeTbca BMNKaHnЯпиlaу ЛшedoМерекi 3 HanpyroI o I acToTOIO, loBiДnobiaIoTB CneuNphiKauaIi Ha TabnUci 3TexHiHmM daHmM Na HxKHi qAcTHnHi npinady (H)!
Пдкluчehня пиладу дonycka€TбсьИНЯТКОВВштencelbHy po3eTKy,установпуну BiID nobiDNo до ринягнхHOPM.
He kynyTe npnnaJ y BnnaJky, JaKuo: - Ioro Ka6eJIb yUkOJaKeHnI, - Ioro KOpNyc yUkOJaKeHnI.
He Bntraa Te wTeNCeIbHy BnIky 3 po3eTkn 3a Ka6eJIb.
- Y BUNaIky yUkOJKeHnHa KaBeJIoo XINBJIeHHra, Uo6 yHnKHyTn OdepJkaHHa TpaBMn, Heo6xIHa NiO 3aMiHa BInpObHnKOM, Ioro cepBicHnM npeDCTabHnKOM a60 KBaJIiΦikOBaHm NepcoHaNOM.
He BnKOpNCToBvYe TaHnK, RaIIO BIn naadab a6o Mae OueBnHi cniiu ykuOKeHb.
PemOHTHipo60tNCTOCOBHO daHORO npnAdyMOKytbIPOBOIDTNCRA BNHTKOBO KBaJIcΦIKOBAHMmФaxIBzHM3TexHiHORO obClyROByBaHNr. HeipabINbHnpeMOHT MOKe CTAuPiuHHoBO BUNHKHeHHa 3HaHOO He6e3neKn.YBnAPky BUNHKHeHHa Heo6xIDHOcti peMOHTy BapTO 3B'8aTnc3 aBTOpu3OBaHm cepBicHM ueHTPom a6o Baunm yNoBHOBaKeHm dInlepom.
Be3neka ditei
Lcien npinad He npin3haeHn dnn BVKOpNCtAHN OOC6aMn (BKNIOHNO 3 dtbMn) 3OBmKHeHNMIΦi3uHNM,CEHCOPHMn a6o po3yMOBnM 3di6HOCTaMn,Be3 HAnExKnOro DOCBiy Ta 3HaHb,JaIO 3a HMMn He Harnlae YH He IHCTpyKTyE 0do KOpNCtYBaHn npinlaDom OC6a, BiNDobIaJIbHa 3a ix 6e3neky.
Heo6xjIHO haIpaTn, 06 i3 npnaom He rpaInc4iTn.
He 3aIIuIte BBIMKHeHNI MICKep 6e3 DOrIyN 6yIbTe OcO6nBIO yBaXHi B npCytNoCTi dIe!
3ayBaXeHH npn BnKOpNCaHHi npnlaNy
He donyckaIte nonadanHna nalbuc IB o6eptobi 3muiybaJIbHI nonacti. Ie moKe CTATn npuHHoTpaBM!
He 3aInxai Te pyknta nocyd y KOHTeHep nid yac 3MIyBaHnna 3anobirHnny pN3NKy 3abDaHnCePio3NHx YUkoJKeHb IIOjam a6o noKoJKeHn6IeHepa. IIKpe6ok MoKHa BVKnOpNCTOByBAtu JInue ToDi, KOni 6IeHep BIMKHeHni.
He KopnctyTeCmIKcepom MOKpIMnykamn.
He BnKOpncTObyIte npnaI dIy 3MiUyBaHnHa fap6 (NaKIB,NoJIneCtpiB TOso).Le MoKe cStaI npuNHO BbOxy!
He BnKOpncTObyTe npuIad Ipn 3MiUyBaHnra rapYOro KInpy (iChye He6e3neKa po3bPn3KyBaHHry N Bu MoKeTe OdepXaTn OnIKN).
Ipeed npoBedeHnem 6yDb-koTO uHHeHHa 60 o6cnyroByBaHHne6xIDHO BmKHytn npna i BiKlnHHTn Ka6eIb JINBHeHH BId Mepexi.
He ouHuaTe pyxOmy yactHy niI npOTOnHOIO BOHO IO He 3aHypIOte II dIy MNTTAYBOY.
- YHnKaIe XoNocToRo XOy npICtpoD nIa 3MiUyBaHHa 6Ibue 15 cekyHd.
- YctahOBky 3HimAHnH IHCTpyMeHTa, 30 3MIiUyE, Heo6XiHO 3dIiCHIOBAtn npn BIMKHeHOMy npnaja#.
Mikcep MoKHa BnKOpncTObyBaTu nIa 3MiUyBaHnX aapObNx npOdyktiv b 6ydbJyKOMyPiIXoDMyOmynocuIi. HauKpaue IaIyIcI MetnPiXoDyTB cTaNdaptHi Nobytobi IIpactNKoBI EMHOCTI dIa 3MiUyBaHn, DocntB rInbOki, OkpyrIi Taki, IIO MaOTb HeKOB3Hy NOBepxHIO.
-ДяЗMeHSeHЯ ри3NKу ypaJeHHa HIKOJI He po3TaIbOByItepo6OyeJe3oHa6a3i,He BCTaHOBbUH YAuHaNeXHM uHOM y notpi6he Micue.
Ipeedeknnyataicie npnnay nepekohaTecra,0kpniKpyi3aKaHaDiHo 3aqiKcbAoH BNotpiHOMyMiCi.
He BMkaIte npuIad do 3aHypenHpaOboOro npicTPOU B nocydIpy3MiUyBaHHa 3i MiUyBaHNIM npoDyKtAmn. Ipeed BVITraHnM Mikcepa 3 EMHOCTIO OHeKaITeCryIO NOBHOJ 3ynHKn.
He na6nkaTe 6ynb-aki TBepi o6'ekTn (taki JK loxkn, Hoxki afo 3bnuaKn)do
npntpoIO,po pyxaetbcra,i He
DOTOPkaTecra Do HbOro pykamn. Ppnilad He
MOXHa BnOKOpNCTOBvATn DnI NOpi6HeHn
lbOy a6o 3MiUyBaHn TBePnx i cyxnx
peOoBN,Hanpknada ropixiB a6o
lbOaHnKiB.BiHoumy pa3i neo MoKe
3aTyuNTncr.
BnKOpNCTaHHe HepeKoMeHDoBaHOrOBnPo6NHkOM DonOMixHOrO npnJaIIMoKe npn3BeCTn Do TpaBM KopNCtByaYiB.
BukopncToByTe npnlaD nIe 3a npn3HaueHnM.
He bCTaHOBnHOte npila dIg 36epirAHnBePtnKaIbHO, ce MOKe CTaTI npuHIOHeUaCHOrO BnApAky. 3aBXdN KlaadITbMikcep rOpu3oHTaIbHO.
- Ito 3aikiuueHHi pOBoTn i3 npuiaom BMKHiTb Ioro N BiDJIIOUHTb Ka6eJIb XINBJIeHHa BID MepeXi.
Ytulizauia

NakyBaJIbHm MaTepiA
NakybalniMaTeipaiNe e ekonoriyNo
NUCTMNI MOKytb 6Ty NIOBTOPOH
BVKOPNCtahi. NpactNKoBI DeTaI N03NaYeHi
MapkyBaHHaM, HapnKnJa, >PE<, >PS< i
T.D. BybI NaCa, BKNDaIte NaKybalhi
MaTepiAIn y BiIDNoBIDH N KOHTeHep
KOMHaJIbHnx OpraHIsaui Dny JIKBdaUi
BiXOJDIB.

Ctapi npilaja
CnMBoN Ha npodykti afo ha horo
ynakyBaHHi O3Naue, 10 daHni npodykt He
niDnIrae ytniIiauii Jk no6yTOBE cmITTg.
3Amictb cIbOro Heo6xIHaNo Iero nepeDaayu
BIDNOIBHNI NyKT 36Opny IaInepepobKn
ENEKTPnuHOrO ENEKTPNOHO
yCTaKyBaHHa. 3a6e3neuyOuH npabInbHy
ytniIauiO daHoro npdyKTU, Bn
DONOMaRaTe 3anO6iTn NotenHIM
HeratNBHM HacIIdKam DnI HABKOINHbOro
cepeDoBNuAa 3dOpOB'JIODe, npuHNOU
kXNs MOKe CTATN HENpaBnHE
NOBODKeHNH 3 BiXoDMn DaHOR npodykTy.
DJIa OdepKaHNH DOKnaHIIoo IHopmaui
npo npepo6ky daHoro npodykTy, 6yd
JaCKa, 3B'JXtBCs3 BaWoHO MucEBOHO
MicbKOHO aDMInicTpaueH, pndCTABHKOM
BaWO CIyKbN ytniI3auii NOyTOBOr
cmITT a6o 3 KpaMnue, De Bn npidBaJI
npodyKT.
Ekcnnyatacia
Mikcep moxha BnKOpncTaNJIA
- npriroTyBaHHa3MiuaHnHaHOIB,
- 3MiUyBaHHpiINH,
- noDpi6HOBAHnHnOpykTbN OBOuib,
- npnroToyBaHHЯEmylbcii(HaNPnKnAd, MaHone3y,coyciB,KpeMIB,HaHnHOK i DecepTiB Ha OCHOBI MoJOnHnX npOdyKTiB),
- pnproToyBaHnI IIOpe IJIa OBOueBnx CyniB i DInTayOTo XapUyBaHH,
- npnroTyBaHHKoKeiNIB i ueiKib.
- iHCTpymEHT DJIY 3MIUyBaHHa, 3aHypeHnI y npOdyKT YK MINiMym Ha DBI TpeTnHi CBOeIOBxHnI,
-EMHICTbIJI3MIiUyBaHHI3aONBHeHa He 6iIbIe HIX Ha IblI TpeTINHIO6'Emy (IIO6 yHnKHyTN pO3bPn3KyBaHH).
Pobota 3 pi3akom (ESTM1155) PncyhoK 4.

MaKcMmAbHa TpBvAlicTh BnKOpncTaHn 3a NaBvNooI WBnKocTi 3a OAnH pa3 He MoKe nepeBnuCyBaTu 1 XBnInHy. MIX dBoma ZIKnAmn Niipra HEO6xDiHO 3po6nTu nay3y TpBvAlicTHo B 1 XBnInHy.

Poklaɪtǔ wəʊy pɪsəka ha qɪncty pɪbny nobepxH0.

BCTABTe Ie3o 3 HepKabIIOO CTani B uAsy pizaKa, Ra Noka3aHO Ha MaJIOnkY A.

Pokladit npoDyKtn B aAsy piza.
PpIMtKa: BiD'cHnaiTe BiD M'raC KICTK, nopixTe M'roHa MaJleHbki WMaTOUKN (np6IIN3HO 10-15 MM 3aBwupuKn), a notim NOKnaTb M'roB uAa. 3a pa3 MOxHa 3MiUyBaTHN M'roC BarOo He 6Inbwe 200 r.

Pomictb KpnuKHa qauy piaKa Ta nobepHtB 3a roHHNKOBIO CTPIKIO, DOKI BOHa He 3aqiKcyTbCra (INB. MaJIHOK B). Uo6 3rHTn KpnuKy, nobepHtB II y 3BOPOTHbOMY HApRMky.

BCTaTe BepxHNo yactnHy pi3aKa B OTbip HaIoro Kpnui i NOBepHtB 3a roINHHKOBIOCTpiKIO DO qikcau (DNB. MaIHOK B).

YbIMKHiTb npnla y po3eKy taHaTNCHiTb KhoNkIy dlya noaTk ypo80tN.

IooB BmKHyTN PnnaI, HATNCHITb KHONKy Ha BepxHII qactHNI eNEKTPoDnBuhya.

Ybara!ДЯЗмehweHHpy3NkyypaxeHHHikOJIHpeo3TaWOByTepo6OHyHXHa6a3i,HeBCtaHOBUBuHuaSy HaleKHM YINHom y NOTpi6He Micce.
Ipeedekcnnyataucicno npnlaNy nepekohaTeC8, 10KpnuKy p3aka HadiHIO 3aΦikcoBaHO B nOtpi6Homy Micci.
Ekcnnyataciia 3bnuBaay aeyHoro 6iika (ESTM1155) PncyHok 5.
MaKcImaIbHa TpBnAJIicTb BnKOpNCtAHH3a HauBnUOi WBnIKoCTi 3a OINH pa3 He MoKe nepeBnUyBaTu 1 XBnInHy. MIX DbOMa UKnAmn NiIprd Heo6XiINO 3po6nTu nay3y TpBnAICItro B 1 XBnInHy.
36bauy eHoro 6iKa 3 eKtpoDBnHyOM, NOBepHiB eEeKTPoDBnyH 3a RoHHNKOBOIO CTPIKHO, DOKN BiH He 3aikcyTcra. 106 Bi'EDnat Noro, NOBepHiB 36bauy y 3BOPOTbOMy HappMky (INB. MaIHOK A).
YbIMKHiTb pyHnI 6JIeHep y po3ETky.
IoknaiditbyeHm6iNOKyuaShky.3a3BnuaydoCTaTHbO DBOX 6iKnIB (INB.MaIIOHOK B).
Onyctitb nibn 6neHep y npodyk t HATNCiTh KNOkny Ha Bepxhi qactHi eNeKTPOBnryHa (INB. MaIIOHOK B).
山Ob BmKHyTn pyHn 6IeHdep, HATNCiTB KHOIKy Ha BepXHi YactHi eJIeKTPOdBnryHa.
HactiHHN KPOHHTeH MOXHa npKpInNTaTakIM YINHOM:
IpocBepnItb Dba OTBOp n cytihi, itTKO DTpIMyHOnCb BkazHaHOro p03Mipy.
3a6nTe y hnx DiBnI pIaCTNKOBnx Tpy6kn 3a DOnOMOrOHO MOnOTka.
3akpinitb kpoHtneH Ha CTiHi DbOMa TBnHTAMN.
UHcHnTaDOrJa
! 耹耶KaHaiTeCyaOpyHn6JIeHep BmKHeHO3po3eTknpeEa3bnpaHHaM a6oBiD'cHaHnHMaH HacaOKnIyNtueHHa 6oDoTnA dy3a HMM.
Примпк: He 3aHypioTe 3HIMHy OCHOBy 6IeHepa y BOу, OCKiNbK 3 YacOM MOKe 3MNTSC MaCTNIO Ha NiDUnHnKax.
MnTe 3HIMHy OCHOBY NiI npOTiHuO BOIOHO, He BnKOpNCTOBvOuN ABpa3NBHX OHIuYBaIB a6o MInOChx 3acobIB. 3aBepuINBUn YIeHHra 3HIMHOI OCHOBN, PO3aUyIte II BEPTkAJIbHO, IIOB BVTEKNa BOa, Jka MoTna NOTpAnITN BCEpeDInHy.
MmTe yawky,36mbay,yauy TaJe30B TepniMnblHi BOJI.
He peKOMeHDoBaHO MNTn HacaKaY DnA 3MiUyBaHHa, Yauy Ta 36nbay y Nocydomu, OckIbKn JaICtB IJaCTMacOBHX KOMnoHErTIB NoripSyTbcra Chepe3 TpNBane BnKOpNCtAHHa NocydomuKn DnIix NnueHHa.
BnMknHt b eneKtpoDBnHy. IpoTnpaIte eNektpoDBnHyN BONOrO TkaHHIO.HikOnn He 3aHypioTe Ioro Y BODy INaYuSeHnHa, OCKINbKU CE MOKe Ipu3BeCTN Do ypaJxehn H eNekTPuHNM CTpyMOM.
PeteIbHO BHTnpaIte eNekTPOdBnryH.
YBara!Je3aHaZBnauHNo roctpi. NOBoBtec3 HmN o6epeXHo.
Po36epitb Kopnyc 6bnHepepa do eneKtpoDbvryha, a notim po3auyte noro BepTknakbHO ha hactiHOMy kpoHtTeHi (INB. PncyHok 6) abo nobicte dIЯ ekOHomii Micu.
Wbnke YnueHHa
MIX BIVKOpNCtAHNMAH NOMICTb pyHnB 6JIeHep yEMHcTb, HANOLOBNHy 3aNOBHeHy BOIOO,I BBIMKHITb Ha KIIbKa CeKYHd.
TexhiHndaH
Hanpyra y mepexi: 230 B, 50 Hz
EneprocnoKbAHn: 400Bt
MaKcImaIbHa TpUBaJIcTb 6e3nepepeBHOi pOboTu:1XbUInHa
C E Danin npunaB iDnOBiJa e HacTynHm CbponeiCbKIM DnpeKTiBaM:
EasyManual