CHOPPER 452 ZE - Σχιστήρι ξύλων GARLAND - Δωρεάν εγχειρίδιο χρήσης
Βρείτε δωρεάν το εγχειρίδιο της συσκευής CHOPPER 452 ZE GARLAND σε μορφή PDF.
Ερωτήσεις χρηστών για CHOPPER 452 ZE GARLAND
0 ερώτηση για αυτή τη συσκευή. Απαντήστε σε αυτές που γνωρίζετε ή κάντε τη δική σας.
Κάντε μια νέα ερώτηση σχετικά με αυτή τη συσκευή
Κατεβάστε τις οδηγίες για το Σχιστήρι ξύλων σε μορφή PDF δωρεάν! Βρείτε το εγχειρίδιό σας CHOPPER 452 ZE - GARLAND και πάρτε ξανά την ηλεκτρονική σας συσκευή στα χέρια σας. Σε αυτή τη σελίδα δημοσιεύονται όλα τα έγγραφα που απαιτούνται για τη χρήση της συσκευής σας. CHOPPER 452 ZE της μάρκας GARLAND.
ΕΓΧΕΙΡΊΔΙΟ ΧΡΉΣΗΣ CHOPPER 452 ZE GARLAND
- Eioaywyn 100
- MÉrpa ασφαλειας 101
- Σύμβολα προεῖδοτοῦπας 107
- Περιναφή μηχανήματος 108
5.ObnyieC θeOanσελeIoupyia 110 - XpnoT rou mXavnauToC 113
- Συντήρηση και σέρβις 113
- Eπiλuση προβληματων 115
- Mεταφρά 116
- Aioθηκειση 116
- Avakukwogn kai diaethou mXavntoC oas 116
- Opoi eyyunons 117
Anawon oumuoppwons 118
AkpiBc MTeaepaaon ek Tou Iotavikoou TpwtotuTou Twv oyniw xnans
Ref.:GCCCHOPPER452ZEV17M1217V1
DATE OF PUBLICATION: 29/12/2017
DATE OF REVISION: 29/12/2017
1. EIZARQTH
Euxapiotoume TnU eTlAEGate auto to nXavmaGarland. Eimaote Bébaioi OTHa EktnuOeTe TnV TIOIOTnKa aTIOoan autoTuou mXavmuToS, to OTIOo 0dIEukolvEvI TNV epyaia oac yiaevAnxovikn Tepioo.Na UMOaote OTAUto mXavma Exei To TIOEKEVEc Ka EEXIDIKEUevo DIKTUo TEXVIKns UToONPiEg, to OTIOu MTOpeite va oumboualeueote yia ouvtnpon,ETIIluon TPOBnMaTw Kai ayop a vtaalaktw Kai aEsouap.

IpoeiOToiOnn! DaiaBaoTe oaes TIS IpoeiOToiOneis aopaaEiaC kai oaes TIs OoynieC. H atotuxia Tapatnpnons
oawvTwv PPOEIDOTIOINoeWv kai oyniw Tou aokolouOou vtoynoi eI avapkeN kai/n oBapop tpaumatioI. piv xpnaiotoine To mXavma, diaaote PPOeKTiKa Tl npopopieosToTAPov EYxepidio yia Owotn EKKIVnKai aQPAeic TeVikéS.
Auro to unxavnu aivai yia oikakn xpnoi kai exei oxediaote iya tnv koti npow biaprpou mexpi 35 cm (^) kai meyiotou mKouc 52cm (^) ,e ta akpa komuva kaTheta tpoc tov agova tou kopou e yaalidoi loyw TNS TIEONS TO DNMIUIOPVEiTAI ATIO eva ubpaALIKO EmuoTO OTIOIO EFAPUOCI TNV LEITIDAOTOV KOpO. OTOIAOHNTOE aaN xpoon mTopei va eivai ETIKIVUVN yia eoas, avthetaiouc, zwa kai AVtikeeva TPOBpiokovtai Kovta KaWc kai v Blambdaouv TO unxavnu.
Na kóβετe móvo kopròuc πou éxouv ta akpa kαθετa προς tov ágova tou kopròu. Ta akpa twv kopròw vπou εivai προς kottη θa πpétēi va εivai σε opθη γωvia.
Bbaowte otov utapxouv kapi n eva avtkeiueva oouc kopouc Tou KoBovtai. Eva oomega tai kappia mtope va ektoeutov kai vtpokaoleouv oobapo tpaumatio.
Mny KoBETe KoprOuCs Tnou Exouv KlaOia. Ta KlaOIA TTpeTTI VA KOITOUV OTO IIO EITIEO O E TOV KOpO.
Mny xnpoiotoiieTe to unxavnua yia va koyete otiohntote aaloo ato kopu. Auto to unxavnua kai ooukeuecs aoaaleiac tou exouv oxediaote iya tny kottkopwv.
Av npooTaaHoTe va koyete biapopetikavtikeiEvvaTiaayeva atO 1uO auto tnpoeiv eivai etnikivuo yia Tny aovapaleia oac, twv avpwtw kai zwoTou aontepiabalouv, to idio to mXavna kai otDHTOTE pikketa Kovta oE auto.
Mny xnpoiopoieite auto to mnxavnua yia va TPOOTaOeTE va LuyioTe,va onmaebesE n va oapayiae avtkeiueva.Auto to mnxavnua kai oi ouakeuec aoaaleiac tou exouv oxediaoTe i ia tvn kottkopw.H xpnoTns Upaauliknc duvauncs Tou Otniuoypeitai yia ka3e epapuoynt aTAYopeuTai 03oEvou oTItoei v Eivai ETIKIVDUvo yia tvn aoopaiaea oas,avpwtwV kai zownu TIOU OAC TEPIBaalouv,TO IDIO TO mnxavnua kai OTIDNTOTE Bpioketai KovTa OE auto.
A H diμeTPOG TOU KOPU EiAV EVEIKIKN. Evac iKpOc KOpOc MTopei va Eivai DUkOLO VA diaxwiOtei eav Exei KOITouc n OkLnnp iva. ATo TnV aALN MEPI, o diaxwiApOc KOpWv ME kavovikc IvcsDev TTpeTIe va Eivai DUkOLOs akoua Ki av N diAeTPOG UTEPbaive Tnv MeyiOTn.
Tia va atropouyete laovthetaevo xeiipoiou umxavmuos, diabaote oaes tios odnyiec oae auto to exyeiipioio piv ato tnv tpwnt xpno. OI Ia npopopie tsou eptepioxovta 0to Tapov vexeiipioio evai onuavtikcs yia tnv TPOOWTIKn oac aopaleia kaohc kai avpwoiwv, wovkai avtikeiyevwv Tou aoc TepiBaalouv. Av exete attopie c oxetikae TIG TINPooepopie tsou eptepioxovta 0to exyeiipioo pwtne Evav EIOKO n TnyaiveEekoiotou ayopaoate to mxaynua ia va oac tic Auouv.
AduaTe oLeTc TPOeIOOTOINoeC KAI Tc Odyie yia eAAovTKn avapopá. Av TouAnoTe ATO To mXavna aTo pEALov, 0uŋthe Va TnpaOwote auto To EYxepio stov vdo IIOkttn.

O opc "unxavnu" otic TPOeIDOToinoeic avapepeTe o unxavnu a uvdEeEv oTo diktuo.
H Ekpaon "diakottns o avoiktn theon" onmaive o diakottns eivai attevepytoinveoc kai "diakottns o kleiortn theon" onmaive o otio diakottns eivai evpytoinveoc.
Na 0muoaoTe oI O xeiipotns Tou unxavnauos eivai uteuhvoc yia kivouc kai atuxnata oToV eauto Tou kai e aalouc avpwtou n avtikeiEvA.
O kataokueaotnc dev euohvetai eKaia TepiTTwn yia bacec loyw kaKns n Aavthetaevn xphons touxavntatoc.
2. METPA PYOMI\SH\S KAI A\SΦAΛEIA\S
Tia va atopuyete Iavthetaevo xeiipoiou umxavmuotc, diaabaote oaes TIG onnyiec O auto to eyyxepio TIP IV aTO TIV TPOwn xpno. OI pnpopopies TIO Ue tpeixovtai OTAPOV eeyxepio evai anavtike yia TIV TPOoWNIKn Oa aspaleia kaowc kai avpwiwv, wov kai avtikeevvw TIO OAC TPEiBaalouv. Av exete aToppie oxetikae TIC pnpopopie c TIO ETEPIEVOATI OTO eyyxepio pwtnte Evav EIiko n TTyaiiveTe ekei OTU ayopaoate To umxavnuia ia va oac tic luouov.
H aokolouh Iaota kivovuvkai etpaw Tepiaabavov Ttio tIeavc kataotaceis
Tou mtopei va Tpokuovkata tv xpnon Tou mnxavmuotc. Av avtietwntiaet e ia kataaotaon Tou dEv Tpiypapetai o auto To Exyepiox npoiotoinote tv Koivn loyikni yia va xpoiotoinote to mxaovma kata tov aoqaletope duvatotpoto, n av avtianqtheta Kivduvo, mnv npoiotoinite to mxaovma.
2.1.XPHETE
Auto to mnxavnna exei oxeioaotei yia va xeipietai ato evnlaiec Tnou exouv biαoei kai katavonaei autec tic oyniec. Auto to mnxavnna dev tpeTIE VA xpoaiotoiiteiatao ato aota (oumtepiaaabovoueou taia) me oomegaikcs, uwxikcs n eiowvees vontikcs iKAVOTNTEC, n EAAEIENPTEPIAISN VVOWNS.
A IpoeiOIOIOJNO! Mny EITIPTETE Oe avlkiouc va xpnoiOTIOIOv to jnxavna.
A Ppoeiooioan! Mny eTIPeTTe 0e aToa TIOEV exouv KAATAOHOUI autcTG OOnyieS va xpoaiuoiouv TO mXavma. PIV ATTO TIV xpHON, EoikEiWtheME auto BEBAIwovTaO VIYwpiTe KAIA TIOU BPIAKOVTAI TA XEPiOTnpia KAI O SUOKeuC AosAeiac KAI TTG Auta xpoaiuoiouvtai. Av iote aTEIpocxPnOtns OuvIoUme VA Egaoknthe ME aIIe c EPyaOies KAI, AV Eivai Duvato, ME TNY EITOTTEIA EVOS EPTIEPOAU tOmu.
To epyaieio kootauou tou mxaovmuotc Eivai trolu aixmuo. Eivai etnikovvo xaonoiotoiite auto to mxaovma laooc.
A PnpoeioToinan! Na daveiceteto unxavnma
mvo 6 atoja Tou Eivai eoiikeiomegava u auto
tov TUIO unxavnatoC kAI YVwipciouv va to
XPOIOTIOINOUv. NAtVa vdoeicteto auto to
unxavna ma zI eTO evxepidio xhONs OTov vEO
IDIOKTHT WATE VA TO DIAbaaIE TPOOeKTIKA VA
to KATAVOnEi.
AutoTo mnxavma eivai etnikivuvo oTa xepia aevktaideutw xpnotw.
2.2. ΠPOΣΩΠΚH ΑΣΦΑΛΕΙA
Na eioTe OE EtoiOHTnTa, va KOiTaeTe TI KAVETe KAI VA XpnoiOToIEte TNV KoIVn loyIKn KaTaNv XpnoN tou mXavHmuToC.
Mny troTTOIOIEITE ta xEpiOriTHia Tou unxavnauoC n TIC puOuiaeic Twv OToPooV Tou kivntnpa.
AToPuyETuXiaEKKivnTou mXavnmuoC.
Bbaiwote oI O diakottns evai OE "avoiktn
Oe an TPIV auVdoTe To mXavnuoTo biktuo.
PiTe mnuKouBaIATE TO mXavnua e To doxtuo
OTov diakottn n e To diakottn otnv KaeiOt
Oe an KaWcus mToppv a TheeTe Kivduvo tv
aQpaleia oac kai va TpokLnBouv atuxmuata.
Mny xnpoiotoiite to unxavnma otav eioTe koupauevo n utto nTv etnpieia vapkwiKwv, akkoI qapakw. Mia oTIyun atpooeigac katantnv leitoupyia tou unxavnuatoC mtopei va tppokaleoei oobapo tpaumatio.
MnV xpnoiouoieTe to unxavnu a v katoio aTo ta epn Tou exe IaBn.
Ionte unx npnoiotioieTe to mXavnu aE 1aattuata kTPOoTaTuTik, n Xwpi c oukeuec aopaleiac.
AnopakpuTe ola ta kLeioia kai epyaia aanto to unxavna kai tntv Tepiox npyaosi Tpiv EeknnoTe to unxavna.
'Eva kλειδί ἡ ενα εργαλείο αν Μεῖνι κόντα στο μηχάνημα μπορείνα γαγίxtει ατό μέρος

Tou mXavnmuoC OE kivnon Kai va EKTOEutei TpokaawvtaC TPOoWNIKO Tpaumio.
Mny uTepbaiveTo v eauto aac. DiatnpieTe Ta TIObia aoc staOepa oTo Edoapoc kai diatnpieTe Tny iOoppoia aoc kaTe otiyu.n. NaVta va biatnpieTe Tny katalann untooTnpiGt Tou TElambdaoc kai va LEIToupyeite To mXavma
mOvo otav oTekeote oTeaepn,aopaln kai
ETTtEoN eTIpAveia. OIOthnpc n aTaTeic
ETIkpAveies mTlopei va Tpokalaouv atwlaia Tns
Iooppotiac n Tou eEyxou Tou uXavnuatoC.
Aiatnpieite ola ta onmuia tou owmuoc paikia ato ta 0toiexia kotnc kal ta kivoueva npn otav to nxaynua eiva oE Aetoupyia.
Pivg EekivnOeTe To unxavnua, BbetaWteIe OTo 0ToixEio KOTnCdeltavepxetai OEttapn Me kaveva AvtikeIevo. Mia otiyun antpooeiaac katany Leitoupyia tou unxavnmuatoKai mtopei ta pouxa oas n aallo mepoc Tou oomegaatoc va kottie atto T epyaIio.
Av to unxavnu doveitai apuotaKa, otaapatnoTe Tov kivntnpa, elevte to unxavnu ka yia TnV tiavn airtia kai etiokeuaote. Av dev mtopeite va bperte tvn airtia tou ppoBmuatoc TTyaiveTo unxavnu aetexviKO-epbic.
Piv afoeTo mXavnaXwpiE TOTTEia, Ofote To, TEPIeVETe va otuaTnOeIO KoftnC kai atoouvOeTe atio to iktuO.
AToθηκεύτεTa εργαλεία μακρία Ατό Μαιδί.
MnV ETIXEIPNOETE VA EKIVNHOETE TOV OXIOTnpa AV TO EJBOLO DEV EIVAI OTNV apxIK TOU ΕeON.
AiatnpieTa xepia pakia atto ta kivoueva np. Kpatnote Ta xepia oac paikia ato ta koijmuata kai Tc pwyjc Tou avoiyou oTov Kopu kata nTv aeitoupyia koTns, kaowc mTopoei va kleioouv atotota kai va ouvthaiouv n va akpwtnpiaoouv Ta xepia aoc.
Mny aonpaakpuveTe tuxov kOaIneva epn e Ta xepia oac.
Ionte mnu avoiyete To TepiBnma Tou Kivntnpa
Wthonc.Eav eiva atapaiTnTo, ETIkoivwVnoTe M
Tnv TeXVIk nUTnPoeia.
Mny eipnoe va aapieoe kouevo uiko oTov xwpo epyaiac n to epyaio kotn osav iai o Kivnon. Na eiote Bébaioi Oti to unxavna iai atvepytoinuevo katv ekTeaon kaopiaou tuv utoalemuatwv.
Na kóβεte móvo koprouç πou éxouv Ta akpa Kaθετa TPOC Tov ágova Tou koprou. Ta akpa TOW Koprων Tous a KOTUUV PPETEi va εivai oe opη γωvia.
Bεβaiωθείe οTi δεν Uπταρχούν καρφί ἡ ξένα αντικείμενα στους κορμούς τοῦ εἰαινα κοτιούν. Εένα αντικείμενα και καρφί μιπορείνα εκτόξευούν προκαλώνιας σοβαρό τραμματισό.
Mny KOBETe KoprOuC Tnou Exouv KlaoiA. Ta KlaoiAi TpEITeI VA KOIOUv OTO IIO EITINTEO ToV KOpO.
O oxioTnc TpTei va xeiipizetai ato eva atofo. Aaaa aToMa TpTei va Bpiokovtaie aosaa n antootaan EIDkA otav o oxioTnc iivai e Aietoupyia. Note mV enittpTeTEe aalouc va aac Bontheaouv av exi kollnae I kantoioc kopoc.
2.2.1. ENΔYΣH EPTAIAΔ & AΔΦAΛEIAΔ
Na vtuveote katalannla. Mny opate qapoiia pouxa n kounmuata. Diatnpie ta paaiia, pouxa kai yavtia jakpiia ato ta kivoumueva np. Apoia pouxa, kounmuata n jakpiia paaiia mtopei va tiaotovota kivoumuva npn.
Otau xpoiioite auto to epyaieio, pTeTVA φopáte tov akólouθo Εgπλioμo aσφaλeiaç.
Γuaia aαφaεiα.
Akouotikn TpooTaia.
Γavia aαφαλειας
MToTeCs aOpaAeiaC.
A Pioeiootoino! Otav epyaceote ekouotikn TPOOtaia, TpETei va divete
eyautepn Tpooox n Ota oTTiKa onuabia kaohc n aoon acons 0a evai aovteepn.
2.3.AZΦAΛEIA ΣTHN ΠΕPIOXH EΡΑΣΙΔ
Mny xnpoiopoieite auto to mynavmae EKPNTIKEc atmuopapirec, kaowkai otou utpoxuv eupekta uypa, aepia kai okovec. Ta nEktpiKa mynavnata
δημιουργούν σπίθες τοῦ μτόρεῖν αὐαφλέξουν ητήσκόνη πίς αυθυμιάες.
H TEPIOXn Oe akTiva 15 μεTpα yupω αnto to μnxxavnμa πpETe iα θεωpeiTai EtikivDuvn TEPIOXn OTNV OTIoA kaveVac δEV πpETe iαεPxyetai OTAV TO μnxxavnμa εival oE λεitoupyia (TEPIOXn Aσφαλεiας). OTAV εival aTAPAitnto, va xρηοιμθοITe IσχοVIa KAI TPOEIDθIoNTIκá σήμata γia va opioεTE Tny TEPIOXn Aσφαλεiας.
Aiatnpie ta taiia kai touc tepiepyouc avpwnous jakpi a to nTv tepioxn epyaia c kata tvn aeitoupyia tou nxavnatoC. OI aotntaeeis nTn poooxns mtopeiv a Tpokaleoov anwlae eaeyxou. Bebaowte 0TI PAIOIA, tpioi n zwa oev eoepxovtai otnv tepioxn epyaiaC.
Mny xnpoiotoiiete auto to unxavnua otav utapxouv aaaa atoa atnv tpioxn epyaia c Tou dev eivai npoataeueva e pouxa, mTOc, yavria kai yuaia epyaia.
Tia va epyaoteite, toTIOtheTneTo mXavnmae ETTITEo, oipOvTiA eTIAPVEA, kaOpn kai XwpiC xopta, klaia, n aaaa AvtkeiEvva Toumuopei va Emuoiouv TIV oWOTN KIVON Tou xeipotn Evw epyaceTai kai yia va diaopalotiE OtaepoTnta Tou mXavnmuatoC.
AutoTo uXavma TpeTtva va xpoiioTIOeITai e KAtetn The. Note uV xpOoiTOIETe to uXavma o opiovria Thea

O xioTn TpEeV a xeipietai ato eva atofo. Aaaa atoqa TpEeV va kpatouvtai o aopaa n atooataan EIOkA otav O xioTn Eivai e Aeioupyia. Note mnu EITIPTETe OE aaaa atoqa va oac BOnthnoov av o Kopm6 exEi KollnoeI.
Noté μην στέκεοτε πάνω στόν σχίση. Μπορείνα σθήσει σε υμαικό τραμαισύσον τοῦνχάνημα γέρει ἀν ερθετε σε επαφή με τα εργαλεία κοπής.
Mny toTIOtheTe tIOTa TAVN KovTa OTo uXavna WATE KAVEc va mnu TEPaSeI TAVW aTO auto yia va ta qTaaeI.
Mny xnoioutoieute auto to nuXavnuvauxta, ME ouixn n meiwevn opatotnta trou ev aoc EtTIPeTouv va AETTEKaOpa Tnv TEPioxN epyaiaac.
iatnpieTe TnV TepioxEpyaiaG kaBapn KAI ME KAIO FOWIIOo. Na XpnoiIooTE To mXavnuMoVOeTo POwS TNS NEPaC n E KALO TEXVNTO WTIIOo. Akataotatec Kai OKOTIEVC TEPIOXc TPOkALOUv atuxnIata.EAEyTe KAI aTTOJAKPVET OToIA AVtkeIeva MTOpei va TPOkAeouv Znui Oe OAs n To mXavnuu.
2.4. HAEKTPIKH AΣΦΑΛEIA
Na ouvodete autn tyn ouokean o Tpopo0o0a AC 230V/50 Hz yieiwn. TepiTTwo n Bpauxukkawato, n yeiwon tha eiwosr Tov kivduvo nektpotnIxiac.
SUVoTe auto to mXavma o UToAemuAtko diaopikto Tou otioou taon evai ikpotepn n
I 30mA
Oa TpETeI va eEyEeT nTv aeitoupyia tou diapopikou TPIV xpoiIOIOINoTe to uXavna.
MnV EkTeTe To uXavna Oe BpOx n UypeS ouvNkeC. To vepo TOnu EIePExaTo uXavna auGavei Tov KivUvo NkEKTponlIgac.
Noté μην κόβετο το καλώδιο. Yπάρχει κίνδυνος. Μλεκτροπληξίας και βλάβης tou μnxανήματος.
To nlektpiko fic autoou tou mnxavnmuotc tpeTIE va taipiacei me tvb aon tsuTOOoxns. Mny tpOTTOIEITE to qic katkaveva tpOTo. MnpotTOToiueva qic kai taipiaota eiwovuv tokvduvo nlektpottlqias.
ATOΦUYETNv OωμaTIKn ETTaΦn ΜE YEiωμeVc EITIφAVEIE OTWc OλΛνHεS, KαλΟΙΦΕρ, NλΕΚΤΡΙΚΕΚ KouζΙνεΚai μΥΕγίΑ. YΠΑρχΕι auξημενος KIVUVOg ΛλΕΚΤρΙληξιας Θατο Tσωμα σας εΙαι YEιωμενο.
Mny ayyiEte ta kaIawia kai ta qic me pEvyEvaxepia.
Mny kakouetaeipieote to kalwoio. Mny xpoiotaite to kalwoio yia va koubaafoete, va onkwote n va atoouvoeote to uxavna. KpatnoTe to kalwio paikia a tro eepotnta, laoi, aixunpec akpe n tuiuata o kivnon.
KATEOTpaμéva n μπερδενα kaλωδiαιχανουν τούνο ηλεκτροπληξίας.
Noté unv xpnaiuioieite to unxavmae kateotpauevo kaawio n qic. Npv ouvdeoet to unxavmae elevyte to qic kai to kalwio yia znui. Av evtoniote Katoia blambda, oTeiAte to unxavmae eva kevtpo oepbis yia etiakeun.
Av to kaawio eivai kateotpaumévo n oTaaouévo aTouuvóteaueoWc. KaTeopauμéva n μTepoεva kaawoiia auávouv tv Kivuvo nnktpoTnIgac.
H avitakataaon tou n tou kaawoiu npertie va yivetai ato tv kataaekuaatn n ato tnu utnpesia texvikns UTOOTnpiEg.
Mny aoivte To KIbTio akpoekTu vou kivntnpa.Eav eivai attapaitnTo,theta pTe va yivetai atio ExiokuEvno Aektpofo.
Noté μην χροιμοτοίe ΜλΑ ΚΑΤΟΡαμενη Μυδεη, του δεν συμμορφύνεται Με touς κανόνες και τις απαίαιθοείς γία αὐτο το μήχάνημα.
Otapnoiotioite kawio Ettkeaons va iote bbaioi otexeiaoxtn biatoun 2.5 mm2,devivai naw aTO 25m,naVta npwc etuayevo kai katalnnlo yia eWtepikn xpnon.
H xphon kalawoiou eTkeTaongs yia terpiikxphon meiwvei tov kivduo nAektpoTnIaIg.
TToTHeTnOte To kAkwio EtEkeTaOns Eto Wote va uny TiaoTei OE KkAio n Aaaa EmuTobia KaI Etoi wote va uny Eivai Meo a Otnv Tepioxn EpyaoiaC.
Pávta va kpatáte to kalwio μakpiα aTó to εpyaεio kOTTiç.
Mny xnpoiotoiie auto to mnxavma av o diakotnc dev aalacei metaou "avoikto" kai "kEIOIOTO. OTOIOHNTOTE nAEKTPIKO mXavma dev mTOpEVAeYxthetaTov diaKoTTN eivai ETIKIVUVO KAI TPETTEVAETIAKEUAOTE.
Navva va aTIOOUVEETo mXavna TPIV EKTELEGETOIOIAONIOTe Epyaia TAVW Oe auto. Navva va eaxeiipcote To mXavna oTav evai aTOOUVEDEVEVO.
2.5.XPHSH &ΦPONTIA TOY MHXANHMATO
Xpnoiopoioite mOvo Egaptnmuata mXavnpatwv, epyaia kTOnuMwva Tc Tnapouces oanyies kai otTWCvEikvutai, laβavovtac utoyn Tc uVthkec epyaiaq kai nTv epyaia
Tou Pókeiata va EKTELESETE. H xPnAn autou Tou uXavnauos yia xPnAEIs TAnv TwK aOpiouevuvu nIopei va oynynei 0E tIKivUveC kataoTaeei.
EeYTe OI oEs OIO OaKeUc aOaAeaIac EoxuV TOnToTeNtEi Kai Eivai OE KaH kataaon.
Na 0uOoAoTe oI O XeiPiTns Tou uXavnpatos
Eivai UTEUboVoc ia KIVouvoc kai atuxnata
TPoC aALouc avPwTouc n AVtkeiEvA. O
kataaKeuaaTns dev eviae Kaia TepTTwn
UTeuBvoC ia BλaEs loyW kaKns
Lavthetaevns xpnoTou uXavnpatos.
Kpatate to owaia oas maekia ato to epyaieo kottnc kat a tyn xpnoi tou mxavnato.
Mny tieTe to unxavnu. Xpnaioutoiote to unxavnuia tvn owtn epapuoyn. H xpon Tou unxavnuatoc ia tov EvoeikvuoEvo TUTO epyaicac th aoc etitpeei va epyaoteite kautepa kai me yayalutepn ao paiaia.
Iontu ne tixieipnoe va koyete Kopouc
eyautepuoc a to autouc nou evokuvvta oTo
Tapov yxepio kaowc auto mtopei va eivai
ETIKIDUVO yia tov xepiotn, to mxaavma kai
aalouc.
MnV xnpoiuotoeitro nXavnu aovdaiokntns 6ev aaiae i eTaE u"avoikto" kai"kAeiTo
OToIOoHnTote uXavnua v mTopei va eEvxThei aTTOV biaKOTTN Eivai EtIKivuvo kAI TpETeIva ETIOKEuaOTei.
AiatnpieTo mXavnma ouvtnpnevo kai oE kaIkataoan. ELeyTe av ta KIVouEvapn 6evivai eUthetapaumiaeva n KLEIDomega,OTI 6evuTAPxovntaaueva EgaptnaT aalces ouvntke Tou mTopei va tInnpaeaoov Tnv LEitoupyia tou mXavnpatos. Otav to mXavnma exi BaaB,ETIAKEuaote Tpiv atto Tyn xpon. Ponnaatuxnata OuaBaivouv loyw KaKs ouvtnpns mXavnmatwv.
Av to epyaleio koinc ep0e1 oe tpanp me evo avtikeevo kat aynxpnan, atooovdote
To mnxavnma ato To biKtuO kai eEyEe Tpiiv ouvexiae. Av EvTOniae KAtIO Anmuabi Bna, Tnyaive Tnv Movab aTnv TeXviKn utnpesia.
Piv kavete puthetaiace, alambda n aeouap, kaapioo, etaopapa, n attohkeuon tou unxavmuotc, ohtote kai anouvoeote to unxavma, kai baaowite ot to epyaleio kottnc exeiotaatnatoei. Teioia pnoanntiká mtpa aaoaaleiac iwovuvtov kivduvo tuxiae Ekkivnontou nuxavnuatoC.
Byalte to i aTo nTv npiCa Tpv kavete puOieis aAlambda n eouap, n aoThekeuaon tou mXavnuatoC. Teoia TpoanTiká etpa aOaaleiac eiWovuTov KivbUvo txaiae Ekkivnans Tou mXavnuatoC.
Av to mnxavnu apxicv va doveitai kat a Tepiepyo troTIO, oBnote TO kai EetaoTe yia va Bpeite tv aTIA. Av dEv mTOpEITE VA EVTOITIOETe Tnv aTIA tnyaiveTo mnxavnuO SE evav texvikO. OI dovnoei aTOTeAoUv nAVTa EvDcEIG N TpoBnmuotc sto mnxavnu.
Σε περιπτιωπ παρατεταμένης αχροπίας ατοσουνδόετο το μήχανημα από την πήγη ενέργειας.
2.6. ΣEPB1Σ
Iapakaloume va TEpiobikto
unxavnma oac OE ia EIDIK nUTnpeia ETIOKEUNCS
XPOIOTIOIWVAC MOV yVHOIA aVTAAkTIKA.
Auto 0a diaopaiolei OTn aopaleia tou
unxavnatoc 0a diatnpnei.
3. EπιΣHMANΣΕΙΣ ΠΡΟΕΙΔΟΝΟΙΗΣΗ
OIEKETECIPOEIDOTIOINOG UTODEIKVUOV aTaitouueeπpnpopieγia TnV xPnONtou mXavmuoC.

Noté μην στέκεοτε στον σχίση.
MTOPEI VA TIPOKUŠEΙ ΜΟβΑρός
TPAUATIAOμς AV TO εργαλεί O TAPΕI
KλIΩN ἡρθETΕ ΑΚΟΥΙΑ Ε Ε έπαφή ΜΕ
TA εργαλείΑ KOTΠΝ.

KPATHTE MAKPIA ENIIEKENTEKAI PAIAIA

XaIapwote Tny BiOaEaepwongn PIV TNY LEIOUPyIA TOU mXavnmuTO KAI OpiTe 0To TELOG TPIV TNY mETaOpa TOU.

IPOsTATEyTE TA XEPIA ZA Kpatnote ta xepia oac maekpi aTc EkyoTec kai pwyuc Tou avoiouv OTO sUa. MTopei va klaioov faqviKa kai va ouvloiouv n Akpwtnpiaouv ta xepia oac. MnV atOuakpuve tMlokapioeva sUa Ma xepia oac.

Mny tototheite tntota naw n Kovta oTov oxiOtn otou o Kahevac 0a TpeTeva oTa0e i TaWu aTo autov ia va To ptae.

AiaBaoTe To ExyEipio TPIV TPaymuTTOIOeTe OTIOaONIOTe Epyaia ouvtnpnOg OTo mXavna.

iai duvatn n aToukpuovon tou axupou

Tnpnte TIC TEPIOOUs Ouvtnpnoons TTO opicovai oTo npov Exyepioio.

SYNTHPHSE TON XIXETH ME IPOXHX
AiaipnoTe to oxiToN kaOapo VIA KAUtepn KAI aOpaaleTepn atdoon.
ON (To unxavnua eivai EtoiO yia aIoupyia).
OFF (To mnyavnua 8ev mtope i va λειούργησε).

Atoppiye Tnuoukeun oac opyavika. Mny Tnv TteTae 0e doxiea oikiakwv atoppmuatw.
CE a c OoynieC CE (EU TpOtuT).

Xpnoi Kaawoiou EaioTo tmu
2.5mm2,kaixiakputeo
aTIO 25 mEtpa kai Tavva
biaoapaliete OTI Etuivte
4. ΠΕΡΙΓΑΦΗ ΜΗXANΗΜΟΣ
4.1. ΣYNOHKEΣ XPHΣHΣ
Auto to unxavnu aivai yia oikakn xpion kai exi oxediaote i yia tvknt kopuw diaetpu uexpi 35 cm (^) kai myio to nko52 cm (^) ,mu ta akpa koemuva kaeta tpoac tov afoa tou kopou mewalidoi eosw tnc trieongiounpveitai ato eva ubpaualko eboalo to otioe epapucoei tnaytioa otov kopo. OTOIAODNTOTE alan xponu nptoe va elai etnikivouny ia eoac, atoja, wkaai avticikeeva TPOBIOKovtaipuyw kai nporei va balei to unxavnuHa xponouu xnaovatoc yia aalces atto tic TPOBLeTIOpeVc aeIToupyie c nporei va obnynei e ETTIKIVUVEc Kataotaaei. Na xponauotoiite to unxavnuo e Eomegaepiko xwo, o eTeyv oTEPIbAALov kai eepokpaaoic es metae 5°C kai 45°C.
Na 0uioaaote oI O xeiipoiTs Tou uXavnIaToC eivai UTEUuvoc ia KIOvoucs kai atuxnIata Tpoas aalous avpwoTou n avtkeiEvA. O kataoKeuaaTns dev EUoVetai OE kaia TepiTTwn yia ZnuiEs loyow KaKns havOauevns XpnoTou uXavnIaToC.
4.2.AENTOMEPHS NEPIIGPAH TOY
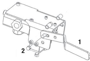
IPOIONTO
- MoXloε ΣλeYxou
- YopauIkoU
- Ααβή μεταφορός
- MnXavn
- Tpoxo
- Aεπiδα
- Pooatauteukic aantioe
- Μάνκος ἔργασίας 2
- Bīða καθαρισμού
- Bao

Oi Eikovc Ka t a oxedia oTo Tnapov Evxepioivai Kata Ptoeoyian kai mTopei va mV avTIOXouv ME to TpaayatkoTpoiov.
4.3. TEXNIKA XAPAKTHIANTIKA
| Περιγραφή | ΣχΙΣΤΗΣ ΕΥΑΟΥ |
| Μάρκα | Garland |
| Μόντέλο | CHOPPER 452 ZE- V17 |
| Κίνητήρας | Electric |
| Τάση (V) - Συχότητα (Hz) | 240V-50Hz |
| Μέγιστη ιαχύς (W) | 2100 S6 40% |
| Διάμετρος του κόρμου προς κοπή (cm)* | 7-35 |
| Μήκος του κόρμου προς κοπή (cm)* | 52 |
| Μέγιστη δύναμη κοπής (t) | 10 |
| Ιξώδες ύραυλικόν λαδίού | ISO HM22 |
| χωρητικότητα δέξαμενής ύραυλικόν λαδίού (I) | 4 |
| Βάρος (kg) | 98 |
^* H diapeptosou kopou eivai evdeiktiK. Eaac ikpoc kopoc mtopei va eivai duokolo va diaxwiotei av exei kouitoun oaknp iva. Atnv alnn nepia, o diaxpiogoskopuw v Kavovikcs ievc dev pntei va eivai duokoloc akoma ki av n diapeptoc uterpbaive tnyeioTn.
Θα βρειte πληροφορίες σχετικά με Φοντέλo και ονσεριακό αριθμό στην επιγ επικετα που βριακεται στις τχενικες πληροφορίες του μηχανήματος.
Ta texvika xaapaktnpiotiká μTPOPe i va TpOToTIOINθouv χwipic TpOnyouEvn εIδoTioiOn.
5. OΔHΓΕΣ EKKINHΣHΣ
5.1.KATAANOYAIKQN
AutoTo mnxavnua TepilauabeTaakoloua eDTo aToia 8pEITEeOa otv oukeuaia:
Mnxavna.
- MoXloi λειτουργίας (A) (x 2)
(B) 亚
PpOoTaTeUtiKa BiδεC (C) (x 2).
Evyxεipio xρησης.


PPOOEKTiKa aapaieote oLa ta eDn atto nTv OuaKEuaia kai iW i otU TTAPxouV oaa avaepovtai otN VlaTAt. ELeyTe TPOeKTiKa to TPOIOv ia va BEEaIwOeTe 0f DEv UTTAPXouV ELATTWATiKa OTOIXEA.AV BPeITE ELATTWATiKa OTOIXIA n KATOIO ato auta LEITE mnu XpnoiIOToINoTE To mXavnmu MEXpi VA ETIDIOpOwOeI TO EALATTWuA n TApETE OLA t KaUMATia Tou mXavnmuToC.H xpnAn autoTu Tou mXavnmuToC xwpic Ola Ta mEPn Tou n Me ELATTWATiKA MTOpEi va TTPOkaLEeIe OoBapo TpaumatiO.
Mny TATE TNY OUAKEuaaia Tou mXavnauoC
eXpi va BEEaIomegaEITE oTe exete IaBei Ola Ta
ePn kai otN OuaKEuH LEIToupyei Owotá. H
OuaKEuaia 0a Eivai aTAPaITn av Xpeiaotei va
ETIOPTpeyTe To mXavnua.
5.2. ΣYNPAMOΛΟΗΣΗ
Mny TETATE TNY OUOKeuaoia Tou
mnxavnatoC mExpoVa BEBaiWtheOti Exete
lambda 60 Ta Mepn KAI OTN OUKeun LEIToupyei
omega. H OUKeuaoia Oa Eiva antapaitntn av
xpeiaotei va Etioptpeyete To mnxavna.


B

C

D

E

5.4. EKKINH∑H
5.4.1. TOPOETH H TOY MHXANHMATO
BeBaiWteIe otEeTe TOTIOeTIOeI TO mXavnua
Oe Otaepn ETiPavEia KAI OE KATAKOpUph Tea
OE MIA TEPioxN JAKPIA aTO ToIXo KAI OTTOA
ExETe apKETo Xwpo YIA VA EIATE OE Theon Va
EpyaoteIe.
5.4.2. ΣΗΜΕΙΑ ΕΑΕΓXΟΥ ΠΡΙΝΑΝΟ ΘΗ ΕΦΑΡΜΟΓΗ
H taon kai to peuma tropoooiaac npetie va oumopwpovotai me TIC evdeigeic tou nivaka. Pniv Eekivnoete Tnv epyoia, Bbaiwtheta ot n ouokeu n leitoupye owoTa kai n leitoupyia eivai aqawalnc.
MnV xnpoiotoiite To mXavna av exi BlaBn n eivai aOoc puthetauévo.
XpnoioutoioTe to unxavnuia tvot okoTIO yia tv otioio exixo ediaote. OTOIAOTIe aALn xpnou TIOpe va eivai etIKivDuvnyia tvxpoT, to unxavnuKaia toua, cwa kai avtikemuva TIOBpiokovta TPIUPw.
Eλέγετε:
-To mnxavnua 01e0oikakai 0e1eYia xalapa n ElambdaTomegaTikα μepn (βiδες, taξiμδiα, kλπ.).
- OII ta KIVOUeva hepn Tou uXavnIaTOG eV epxovTai OE tTApn ME kaveva aVTiKeIevo. ZphiTE, ETIOKeUAOTe n aVTiKAATAOTNE 0TI XpeiaZeTai PPiv XpnoIIOITOIoTe TO uXavna.
Mny xnpoiotioite oTo uXavnaKavevaegouap EKTOSaTO auta TousuviotwvtaTTOvGarlandKaOws MTopei va Odynoov SEoBapop Taupatmo Tou xpntou mXavnatoS, KAI TOW aToow, WoW KAI avTIkeIeewv KovTa oTo uXavna.
EeEyTe TnV OaOun Aoi Ku BaeaiwOte Oti
Bpioketai MEtAUG Wv Doo EvOeEwO Tov Eiktn
Tou Bpiaketai KATW aTO TIV EIOO TNS TtIac
Aoi (9).Av eivai KATW aTO To XaunAoTeo
ETTIIEO Oa PPETEVA PPOOeOe TAL.
EeYTe 0I eV utpXouv diappocc oTo
mXavma.Av eTOniaTe diappocc Tnyaivte To
mXavma ia oepBis.
EλEyTe TO kaλωδio KA tNv KA tασaON tou δiakóTTN. Av EVTOTIσΕTE KATIOIA avμαλia μNv ξEKIVnσΕTe TO μNχανημa KAI TINγaïvETe TO yia σερβις.
5.4.3. EKKINHSH KAI NAYSH TOY MHXANHMATO

- XaIapwote TnV BiDα Εαερωης wote o αερας va μιθοείν αιερχεται kai va εξερχεται στην δεαμενή
xwpi TpoBmaT. H pon Tou aepa Tou Eepxetai eaw tns otnc ts Biac
Eaepwns TpETei va evai avxveoui n kata tv N
Leitoupyia Tn sOukeunc. Av dEv xaapwoete Tnv BiD aEaepwns, o aepac OTo EOwTeipiko Tou Upaalikou ouotniatoe Ev MTopei va Byei,
ouptieovtacs Etoi To iio ME KaeKivnon Kotntcs Tou axiotnpa.Autn n tiean Tou aepa mtopei va TpokaleeI bAgnTo Upaaliko OuaTnma,
Tpokaewtac Moviin BAlaBn 0To mnxavnma.

- EvépyoToiñóTe to μηχανημa πatówvtac to πρáσivo kouμπi.
Σημειωη: Otav θερμοκρασία ειαι χαμηλή, αφηοτe tv σχιστήρa va λειούργησει ΘΟρελεντί γι περίπου 15 λειτία τοτο λάδιν θερμανθεί στην σωτήθερμοκρασία.
5.4.5. ΣHMEIA EΛEΓXOY META THN ΕΦAPMΟΓH
Eivai onnauvi o divete onnaia o TIIthav xaIap aepn tou nXavnmuo n TIV 0epuokpia autou. Av EvtoTioe KATIOA avwaiia oTo nXavnuOa otatnote aoeowc kai EEvTE TPOOEKtIA. ZEPiTTwn OTIOAOHTOTE dualeitoupyiaoc Tou nXavnuatoC TTyaiVE TO nXavnuY ia EITOKeun. ZKaia TEPiTwn DEv TPETei va ouvexizTe Tnv xpOn Tou nXavnuAtoC av n LEitoupyia Tou dV paiveta kalalnn.
5.4.5.1. EΛEΓXΟΣ TOY ΣYΣTHMATO ΣAΣΦΑΛΕΙΑΣ
EeYTe 0To oUToa aOaAeiac Aetoupyei
oWota eVxovTaTO uXavnua xwpiKopuO.
Tia va To KaveTe auto, Obnote To uXavnua
TatWvTaTov biakotn Kai TIEZovTac Duo
UpauiKa XeiPiTnpia TaTOxPova, n AETiIda
0eKivnoTnv KIVnoKOTnC. Evw n AETiIda
KiveiTai OtapatnoTe VA TIEcTe Tov apIOtepo
Oxlo Ka I AETiDg Oa TpTeIva OtapatnoEi Ka
VA EITiOppeI OTnv APxIK Theon. TTV OUVExia
EkTEeTe TIV iDla AEIToupyia DOKiM
Eav eTaNv DOKiun EvToTIOeTe OTo TUxAynua
DeV LEIToupyei OTWc TEPiYPaPefai Oe auto To
Onueio nu vXavaxpOoiTOINoTE To UxAynua
MeXpi va EeYxThetaIoEv AxTKVko.
5.4.META THN XPHsH
Molc staatae vXpnoiortoe tOxavna:
- ATOOUVDEOTE TNY TINYN TPOPOOOSIAC TATWVTAIG TOV DIAKOTNI ONTNY ΕEON “O”.
2.ATIOOUVoEoTeTo mXavnua. - Otav otamahtoe va xpnoiopoieite to unxavna opiEte tvn biOaepwoons yia va atotpatiei n diappoN laiou.
6. XPHZH MHXANHMATO
Xpnaiouoioane auto to mnxavnma ovo yia touc oxediaocoevouc oKOITouc. OTOIAOHTIOTE aann xpnoi eliva etikivounv kai mtopei va tpokaoleoiomegaatiko tpaumatio kai/na 0To mnxavnma.
Iotpé unv tiézete tov oxiotnpa yia tpiepiaootepo aTó 5 deutepoAETTA tiéovtac o eva koprO TToLu duvatá. Meta ato auto to diatnμa, to λàδι utó trien μtopei va utepeμavthei ka va Tpokalaei βλaβn oTo mχavnμa. Iα Euaεaipetikns, oλnpotntac, yupote tov koprO 90 moipeç kai TPOOTAAHneTa va to kψete OE aln θeən. Eav akoua dev ttopeite va kψete tov kopró, auto onmaivei oTI UTEPBaive ta eTTIPETIOeva opia oKlnpotntac ETTOEvwO KoPoc s TpETTe va napaepiote i yia va aTToTpaTei βλaβn oTo mχavnμa.
Σημειωη: Attayopeuεtai auotnpa va xρποιοτοεiτai o αχιστηρας attó duo atoua οτου to εva σφίγει tov kρμό kal to aλλο πιεζι touc μοχλούς. Kλειδωνovtac εναν μοχλό (via va λειοupyει μόνο με εναν) επιας attayopeuεtai.
6.1.KONH EYAN
1.Akouohta Ta Bmuata oTo oMuio 5.3. "Ekkivnq".
2. TOnToEtNoTe Tov KOpO Tiavw OTov TAYko Epyaioac Kai TiaoTe Tov Otaepea eTaEsu Twv OphiKtnpWv. BeBaiWteIe Oti Okopo6 DeV ToakizE, KIVEiTai n YAIOTpaei KATA TnV KOIn.
3.Παπηθετατυχρονα touς οὐ υύραυλικους μοχλούς ελέγχου προς τα κάτω. Autó to
unxavnma ex2 taxutntc aeitoupyiac nou puthetaovtai TIEQovtac TIO duvatatouc loxlouc.
- Σπάθετον κόρμό.
- 2TaaatnoTe va TIEcTe Touc moXloUs wote va apaiaepeI e I eTiroa.
- MoIc olokPwEi n epyaia, aKoIouOHTe Ta uata sto onueio
7. SYNTHPHSH KAI ZEPBI
MnV EITIXEIPNOETe VA KAVETE PUOIOEIC OTO mXavnaEvwTo mXavnaEvai OE LEIOTUPOYIA. Na EKTEAEITE KAE OUVTNPOON tou mXavnuATOC 1e auto TOTIOETNUEVO EETINIEON, Kaapn kai Otaepn ETIKAPVEIA.
IPOEIAOIOIHsMnV tpoTioiEITEo mXavma n ta oToixeia KOTINc (AETIOa).Aavbaouevn xonn autwv twv stoiexiwv mTopei va Tpokaaleoi SOBAPOIPOZNIKOTPAYMATIEMO H OANATO.
Apaipoeon twuoukeuwv aqwaaleia, kakn ouvtnpo, n avikataotaeic me n auovtikavtaaakkia mtoepi va pokaoleouv owmatkn
Na ekTeLeite ouxouc elvexous oTo unxavnuia ia va diaoqaliaote aTOneaeogatikn aeitoupyia tou unxavmuatoC. Ia TAnpnoelvxyo, ouviotoume va TATE TO unxavnuma oE Txviko yia oepis. Na xpanoiotoeite mOvo kataaAna avtaaaktikaya auto to unxavnuma etoi wote va biatnpneTe nV Owotn atiooan tou unxavmuatoC.Auta ta avtaaaktiká mtopeite va ta Bpeite OTous eTionnoucs diavoueiC tou unxavmuatoC. H xpnan alww vavtaaaktikwv mtopei va pokalee i kivovouos oTo xpnnt, atoqa triyupw ka 0to idio to unxavnua.
7.1. SYNTHPHSH KAI φPONTIDA META THN XPHSH
Na EkTeEeIe TIGTAPAKATU Epyaies Ouvtnpnons
kai FpvovTiOAsOTAVEXETELEIWoeiTNV Epyaia
muTo mynxavnua yia va oiaqpaalotei n oua
lambdaouyia autou kai oTOpeLiov.
7.1.1. TENIKA ΣHMEIA ΕΑΕΓXOY
ELevTe to uXavnuKa oEite yia xaapa epe (BIOEC, TAsiiaOia, KALUOP, KLI.) Ka BAbEc.
ZIeTe, Etiokeuaote n avtikataoTnote Ta epein
Tou Ev ev iai OE kaH kataoTaon. BebaiwOeit
OTEV UTPxovu DIappoe n atWLaia laiou.
Mnv xpooiotoiTe to uXavnuA ov exi Blabe
n evai KaKo puOmuEvo.
7.1.2.KAΘΑΡΙΣΜΟΣ
Kaθapiote Ta περιβλήμata tou μnxavnμatoc με εva πavi βρεγμένο με vερό. Noté μην xροσιμοτοίeite βενζίν, δίαλιτικα, αΤΟΡΠΑΥΑΚΑ, vερό ἀλλού uγρό γιαν a Kaθapiσεte to μnxavnμa.
7.1.3.AKONI\SMO TH ΛΑΕΠΙΔΑΣ
Me Ta TnV xpnoTou oxiOtnpa yia KaTIOIO xpvioKo diaotma, av oite otI n aeTIDA exEi 0aTiwoei akoviete me ia aTAln kai aeTTIn oovtwinlambda.
7.2.IEPIOAIKH YNTHPHsH
Na kavete taktiouc eleyxouc oTo uXavnma etoi wote va eaoqpaiaotei n aTOTEaouatikn aeitoupyia tou uXavnmuo. Tia ia pnp ouvtnpon, ouviotoue va TATE to uXavnua oTOV TEVIKOaC.
7.2.2.AAAMTHTOYYAPAYIKOYAAIOY
IPOEIODOIHHE! PPETIE va TATEIaIO IaOI OE iKtuo aywov n otyn yN. H oLuvon TwU UTOYEiwu OATWkA TOEITIPaTeziou Vepou uTOKeivtaeBapia pTooTaJa. YIApxouV
Eiikka onueia oulloyns eTnpatnpia kaouipwv. Av oxi, oioiaonTote dnojotikn apx n 0a cdooei Tc xetike s npopopiec.
AALaETo uOpaUAIko AaI ta aTcKaTe 150 wpeXpHOnS.
EkTeLeOe Ta akolouo a Bnmuata yia va aAaXeTe To lai:
1.Bεβaiωθeite οτολa τα KIVOUμεva μερη του μηχανπμatoς éxouv σταμatnσει κai οτι είναι αποσυνδεδεμενο.
2. TOTTOETIOTE EVA DOXIEO ME XWPNTIKOTNA YIA VA ATIOENTKNEUTE TO LAIOTU OPNOTIOINKETOYxIATNPA (8 IITPA) DITLA OTNV TATTA ATOATPpvyionc.
3. Ebiowte TnTATA aTOOtpayionc KAI TEPiEvETe MEXPO OAO TO AaI aTO EwTePIKO VA ExI BVEI.
4. Σπρωξετην λεπίδα μέχρινα φτάσει κατω γιανα εξασφαιλισειότι ολο το λάδι βγαίνει.
5. Biodωte tynrataa arooTPayyionc.
6. εβιδωτε Σγι τάτα πλήρωσης (9) και γεμίοτε με 8 λίτρα καίνουργίον ὅραυλίκό λάδι.
7. Kaθαριοτε Tov δεικηλαδιού και totοθεπηοτε Tov μέσα Στην δεξαμενήλαδιού γίαν ελέγξετε Tŋv σταθμιου.
8.Na eioTe Bébaioi OTo I λδoi éxie apkeTo EITITEoWto I λδoi va paivetai Otny pαβo aváμεσa OTo duo Σημδia.
EAEyXETe TEPIOkA TnV OaOJn Aoiou KAI
BbaIwOEtE OI Eivai MTeAUG Twv DuaOnmuTov
OTov OEiKn OTaOpNc Aoiou. Av Eivai Katw atio
To xanloteo 0a TTpeTEI VA TPOOeTe Aoi
Tia TnV OoTn LEIoUPyIA Tou Oxiotnpa Oac Me
Upaaliko ouotma Muetaooans XpnoiIOTOINOTE Aoi
Upaalikns diataqnc Me IIOITNEC kata nS phopac,
tns oeiDOWNS, TNC DiABPomega, uynlo IgwoEc,
Xaunlo anueio nnngkai IgwoEc BaOmu ISO HM22.
8. EπIAYΣH ΠPIOBAHMATQN
Av to uynxavnma vekivaei ouuwpwa ta oumttwmuata a mtopoeetva evtontioeTe nvi aia kai va luose Te to Tpoblaeta:
| Πρόβλημα | Αιτία | Λύση |
| Αποτυχία κατά την κοτή τουκομό | Ο κορμός δεν ἐχεί τοῦθετηθεί σωστά | Διαβάστε οτο μήμα “Xρήση” γίανν TOTΟθετήσετε Σου κορμό με οτο Κατάλληλο τρότο |
| To μέγεθος ἡ η σκληρότητα τουκομό Αντερβαίνουν τήν Ικανότητα του μήχανήματος | Meιώτε ο μέγεθος τυν κορμών πριν οιας δίαχωρίσετε με οτο σχιστήρα | |
| Υπάρχει διαρρόν λαδίου | Εντοπίσε οτη διαρρόν και Τηγαίνετε Οτον τέχικό σας | |
| 'Εγίνε μήν εξουσιδόθιμένη ρύθμιασιη στην βίδα περιρίσμου Κης μέγιστης πίεσης | Επικοινωνήσε με οτον τέχικό σας | |
| H λεπίδα κινείαι απότομα, Κάνει περίεργους θερύβους, δονείαι Τολύ, ή δεν επιστέρέφει στην θέση τής | 'Ελείψην συραυλικόν λαδίου Και Αντερβολικός αέρας στο σύστημα | Ελέγες ο επίπεδο λαδίου και ανεφοδίσετα Αν χρείζεται Επικοινωνήσε Με οτον τέχικό σας |
| ρροές λαδίου γύρω αἰτό του κύλιδο | Πεπίαμένος αέρας στο ιδραυλικό σύστημα κατά την χρόη | Xαλαρώσε Πην βίδα εξαέρωσης γύρνωντας τήν 3 με 4 φόρές |
| H βίδα εξαέρωσης δεν ἐχεί σφίχτει πριν τήν μετακίνηση τής συσκεύης | Σφίζε Εην βίδα εξαέρωσης πριν μετακίνησετε Τ μήχάνημα. | |
| H τάτα αποστράγγισης λαδίου δεν ἐχεί σφίχτει σωστά | Σφίζε Εην τάτα | |
| H βαλβίδα uδραυλικόν ελέγχου kai/ŋ οι ευώσεις ἐχουν φθαρεί | Επικοινωνήσε με οτον τέχικό σας |
9. METAΦOPA
Iavva va eTapepeTo uXavmae Tov Kivntnpa 8nro.
PivmuKvnoTeTo mXavnu,va EIOTE
Bbaioi OTExe TouvOoei Touc duo moXloUc
Eevyou wote va atopexuOei OI pOc ta Ew
KIVoEIG EIOOPpOTnOg TuXaia va Tpaumatouv
AvpWtouc kai va Tpokalaeouv BλaEs e aA
mXavmuata Toun Biokovta Kovta.
Tia va atropeuxthetai diappoun opaaulikou laiou, TOTe mnu eptepetotov xiotnpa oTO pai kai OpiTe Tnv biD aegpwons.
Pávta va αφήνετην λεπίδα κάτω γία την μεταφρό.
TnV mTaopapns oukeunxpoaioutoinote Touis ibous troxoucs. Kpatnte Tnv oukeun ato Tnv λaβkai tpaβnεtε.
Av Tpétéi va onkwoete To mnxavnua eléyxto
Bapoc Tou Ota texviKa xapaKTnpiTikä TpWtva
va Bébaiwθeite oti eivai Bapoc Tiou avTexete.
10. ANOθHKEYΣH
AToeKueoTe auto To epyaleio oepeos otou dev exouv Tpo0baon Taiia kai aopalec wote va unv atotetalei kivuvo yia kavevav kai v evai oteyvo, kaapoi kai oe pkoopaia eTa6o 0^ kai 45^
PivnatoNKeUoTeTo mynxavnaa akoLouHnoTe Ta omeia Tou Kepaaiou ouvtnpno.
Iavva va aTouovEeTo uXavnua Tpiv to aTtoNkEoTe. Byale To Qic aTó Tnv TpiZa Tpiv aTtoNkEoTe To uXavnua.
Σφίξτην βίδα εξαέρωπος γιαν αποφεύχθεί διαρρόν λάδιου.
11. ANAKYKAΩΣH KAI ΑΠΟΡΙΨΗ MHXANΗΣ
PpOoTATEUATE TO TEPiBaalov. Avakukkwote To xpoaiotoinuevo laoi tou mXavnuaToC oe KevTro avakukwanoC. Mny pixveTo xpoaiotoinuevo laoi e aioxeteuoeic, oTo Edaoc, oTiotaia, liuec n balaaoec.
AToppiye TnV OoKeun OaC BiwoIO TpOIO. TpeTIE VA
TTATE Ta nXavnmuata TA oIKiak
aToppijmuata. Ta Tlaatikka

μεταλικίσοιχέσι μπρούν vα ταξίνομηθουν και avαλογα με την φύση τους vα ανακυλωθουν.
Ta uliká ouokéuaiaç tou mχavnμatos εiαi avakukwaiμa. Napakaouμε mν TETATE TNY ouokéuaia με ta oikiaká

aToppiuata. Na TATE autc tic ouakeuaoc 0E Eriannu anueio uauoyns.
12. OPOI EΓΓYHΣHΣ
12.1. DIAPKEIA EITGYHSH
-Σμφωνa με τούς παρακατω ὅρους (1999/44/ EK), η διαρκεία της εγγύŋος εἰναι 2 χρονia από την ημερομηνία γαρος και καλύπτει ελαττωματικά εξαρτήματα του σφελονται σε σφαλμένη κατασκεύη.
12.2. E3AIPSEEIS
H eyyunon tns Garland 0ev kaUttTtEi:
-Egaptnmuata nou exouv apei loywu oioyoikns oopac.
KaKxPnO, aEaia, aTouoia ouvtnpnO.
AtoxieC TIOIPOKUTTou LVyW EoqaMaEvns XpnoS TO TPOIOVTOG.HGarland E V8eUoUVetai eav Ta aVTiKaataOTnueva EaaptnmuTa Tou mXavnatoC E ivai aTTOv Garland kai eav To mXavnaMuETaTpaTei Me OTIOIOVHNTOTE tOIO.
12.3.EΔAΦIKH EKTAZH
H yunon nG arland kautie Twopa.
12.4 ΠΕΡΙΝΤΟΣΗ ATΥΧΜΑΤΟΣ
H Eyyunon 0a TpEe i va oumTnnpw0ei μe 0e Tc aTAPAITNE Tnpoopopie c kai 0a TpEe i va eTIouva0ei 0e autn to Tiioyio n to TpapaatikO ayopac.
IPOEIOIOHSH!

IIA TH IAZΦAANIH THE ΣΩΣTH ΣAEITOYPΓIA Σ TOY MHXANHMATO ΣA Σ KAI TH Σ MEI ΣTH Σ AΦAΛEIA Σ ZHTAME NA ΔIABAZETE OλOKʌHPO TO EΓXEIPIIDIO XPHI Σ IPOZEKTIKA I PIN XPHSIMONOIHSETE TO MHXANHMA.
O kátωθι utoyεραμένος, Lisardo Carballal, εξουσιδοτημένος από την Productos McLand.S.L., με ην παράτω δεύθυνοι C/ La Fragua 22, 28932, Móstoles, España, δηλώνει ὄτι τα προίοντa Σης μάρκας Garland μοντέλa Chopper 452 ZE-V17 με αύξοντa αριθόο του ἐτους 2017 και μέτα (to ἀτος κataσκεύς κATAδεικυέται εμφανώς Οήν πιναίδα αυγνώριαίς του εργαλείου, ακολουθουμένος από του αύξοντa αριθόμ) και ηειούργία του στόμιου εἰναι "Mnxáνŋμα με κινητήρα σχεδίαςμένος προς χρήσε μεόνιμη θέση, το στόμιο δίαθέτει ᵋνή περισότερου κοπτήρες με σκότό του κataτεμαχίομο oγκωδύν opγανικών uλίκων.", συμμορφωνεῖι με ὅλες Σιαπαιŋσείς του αναρέροντa Πήν Μόγία 2006/42/EK του Eupωπαίκου Koivòβouλίου και του Συμβouλίου Ιζι 17ης Maïou 2006 σχετικά με τα μnxavúnta και τήν ποτοποίηηη Σόθηγίας 95/16/EK
EtTtIeov, ta epyaEia auta oumuoppwovvtae Tc attainaeic twpapakatw koivotikw odnyiw:
- Oñyía 2014/30/ει του ευρωπαίοι κοινοβόλίου και του συμβόλίου της
26ns Φεβρούαρίου 2014 για την ευρόνιση των νομθεσιών των κρατών μελών σχετικά με την ηλεκτρομαγνητική συμβατότητα (avδιατύπωση)
- Odyia 2000/14/EK tou Eupwtaikou Koivobouliou kai tou Suibouliou tns 8ns Maou 2000 yia tv npooyyion twv vovooeoiw twv kpatuw eawxetiká e nV EkTIOIπθopBou oTo TepiBaAiov atio eoTIAIOO tpoc xpron oEgWteipkoUs χwpous
- Ośnyia 2014/35/εε tou ευρωπαίκου Koivοβουλίου και tou συμβουλίου της
26ns Φεβρουαρίου 2014 γι την ευρόνισι των νομθεαιών των καρτών μελών σχετικα μει τη διαθειδίπτα στήν αγορά ηλεκτρολογικόύ uλικόύ του προρίζεταιν χρησιμοτοιηθεί εντός σριαμένων σρίων τάσς
- Evapuoviaévo πρόtuio: EN 609-1:1999+A2:2009
EN 60204-1:2006+A1:2009
EN 55014-I:2006+AI+A2
EN 61000-3-2:2014
EN 61000-3-11:2000
EN 55014-2:2015
ΕύκολοΕγχειρίδιο