CHOPPER 452 ZE - Spaccalegna GARLAND - Manuale utente e istruzioni gratuiti
Trova gratuitamente il manuale del dispositivo CHOPPER 452 ZE GARLAND in formato PDF.
Domande degli utenti su CHOPPER 452 ZE GARLAND
0 domanda su questo apparecchio. Rispondi a quelle che conosci o fai la tua.
Fai una nuova domanda su questo apparecchio
Scarica le istruzioni per il tuo Spaccalegna in formato PDF gratuitamente! Trova il tuo manuale CHOPPER 452 ZE - GARLAND e riprendi in mano il tuo dispositivo elettronico. In questa pagina sono pubblicati tutti i documenti necessari per l'utilizzo del tuo dispositivo. CHOPPER 452 ZE del marchio GARLAND.
MANUALE UTENTE CHOPPER 452 ZE GARLAND
- Introduzione 62
- Norme e misure di sicurezza 63
- Segnali di avertenza 69
- Descrizione della macchina 70
- Istruzioni per la messa in moto 72
- Utilizzo della macchina 74
- Manutenzione e assistenza 75
- Localizzazione e identificazione dei guasti 77
- Trasporto 78
- Magazzinaggio 78
- Informazioni sullo smaltimento e il riciclaggio dell'attrezatura 78
- Condizioni di garanzia 79
Dichiarazione di conformità 80
TRADUZIONE DELLE ISTRUZIONI ORIGINALI
Ref.:GCCCHOPPER452ZEV17M1217V1
DATA DI PUBBLICAZIONE: 29/12/2017
DATA DI REVISIONE: 29/12/2017
1. INTRODUZIONE
Vi ringraziamo per l'acquisto di questa macchina Garland. Siamo sicuri che apprezzerete la qualità e le prestazioni della macchina, che vi renderà agevole il lavoro per un lungo periodo di tempo. La presente macchina dispone della più completenesse professionale rete di assistenza tecnica a cui rivolgersi per la manutenzion, la risoluzione dei problemi, e per l'acquisto dei pezzi di ricambio e / o degli accessori.

ATTENZIONE! Prestateoltaattenzione atutte leistruzioni avventenzi di sicurezza.
La mancata osservazione delle norme qui di
seguito elencate più provocare - comme consensozza - scossa elettrica, incendio e/o serio infortúnio. Prima diutilizzare la macchina si prega di leggere attendamentele istruzioni del presente manuale riferite alle correttemodalità di messa in moto in sicurezza.
A Questa macchina è per uso domestico ed è stata creata per tagliare tronchi fino a 35 cm. di diametro () e un massimo di 52 cm di lunghezza(), con le estremità tagliate perpendiculari all'asse del tronco mediante cseoie, grazie ad una pressione generata da un pistone idraulico, applicata al tronco mediante una lama. Qualsiasi altri uso potrebbe essere pericoloso per persone, animali e cose che si trovino nelle vicinanze e potrebbe danneggiare la macchina.
Tagliare soltanto tronchi che abbiano le estremità perpendicolari all'asse del tronco. Le estremità dei tronchi da tagliare devono essere ad angolo retto.
Assicurarsi che non siano presenti chiudi o altri oggetti estranei sui tronchi da tagliare.Oggetti estranei e chiudi possono essere proiettati fuori e causare gravi danni alle persone.
Non tagliare tronchi che abbiano rami. I rami devono essere tagliati di seguito al tronco.
Non utilizzare questa macchina per tentare di tagliare qualiasi altri oggettoto che non siano tronchi. Questa macchina e i loro dispositi vi di sicurezza sono disegnati per tagliare tronchi di legno. Cercare di tagliare oggetti differenti da tronchi in legno più essere pericoloso per la sua sicurezza, delle persone e animali che si trovino nelle vicinanze, per la propria macchina e per qualiasi casa nelle vicinanze della stessa.
Non utilizzato questa macchina per tentare di piegare, segnare o incidere oggetti. Questa macchina e i loro dispositivi di sicurezza sono disegnati per tagliare tronchi di legno. Utilizzato la forza idraulica che genera per qualsiasi alla applicazione è totalmente proibito e più essere pericoloso per la sua sicurezza, delle persone e animali che si trovino nelle vicinanze, per la propria macchina e per qualsiasi casa nelle vicinanze della stessa.
*Il diametro del tronco èindicativo. Un tronco piccolo
può essere difficoltà da divedere se ha nodi o fibre
resistenti. D'altra parte, non dovrebbe essere difficoltà
la divisione di tronchi con fibre regolarianche se il
diametro supera il massimo.
Per evitare un uso improprio della macchina, prima del primo utilizzato leggete attendentamente le istruzione del manuale. Tutte le informazioni cont∉ne inesso sono rilevanti per la vostra sicurezza personale e di quella delle persone, animali o cose presenti nelle vicinanze. Per qualsiasi chiarimento riguardante le informazioni contente in questo manuale vi preghiamo di rivolgervi ad un professionista o di andare dal punto vendita presso il quale avete acquistato la macchina.
Conservate tutte le awertenze e le istruzioni per vostra referencia futura. Se in futuro pensate
di vendere la macchina, al nuovo proprietario non dimenticate di consegnare ancile manuale.
Il termine "macchina" che compare nelle avventenze si riferisce al presente macchina collegata alla rete.
L'espressione "Interruttore in posizione Aperto" che compare nelle istruzioni significiva che la macchina spenta, nella l'espressione "Interruttore in posizione Chiuso" significiva che la macchina è collegata/accesa.
Ricordate che l'utente è responsabile per incidenti e danni a se stesso, a terzi e cose. In caso di incidenti e danni personali, a terzi o cose le responsabilità ricadono sull'utilizzatore. Il fabbricante non sare ritenuto in alcun modo responsable di eventuali danni causati da abuso o uso improprio della macchina.
2. NORME E MISURE DI SICUREZZA

Per evitare un uso improprio della macchina, prima del primo utilizzo leggete attendentamente le istruzione del manuale. Tutte azioni cont∉ne inesso sono rilevanti per la sicurezza personale e di quale delle persone, o cose presenti nelle vicinanze. Per qualsiamenti riguardante le informazioni cont∉ne lo manuale vi preghiamo di rivolgervi ad un onista o di andare dal punto vendita presso il rete acquistato la macchina.
Il seguente elenco di pericolì e precauzioni include le situazioni più probabili che si possono verificare nell'uso di但这a macchina. Se siete in una situazione non descritta in quello manuale è necessario il buon senso, cercando di far funzionare la macchina nella maniera più sicura possible o, se vedete pericolò, non utilizzare la macchina.
2.1. UTILIZZATORI
La presente macchina è stata progettata per essere utilizzata da persone adulte, le quali hanno fatto e ben compreso agli istruzione. Questa macchina non può essere utilizzato da personne (compresi i bambini) con ridotte capacità fisiche, psicologiche o mentali, o mancanza di esperienza o di conoscenza.
Attenzione! Non permettere mai che persone minori di età utilizzino但这a macchina.
Attenzione! Non permettere mai a persona che non hanno ben compreso le istruzioni l'utilizzo di但这a macchina.
Prima dell'utilizzo cercate di familiarizzare con la macchina, assicurandovi di conoscere esattamente dove si trovano i comandi, i dispositivi di sicurezza e il modo in cui vanno utilizzati. Se siete un utente inesperto, vi raccommendiamo di eseguire compiti simplici e, se possibile, sotto la supervisione da una persona esperta.
Attenzione! Prestate la macchina solamente a persona che hanno familiarità con quello tipo di macchina e che sanno come utilizzato. All'utilizzatore prestate sempre, assieme alla macchina, il manuale d'istruzioni in modo che lo possa leggere attendamente e ben comprendere. La macchina risulta pericolosa nelle mani di utenti inesperti.
2.2. SICUREZZA PERSONALE
Siate vigil, fate attenzione a cui che state facendo esusate sempre il buon senso durante l'utilizzo.
Vietato modificare i comandi della macchina.
Evitate un avvio accidentale della macchina.
Assicuratevi che l'interruttore sa in posizione "aperto" prima di collegare alla rete. Evitate trasportare
elettroutensili con il ditoippo sull'interruttore o con l'interruttore in posizione "chiuso" cui promiettere la vostra sicurezza e causare incidenti.
Non utilizzato但这a macchina nelle stanco o除去 l'effetto di droge, alcol o farmaci. Un attimo di disturazione durante la guida di但这a macchina può causare gravi lezioni personali.
Non utilizzato la macchina se quale componente è danneggiato.
Non utilizzare mai la macchina con protezioni difettose, o alla dispositivi di sicurezza.
Rimuovere tutte le chiavi o utensili a mano nella zona della macchina e il lavoro prima di iniziare esta unità. Una chiave o un attrezzo lasciato nei pressi della macchina può essere giocato da una parte della macchina in movimento e progettato causando lesioni personali.
Mantenete sempre un appoggio appropriato dei piedi e fate funzionare la macchina solo quando vi trovate in piedi su di una superficie fissa, piana e sicura. Superfici scivolose o instabili sono causare la perdita di equilibrio o del controllo della macchina.
Mantenetete tutte le parti del corpo lontane delle parti di taglio e dalle parti in movimento della macchina. Prima di avviare la macchina, assicuratevi che le parti di taglio non siano a contatto con alcun oggetto. Durante il funzionamento della macchina,anche un semplice attimo di disturazione rischia di provocare che gli abiti che indossate o altre parti del corpo vengano tagliate dalle parti di taglio in movimento della macchina.
Se la macchina vibra in modo anomalo spagnere il motore e controllare la macchina ricercando possibili cause e l'eventuale riparazione. Se non si trovava la causa portare la macchina al servizio tecico.
Prima di lasciare solo la macchina, staccare la spina, attendere che la lama si arresta, scollegare l'apprecchio alla rete.
Conservate gli utensili fuori alla portata dei bambini.
Non cercare di caricare lo spaccalegna se la pressa non èferma.
Mantenetete le mani lontane delle parti in movimento della macchina.
tenere le mani lontane da tagli e crepe che si possono aprirne nei tronchi durante le operazioni di taglio perché potrebbero chiudersi improvisamente e schiacciare o amputare le mani.
Non rimuovere i pezzi incastrati con le mani.
Mai aprire la scatola motore della pressa. In caso necessario mettersi in contatto con il centro assistenza.
Non tentate di rimuovere il materiale tagliato dell'area di lavoro o degli utensili quando le parti da taglio sono ancora in movimento. Specnere il motore prima di eseguire Questa operazione.
Tagliare soltanto tronchi che abbiano le estremità perpendicolari all'asse del tronco. Le estremità dei tronchi da tagliare devono essere ad angolo retto.
Assicurarsi che non siano presenti chiudi o altri oggetti estranei sui tronchi da tagliare.Oggetti estranei e chiudi possono essere proiettati fuori e causare gravi danni alle persone.
Non tagliare tronchi che hanno filiali. Rami devono essere tagliati a filo con il tronco.
Lo spaccalegna dev'essere maneggiato da un solo operatore. Le persone intorno devono restare ad una distanza di sicurezza, specialmente durante l'uso. Mai lasciare che altre persona ci aiutino a rimuovere tronchi incastrati.
2.2.1. VESTITI DE LAVORO E ATTREZATURA DI SICUREZZA
Vestite correttamente. Non indossate abiti sciolti o gioielli. Mantenete i vostri capelli, i vostri abiti e i guanti lontano delle parti mobili della macchina. Vestiti sciolti, gioielli o capelli lunghi rischiano di impigliarsi all'interno delle parti in movimento della macchina.
Per ridurren il rischio sare necessario prendere in considerazione queste raccomandazioni:
- Protezione degli occhi.
- Protezioni per l'udito.
- Guanti di sicurezza.
- Stivali antiscivolo.
Il rumore prodotto da但这a macchina puo danneggiare I'udito. Usate quindi apposite protezioni dell'udito per le orecchie. Se si lavora regolarmente con la macchina, recatevi con regolarità in visita da un medico per controllare lo stato del mystro udito.
Attenzione: quando indossate le protezioni per l'udito prestate maggiore attenzione ai segnali visivi, dato che la vostra capacité di udire risulterà più debole.
2.3. SICUREZZA NELL'AREA LAVORO

Vietatoutilizzare lamacchina in atmossere
esplovisepin presenza di liquidi
infiammabili,gas e polveri.Le macchine
elettriche producono scintille che rischiano di inflammare la polvere oi gas.
L'area attorno alla macchina - in un raggio di 15 metri dal punto in cui si sta lavorando - va considerata zona di rischio, nella quale pertanto non dovrà essere consentito l'accesso a nessuno nelle macchina è in funzione (Zona di sicurezza). Laddove necessario, utilizzate corde e segnali di averporto in modo da segnalare la zona di sicurezza.
Tenersi lontano alla portata di bambini e di persone estranee durante l'utilizzo. Eventuali disturazioni estranei possono comportare la perdita di controllo. Controllate che nell'area di lavoro non entrino bambini, o animali.
E' vietato usare esta macchina in una zona in cui siano presenti altre persone che non indossino indumenti di protezione, stivali, quanti da lavoro e occhiali di sicurezza.
Per lavorare, collocare la macchina su di una superficie pianà, orizzontale, pulita e priva di erba, rami o altri oggetti che possono impedire il corretto movimento dell' operatore durante il lavoro e per garantire la corretta stabilità della stessa.

Questa macchina delve essere sempre usata in posizione verticale. Non usare esta macchina in posizione orizzontale.
Lo spaccalegna dev'essere maneggiato da un solo operatore. Le persone intorno devono restare ad una distanza di sicurezza, specialmente durante l'uso.
Mai lasciare che altre persone ci aiutino a rimuoverete tronchi incastrati.
Mai mettersi in piedi sopra lo spaccalegna. Potrebbe lesionarsi gravamente se la macchina si inclina o se si entra in contatto con gli utensili di taglio.
Non collocare nulla sopra o vicino alla macchina in modo che nessuno possa salire per accedervi.
Vietato utilizzare la macchina di notte, in caso di nebbia o in condizioni di visibilità ridotta tali per cui non si vuo videere chiaramente l'area di lavoro.
Mantenetete I'area di lavoro pulita e lavorate con una buona illuminazione. Le aree in disordine e scarsamente illuminate possono provocare incidenti. Ispezionare I'area di lavoro e ritirare tutti gli oggetti che possono causare danni all'operaatore o alla macchina.
2.4. SICUREZZA ELETTRICA
Questa macchina può essere collegata solo ad una corrente alternata di 230V/50Hz. Con messa a terra. In caso di cortocircuito la messa a terra ridurà il rischio di folgorazione.
Collegare la macchina ad un dispositivo di corrente residua la cui corrente di scarico non sia superiore ai 30mA
Per un correto funzionamento del dispositivo, tale verifica va sempre effettuata prima di agli utilizzato.
Non esporre l'apparecchio alla pioggia o all'umidità. L'acqua tra di loro aumenta il rischio di scosse elettriche.
Mai tagliare il cavo. Vi è rischio di scossa elettrica e di danni alla macchina.
La spina elettrica della macchina delve potersi collegare alla presa di corrente. Non cambiate la spina per nessun dato. Spine e prese conformi riduranno il rischio di scossa elettrica.
Evitate il contatto del corpo con superfici messe a terra come tubi, radiatori, fornelli elettrici e frigoriferi. Vi è un aumento del rischio di scosse elettriche se il vostro corpo èosto a terra.
E' severamente vietu toccare le prese o i cavi elettrici con le mani bagnate.
Non abusate del cavo. Non utilizzato il cavo per il trasporto, il sollevamento o lo scollegamento dell'unità. Tenete il cavo lontano dal calore, dall'olio, da bordi taglienti o parti mobili. I cavi danneggiati o aggrovigliati augmentano il rischio di scossa elettrica.
Non utilizzare l'elettroutensile con il cavo o la spina danneggiati. Prima del collegamento, verificate che la spina e il cavo non presento danni. Se ravvisate dalle danno, portate la macchina a riparazione presso un servizio tecnico autorizzato. Se il cavo risulta danneggiato o rotto, scollegatelo immediamente. I cavi danneggiati o aggrovigliati augmentano il rischio di scossa elettrica. La sostuzione della spina o del cavo di alimentazione deve sempre essere effettuata dal fabbricante o dal suo personale di servizio tecnico.
Non aprire la scatola elettrica del motore. Se fosse necessario, delve essere fatto da un elettricista qualificato.
Non usate mai una presa o un cavo di prolonga danneggiato che non soddisfano le normative o i requisiti di esta unità.
Quando si utilizes un carr o prolonga, assicuratevi di avere una sezione minima di 2,5 mm², di lunghezza
massima di 25m , sempre completeness dipanato e che il cavo sa idoneo all'uso esterno. Utilizzando una prolonga adatta per l'impiego all'esterno si riduce il rischio di scossa elettrica.
Disponete la prolunga in maniera tale da non farlo impigliare sui rami o altri ostacoli e in un modo che non attavrasi la zona di lavoro Il cavo di prolunga deve trovarsi sempre alle spalle dell'operatore.
Tenere sempre il cavo di prolunga lontano delle parti di taglio.
Non utilizzare la macchina se l'interruttore di accensione non funzione correttamente. Qualiasi macchina elettrica non più controllabile con l'interruttore risulta pericolosa e va assolutamente riparata.
Scollegate sempre la spina alla presa prima di intervenire sulla macchina, e maneggiatela solo quando è scollegata.
2.5.USO E MANUTENZIONE DELLA MACCHINA
Usare esta macchina, gli accessori, gli attrezzi etc. in base a queste istruzioni e nella maniera prevista, tenendo in considerazione le condizioni di lavoro e il lavoro da svolgere. L'utilizzo della macchina per applicazioni diverse da quella previste più provocare una situazione di pericololo. Il fabbricante non sare ritenuto in alcun modo responsable di eventuali danni causati da abuso o uso improprio della macchina.
Verificate che tutti i componenti di sicurezza siano installati e risultino in buone condizioni.
Ricordate che l'utente è responsabile per incidenti e uomini a se stesso, a terzi e cose. In caso di incidenti e uomini personali, a terzi o cose le responsabilità ricadono sull'utilizzatore. Il fabbricante non sare
ritenuto in alcun modo responsablee di eventuali danni causati da abuso o uso improprio della macchina. Mantenete el corpo lontano delle parti di taglio durante il funzionamento della macchina.
Non forzare la macchina. Utilizzatela pensi per l'applicazione più appropriata. L'utilizzo corretto della macchina - basato sul tipo di lavoro da realizzare - vi permetterà di lavorare meglio e in maniera più sicura.
Mai cercare di spaccare tronchi di dimensioni maggiori a quale indicate nel presente manuale, quello potrebbe essere pericoloso per l'operatore, per la macchina e terre delle persone.
Non utilizzare la macchina se l'interrottore di accensione non funziona correttamente. Qualsiasi macchina non più controllabile con l'interrottore risultata pericolosa e va assolutamente riparata.
Mantenet e'unita in buono stato. Verificate che le parti mobili non risultino disallinate o bloccate, che non ci siano parti rotte o altre condizioni che sono influire negativamente sul funzionamento della macchina. Ogniqualvolta che la macchina risulta danneggiata, fatela riparare prima dell'uso. Molti incidenti sono causati da una scarsa manutenzione dell'attrezzatura. Se le utensile da taglio si scontrano elemento strano durante il funzionamento arrestare, scollegare la macchina alla rete elettrica ed esaminare prima di continuare. Se si notano segni di danneggiamento prendere la macchina per il servizio.
Spagnere e scollegare la macchina, verificare che le utensile da taglio sia spento prima di effettuare qualsiasi regolazione, di sostituire pezzi di ricambio, pulizia della macchina, trasporto o stoccaggio alla macchina. Tali misure di sicurezza preventive riducono il rischio di avviamento accidentale della macchina.
Se I'apparato inizia a vibrare in maniera anomala
spegnete la macchina, scollegatela alla rete ed ispezionate l'unità per individuire la causa. Se non avete più individuato il problema, portate la macchina dal vosto servizio tecnico. Le vibrazioni sono sempre sintomo di un problema presente nella macchina.
In caso di pausa prolongata, scollegate la macchina alla presa di alimentazione.
2.6. ASSISTENZA
Si prega di far esaminare periodicamente il vostro elettrotensile presso un servizio di assistenza specializzato, impiegando unicamente pezzi di ricambio identici. Ciò garantirà la sicurezza del vostro attrezzo.
3. SEGNALI DI AVVERTENZA
Le etichette di averporto indicano le informazioni necessarie per l'utilizzo della macchina.

Pericolo e attenzione.

Leggere il manuale e segurme le istruzioni e le avventenze di sicurezza.

Utilizzare dispositivi di protezione facciale, l'udito e della testa.

Utilizzare guanti di sicurezza.

Utilizzare stivali di sicurezza.

MANTENERE LE MANI LONTANE DALLE PARTI IN MOVIMENTO.

TENERSI LONTANO DALLA PORTATA DI BABBINI E DI PERSONE ESTRANEE DURANTE L'UTILIZZO.

Allentare il dato di spurgo prima di utilizzato la macchina e stringere al termine prima di trasportarla.

PROTEGGERE LE MANI. Tenere le mani lontane da crepe e divisioni che si aprono nel tronco durante il taglio.

Non cercare di caricare lo spaccalegnase la pressa non èferma.

Leggere il libero di struzioni prima di svolgere qualiasi operatione sulla macchina.

Controllare che non ci siano perdite d'olio

Rispettare i periodi di manutenzione definiti nel presente manuale.

CURA DELLO SPACCALEGNA:
Mantenere pulito lo spaccalegna in modo che lavori bene e in sicurezza.

ON" = Encendido (Máquina preparada para enccionar).

Smaltite il vostro apparecchio in maniera ecologica. E' vietato smaltire gli elettrotensili insieme ai rifi uti domestici.

Conforme alle direttive CE.

Quando si utilizes un carró de prolonga, assicuratevi di avere una sezione minima di 2,5 mm², di lunghezza inferiore ai 25m e sempre completeness dipanato.

GARLAND
4. DESCRIZIONE DELLA MACCHINA
4.1. CONDIZIONI DI UTILIZZO
A Questa macchina è per uso domestico ed è stata创建工作 per tagliare tronchi fino a 40 cm. di diametro () e un massimo di 107 cm di lunghezza(), con le estremità tagliate perpendiculari all'asse del tronco mediante cesoeie, grazie ad una pressione generata da un pistone idraulico, applicata al tronco mediante una lama. L'uso di questa macchina per operazioni diverse da quale previste più comportare situazioni di pericolo. Utilizzare la macchina all'esterno, in ambiente asciutto e a temperature comprese tra 5^ e 45^ .
Ricordate che I'utente è responsabile per incidenti e dati a se stesso, a terzi e cose. In caso di incidenti e dati personali, a terzi o cose le responsabilità ricadono sull'utilizzatore. Il fabbricante non sare ritenuto in alcun modo responsabile di eventuali danni causati da abuso o uso improprio della macchina.
4.2.DESCRIPTIONDELPRODOTTO
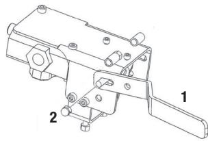
- Leva di lavoro
- Idraulico
- Maniglia di trasporto
- Motore
- Ruota
- Lama
- Flange di protezione
- Piano di lavoro
- Giro di colonne
- Vite di spurgo
- Base

Le Foto ei disegni riportati nel presente manuale sono puramente indicativi e potrebbero non corrispondere al
4.3.CARATTERISTICTECNICHE
| Descrizione | Spaccalegna |
| Segna | Garland |
| Modello | CHOPPER 452 ZE-V17 |
| Motore | Electric |
| Voltaggio (V) | 240V-50Hz |
| Potenza massima (W) | 2100 S6 40% |
| Diametro massimo del tronco (cm)* | 7-35 |
| Lunghezza massima del tronco (cm)* | 52 |
| Forza massima di taglio (t) | 10 |
| Viscosità dell’olio idraulico | ISO HM22 |
| Capacità dell’olio idraulico (l) | 4 |
| Peso (kg) | 98 |
- Il diametro del tronco èindicativo. Un tronco piccolo più essere difficile da dividere se ha nodi o fibre resistenti. D'altra parte, non dovrebbe essere difficoltà la divisione di tronchi con fibre regolarianche se il diametro supera il massimo.
Trovera le informazioni su modello e numero di series sull'etichetta di informazioni tecniche posta sulla macchina.
Le caratteristiche tecniche sono soggetta a modifiche sera preavviso.
5. ISTRUZIONI PER LA MESSA IN MOTO
5.1. DISIMBALLAGGIO E LISTA DELLE PARTI
La macchina include le seguenti parti, che potete trovare all'interno della scatola:
Macchina.
Leve di commande (A) (x2).
- Piano (B).
- Flange di protezione con viti (C) (x2).
- Manuale di istruzioni.


Rimuovere con cautela tutti gli elementi presenti all'interno della scatola ed assicurarsi che tutte gli elementi elencati siano presenti.
Controllare il prodotto conattenzione per assicurarsi non vi siano componenti danneggiati. Se una qualsiasi parte risulta danneggiata o manca quale componente, non utilizzato la macchina prima di aver risolto il problema. L'utilizzo della macchina in queste condizioni cui poto causare scosse elettriche, incendi e / o lesions gravi!.
5.2. MONTAGGIO
Attenzione! Per la sua sicurezza non connettere la macchina alla corrente fino a che non sia completeness montata e non abbia fatto e compreso tutte le istruzioni del presente manuale.


B

C

D

E

5.4.MESSA IN MOTO
5.4.1. POSIZIONAMENTO DELLA MACCHINA
Assicurarsi di posizionare la macchina in una posizione stabile e verticale. In una zona lontano da pareti e dove si disponga di spazio sufficiente per poter lavorare.
5.4.2. PUNTI DI VERIFICA PRIMA DELLA MESSA IN MOTO
Prima di iniziare il lavoro, controllate sempre che la machina funzioni correttamente e in maniera sicura. Vietato utilizzare la macchina se risulta danneggiata o non correttamente regolata.
Utilizzate la macchina solo per gli scopi per i quali è stata progettata. L'uso di但这a elettrosega per qualsiasi altri uso è pericoloso e più causare danni nei confronti dell'utilizzatore e / o della macchina.
Controllare:
- La macchina completamente e verificare che non vi siano parti allentate (viti, dadi, ecc.) o danni.
- Che la parte in movimento della macchina non siano a contatto con alcun oggetti.
Fissare, riparare o sostituire tutto il necessario prima di utilizzare la macchina.
Sulla macchina non utilizzato accessori altre a quelli da loro raccomandati in quanto il loro uso può provocare gravi danni all'utente, al la macchina e a persona, animali o cose presenti nelle vicinanze.
Controllare il livello dell'olio e verificate la tacco che l'olio ha lasciato sulla bacchetta. La tacco lasciata dall'olio deve risultare compresa tra la tacco di minimo e quella di massimo.
Controllare che non ci siano perdite di olio. Si detecta fugas lleve su maquina al servicio technique.
5.4.3.MESSA IN MOTO E ARRESTO

- Allentare il dato di spurgo fatto a che l'aria possa entrare e uscire dal serbatoio dell'olio sulla problema. Il flusso di aria
che passaattraverso il forodi spurgo dovrebbe essere rilevabile durante il funzionamento della macchina. Se non si allenta il dato di spurgo I'aria all'interno delsystemia idraulico non potrascuire, andando in pressione ad agli azione di taglio dello spaccalegna. Questa pressione di aria cui danneggiare le guarnizioni delsystemia idraulico causando danni permantenti alla macchina.

- Accendere il motore premendo il pulsante verde.
Nota: Quando la temperatura esterna è Bassa, lasciare lo spaccalegnina in funzione inattivo per almeno 15 minuti in modo che l'olio si scaldi alla temperatura adeguata.
5.3.4. PUNTI DI VERIFICA DOPO DELL'AWVIAMENTO
E 'importante prestare attenzione a eventuali parti sciolti e alla temperatura della macchina. Se notate un'anomalia nella macchina fermatevi subito per controllare attendamente. In caso di quale anomalia o problema, prendere la macchina a riparazione dal servizio tecico.
Mai continuare ad utilizzato la macchina se il funzionamento non sembra corretto.
5.4.4.3. VERIFICA DEL SISTEMA DI SICUREZZA
Verificare che ilsystemadi sicurezza funzioni correttamente facendo un test della macchina sanza tronco.Per tagliare un tronco fissarlo con le ganasse, premere entrambé le leve di lavoro verso il basso e non appena la lama di taglio entra nel legno, allentare la pressione delle ganasse leggermente continuando la spinta sulle leve. Questo consentirà di evitare che le ganasse (braccia) si pieghino.
Se il test rileva che la macchina non funzione come descritto in quello punto non utilizzato la macchina fino a che non sia stata revisionata da un centro di assistenza tecnica.
5.4. DOP0 L'USO
Una volta terminato di utilizzato la macchina:
- Disconnettete l'alimentazione di corrente portando l'interruttore in posizione "O".
- Scollegare la macchina.
- Terminato l'utilizzo della macchina serrare il dato di spurgo per evitare perdite d'olio dallo spaccalegna.
6. UTILIZZO DELLA MACCHINA
Utilizzate la macchina solo per gli scopi per i quali è stata progettata. L'uso di但这a macchina per qualsiasi altri uso è pericoloso e può causare danni nei confronti dell'utilizzatore e / o della macchina.
Mai forzare lo spaccalegna per più di 5 secondi facendo pressione su un tronco troppo duro. Dopo quello intervallo, l'olio che è molto pressione più surriscaldarsi e danneggiare la macchina. Per tronchi
di eccessiva durezza, girare il tronco di 90^ per cercare di tagliarlo in un'altra posizione.Se neancheosi riesce a tagliarlo, significa che il tronco ha una durezza eccessiva rispetto a quella consentita, quando rimioso prima di danneggiare la macchina.
NOTA: E' severamente proibito l'utilizzo dello spaccalegna da due persone, una tenendo il tronco e l'altra azionando le leve. Il Blocco di una delle leve (per poter operare con una sola leva) è proibito.
6.1. TAGLIO DEL TRONCO
- Seguire i passi indicati nel punto 5.3 "Messa in marcia.
- Collocare il tronco sopra il piano di lavoro e fissarlo sempre fermamente tra le ganasse. Assicurarsi che il tronco non torca, lavori o scivoli durante il taglio.
- Premere entrambé le leve di controllo idraulico simultaneamente verso il basso.Estamaids possui 2 velocidades de trabajo reguladas pressionando as alavancas de forma mais intensa.
- Spaccare il tronco.
- Rilasciare la pressione sulle leve in modo che la lama si ritiri.
- Una volta ultimato il lavoro seguire i passi del punto 5.4. "Dopo l'utilizzo".
Note:
- Rompere il tronco in direzione della crescita.
- Non collocare il tronco di traverso, quello è pericoloso e più danneggire gravamente la macchina.
Non cercare di tagliare due tronchi alla volta, uno dei due potrebbe schizzare via e ferirvi.
7. MANUTENZIONE E ASSISTENZA
Non tentate mai di effettuire manutenzione sulla macchina nelle e in funzione. Effettuate tutte le operazioni di manutenzione della macchina, con la stessa posta su di una superficie piana e pulita.
ATTENZIONE! Non modificare la macchina o gli elementi di taglio. L'uso improprio di questi elementi cui po causare GRAVE INFORTUNIO O MORTE.
La rimozione dei dispositivi di sicurezza, una manutenzione impropria, la sostituzione della barra / o della catena con ricambi non originali cui po dedare lesioni alla persona.
Effettuate controlli periodici per assicurare un funzionamento efficace dell'elettROUTensile. Per una manutenzione completa si consiglia di portare la macchina al vostro servizio di assistenza clienti.
Usage solo il ricambio adatto per la macchina in modo da ottenere un rendimento adeguato alla macchina. Questo ricambio è acquisabile presso i distributori ufficiali del prodotto. L'uso di altri ricambi cui poto causare rischi, danni per l'utente, e alle persone intorno alla macchina.
7.1.MANUTENZIONE DOPO L'USO
Effettuate le seguenti operazioni di cura e manutenzione quando terminate di lavorare con la macchina, per garantire così il corretto funzionamento della macchina nei futuri utilizi.
7.1.1.CONTROLLIGENERALE
Non utilizzato l'apparecchio se il cavo è danneggiato. Controllare la macchina completamente e verificare che non vi siano parti allentate (viti, dadi, ecc.) o
danni. Fissare, riparare o sostituire tutto il necessario prima di utilizzare la macchina. Controllare che non ci siano perdite di olio. Non utilizzate la macchina se è danneggiata o non correttamente regolata.
7.1.2.PULIZIA
Pulire custodia della macchina con uno straccio inumidito in acqua. Nunca utilise gasolina, disolventes, detergentes, agua o quello liquido para limpiar laquina.
7.1.3.AFFILATURA DEL CUNEO DI SPINTA
Dopo averutilizzato lo spaccalegna per un po'di tempo, se notate che il cuneo di spinta ha perso il filo, affiliatoutilizzando una lima con denti fini e morbida.
7.2.MANUTENZIONE PERIODICA
Effettuate controlli periodici per assicurare un funzionamento efficace dell'elettroutensile. Per una manutenzione completa si consiglia di portare la macchina al vostro servizio di assistenza clienti.
ATTENZIONE! Non buttare via l'olio vecchio nella rete di canalizzazione, né a terra. La contaminazione dell'acqua sotterranea e freatica è soggetta a pesanti sanzioni. Nelle stazioni di servizio sono presenti apposti luoghi di raccolta. Altrimenti, potra essere l'autorità locale a fornirvi informazioni in merito. Cambio dell'olio idraulico agli 150 ore di utilizzo.
Seguire i seguenti passi per sostituire I'olio:
- Assicurarsi che tutte le parti mobili della macchina siano ferme e che sia disconnessa dalla corrente.
-
Collocare un recipiente con capacité sufficiente a contentere la quantità d'olio presente nello spaccalegna (5 litri).
-
Svitare completamente il dato di drenaggio dell'olio e aspettare che sia uscito tutto l'olio dall'interno.
- Spingere la lama verso il basso a fine corsa per assicurarsi che esca tutto l'olio.
- Awitare il dato di drenaggio.
- Svitare il tappo del serbatoio (9) e riempire con 3,51 di olio idraulico nuovo.
- Pulire l'astina del tappo dell'olio e collocarla nel serbatoio per controllare il livello dell'olio.
- Assicurarsi che l'olio abbia un livello tale che l'astina sia macchiata d'olio tra le due tacche.
Controllare periodicamente il livello dell'olio e assicurarsi che sa tra i due segni sull'astina. Se è al di fatto del livello più basso è necessario riempire diolio. Per un corretto funzionamento del suo spaccalegna conistema di trasmissione idraulica, utilizzato unolio per machine idrauliche con proprietà anti-usura, anti-ossidazione, anti-corrosione, alto indice di viscitità, basso punto di congelamento e buone caratteristiche anti-schiuma e il grado di viscosità ISO HM22.
8. LOCALIZZAZIONE E IDENTIFICAZIONE DEI GUASTI
A seconda dei sintomi riscontrati è possible individuare la probabile causa e risolvere il problema:
| Sintomo | Possible Causa | Azione correttiva |
| Il motore si ferma all'accensione | Dispositivo di protezione contro il sovraccarico è disconnesso per proteggregate la macchina da eventuali danni. | Andare al centro di assistenza per sbloccare il disposito di protezione da sovraccarico all'interno. |
| Non taglia i tronchi | Il tronco non è ben collocato | Leggere il capitolo “utilizzato” per collocare il tronco in modo adeguato. |
| La dimensione o la durezza del tronco eccedono la capacité della macchina | Ridurre le dimensionali dei tronchi prima di dividierli con lo spaccalegna. | |
| C'è una perdita d'olio | Localizzare la perdita d'olio e recarsi al centro assistenza | |
| E'sata fattuna una regolazione non autorizzata sulla vite di limitazione della pressione massima. | Contattare il centro assistenza | |
| La lama di taglio si muove bruscamente, fa rumori strani o vibra molto | Mancanza diolio idraulico eccesso d'aria nelsystema | Controllare il livello dell'olio per rabboccarlo in caso sia necessario |
| Perdite d'olio intorno al cilindro | Aria in pressione nel systemiaidraulico durante l'uso | Allentare il dato di spurgo girando 3 o 4 volte. |
| Il dato di spurgo non è stato serrato prima di muovere la macchina | Serrare il dato di spurgo prima di muovere la macchina | |
| Il dato di trenaggio dell'olio non èben serrato | Serrare il dato | |
| La valvola del controllo idraulicoe/o le guarnizioni sono usurate | Andare al centro di assistenza |
9. TRANSPORTO
É sempre necessario fermare il motore prima di trasportare la macchina.
Prima di spostare la macchina, accertarsi di collegare fra loro le due leve di lavoro per prevenir oscillazioni accidentali che possano ferire personi / danneggiare altre apparettiati si trovano nelle vicinanze.
Per evitare fughe di olio idraulico, mai trasportare lo spaccalegna di lato e avvitare bene il dato di spurgo.
Lasciare sempre il cuneo di spinta in basso durante il trasporto.
Per trasportare l'apparecchio utilizzato le sue stesse ruote. Sollevare la macchina alla sua maniglia e tirare a se.
Tenete presente il peso della macchina nel caso in cui interdiate sollevarla. Consultate a tal proposito le caratteristiche tecniche alla voce peso.
Se si trasporta la macchina all'interno di un veicolo, fissatela saldamente per evitare scivolamenti o ribaltamenti della stessa.
10. MAGAZZINAGGIO
Conservate la macchina inutilizzati in un luogo sicuro e fuori alla portata dei bambini, in modo da non mettere in pericolò nessuna persona, asciutto pulito e ad una temperatura tra i 0^ e i 45^ .
Prima di riporre la macchina, eseguite sempre la manutenzione.
Disconnettere sempre la macchina prima di riporla. Disconnettere la spina alla presa di corrente prima di riporre la macchina.
Serrare il dato di spurgo per evitare perdite d'olio dallo spaccalegna.
11. INFORMAZIONI SULLO SMALTIMENTO E IL RICICLAGGIO DELL'ATTREZZATURA
Proteggere l'ambiente. Riciclare l'olio usato da esta macchina portandolo ad un centro di risciclaggio. Non versare l'olio esauto in fogna, suolo, fiumi, laghi o mari.
Smaltite il vostro apparecchio in maniera ecologica. E' vietato smaltire gli elettroutensili insieme ai rifuii domestici.
I componenti di plastica e metallo vanno differenziati secondo la loro natura e quindi riciclati.

I materiali utilizzati per il confezionamento/ imballaggio di esta macchina possono essere riciclati. Si raccomanda di non

gettare gli imballaggi tra la spazzatura domestica.
Smaltite in un apposto centro di raccolta per i rifiuti.
12. CONDIZIONI DI GARANZIA
12.1. PERIODO DI GARANZIA
- Il periodo di garanzia (legge 1999/44 CE) secondo i termini descritto di seguito è di 2 anni alla data acquisto di ricambi e manodopera, contro i difetti produzione e dei materiali.
12.2. ESCLUSIONI
Garland garanzia non copre:
L'usura e rottura.
- L'abuso, negligenza, incurante funzionamento o mancanza di manutenzione.
- Difetti causati da uso improprio, danni perché attraverso le manipolazioni del personale non autorizzato Garland o uso di ricambi non originali.
12.3. TERRITORIO
- La garanzia Garland assicura copertura del servizio in tutto il paese.
12.4. IN CASO DI INCIDENTE
- La garanzia deve essere debitamente compilato con tutti i dati richiesti e accompagnato alla fattura o acquisto di biglietti del venditore.
AVVISO!
PER GARANTIRE UN FUNZIONAMENTO DI MASSIMA SICUREZZA, SI PREGA DI LEGGERE IL LIBRO DI ISTRUZIONI PRIMA DELL'USO.
Il sottoscritto, Lisardo Carballal, autorizzato da Productos McLand.S.L., con sede in C/ La Fragua 22, 28932, Móstoles, España, dichiarare che le macchine Garland modelli Chopper 452ZE-V17 con numero di serie del anno 2017 in poi (l'anno di fabbricazione si indica in modo chiario sulla targhetto di identificazione della macchina, seguito dal numero di series)e la cui funzione è "Macchina motorizzata dotata di un organo di taglio atti a tagliare tronchi.", soddisfano tutti i requisiti della Direttiva 2006/42/CE del Parlamento europeo e del Consiglio del 17 maggio 2006 relativa alle macchine e che modifica la direttiva 95/16/CE
Queste macchine soddisfano ancê i requisiti delle seguenti direttive comunitarie:
- Direttiva 2014/30/ue del parlamento europeo e del consiglio del 26 febbraio 2014 concennte l'armonizzazione delle legislazioni degli Stati membri relative alla compatibilità elettromagnetica (rifusione)
- Direttiva 2000/14/CE del Parlamento Europeo e del Consiglio, dell'8 maggio 2000, sul ravicinamento delle legislazioni degli Stati membri concernenti l'emissione acustica ambientale delle macchine ed attrezzature destinata a funzionare all'aperto.
- Direttiva 2014/35/Ue Del Parlamento Europeo E Del Consiglio del 26 febbraio 2014 concernente l'armonizzazione delle legislazioni degli Stati membri relative alla messa a disposizione sul mercato del materiale elettrico destinato a essere adoperato entro taluni limiti di tensione
- Norma armonizzata: EN 609-1:1999+A2:2009
EN 60204-1:2006+A1:2009
EN 55014-1:2006+Al+A2
EN 61000-3-2:2014
EN 61000-3-11:2000
EN 55014-2:2015
ManualeFacile