CHOPPER 452 ZE - Fendeur de bûches GARLAND - Notice d'utilisation et mode d'emploi gratuit
Retrouvez gratuitement la notice de l'appareil CHOPPER 452 ZE GARLAND au format PDF.
| Type d'appareil | Fendeuse à bois verticale |
| Force de fendage | Non précisé |
| Hauteur de fendage | Non précisé |
| Type de moteur | Électrique |
| Puissance moteur | Non précisé |
| Alimentation | 230 V / 50 Hz (général) |
| Vitesse de fendage | Non précisé |
| Capacité de fendage maximale | Non précisé |
| Poids | Non précisé |
| Dimensions | Non précisées |
| Type de commande | Manuelle avec sécurité |
| Mobilité | Avec roues intégrées |
| Matériau du châssis | Acier robuste |
| Utilisation recommandée | Usage domestique et semi-professionnel |
| Accessoires inclus | Non précisé |
| Garantie | Non précisée |
FOIRE AUX QUESTIONS - CHOPPER 452 ZE GARLAND
Questions des utilisateurs sur CHOPPER 452 ZE GARLAND
0 question sur cet appareil. Repondez a celles que vous connaissez ou posez la votre.
Poser une nouvelle question sur cet appareil
Téléchargez la notice de votre Fendeur de bûches au format PDF gratuitement ! Retrouvez votre notice CHOPPER 452 ZE - GARLAND et reprennez votre appareil électronique en main. Sur cette page sont publiés tous les documents nécessaires à l'utilisation de votre appareil CHOPPER 452 ZE de la marque GARLAND.
MODE D'EMPLOI CHOPPER 452 ZE GARLAND
- Introduction 42
2.Normes de sécurité 42 - Etiquettes d'advertissement 49
- Connaître votre machine 50
- Indications pour la mise en service 52
- Utilisation de la machine 55
- Entretien et soin 55
- Résolution des pannes 57
- Transport 58
- Stockage 58
- Recyclage 58
12.Garantie 59
Déclaration de conformité 60
TRADUCTION DES INSTRUCTIONS ORIGINALES
Ref.:GCCCHOPPER452ZEV17M1217V1
DATE DE SORTIE: 29/12/2017
DATE DE RÉVISION: 29/12/2017
1. INTRODUCTION
Merci d'avoir choisi cette machine Garland. Nous sommes sûres que vous apprécierez la qualité et prestations de cette machine qui vous simplifiera la tâche pour une longue période. Rappelez-vous que cette machine doit être révisée et entretenue dans un réseau de Services Techniques où vous pouvez aller pour l'entretien, résolution des pannes, acheter des pieces détachés et/ou accessoires.

ATTENTION! Lize les averissements de sécurité et les indications du manuel. Le non accomplissement des averissements
et indications mentionnées plus bas peut vous provoquer un chocolélectrique, feu et/ou grave léson. Avant d'utiliser cette machine, lisez attentivement les informations du manuel au sujet des techniques de mise en marche sécurisées et correctes.
A Cette machine est a usage domestique et est concu pour couper des troncs de 35 cm de diametre (^) et un maximum de 52 cm de longueur (^) , avec les extremités coupées en perpendiculaire à l'axe du tronc par cisaillement grâce à la pression générées par un piston hydraulique qui est appliquée sur le tronc par une lame. Toutte autre utilisation peut être dangereuse pour vous, pour les personnes, les animaux et les choses qui sont autour et peuvent endommager la machine.
Coupez que les troncs avec les extremités perpendicular à l'axe du tronc. Les extremités des troncs doivent être coupés à angle droit.
Assurez-vous qu'il n'y a pas de clous ou de corps étrangers dans les troncs qui seront coupés. Objets étrangères et des clous peuvent être projétés et causer des blessures graves.
Ne coupez pas de troncs qui ont des branches.
Branches doivent être coupées au ras du tronc.
Ne pas utiliser cette machine pour essayer de couper tout autre objet que d'un tronc. Cette machine et ses dispositifs de sécurité sont conçus pour couper des billots. Essayer de couper objets différents que des billots, peut être dangereux pour votre sécurité, lesgens et les animaux qui sont au autour de la machine, elle-même et tout ce qui est prés de la machine.
Ne pas utiliser cette machine pour essayer de couper tout autre objet que d'un tronc. Cette machine et ses dispositifs de sécurité sont conçus pour couper des billots. Essayer de couper objets différents que des billots, peut être dangereux pour votre sécurité, lesgens et les animaux qui sont au autour de la machine, elle-même et tout ce qui est près de la machine.
*Le diamètre du tronc est indicatif. Un petit tronc peut être difficile à fendre si elle a des nœuds ou des fibres résistantes. D'autre part, il ne devrait pas être difficile de fendre des bùches avec des fibres régulières, même si le diamètre dépasse le maximum.
Pour ne pas manipuler incorporement la machine, lisez les instructions du manuel avant d'utiliser la machine pour la première fois. Toutte information inclus dans ce manuel est importante pour la sécurité des personnes, animaux et choses qui sont à proximate. Si vous ave des doutes par rapport à l'information ici inclus demandez à un professionnel ou à votre magasin de referencia pour la résoudre.
Gardez les avertissements et instructions pour de futures références. Si vous vendez cette machine dans le futuro, rappelez-vous de donner ce manuel au nouveau propriete.
L'expression "machine" dans les avertissements fait reference à cette machine électrique connectée au réseau électrique.
L'expression "interrupteur «ouvert»" signifie "interrupteur déconnecté et "interrupteur "fermé" signifie interrupteur connecté.
Rappelez-vous que l'utiliseur est responsable des accidents et dommages provoqués à lui même, à des tiers et aux objets. Le fabricant ne serait pas tenu responsable des blessures et dommages provoqués par une mauvaise ou incorrecte utilisation de cette machine.
2. NORMES DE SECURITE

Pour ne pas manipuler incorrectement la machine, liquez les instructions du manuel avant d'utiliser la machine pour la première
fois. Toute information inclus dans ce manuel est importante pour la sécurité des personnes, animaux et choses qui sont à proximé. Si vous avez des doutes par rapport à l'information ici inclus demandez à un professionnel ou à votre magasin de référence pour la résoudre.
La liste suivante des risques et préventions, inclus des situations les plus probables qui peuvent arriver pendant l'utilisation de cette machine de la façon la plus sécurisé possible. Si vous vous trouvez dans une situation non désrite dans le manuel, utilisez le bon sens commun pour utiliser la machine de façon sécurisée ou, si vous vous sentez en périt, n'utilisez pas la machine.
2.1. UTILISATEURS
Cette machine a eté concue pour etre manipulée par des utilisateurs adultes et ayant lu et compris
les indications ici fournies. Cette machine ne peut pas etre utilise par des personnes (notamment des enfants) dont les capacités physiques, psychologiques ou mentales, ou le manque d'experience ou de connaissances.
ATTENTION: Ne permette pas aux personnes mineures d'utiliser cette machine.
ATTENTION: bien avoir compris les instructions avant d'utiliser cette machine.
Avant d'utiliser la machine, familiarisez-vous avec en vous assurant de connaître parfaitement où sont les contrôles, les dispositifs de sécurité et comment les utiliser. Si vous étés un utilisateur non experimenté, nous vous recommendons de commencer par des travaux simples et, si possible, accompagné d'une personne avec de l'expérience.
ATTENTION: Prétez la machine à des personnes qui connaissent ce genre de machines et savent comment l'utiliser. Avec la machine, prétez toujours le manuel d'utilisation pour que l'utilisateur puisse le litre et comprendre.
Cette machine est dangereuse pour des personnes qui l'utilisent pour la première fois.
2.2. SECURITE PERSONNELLE
Soyez attentif, regardez ce que vous estes en train de faire.
Ne modifies pas les contrôles de cette machine.
Evitez une mise en marche accidentelle de la machine. Assurez-vous que l'interrupteur est en position «ouvert» avant de connecter au réseau, prendre ou transporter la machine. Transporter des machines électriques avec le doigt sur l'interrupteur ou brancher des machines électriques avec
l'interrupteur dans la position "fermé" peutmettre en dangervoirsecurityetprovquerdesaccidents.
Ne pas utiliser cette machine si vous estes fatigued ou sous I'influence de drogues, alcohol ou medicaments. Une seconde de distraction lorsque vous maniez la machine peut provoquer de sérieuses blessures.
N'utilise pas cette machine si un des composants est abimé.
Ne jamais faire fonctionner la machine avec des protections défectueuses ou sans dispositif de sécurité.
Enlevez toutes les clés ou outillage à main de la machine et du lieu du travail avant de démarrer la machine. Une clé ou un outil proche à la machine peut être touché par une partie de la machine en mouvement et être projeté en provoquant des dommages personnels.
Ne vous surpasssez pas. Ayez les pieds bien fixes au sol et restez en équilibre à tout moment. Ayez toujours vos pieds bien stables et mettre en marche la machine que lorsque vos pied sont sur une surface fixe, sure et nivelée. Les surfaces glissantes ou instables peuvent provoquer une perte de contrôle de la machine ou d'équilibre.
Tenez toutes les parties de votre corps loin de l'outil de coupe et des pieces en mouvement lorsque le taille-haie est en marche. Avant de démarrer la machine, vérifie que l'outil de coupe n'est en contact avec aucun objet. Un moment d'inattention pendant le fonctionnement peut provoquer des blessures graves si une partie de vêtement ou autre partie de votre corps sont en contact avec la lame, ou peut vous couper.
Si la machine vibre bizarrement, arrêtez le moteur, enlevez la batterie et inspectez la machine en
cherchant la cause et, réparer-le. Si vous ne la trouvez pas, emmenez la machine au SAV.
Avant de laisser la machine seule, déconnectez-la, attendez a que la lame s'arrête et débranchez-la.
Stockez les outils inactifs hors de portée des enfants.
Ne chargez pas le fendeur de buches si le pouvoir n'est pas arrêté.
Tenez les mains éloignées des pieces en mouvement.
Tenez vos mains loin des coupures et fissures qui s'ouvrent dans le tronc pendant l'opération de coupe, car il pourrait se fermer soudainement et écraser ou de sectionner vos mains.
Ne pas supprimer les pièces coincées avec les mains.
Ne pas ouvrir le carter du moteur du pouvoir. Si nécessaire, contactez le service après vente.
N'essayez pas d'enlever les matériaux coupés de l'aire de travail ou de l'outil de coupependant que l'outil est en mouvement. Assurez-vous que la machine n'a pas la batterie mise, lorsque vous faites le nettoyage.
Coupez que les troncs avec les extremités perpendicular à l'axe du tronc. Les extremités des troncs doivent être coupés à angle droit.
Assurez-vous qu'il n'y a pas de clous ou de corps étrangers dans les troncs qui seront coupés. Objets étrangères et des clous peuvent être projétés et causer des blessures graves.
Ne coupez pas de troncs qui ont des branches. Branches doivent etre coupées au ras du tronc.
Le fendeur de bûches doit être manipulé par une seule personne. D'autres devraient être gardés à une distance de sécurité du fendeur en particulier lors de l'exécution. Ne jamais laisser que d'autres vous aident s'il ya une bûche coincée.
2.2.1. VETEMENTS DE TRAVAIL ET ÉQUIPEMENT DE SÉCURITÉ
Opter pour une tenue adequate. N'utilise pas de vêtements amples ou de bijoux. Tenez vos cheveux, vêtements et gants loin des pieces en mouvement.
Les vêtements lâches, les bijoux, ou les cheveux longs peuvent être pris par les pieces en mouvemen
Vous delve porter avec vous:
- Outils.
Protection des oreilles
Gants de travail - Bottes de sécurité
Le bruit provoqué par cette machine peut nuir à vos oreilles. Utilisez des protecteurs pour les oreilles. Si vous travailliez régulièrement avec cette machine, visitez régulièrement le médecin pour tester votre capacité auditive.
Attention! Lorsque vous travailliez avec les protecteurs auditifs, vous doivent prendre encore plus de soin vu que les signales audititives (des alarmes, cris, etc.) sont attenués.
2.3. SECURITE DANS L'AIRE DE TRAVAIL

N'utilise pas cette machine dans des atmospheres
explosives ainsi qu'en présence de liquides
inflammables, du gaz et de la poussière.
La zone comprend dans un radio de 15 mètres ajusté de la machina doit être considéré comme la zona à risque dans laquelle personne ne doit entraîr. Tant que la machine est en fonctionnement et, quand cela est possible, il faut utiliser un corde et des signaux d'ajvertissement ajusté der la zone de travail.
Tenez les enfants et curieux éloignées lorsque que vous manipuez la machine. Les distractions peuvent vous causer la perte de contrôle. Surveillez que des enfants, personnes ou animaux n'entrent pas dans votre aire de travail.
Ne pas utiliser cet apparéil s'il y a d'autres personnes dans l'aire de travail qui ne sont pas protégées avec des vêtements protecteurs, bottes, gants et lunettes.
Pour travailler, placez l'appareil sur une surface plane, horizontally, propre et exemple d'herbe, branches ou autres objets qui peuvent entraver la bonne circulation de l'opérateur tout en travaillant et à garantir uneonne stabilité de celui-ci.

Le fendeur de buches doit être manipulé par une seule personne. D'autres devraient être gardés à une distance de sécurité du fendeur en particulier lors de l'exécution. Ne jamais laisser que d'autres vous aident s'il ya une buche coincée.
Ne montez jamais sur le fendeur. Vous pourriez etre gravement blessé si la machine bascule ou si vous
entrez en contact avec les outils de coupe.
Ne mettez rien sur ou pres de la machine de sorte que personne ne peut monter sur la machine et, avoir accès au fendeur.
N'utilise pas la machine pendant la nuit, avec brouillard ou avec une visibilité réduite qui ne vous permet pas de voir avec clarté l'aire de travail.
Tenez l'aire de travail propre et travailliez avec un bon éclairage. Utilisez cette machine que à la lumière du jour ou avec une bonne luzière artificielle. Les aires en désordre et obscures peuvent provoquer des dommages. Vérifiez et enlevez les objets qui peuvent vous provoquer des dommages ou à la machine.
2.4. SECURITE ELECTRIQUE
Assurez-vous de connecter la machine dans une prise électrique à courant continue de 230V et 50Hz . Dans le cas où il arrive un court-circuit, la mis-à-terre réduira le risque d'électrocution.
Nos you recommendons de connecter cette machine à un dispositif différentiel résiduel dont le courant de chute soit inférieur ou égal à 30mA. Il doit se vérifier le fonctionnement correct de ce fusible différentiel avant de chaque utilisation.
Ne pas exposer la machine à la pluie ou à des conditions d'humidité. L'eau qui entre dans la machine augmentera le risque de chocoléctrique.
Ne jamais couper le cable. Il y a risque de chocolélectrique et de provoquer des dommages à la machine.
La prise électriche de la machine doit correspondre à la base de branchement. Ne jamais modifier la prise de chaque façon que se soit pour éviter le risque de chocolélectriche.
Evitez le contact du corps avec d'autres objets mis à terre comme des tuyaux, radiateurs, cuisines électriques et réfrigerateurs. Le risque de chocolélectrique augmente.
Ne touche pas les prises de courant aux câbles avec les mains mouillés.
N'utilise pas le cable pour transporter, lever ou débrancher cette machine. Ayez le cable loin de source de chaleur, huile, pieces en mouvement. Les cables abimés ou emmélés augmentent le risque de chic électrique.
Ne jamais utiliser ce chargeur avec le cable ou la prise abimée. Avant de connecter la machine vérifie la prise et le cable en merchant des dommages. Si vous découvertes des endommagements, envoyer votre machine à un Service Technique pour la faire réparer. Si le cable est abimé ou cassé, débranchez immidiatement. Les cables abimés ou emmelés car ils augmentent le risque de chocoléctrique.
Le remplacement de la prise ou de cable doit toujours etre fait par le fabricant ou le service après vente.
Ne pas ouvrir la boite à bornes du moteur. Si nécessaire, il doit être effectué par un électricien qualifié.
N'utilisez jamais une rallonge de cable abimée qui ne soit pas adaptée, aux normes requises pour cette machine.
Lorsque vous utilisez un prolongateur de cable assurez-vous qu'il ait une section minimale de 2,5 mm^2 et qu'il est concu pour un usage extérieur. La bonne utilisation d'un prolongateur réduit le risque de chic électrique.
Placez le cable prolongateur de façon à se qu'il ne s'engage pas entre les branches ou obstacles.
Le cable prolongateur doit toujours être derrière l'utilisateur, et non dans l'aire de travail.
Tenez le cable électrique toujours loin de l'util de coupe.
N'utilise pas cette machine si I'interrupteur ne change pas entre "ARRET" et "MARCHE". Toute machine électrique ne POUVANT est contrôle avec l'interrupteur est dangereuse et doit être réparée.
Toujours déconnectez la prise de la base avant de réaliser une opération sur la machine. Manipuez la machine seulement quand elle est déconnectée.
2.5. UTILISATION ET SOINS DE LA MACHINE
Utilisez cette machine, accessoires, outils, etc. en suivant les indications ici fournies et de la façon prévue, enPNANT compte des conditions du travail et du travail a faire.L'utilisation de cette machine pour des applications autres que celles prevues peut vousmettre enperil.
Vérifiez que tous les éléments de sécurité sont installés et dans un bon état.
Rappelez-vous que l'utiliseur est responsable des accidents et dommages provoqués à lui même, à des tiers et aux objets. Le fabricant ne serait pas tenu responsable des blessures et dommages provoqués par une mauvaise ou incorrecte utilisation de cette machine.
Tenez Your corps éloigné de l'util de coupe pendant que vous utilisez de la machine.
Ne forcez pas avec cette machine. Utilisez la machine pour l'application correcte.
Ne jamais essayer de couper des troncs plus grandes
que celles indiquées dans ce manuel cela pourrait être dangereux pour l'opérateur, la machine et tiers.
N'utilisez pas cette machine si l'interrupteur ne change pas entre "ARRET" et "MARCHE".
Toute machine électricne ne POUVANT être contrôle avec l'interrupteur est dangereuse et doit être réparée.
Faîte l'entretien de cette machine. Vérifie que les parties mobiles ne soient plus en ligne ou défectueuses, qu'il n'y a pas de pieces cassées ou autres conditions qui poussent affecter le fonctionnement de la machine. Chaque fois que cette machine est abimée, réparez-la avant de l'utiliser. Beaucoup des accidents sont provoqués par des machines mal entretenues.
Si l'outil de coupe frappe un élément étranger lorsque la machine est en fonctionnement, arrêtezla, déconnectez la machine de la prise et vérifie la machine avant de continuer. Si vous remarquez des signes de détérioration, emmenez votre machine au service après vente.
Eteignez et déconnectez la machine, et assurez-vous que l'outil de coupe est à l'arrêt avant d'effectuer n'importe quel ajustement, changer les accessoires, nettoyage, transport ou stockage cette machine. Ces mesures préventives de sécurité réduisent le risque de démarrer la machine accidentellement.
Débranchez la prise avant d'effectuer n'importe quel ajustement, changer les accessoires ou stocker cette machine. Ces mesures préventives de sécurité réduisent le risque de démarrer la machine accidentellement.
Si la machine commence à vibrer de manière étrange éteignez la microbineuse, déconnectez-la du réseau et examiner l'appareil pour couver la
cause. Si vous ne trouvez pas la cause, emmenez votre machine au service technique. Les vibrations sont toujours une indication d'un problème dans la machine.
En cas d'arrêt prolongée, déconnecter la machine de la prise.
2.6. SERVICE
Faites réviser périodiquement la machine électrique par un service après vente qualifié en utilisant que de pieces détachées identiques. Ce fait garantie la sécurité de la machine.
3. ETIQUETTES D'AVERTISSEMENT
Les iconées dans les étiquettes d'advertissement qui sont sur la machine et / ou dans le manuel sont la pour indiquer l'information nécessaire pour une'utilisation sécurisée de cette machine.

Attention danger!.

Lire attentivement ce manuel et de vous assurer que vous avez bien compris les instructions avant demettre en marche la machine.

Porter un masque de protection, oreilles et porter un casque.

Utiliser des gants de sécurité

Utilisez bottes non glissantes.

GARDEZ LES MAINS ELOIGNEES DES PIECES EN MOVEMENT.

TENEZ LES ENFANTS ET AUTRES PERSONNES LOIN DE LA MACHINE PENDANT QUE VOUS TRAVAILLEZ.

Lacher l'écrou de purgege avant d'utiliser la machine et serrez-le lorsque vous avez terminé avant de le transporter.

PROTEGEZ VOS MAINS. Gardez vos mains loin de scissions et de fissures qui ouvrent dans le tronc quand il est haché par la machine.

Ne chargez pas la machine si le pouvoir est pas arrêté.

Lisez la notice avant d'effectuer toute opération sur la machine.

Vérifiez qu'il n'y a pas de fuite d'huile.

Respectez les périodes de maintenance définies dans la notice.

PRENEZ SOIN DE VOTRE FONDEUR
À BUCHES: Gardez votre machine
propre pour bien travailler et en toute
sécurité
On (machine préte à l'emploi).
"OFF" = Arret (machine peut ne pas

Débarrasssez-vous de votre apparéil de façon écologique. Ne jetez pas la machine avec les déchets domestiques.

Cette machine est a usage domestique et est conqu pour couper des trons de 35 cm de diametre () et un maximum de 52 cm de longueur (), avec les extrémités coupées en perpendiculaire à l'axe du tronc par cisaillement grâce à la pression générées par un piston hydraulique qui est appliquée sur le tronc par une lame. Toutte autre utilisation peut être dangereuse pour vous, pour les personnes, les animaux et les choses qui sont autour et peuvent endommager la machine. L'utilisation de cette machine pour des opérations différentes à celles prévues, peut donner lieu à des situations dangereuses. Cette machine est pour un usage extérieur, dans ambiances séches et à des températures entre 5^ et 45^ .
Rappelez-vous que l'utilisateur est responsable des accidents et dommages provoqués à lui même, à des tiers et aux objets. Le fabricant ne serait pas tenu responsable des blessures et dommages provoqués par une mauvaise ou incorrecte utilisation de cette machine.
4.2.DESCRIPTION DETAILLE DU PRODUIT
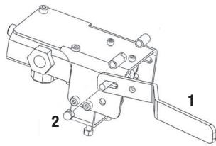
- Levier de control
- Hydraulique
- Poignée de transport
- Moteur
- Roue
- Lame
- Arcs de protection
- Table de travail
- Tour de colonne
- Vis du purge
- Base

Les images et les dessins figurant dans ce manuel sont purement représentatifs et peuvent ne pas répondre avec le produit réel.
4.3. SPECIFICITES
| Description | Fendeur de Bûches |
| Marque | Garland |
| Modèle | CHOPPER 452 ZE- V17 |
| Moteur | Electric |
| Tension-Fréquence | 240V-50Hz |
| Puisance maximal (W) | 2100 S6 40% |
| Diamètre du tronc à couper (cm) * | 7-35 |
| Longueur du tronc à couper (cm) * | 52 |
| Force de coupe maximale (t) | 10 |
| Viscosité de l'huile hydraulique | ISO HM22 |
| Capacité du réservoir d'huile hydraulique (l) | 4 |
| Poids (kg) | 98 |
- Le diamètre du tronc est indicatif. Un petit tronc peut être difficile à fendre si elle a des nœuds ou des fibres résistantes. D'autre part, il ne devrait pas être difficile de fendre des buches avec des fibres régulières, même si le diamètre dépasse le maximum.
Voutrouvrez des informations sur le modele et le numero de série sur I'etiquette d'information technique sur la machine.
Les spécifités peuvent être modifiées sans préavis.
Cette machine inclue les éléments suivants que vous trouvrez dans la boîte:
Machine.
Levier de travail (A) (x2).
Table (B).
- Arcs de protection de vis (C) (x2)
- Manuel de l'utilisateur.


Inspectez soigneusement le produit pour s'assurer qu'il n'y a pas d'éléments abîmés. Si des pieces sont abîmées ou manque, n'utilise pas la machine jusqu'à que le défaut soit réparé ou ait toutes les pieces. Une utilisation de cette machine en mauvais état, peut provoquer des chocs électriques, feu ou des dommages personnels.
Ne vous débarrasssez pas de l'emballage jusqu'à quand vous étés sur d'avoir reçu toutes les pieces et que la machine fonctionne correctement. L'emballage sera nécessaire au cas où vous avez besoin de returner la machine.
5.2. MONTAGE
Attention! Pour votre sécurité, ne pas connecter la machine à la puissance jusqu'à ce que la machine est complètement assemblé et vous lu et compris toutes les instructions dans ce manuel.


B

C

D

E

5.4. MISE EN MARCHE
5.4.1. POSITIONNEMENT DE LA MACHINE
Assurez-vous d'installer la machine dans une position vertical et stable, éloignée de murs et, qui a assez de place pour travailler.
5.4.2. POINTS A VERIFIER AVANT LA MISE EN MARCHE
Avant de commencer le travail, vérifie que la machine marche correctement et son fonctionnement est sécurisé.
N'utilise pas cette machine s'elle est abimée ou pas bien réglee.
Utilisez cette machine que pour les utilisations pour lesquels elle a eté concue. Tout autre usage pourrait etre dangereux, provoquant des dommages sur la machine, l'utilisateur, tiers, animaux ou choses qui sont aux alentours.
Vérifiez:
- La machine, recherche des pieces desserrées (cable, écrous, etc.) et endommagées.
- Que des parties mobiles de la machine ne sont pas en contact avec d'autres objets.
Serrez, répAREZ ou remplACER tout ce qui est nécessaire avant d'utiliser la machine.
N'utilise aucun accessoire pour la machine excepté ceux qui sont commandés par notre Entreprise car leur usage pourrait provoquer des dommages graves, tant pour l'usager que pour les personnes placées à proximité de la machine.
Vérifiez le niveau d'huile et assurez-vous qu'il est entre les deux repères de la jauge. Si elle est en
dessous du niveau le plus bas doit être rempli avec de l'huile.
Vérifier les fuites d'huile dans la machine. Si des fuites sont détectées, emmenez votre machine au ServiceAprèsVente.
Vérifiez le cable et interrupteur électrique. Si vous constatEZ une anomalie pas démarrer la machine et l'emmenez au Service Avec Vente le plus proche.
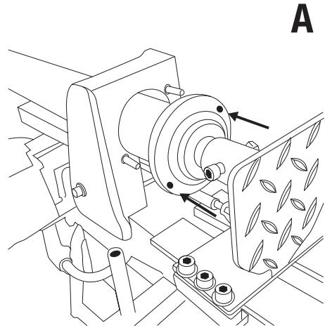
- Desserrer l'écrou de purge pour laisser l'air entre et sortir du réservoir d'huile en douceur.
Les flux d'air qui sort à travers le trou de vis de purgege doivent être déetectables pendant le fonctionnement de l'appareil. Si vous ne desserrez pas la vis de purgege, l'air à l'intérieur du système hydraulique ne pourrait pas sortir en se compriment dans chaque action de coupe de la machine. Cette pression d'air peut endommager les joints du système hydraulique en provoquant des dommages permanents dans la machine.

- Allumez le moteur en appuyant sur le bouton vert.
Note: Lorsque la température est basse, laisser la machine au ralenti pendant env. 15 minutes pour l'huile chauffe à la température appropriée.
5.4.3. POINTS DE VERIFICATION APRES LA MISE EN MARCHE
Il est important de faire attention aux possibles pièces lâches ou la température de la machine. Si vous détectez quelles chose de bizarre dans la machine, arrêtez la immédiatement et vérifie-la. Dau Service Technique pour l'entretien.
5.4.3.1. VERIFICATION DU SYSTEME DE SECURITE
Vérifiez que le système de sécurité marche bien en testant la machine sans tronc. Pour cela, allumer le moteur en appuyant l'interrupteur et pressez le deux leviers du contrôle hydraulique à la même fois vers le bas, la lame va commencer son mouvement de coupe. Lorsque la lame se déplace, arrêtez de presser le levier gauche et, la lame doit s'arrêter et rembobiner instantanément.
Si après le test, vous remarquez que l'appareil ne fonctionne pas comme déscrit dans ce point ne pas réutiliser la machine jusqu'à ce qu'il a été examé par un service technique.
Si après le test, vous remarquez que l'appareil ne fonctionne pas comme déscrit dans ce point ne pas réutiliser la machine jusqu'à ce qu'il a été examé par un service technique.
5.4.3.2. VERIFICATION DES FUITES
Vérifier les fuites d'huile dans la machine. Si des fuites sont détectées emmenez la machine au ServiceAprès Vente.
5.4. TRAS LA UTILIZACION
Une fois que vous arrêtez d'utiliser la machine:
- Debranchez l'alimentation électrique de la machine en appuyant sur l'interrupteur sur "O".
-
Debranche la machine.
-
Lorsque vous arrêtez d'utiliser la machine, serrez la vis de purgege pour éviter les fuites d'huile de la machine par la purgege.
6. ENTRETIEN ET SOIN
Ne jamais faire des ajustements dans la machine si elle est en marche. Effectuer tout l'entretien de la machine lorsque est fixé sur une surface plate et claire.
Ne jamais force la machine pendant plus de cinq secondes en appuyant sur un tronc trop dur. ÀpRES cet intervalle, l'huile sous pression peut surchauffer et endommager la machine. Pour troncs d'extrème durée, tournez le tronc de 90^ pour essayer de couper dans une autre position. Si vous ne pouvez toujours pas couper le tronc, cela signifie qu'il dépasse la durée admissible, vous doivent secher le tronc pour n'endommager pas la machine.
NOTE: Il est strictement interdit l'utilisation de la machine par deux personnes avec une d'entre elles en actionnant le de tronc de fixation et l'autre opérant les leviers. Le blocage d'une des leviers, (pour ne pas travailler qu'avoc un seul leviers) est également interdite.
6.1. LA COUPE
- Suívez les étapes de la section 5.3. "Mise en marche".
- Placez les troncs fermement sur la table de travaillée. Assurez-vous que le tronc ne se tord pas, balance ou glisse pendant la coupe. Cette machine a 2 vitesses de travail qui sont régliées en appuyant sur les leviers plus intensément.
-
Pressez le deux leviers du contrôle hydraulique à la même fois vers le bas.
-
Casser le tronc.
- Arretez d'appuyer sur les leviers de telle sorte que la lame, se soit retiree.
- Une fois le travaille est fini, suivez les pas du point 5.4. "Après utilisation".
Note:
- Cassez le tronc dans le sens de la croissance du tronc.
- Ne pas placer le tronc croisé, cela est dangereux et peut causeur de graves dommages à la machine.
- Ne pas essayer de couper deux buches à la fois, l'un d'eux pourrait être éjectée et vous blesser.
7. ENTRETIEN ET SOIN
Ne jamais faire des ajustements dans la machine si elle est en marche. Effectuer tout l'entretien de la machine lorsque est fixé sur une surface plate et claire.
ATTENTION! Ne pas modifier la machine ou les éléments de coupe. Une mauvaise utilisation de ces éléments peut provoquer des BLESSURES GRAVES OU LA MORT.
Si vous enlevelez les dispositifs de sécurité, faites un mauvais entretien, substituez le guide et / ou la chaine avec des pieces détachées non originales peuvent provoquer des risques d'accident, dommages personnels et rupture de la machine.
Effectuez des inspections périodiques à la machine, à fin d'assurer un bon fonctionnement de la machine. Pour un fonctionnement complet on vous recommend d'amener la machine au SAV.
Toujours utilisez des pieces détachées adéquates, a fin d'obtenir un rendement approprié du produit et éviter des dommages et risques à la machine et à l'utilateur. L'utilisation des pieces détachées, non
originales, peuvent provoquer risque d'accident, dommages personnels et rupture de la machine.
7.1.ENTRETIEN APRES UTILISATION
Réalisez les suivantes opérations d'entretien et soin quand vous terminez de travailler avec la machine pour vous assurez le bon fonctionnement de cette machine dans le futuro.
7.1.1. VERIFICATION GENERAL
Vérifiez la machine et cherchez des pieces desserrées (écrous, vis, couvercles, etc.) et dommages. Serrez, réparez ou remplacez les pieces endommagées. Assurez-vous qu'il n'existe pas de fuites ou pertes d'huile. N'utilise pas la machine si elle est endommagée ou pas bien réglée.
7.1.2. NETTOYAGE
Nettoyez le chassinis de votre machine avec un chiffon humidifié avec de l'eau. Ne jamais utiliser de gazoline, dissolvants, détergents, eau ou n'importe quel liquide pour le nettoyage de la machine
7.1.3.AFFUTAGE DE LA LAME
Après avoir utilisé votre fendeur pendant un certain temps, si vous Voyez le bord de la lame a perdu du fil, aiguisez-la à l'aide d'un lime des dents fines et soudues.
7.2. ENTRETIEN PERIODIQUE
Effectuez des inspections périodiques à la machine, à fin d'assurer un bon fonctionnement de la machine. Pour un fonctionnement complet on vous recommend d'amener la machine au SAV.
7.2.2.CHANGEMENT DE L'HUILE HYDRAULIQUE
ATTENTION! Ne jetez pas l'huile usagée dans les
égouts ou dans la nature. La pollution des eaux souterraines et nappes phréatiques est soumis à de grosses pénalisations. Portez l'huile usagée dans une déchetterie où vous trouvez des bacs de récapération prévus à cet effet.
Changez le d'huile hydraulique de la machine toutes les 150 heures d'utilisation.
Suivez ces étapes pour remplaner l'huile:
- Assurez-vous que toutes les parties mobiles de la machine sont arrêtées et débranchées.
- Devisser la vis de drainage d'huile (14).
- Dévisser la vis de drainage d'huile (1) et attendre que tout l'huile soit sortie de l'intérieur.
- Pousser la lame jusqu'à ce qu'elle atteigne le bas de son chemin pour s'assurer que toute l'huile sorte
- Poussez la lame jusqu'à ce qu'il attaigne le bout de sa route pour s'assurer de que tout l'huile est sortie.
- Dévissez le bouchon de replissage (9) et replir avec 4 l d'huile hydraulique nouveau.
- Nettoyer l'huile de la tige et, le placer dans le réservoir d'huile pour vérifier le niveau d'huile.
- Assurez-vous que l'huile a un niveau tel que la gauche est enduit avec de l'huile entre les deux marques.
Contrôler régulierement le niveau d'huile et assurez-vous qu'il est entre les deux repères de la jauge. Si elle est par-dessous de son plus bas niveau, vous devez replir d'huile. Pour un bon fonctionnement de votre système de transmission hydraulique de la machine utilisez de l'huile pour les apparéils hydrauliques avec des propriétés anti-usure, anticorrosion, anti-oxydation indice de viscosité elevé, bas point d'écoulement et de bonnes caractéristiques anti-mousse et le grade de viscosité ISO HM22.
- RESOLUTION DES PANNES
| ERREUR | CAUSE | ACTION |
| Le moteur s'accrite lors du démarrage | Dispositif de protection contre les surcharges estdéconnecté pour protégér la machine contre les dommages. | Allez au SAV pour connecter la machine à la protection contre les surcharges du dispositif à l'intérieur. |
| Échec de la section du tronc | Le tronc n'est pas bien placé | Lire la section "utilisation" pour installer le tronc correctement. |
| La taille ou la durée du tronc dépasse la capacité de la machine. | Réduire la taille des troncs avant de les diviser avec la machine. | |
| Il ya une fuite d'huile | Localiser la fuite et appelerz le SAV | |
| Il a été fait, un ajustement non autorisé, dans la vis de limitation pression maximale. | Contactez votre service | |
| Le pouvoir se déplace fortement, fait des bruits étranges ou vibre beaucoup. | Manque d'huile hydraulique et de l'air en excès dans le système. | Vérifiez le niveau d'huile et replir si besoin. Aller au SAV. |
| Fuites d'huile autour du cylindre | Air à pression dans le système hydraulique pendant l'utilisation. | Desserrer l'écrou de purge en tournant 3 ou 4 tours. |
| Le vis de purge n'a pas été serré avant de déplacer l'unité. | Serrer l'écrou de purge avant de déplacer l'unité | |
| La vis de purge de l'huile est lâche | Serrer l'écrou. | |
| La valvule de control hydraulique et / ou les joints sont usés | Aller au SAV. |
9. TRANSPORT
Toujours transporte la machine avec le moteur arrêté.
Avant de déplacer l'appareil, veillez à fixer les deux leviers de contrôle pour prévenir que les mouvements de balancement vers dehors puisent bleisser accidentellement personnes, autres équipements qui sont à proximité.
Pour éviter les fuites d'huile hydraulique, ne transportez jamais votre machine du côte et serrez le bouchon de purge.
Toujours laisser la lame absolument bas pour le transport.
Pour transporter la machine utilisez les roues. Tenez l'appareil par la poignee et tirez-le.
Si vous devez soulever la machine, vérifie les caractéristiques techniques le poids de la machine avant de la soulever pour s'assurer qu'il est un poids que vous pouvez manipuler.
Si vous allez transporter la machine par vehicule, fixez-la fermement pour qu'elle ne glisse ou bascule pas.
10. STOCKAGE
Assurez-vous que la machine reste hors de portée des enfants. Stockez les outils électriques inactifs dans un lieu non accessible aux enfants et sûre de façon à ne mette pas en périt des personnes. Le taille-haie hors utilisation doit être stocké nettoyé, sur une surface plate. Stockez la machine dans un lieu où les températures ne soit pas inférieure à 0^ et pas supérieure à 45^ .
Avant de stocker la machine suivez les points du chapitre d'entretien.
Si vous devez soulever la machine, vérifie les caractéristiques techniques le poids de la machine avant de la soulever pour s'assurer qu'il est un poids que vous pouvez manipuler.
11. RECYCLAGE
Protégier l'environnement. Recycler l'huile utilisée par cette machine et de l'emmenez à un point de recyclage ou suivre les recommendations locales. Ne pas vider dans les égouts, les sols, les rivières, les lacs ou des mers.
Débarrasssez-vous de votre appareil de façon écologique. On ne doit pas nous débarrasser des nos machines avec des déchets

domestiques. Les composants en plastique et métal peuvent être reclassés selon leur nature et recyclés.
Les matériels utilisés pour l'emballage de cette machine sont recyclables. S'il vous plait, ne jetez pas les emballages avec les

déchets domestiques. Jetez ces emballages dans un lieu officiel de recyclage.
12. GARANTIE
12.1. PÉRIODE DE GARANTIE
- La période de garantie (Loi 1999/44 CE) conformément aux termes décrits ci-dessous est de 2 ans à compter de la date d'achat, en ce qui concerne les pieces et la main d'oeuvre, contre les défauts de fabrication et de matériel.
12.2. EXCLUSIONS
La garantie Garland ne couvre pas :
- L'usure naturelle due à l'utilisation.
- Mauvais usage, utilisation inappropriée de la machine. Dommages provoqués par une intervention réalisée par du personnel non autorisé par Garland ou utilisation de pieces de rechanges pas d'origines.
12.3. TERRITOIRE
- La garantie Garland assures une couverture de service sur tout le territoire national.
12.4. EN CAS D'INCIDENT
- La garantie doit être correctement complie contenant toutes les données requisées et accompagnée d'une facture ou ticket d'achat de l'établissement du vendeur.
ATTENTION!
AFIN DE GARANTIR UN FONCTIONNEMENT ET UNSECURITE MAXIMALE, NOUS VOUS PRIONS DE LIREATTENTIVEMENT LE MANUEL D'INSTRUCTIONSAVANT L'UTILISATION DE CETTE MACHINE.
Le signataire ci-dessous, Lisardo Carballal, autorisé par Productos McLand.S.L., dont l'adresse est C/ La Fragua 22, 28932, Móstoles, España, déclare que les machines Garland modèles Chopper 452ZEV17 avec numéro de série de l'année 2017 en avant (l'année de fabrication est clairément indiqué sur la plaque d'identification de la machine suivi du numéro de série) et dont la fonction est "Machine à moteur conçue pour être utilisée en position fixe et munie d'un outil de coupe destinés à la fragmentation de bûches", respectent toutes les conditions de la Directive 2006/42/CE du Parlement européen et du Conseil du 17 mai 2006 relative aux machines et modifiant la directive 95/16/CE
Ces machines respectent aussi les conditions des directives communautaires suivantes:
- Directive 2014/30/ue du parlement européen et du conseil du 26 février 2014 relative à l'harmonisation des législations des États membres concernant la compatibilité electromagnetique (refonte
- Directive 2000/14/CE du Parlement européen et du Conseil du 8 mai 2000 concernant le rapprochement des législations des États membres relatives aux émissions sonores dans l'environnement des matériels destinés à être utilisés à l'extérieur desBATIMENTS
- Directive 2014/35/ue du parlement européen et du conseil du 26 février 2014 relative à l'harmonisation des législations des États membres concernant la mise à disposition sur le marché du matériel électrique destiné à être employé dans certaines limites de tension
- Norme harmonisée: EN 609-1:1999+A2:2009
EN 60204-1:2006+A1:2009
EN 55014-1:2006+Al+A2
EN 61000-3-2:2014
EN 61000-3-11:2000
EN 55014-2:2015
Est-ce première unité de ce genre?

GARLAND
VEASE EL MANUAL DE SERVICIO PARA
DETAILLES COMPLETOS SOBRE LA GARANTIA
Notice Facile