BHCB93640B - кухонная вытяжка BEKO - Бесплатное руководство пользователя
Найдите руководство к устройству бесплатно BHCB93640B BEKO в формате PDF.
Часто задаваемые вопросы - BHCB93640B BEKO
Questions des utilisateurs sur BHCB93640B BEKO
0 question sur cet appareil. Repondez a celles que vous connaissez ou posez la votre.
Poser une nouvelle question sur cet appareil
Скачайте инструкцию для вашего кухонная вытяжка в формате PDF бесплатно! Найдите своё руководство BHCB93640B - BEKO и возьмите своё электронное устройство обратно в руки. На этой странице опубликованы все документы, необходимые для использования вашего устройства. BHCB93640B бренда BEKO.
РУКОВОДСТВО ПОЛЬЗОВАТЕЛЯ BHCB93640B BEKO
Зо́нддом, ́ндд ́дсм до́гн ́дм́ймдо́мдол gsдмыббдз ́дмбчдз б́цвsdьцзгмдол ʃздз б́ дсм ́гсвбмдб д м́ hy м д о « м д о ъ у́лсгмбм ́gsдмыбдол о б ъ ф ц ч ї в о ъ д ъ, ́нддмыдьlsз ́ обо́о gsосбмдб.
• δ s ʒ ̃d ʒ ̃g ̃d ̃s s ̃n ŋ̃b̃q̃s q̃ss̃ñẽz̃õmb̃ ∂ m ̃f y m ∂ o ̃m m ∂ o l̃ ŋ̃l s ̃g ̃n m b m j ∂ o l̃ lɔʊb̃g̃j̃ds. q̃ss̃ŋ̃dʒ ̃g̃dʒŋ̃m̃os ∂ m ̃f y m ∂ o ̃m m ∂ o l̃ ʒ s l ̃ŋ ̃g ̃m s ʒ j ∂ o l̃s q̃s ň g̃j̃b̃o z ̃ŋ ̃ño ∂ m ∂ l s b ̃ŋ ̃n j ∂ o l̃ m ̃ʒ g ̃n s b o j ∂ o l̃ ∂ŋ̃l̃m̃ŋ̃m̃ŋ̃d̃s δ s ̃dʒ ̃g̃dōu ∂oŋ̃m ὀφωslm̃ŋ̃m̃ŋ̃dōu ∂ g ̃m ̃s ̃m y ̃ŋ ̃n j ∂ o l̃ δs̃m̃g̃j̃d̃j.
обгмндзбопюзол додзбомог
Значение на символите
ПРЕДУПРЕЖДЕНИЕ: Предупреждение за опасност от пожар.

ПРЕДУПРЕЖДЕНИЕ: Предупреждение за опасност от токов удар.
1
- не фламбирайте под Вашия уред.
ПРЕДУПРЕЖДЕНИЕ: Преди да монтирате аб- сорбатора отстранете за- Щитното фолио.
(Фигура 2) ВНСВ 93640 В
BHCB 93640 BH
3.1 Управление на Уреда
| Размер 53 x 50 мм | |
| ILCOS Код DR/F3-220-GZ10-50-53 | -240- |
| Светлинен поток 260 lm | |
| Корелирана цветна температура | 3000 K |
5.1 Положение на Уреда

С: Пластмасов Димоотвод
Пробийте маркираните точки с бор-машина ∅6 мм и вмъкнете две ∅6 мм пластмасови дюбели в пробитите от-вори (Фигура 13/А, В).
Сглобете тялото на аспиратора (Фигура 7).

Поставете димоотводите на аспиратора (Фигура 12)
6
Руководство пользователя

Ознакомьтесь с этим руководством перед началом эксплуатации!
Уважаемый покупатель!
Благодарим Вас за выбор этого изделия компании Beko. Мы надеемся, что продукция, изготовленная на современном оборудовании и имеющая высокий уровень качества, будет служить вам наилучшим образом. Для этого, перед началом эксплуатации, внимательно прочтите данное руководство и все прочие сопроводительные документы, и используйте их в дальнейшем в справочных целях. При передаче устройства другому лицу необходимо также передать это руководство. Соблюдайте указания, которые даны в этом руководстве пользователя, и обращайте особое внимание на справочные пометки и предупреждения.
Имейте в виду, что данное руководство пользователя может также относиться к другим моделям. Различия между моделями четко описаны в руководстве.
Условные обозначения
В разных разделах данного руководстве пользователя используются следующие символы:

Важная информация и полезные советы относительно эксплуатации.

ВНИМАНИЕ: Предупреждения об опасности травмирования или повреждения имущества.

Предупреждение об опасности возникновения пожара.

Предупреждение об опасности поражения электрическим током.

ПЕРЕРАБОТАННАЯ И ПЕРЕРАБАТЫВАЕМАЯ БУМАГА
Этот прибор изготовлен на экологически безвредном современном оборудовании, без нанесения ущерба окружающей среде.
1
Важные инструкции по технике безопасности и защите окружающей среды
1.1. Общие правила техники безопасности
Важные инструкции по технике безопасности: внимательно ознакомь-тесь и сохраните для дальнейшего использования В этом разделе содержатся правила техники безопасности, соблюдение которых позволит исключить риск возникновения пожара, поражения электрическим током, воздействия утечек микроволнового излучения, получения иных травм или причинения материального ущерба. При несоблюдении этих правил все гарантийные обязательства аннулируются.
- Изделия торговой марки Веко соответствуют действующим стандартам безопасности. В случае повреждения электроприбора или шнура питания, во избежание
опасных ситуаций, ремонт или замена должны производиться дилером, сервисным центром, специалистом или авторизованной службой. Неправильно или непрофессионально выполненные ремонтные работы могут привести к опасным для пользователя ситуациям.
- Этот прибор предназначен только для бытового и сходного с ним применения, а именно:
– в кухонных зонах для персонала в магази-нах, офисах и других рабочих помещениях;
- на фермах;
– в номерах гостиниц,
мотелей и т. п.;
– в помещениях, предоставляемых для проживания на условиях полупансиона.
1 Важные инструкции по технике безопасности и защите окружающей среды
- Используйте данный электроприбор только по его прямому назначению, как описано в данном руководстве.
- Производитель не несет ответственности за любые повреждения, возникшие в результате неправильного использования или неправильной установки изделия.
• Дети старше 8 лет, а также лица с ограниченными физическими, сенсорными и умственными способностями или без соответствующих навыков и опыта могут использовать данный прибор только под присмотром или после получения инструкций по поводу безопасного использования прибора и осознания связанных с этим опасностей.
- Не позволяйте детям играть с прибором. Не позволяйте детям само-
стоятельно выполнять очистку и обслуживание прибора.
- Минимальное расстояние между опорной поверхностью емкостей для приготовления пищи на варочной панели и самой нижней частью изделия должно быть не менее 65 см.
- Если в инструкции по установке газовой плиты указано большее расстояние, это следует принять во внимание.
- Напряжение сети питания должно соответствовать номинальным характеристикам, указанным на паспортной табличке электроприбора.
- Ни в коем случае не пользуйтесь электроприбором, если шнур питания или электроприбор повреждены.
- Во избежание повреждения шнура пита-
1 Важные инструкции по технике безопасности и защите окружающей среды
ния не допускайте его сдавливания, перегиба или контакта с острыми кромками. Не допускайте соприкосновения шнура питания с горячими поверхностями или открытым пламенем.
• Включайте прибор только в розетку с за-земляющим контактом.
ВНИМАНИЕ: Не подключайте прибор к электросети до полного завершения работ по установке.
- Электроприбор следует располагать таким образом, чтобы штепсельная вилка была легкодоступна.
- Не прикасайтесь к лампам, если они работали в течение длительного времени. Это может вызвать ожог рук, поскольку лампы очень горячие.
- Следуйте инструкциям, установленным ком-
петентными органами относительно выпуска отработанного воздуха (данное предупреждение касается вентиляционных труб).
- Включите прибор после того, как поставите кастрюлю, сковороду и т. д. на варочную панель. В противном случае высокая температура может привести к деформации некоторых частей изделия.
- Отключайте варочную панель перед тем, как убрать с нее кастрюлю, сковороду и т.д.
- Не оставляйте горячее масло на варочной панели. Сковорода с горячим маслом может стать причиной самовозгорания.
- Следите за шторами и занавесками, поскольку приготовлении таких блюд, как картофель
1 Важные инструкции по технике безопасности и защите окружающей среды
фри масло может загореться.
- Замену жироулавлива- теля следует осуществ- влять, как минимум, раз в месяц. Замену уголь- ного фильтра осущест- влять, как минимум, раз в 3 месяца.
- Чистку изделия необходимо выполнять в соответствии с инструкциями руководства пользователя. Если чистка изделия не осуществляется в соответствии с указаниями руководства пользователя, существует риск возникновения пожара.
- Не используйте неогнеупорные фильтрующие материалы вместо текущего фильтра.
- Используйте только оригинальные детали или же рекомендованные производителем детали.
- Не эксплуатируйте из- делие без фильтра и не
снимайте фильтры во время работы изделия.
• В случае возникновения пожара, отключите питание изделия и кухонной плиты.
• В случае возникновения пожара, накройте источник огня. Применение воды для тушения не допускается.
- Отключайте прибор от электросети перед чисткой, а также когда он не используется.
- Отрицательное давление окружающей среды не должно превышать 4 Па (4 x 10 бар) во время одновременной работы вытяжки для электрической варочной панели и приборов, работающих от другого источника энергии.
• В среде, где используется прибор, выхлопные газы устройств, работающих на жидком то-
1 Важные инструкции по технике безопасности и защите окружающей среды
пливе или газе, таких как комнатный обогреватель, должны быть полностью изолированы, или должны быть герметичными.
- При подсоединении к вытяжной трубе, используйте трубы диаметром 120 или 150 мм. Соединения труб должны быть как можно более короткими и иметь минимальное количество колен.
- Существует опасность удушья! Храните упаковочные материалы в недоступном для детей месте.
ОСТОРОЖНО: Доступные детали при- бора могут нагреваться во время использования кухонных плит.
- Выход вытяжки нельзя подключать в воздуховодам, которые заняты отводом других отработанных воздушных масс.
• Вентиляция в помещении может быть недостаточной в случае, если вытяжка для электрической варочной панели используется одновременно с устройствами, работающими на газе или других видах топлива (это не относится к приборам, которые только выпускают воздух обратно в помещение).
- Находящиеся на изделии предметы могут упасть. Не следует класть посторонние предметы на вытяжку.
- Фламбирование блюд под изделием не допускается.
ВНИМАНИЕ: Перед началом работ по установ-
ке вытяжки удалите за- щитную пленку.
- Никогда не оставляйте открытым высокое пламя под работающей вытяжкой.
1 Важные инструкции по технике безопасности и защите окружающей среды
- Во время использования фритюрниц их необходимо держать под постоянным присмотром: сильно нагретое масло может загореться.
1.2 Соответствие Директиве по утилизации отходов электрического и электронного оборудования и утилизация продукта:
Данное изделие соответствует требованиям Директивы по утилизации отходов электрического и электронного оборудования (2012/19/EC). На изделие нанесено условное обозначение для отходов электрического электронного оборудования (WEEE).

Этот символ означает, что по истечении срока службы данного прибора, он не должен утилизироваться вместе с другими бытовыми отхода- ми. Бывшее в употреблении устройство необходимо сдать в официальный пункт сбора для утилизации электрического и электронного оборудования. Для получения информации о таких пунктах сбора, пожалуйста, свяжитесь с местными органами власти или розничной торговли, по месту покупки настоящего прибора. В вопросах восстановления и утилизации бывших в употреблении приборов каждый конкретный владелец играет важную роль. Надлежащая утилизация использованного бывшего в употреблении прибора помогает предот-
вратить потенциальные негативные последствия для окружающей среды и здоровья человека.
1.3 Соответствие Директиве EC об ограничении содержания вредных веществ (RoHS):
Приобретенное вами изделие соответствует Директиве ЕС о правилах ограничения содержания вредных веществ (2011/65/EU). Оно не содержит вредных и запрещенных материалов, указанных в Директиве.
1.4 Информация об упаковке

Упаковка прибора изготовлене на из вторичного сырья, в соответствии с нашими государственными законами об охра- не окружающей среды. Не выбрасывайте упаковочные материалы вместе с бытовыми или другими отходами. Отнесите их в пункты приема упаковочных материалов, утвержденные местными органами власти.
2 Общий вид
2.1 Краткое описание

(Рисунок 2)(Рисунок 1) ВНСВ 93640 В ВНСВ 93640 ВН
- Внутренний дымоход
- Внешний дымоход
- Панель управления
- Алюминиевый жировой фильтр
- Освещение
2.2 Технические данные
| Модель | ВНСВ 93640 В ВНСВ 93640 ВН |
| Напряжение питания | 220-240 В / 50 Гц |
| Мощность лампы | 2 x 3 Вт |
| Мощность двигателя | 210 W |
| Поток - 3. Уровень | 645 м3/ч |
| Класс изоляции мотора | Класс F |
| Класс изоляции | Класс 1 |
3 Эксплуатация устройства
3.1 Управление Устройством
| A | 1B | 2C | 3D |
| КНОПКА НАЗНАЧЕНИЕ | |||
| A : Вкл / Выкл освещения | Вы можете осветить зону приготовления, нажав эту кнопку. При повторном нажатии данной кнопки лампа выключается. | ||
| В : 1. Кнопка ступени | Включает прибор на 1-й скорости. При повторном нажатии этой кнопки для выключения прибора уровень скорости экрана отключается. | ||
| С : 2. Кнопка ступени | Включает прибор на 2-й скорости. При повторном нажатии этой кнопки для выключения прибора уровень скорости экрана отключается. | ||
| D : Кнопка 3-й ступени | Включает прибор на 3-й скорости. При повторном нажатии этой кнопки для выключения прибора уровень скорости экрана отключается. | ||
3.2 Энергоэффективное использование
- При использовании вытяжки для экономии электроэнергии устанавливайте скорость в соответствии с интенсивностью образования пара или запаха.
- В обычных условиях используйте низкие скорости (1-2), а при интенсивном образовании пара и запаха – высокую (3).
- Лампы на вытяжке предназначены для освещения места готовки.
- Их использование для освещения помещения приведет к чрезмерному потреблению электроэнергии и будет недостаточным.
3.3 Эксплуатация вытяжки
- В вытяжке имеется мотор, работающий на разных скоростях.
- Для лучшей производительности мы рекомендуем использовать низкие скорости в нормальных условиях и высокие скорости в случае сильного запаха и интенсивного пара.
- Вы можете запустить прибор, нажав кнопку желаемой скорости. (В, С, Д)
- Вы можете осветить зону приготовления, нажав на лампу (А).
3.4 Автоматическая остановка
В вашем приборе есть функция автоматической остановки, которая позволяет ему проветривать еще немного и удалять нежелательные запахи и пар из окружающей среды, а также автоматически выключаться после завершения приготовления. Чтобы включить функцию автоматической остановки, нажмите кнопку любой ступени скорости (А, В, С) на панели управления и удерживайте более 2 секунд, после этого активируется функция 15-минутного таймера. Когда функция автоматической остановки активна, нажатие той же кнопки скорости отключает функцию автоматической остановки, и двигатель устройства останавливается. Эта функция отключается при переключении между различными ступенями скорости. Если вы хотите, чтобы прибор останавливался автоматически, вам не-
3 Эксплуатация устройства
обходимо снова включить функцию автоматической остановки.
3.5 Замена лампы
MAX 3 W


Выполните электрические подключения устройства. В вашем приборе используется точечная светодиодная лампа мощностью 3 Вт. Для замены ламп нажмите на держатель вниз, поверните его против часовой стрелки и вытащите его. Выполните описанную выше операцию в обратном порядке, чтобы установить новые лампы (Рисунок 3).
| Лампочка | ![]() |
| Мощность лампочки | 3 Вт |
| Держатель / Гнездо | GZ 10 |
| Напряжениелампочки | 220 - 240 В |
| Размер | 53 x 50 мм |
| Код ILCOS | DR/F3-220-240-GZ10-50-53 |
| Световой поток | 260 lm |
| Коррелированная цветовая температура | 3000 К |
Этот продукт содержит источник света класса энергоэффективности «F».
3.6 Работа с подключением к дымоходу

дится через дымоход, который кре- пится к соединительной головке вытяжки.
• Диаметр дымохода должен быть таким же, как у соединительного кольца. В горизонтальном положении труба должна иметь небольшой наклон вверх (около 10°), чтобы воздух мог легко выходить из комнаты.
3.7 Работа без подключения к дымоходу

фильтруется через угольный фильтр и рециркули- рует в помещении. Угольный фильтр при-
меняется, когда в доме нельзя использовать дымоход.
- При использовании без дымохода снимите заслонки внутри переходника дымохода.
- Снимите алюминиевый жировой фильтр. Чтобы установить угольный фильтр, прикрепите фильтр к выступам, центрируя его на пластиковом элементе с обеих сторон корпуса вентилятора. Затяните, повернув вправо или влево.
- Заменить алюминиевый жировой фильтр.
4 Очистка и уход

Отключите устройство от сети или выключите соединения перед чисткой и техническим обслуживанием.
4.1 Очистка алюминиевого жирового фильтра
Алюминиевый жировой фильтр используется для удержания частиц масла в воздухе. Алюминиевый жировой фильтр может изменить цвет после многократной очистки. Это нормально, и вам не нужно менять фильтры.

- Выдвиньте затвор алюминиевого масляного фильтра вперед.
- Затем слегка потяните вниз и вытащите (Рисунок 4). Иначе вы можете искривать фильтр. Вымойте и прополоскайте алюминиевые жировые фильтры жидким моющим средством и замените фильтры в их гнездах, выполнив действия, указанные выше, в обратном порядке.
Эти алюминиевые жировые фильтры используются для удержания частиц масла в воздухе.

Вы также можете мыть алюминиевый жировой фильтр в посудомоечной машине.

ВНИМАНИЕ: В случае нормальной эксплуатации очищайте алюминиевый жировой фильтр один раз в месяц.
4.2 Замена угольных фильтров

text_image
1 2 2(Рисунок 5)
- Приобретенный прибор подходит для использования с угольными фильтрами.
- Снимите алюминиевый жировой фильтр (Рисунок 4).
- Поместите нижнюю часть угольного фильтра в моторный блок (Рисунок 5).
- Нажмите на язычок угольного фильтра и протолкните его вперед, убедившись, что язычки угольного фильтра зафиксированы и заблокированы. (Рисунок 5).
- Установите алюминиевый жировой фильтр.

ВНИМАНИЕ
- Запрещено мыть угольные фильтры.
- Заменяйте угольные фильтры каждые 3 месяца.
- Вы можете приобрести угольный фильтр в авторизованных сервисах.
5
Установка изделия

ПРЕДУПРЕЖДЕНИЕ:
Перед началом установки прочтите информацию по безопасности в Руководстве пользователя.

ПРЕДУПРЕЖДЕНИЕ:
Несоблюдение инструкций по установке с помощью винтов и стабилизаторов может привести к поражению электрическим током.
По вопросам установки вытяжки обращайтесь в ближайший авторизованный сервисный центр.
Заказчик несет ответственность за подготовку места и электрического монтажа вытяжки.
5.1 Положение изделия

text_image
65 cm(Рисунке 6)
- Перед сборкой необходимо учитывать расстояние между плитой и вытяжкой. Это расстояние должно составлять 65 см (Рисунок 6).
- Расстояние необходимо измерять от поверхности решетки для газовых плит,
- от поверхности стекла для электрических плит.
5.2 Принадлежности для установки







7











- Прибор
2.Внутренний дымоход
3.Внешний дымоход
4.Пластиковый переходник дымохода Ø150/120 мм - Соединительная пластина вытяжной трубы
6.Руководство по эксплуатации - Схема сборки
8.2 x Подвесные пластины
9.2 x Пластиковый дюбель ∅6 мм
10.4 x Пластиковый дюбель ∅10 мм
11.4 x 5.5 x 60 Винт для настенного крепления
12.2 x M5 x 35 Соединительный винт подвесной пластины
13.2 x 3.9 x 22 Винт пластины соединения дымохода
14.2x Мч Вашер
15.Дефлектор воздуха - Пластиковый адаптер (воздухоот-
водчик)
17.2 x 3.5 x 9.5 Винт пластины соединения дымохода
18.Зажим дымохода
4 Очистка и уход
Информация, необходимая для выбора места, подходящего для установки вытяжки, представлена ниже.
5.3 Настенное крепление
- Стена должна быть плоской, прямой и иметь достаточную несущую способность.
- Длина отверстий для сверления должна соответствовать длине болтов.
- Винты и дюбели, поставляемые изделием, подходят для кирпичных стен. При установке на стенах из других строительных материалов (например, гипсокартона, плиты, пористого бетона) следует использовать подходящие крепежные дюбели и гайки.

text_image
2x Ø6 mm 2x 3,9x22 mm A,B Ø6 mm A B C,D,E Ø10 4x Ø10mm 2x 5,5x60 5 mm D E F(Рисунок 7)

ВНИМАНИЕ: Перед началом сверления убедитесь, что в непосредственной близости от мест сверления нет электрических кабелей, газовых или водопроводных труб.
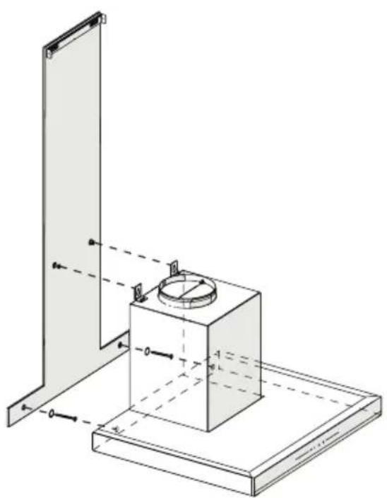
Нарисуйте среднюю линию от потолка перпендикулярно нижнему краю вытяжки.
Закрепите схему сборки на стене. Для точек А и В возьмите максимальные размеры вытяжки в качестве справочных и просверлите точки А и В, которые вы отметили сверлом ∅6 мм, и вставьте на пластиковые дюбели ∅6 мм. Прикрепите соединительную пластину дымохода к стене двумя винтами 3,9x22 (Рисунок 8).
Для установки корпуса вытяжки просверлите точки C, D, E, F указанные в установочном шаблоне, сверлом ∅10 мм и вставьте в эти точки пластиковые дюбели ∅10 мм (Рисунок 8).
Установите 2 монтажных винта 5,5x60 в точки C и D с зазором 5 мм между головкой винта и стеной (Рисунок 8).

text_image
1 2(Рисунок 8)
Установите две подвесные пластины на корпус вытяжки с помощью крепежных винтов M5x35 (Рисунок 8).
5 Установка изделия

Удерживая изделие за корпус, поместите его на винты для подвешивания на стене и затяните винты (Рисунок 9).
Установите шайбы М4 на подвесные винты 5,5x60. Закрепите вытяжку шурупом 5,5x60 к стене через монтажное отверстие внутри прибора (Рисунок 9).
5.4 Подключение к дымоходу
Если вы собираетесь использовать пластиковый переходник для дымохода ∅ 120/150 мм, подсоедините один конец трубы к этому переходнику, если вы не собираетесь его использовать, к прямому выходу на изделии. Подключите другой конец трубы к дымоходу. Убедитесь, что эти два соединения достаточно тугие, чтобы они не выскочили, когда прибор будет работать на полную мощность. Проверить, работают ли заслонки внутри дымохода, когда они затянуты зажимами.
Подсоедините соединительный канал дымохода за пределами адаптера (Рисунок 11/a). Если соединительный канал расположен внутри адаптера, всасывание воздуха не должно происходить, так как заслонка дымохода, препятствующая возврату воздуха, будет оставаться закрытой (Рисунок 11/b). Длина трубы, а также количество колен трубы должны быть минимальными.
A : Труба выхода дымохода
В : Обратные заслонки
C: Пластиковая вытяжная труба
Клапаны закрыты, значит прибор не работает, и предотвращают попадание внутрь возможного запаха извне и пыли.

5.5 Установка вытяжки на дымоход
Подключите вытяжку к электросети перед установкой дымохода. Наденьте пластины дымохода на корпус.
Установите пластину дымохода на крепежную пластину дымохода, которая крепится к стене с ее верхних внешних краев (Рисунок 12).

- Внутренний дымоход
- Винт 3,5×9,5
- Соединительная пластина вытяжной трубы
5.6 Установка воздушной заслонки ВНСВ 93640 ВН
При использовании с угольным фильтром в комплекте с прибором поставляется воздухозаборник, предназначенный для повторного выпуска воздуха, очищенного с помощью угольного фильтра, из перфорированного отверстия на дымоходе. Соберите дефлектор, как показано ниже.

text_image
39.50mm 188mm 46.50mm A B C D E F Ø6mm 160mm B A D C F E 6x Ø6mm 2x Ø 3,9 x 22 mm(Рисунок 13)
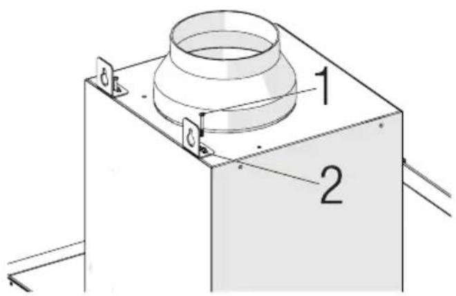
Посередине соединительной пла- стины дымохода имеется язычок. Поместите среднюю точку данного язычка на линию, которая нарисована перпендикулярно стене. Выровняйте по горизонтали и отметьте отверстия с помощью ручки, в которых соедини- тельная пластина будет установлена (Рисунок 13/А, В).
Просверлите отмеченные точки ∅6 мм сверлом и вставьте два пластиковых штифта в просверленные отверстия (Рисунок 13/А, В).
Прикрепите соединительную пластину дымохода к стене винтами 3,9x22 (Рисунок 13/А, В).
Для сборки воздуховода установите точки C, D, E, F с помощью сверла ∅6 мм и пластиковых дюбелей ∅6 мм (Рисунок 13).

text_image
1 2(Рисунок 14)
- Воздушный дефлектор
- Пластиковый дымоход
5 Установка изделия
Прикрепите пластмассовый переходник дымохода, входящий в комплект поставки, по направлению к дефлектору. Зафиксируйте переходник дымохода, повернув его в направлении стрелки (Рисунок 14).

Соберите группу воздуховодов с помощью винтов 3,9 x 22 из точек C, D, E, F, которые вы уже подготовили (Рисунок 13).
Соберите корпус вытяжки (Рисунок 7).

- Алюминиевая выпускная труба Соберите сборку воздуховыпускной трубы (Рисунок 16).

Так как в результате перегибания и перекручивания алюминиевой трубы может иметь место снижение мощности всасывания, следует по возможности избегать перекручиваний и перегибаний.
Установите пластины дымохода вытяжки (Рисунок 12)
6
Устранение неисправностей
| Устранение неисправностей | Причина Решение | |
| Изделие не работает. | Проверить предохранитель. Предохранитель может быть отключен, включите его. | |
| Изделие не работает. | Проверьте электрическое соединение. | Напряжение в сети должно составлять 220-240 В. |
| Изделие не работает. | Проверьте электрическое соединение. | Проверьте, работает ли другое оборудование на кухне. |
| Не горит лампа освещения. | Проверьте электрическое соединение. | Напряжение в сети должно составлять 220-240 В. |
| Не горит лампа освещения. | Проверьте выключатель лампы. | Выключатель лампы должен находиться в положении «вкл.». |
| Не горит лампа освещения. | Проверьте лампы. Лампы изделия должны быть исправны. | |
| Изделие не обеспечивает эффективный забор воздуха. | Проверьте алюминиевый фильтр. | При обычных условиях эксплуатации алюминиевый фильтр необходимо чистить не реже раза в месяц. |
| Изделие не обеспечивает эффективный забор воздуха. | Проверьте воздушную заслонку вентиляционной трубы. | Заслонка вентиляционной трубы должна находиться в положении «вкл.». |
| Изделие не обеспечивает эффективный забор воздуха. | Проверьте угольный фильтр. При обычных условиях эксплуатации в изделиях, оборудованных угольным фильтром, его замену следует производить каждые 3 месяца. |

text_image
beko Казақстан Республикасы аумағында әрекет етеді Действует на территории Республики Казахстан Адрес: 109004, Россия, Москва, ул. Станиславского д.21, стр.1 Телефоны горячей линии 8-800-200-23-56 (Звонок бесплатный на всей территории Республики Казахстан) http://www.beko.ruГарантийный талон №
Серийный номер
| Дата продажи ......Компания ......Подпись продавца ......ПЕЧАТЬ | Дата установкиКомпания ......Подпись мастера ......ПЕЧАТЬ |
Телефон
Изделие проверялось в присутствии покупателя, Покупатель с условиями гарантии ознакомлен. Претензий к внешнему виду и комплектации не и
Отрывные купоны гарантийного талона являются средством отчетности о выполнении сервисным центром гарантийных работ. Купон изымается из гарантийного талона после удовлетворения Ваших претензий.
beko
серия № ......
Дата продажи ......
ПЕЧАТЬ
МАГАЗИНА
3
beko
серия № ......
Дата продажи ......
ПЕЧАТЬ
МАГАЗИНА
2
beko
серия № ......
Дата продажи ......
ПЕЧАТЬ
МАГАЗИНА
-1
2824180475_B
a) если изделие, предназначенное для личных (бытовых, семейных) нужд, использовалось для осуществления предпринимательской деятельности, а также в иных целях, не соответствующих его прямому назначению;
б) в случае нарушения правил и условий эксплуатации, установки изделия, изложенных в инструкции по эксплуатации и инструкции по установке;
в) если изделие имеет следы попыток неквалифицированного ремонта;
г) если дефект вызван изменением конструкции или схемы изделия, не предусмотренные изготовителем;
д) если дефект вызван действием непреодолимых сил, несчастными случаями, умышленными или неосторожными действиями потребителя или третьих лиц;
е) если обнаружены повреждения, вызванные попаданием внутрь изделия посторонних предметов, веществ, жидкостей, насекомых;
ж) использование неоригинальных расходных материалов автоматически лишает Вас гарантии изготовителя.
-
Гарантийные обязательства и бесплатное сервисное обслуживание не распространяются на следующие недостатки изделия: а) механические повреждения, возникшие после передачи товара потребителю; б) повреждения, вызванные несоответствием стандартам параметров питающих, телекоммуникационных, кабельных сетей и других подобных внешних факторов; в) повреждения, вызванные использованием нестандартных и (или) некачественных расходных материалов, принадлежностей, запасных частей.
-
В случае несвоевременного (спустя более чем один месяц) извещения о выявленных недостатках изделия, изготовитель оставляет за собой право отказаться полностью или частично от удовлетворения предъявляемых требований (ст. 436 ГК РК).
НАЗАР АУДАРЫНЫЗДАР!
Уш контактілі желілік айыры бар бүйым, міндетті түрде, жерге түйыкталуы тиіс. ВНИМАНИЕ!
Изделие, имеющее трехконтактную сетевую вилку, обязательно должно быть з
землено.
| Покупатель ____Фамилия, Имя, ОтчествоАдрес ____Тел. ____Дата ремонта ____Серв. центр ____Мастер ____Фамилия, Имя, Отчество | Покупатель ____Фамилия, Имя, ОтчествоАдрес ____Тел. ____Дата ремонта ____Серв. центр ____Мастер ____Фамилия, Имя, Отчество | Покупатель ____Фамилия, Имя, ОтчествоАдрес ____Тел. ____Дата ремонта ____Серв. центр ____Мастер ____Фамилия, Имя, Отчество |
| ДатаХарактер неисправности Принятые меры | |
M.
Подпись ответственного лица
у жолндент фескаулькта жазвыт ан талантарды офт ан жаг дайда, в) Бер буйымла рукост отідмеген женден жамьктарының ізі аныктеле:
в) Остандарнарта сай Келямитин жеко (помово) санасыз шытые материя дары, квоздыңтар, косалки бедшектор куст, козі алемонеттері, аккоратты тосималлаушь тарк, колданулан, пайда
Уважаемый Покупатель!
Уважаемый Покупатель!
Уважаемый Покупатель!
Уважаемый Покупатель!
Уважаемый Покупатель!
Уважаемый Покупатель!
уважаемый Покупатель!
уважаемый покупатель!
уважаемый покупатель!
Уважаемый покупатель:
Уважаемый Покупатель!
Уважаемый Покупатель!
Уважаемый Покупатель!
Уважаемый Покупатель!
Уважаемый Покупатель!
Уважаемый Покупатель!
уважаемый Покупатель!
уважаемый покупатель!
уважаемый покупатель!
Уважаемый покупатель:
Уважаемый Покупатель!
Уважаемый Покупатель!
Уважаемый Покупатель!
Уважаемый Покупатель!
Уважаемый Покупатель!
Уважаемый Покупатель!
Благодарим Вас за выбор изделия торговой марки БЕКО.
вливает официальный срок службы на крупную бытовую технику 10 (
потребителю. На прочую бытовую технику, телевизоры, аудио-видео
ционеры, предназначенные для использования в быту, устанавливает
и условии соблюдения правил эксплуатации. Учитывая высокое качеств
опасности продукции БЕКО, фактический срок эксплуатации может зна
мальный. Вся продукция, предназначенная БЕКО для поставок в опред
на с учетом условий эксплуатации этой страны. Чтобы убедиться в это
личие на изделии и упаковке официальных знаков соответствия. Если у
роблемы,настоятельно рекомендуем Вам обратиться в уполномоченн
, адреса и телефоны которых Вы можете узнать из приложения к гаран
ефону горячей линии (звонок бесплатный на всей территории Республи
тийным талоном БЕКО подтверждает принятие на себя обязательс
ований потребителей, в случае обнаружения непостатков изделия.
собой право отказать как в гарантийном, так и бесплатном сервисном
нае несоблюдения изложенных ниже условий. Все условия гарантийны
и бесплатного сервисного обслуживания действуют в рамках законодательства о защите
требителей
Ус. 1
Условия гарантииных обязательств и бесплатного сервисного обслуживания:
- Гарантиные обязательства изготовителя и бесплатное сервисное обслуживание
ляемое уполномоченными сервисными центрами изготовителя, распространяются
модели, предназначенные БЕКО для поставок и реализаций на территории РК, при
на территории РК и прошедшие сертификацию на соответствие ГОСТам РК.
- Изготовитель устанавливает следующие гарантийные сроки на изделия БЕКО:
Крупная бытовая техника: 2 (два) года со дня передачи потребителю.
Прочая бытовая техника, телевизоры, аудио-видео и радио аппаратура, кондиц
значенные для использования в быту – 1 (один) год со дня передачи потребите
- Гарантийные обязательства не распространяются на перечисленные ниже при
делия, если их замена предусмотрена конструкцией и не связана с разборкой
Для всех видов изделий:
для всех видов изделий. а) на пульты дистанционного управления, акимуляторные батареи элемент
а) на пульты дистанционного управления, аккумуляторные батарей, элемент рейки), внешние блоки питания и зарядные устройства;
6) соединительное кабели, агенты и переходник для них, незинники, микрое
6) соединительные кабели, антенны и переходники для них, наушники, микроф.
в) чехлы, ремни, шнуры для переноски, монтажные приспособления, инструп
цию, прилагаемую к изделию.
Дополнительно для:
а) холодильников: на поглотители запахов, очистители воздуха (биодезодорат
б) микроволновых печей: на тарелки, вертела, решетки, олюда;
в) пылесосов: на шланги, трубки, щетки, насадки, пылесворники, фильтры;
г) стиральных машин: на фильтры, шланги подвода/слива воды;
д) кондиционеров, воздухоочистителей: фильтры.
- Изготовитель не несет гарантийные обязательства и не производит бесплатно
служивание изделия в случаях:
Импортер на территории РФ: ООО «БЕКО»
Юридический адрес: 601021 Россия, Владимирская обл., Киржачский р-н, дер. Федоровское, ул. Сельская, д. 49
Дата производства включена в серийный но мер продукта, указанный на эти- кетке, расположенной на продукте, а именно:
первые две цифры серийного номера обозначают год производства, а последние две – ме сяц.
Например, «10-100001-05» обозначает, что продукт произведен в мае 2010 года.
3.4 Автоматты токтату
3.6 Муржаны косу жумыстары

text_image
beko Казақстан Республикасы аумағында әрекет етеді Действует на территории Республики Казахстан Адрес: 109004, Россия, Москва, ул. Станиславского д.21, стр.1 Телефоны горячей линии 8-800-200-23-56 (Звонок бесплатный на всей территории Республики Казахстан) http://www.beko.ruГарантийный талон №
Серийный номер
| Дата продажи ......Компания ......Подпись продавца ......ПЕЧАТЬ | Дата установкиКомпания ......Подпись мастера ......ПЕЧАТЬ |
Покупатель Телефон Фамилия Имя Отчество
Изделие проверялось в присутствии покупателя, Покупатель с условиями гарантии ознакомлен. Претензий к внешнему виду и комплектации не и
Отрывные купоны гарантийного талона являются средством отчетности о выполнении сервисным центром гарантийных работ. Купон изымается из гарантийного талона после удовлетворения Ваших претензий.
beko
серия № ......
Дата продажи ......
ПЕЧАТЬ
МАГАЗИНА
3
beko
серия № ......
Дата продажи ......
ПЕЧАТЬ
МАГАЗИНА
2
beko
серия № ......
Дата продажи ......
ПЕЧАТЬ
МАГАЗИНА
-1
2824180475_B
a) если изделие, предназначенное для личных (бытовых, семейных) нужд, использовалось для осуществления предпринимательской деятельности, а также в иных целях, не соответствующих его прямому назначению;
б) в случае нарушения правил и условий эксплуатации, установки изделия, изложенных в инструкции по эксплуатации и инструкции по установке;
в) если изделие имеет следы попыток неквалифицированного ремонта;
г) если дефект вызван изменением конструкции или схемы изделия, не предусмотренные изготовителем;
д) если дефект вызван действием непреодолимых сил, несчастными случаяхми, умышленными или неосторожными действиями потребителя или третьих лиц;
е) если обнаружены повреждения, вызванные попаданием внутрь изделия посторонних предметов, веществ, жидкостей, насекомых;
ж) использование неоригинальных расходных материалов автоматически лишает Вас гарантии изготовителя.
-
Гарантийные обязательства и бесплатное сервисное обслуживание не распространяются на следующие недостатки изделия: а) механические повреждения, возникшие после передачи товара потребителю; б) повреждения, вызванные несоответствием стандартам параметров питающих, телекоммуникационных, кабельных сетей и других подобных внешних факторов; в) повреждения, вызванные использованием нестандартных и (или) некачественных расходных материалов, принадлежностей, запасных частей.
-
В случае несвоевременного (спустя более чем один месяц) извещения о выявленных недостатках изделия, изготовитель оставляет за собой право отказаться полностью или частично от удовлетворения предъявляемых требований (ст. 436 ГК РК).
НАЗАР АУДАРЫНЫЗДАР!
Уш контактілі желілік айыры бар бүйым, міндетті түрде, жерге түйыкталуы тиіс. ВНИМАНИЕ!
Изделие, имеющее трехконтактную сетевую вилку, обязательно должно быть з
землено.
| Покупатель ____Фамилия, Имя, ОтчествоАдрес ____Тел. ____Дата ремонта ____Серв. центр ____Мастер ____Фамилия, Имя, Отчество | Покупатель ____Фамилия, Имя, ОтчествоАдрес ____Тел. ____Дата ремонта ____Серв. центр ____Мастер ____Фамилия, Имя, Отчество | Покупатель ____Фамилия, Имя, ОтчествоАдрес ____Тел. ____Дата ремонта ____Серв. центр ____Мастер ____Фамилия, Имя, Отчество |
| ДатаХарактер неисправности Принятые меры | |
M.
Подпись ответственного лица
у жолндент фескаулькта жазвыт ан талантарды офт ан жаг дайда, в) Бер буйымла рукост отідмеген женден жамьктарының ізі аныктеле:
в) Егор офивмда рукоат стялмоген жолдзу жумыстарыны, ізгі апыктаюза, б) бийь имыні конструкцирован мен скемасында рукоат стіднесен сегорістер орші спес:
в) Остандарнарта сай Келямитин жеко (помово) санасыз шытые материя дары, квоздыңтар, косалки бедшектор куст козі алемонтері, аккоратты тосималлаушь тарк колданулан, пайда
Уважаемый Покупатель!
Уважаемый Покупатель!
Уважаемый Покупатель!
Уважаемый Покупатель!
Уважаемый Покупатель!
Уважаемый Покупатель!
уважаемый Покупатель!
уважаемый покупатель!
уважаемый покупатель!
Уважаемый покупатель:
Уважаемый Покупатель!
Уважаемый Покупатель!
Уважаемый Покупатель!
Уважаемый Покупатель!
Уважаемый Покупатель!
Уважаемый Покупатель!
уважаемый Покупатель!
уважаемый покупатель!
уважаемый покупатель!
Уважаемый покупатель:
Уважаемый Покупатель!
Уважаемый Покупатель!
Уважаемый Покупатель!
Уважаемый Покупатель!
Уважаемый Покупатель!
Уважаемый Покупатель!
Благодарим Вас за выбор изделия торговой марки БЕКО.
вливает официальный срок службы на крупную бытовую технику 10 (
потребителю. На прочую бытовую технику, телевизоры, аудио-видео
ционеры, предназначенные для использования в быту, устанавливает
и условии соблюдения правил эксплуатации. Учитывая высокое качеств
опасности продукции БЕКО, фактический срок эксплуатации может зна
мальный. Вся продукция, предназначенная БЕКО для поставок в опред
на с учетом условий эксплуатации этой страны. Чтобы убедиться в это
личие на изделии и упаковке официальных знаков соответствия. Если у
роблемы,настоятельно рекомендуем Вам обратиться в уполномоченн
, адреса и телефоны которых Вы можете узнать из приложения к гаран
ефону горячей линии (звонок бесплатный на всей территории Республи
тийным талоном БЕКО подтверждает принятие на себя обязательс
ований потребителей, в случае обнаружения непостатков изделия.
собой право отказать как в гарантийном, так и бесплатном сервисном
нае несоблюдения изложенных ниже условий. Все условия гарантийны
и бесплатного сервисного обслуживания действуют в рамках законодательства о защите
требителей
Ус. 1
Условия гарантииных обязательств и бесплатного сервисного обслуживания:
- Гарантиные обязательства изготовителя и бесплатное сервисное обслуживание
ляемое уполномоченными сервисными центрами изготовителя, распространяются
модели, предназначенные БЕКО для поставок и реализаций на территории РК, при
на территории РК и прошедшие сертификацию на соответствие ГОСТам РК.
- Изготовитель устанавливает следующие гарантийные сроки на изделия БЕКО:
Крупная бытовая техника: 2 (два) года со дня передачи потребителю.
Прочая бытовая техника, телевизоры, аудио-видео и радио аппаратура, кондиц
значенные для использования в быту – 1 (один) год со дня передачи потребите
- Гарантийные обязательства не распространяются на перечисленные ниже при
делия, если их замена предусмотрена конструкцией и не связана с разборкой
Для всех видов изделий:
для всех видов изделий. а) на пульты дистанционного управления, акимуляторные батареи элемент
а) на пульты дистанционного управления, аккумуляторные батарей, элемент рейки), внешние блоки питания и зарядные устройства;
6) соединительное кабели, агенты и переходник для них, незинники, микрое
6) соединительные кабели, антенны и переходники для них, наушники, микроф.
в) чехлы, ремни, шнуры для переноски, монтажные приспособления, инструп
цию, прилагаемую к изделию.
Дополнительно для:
а) холодильников: на поглотители запахов, очистители воздуха (биодезодорат
б) микроволновых печей: на тарелки, вертела, решетки, олюда;
в) пылесосов: на шланги, трубки, щетки, насадки, пылесворники, фильтры;
г) стиральных машин: на фильтры, шланги подвода/слива воды;
д) кондиционеров, воздухоочистителей: фильтры.
- Изготовитель не несет гарантийные обязательства и не производит бесплатно
служивание изделия в случаях:
ПростаяИнструкция
