BHCB93640B - Kuchyňská digestoř BEKO - Bezplatný návod k obsluze
Najděte návod k zařízení zdarma BHCB93640B BEKO ve formátu PDF.
| Vlastnost | Detaily |
|---|---|
| Typ digestoře | Dekorativní digestoř |
| Rozměry (Š x H x V) | 90 x 50 x 70 cm |
| Výkon odsávání | Max 700 m³/h |
| Úrovně výkonu | 3 úrovně + intenzivní režim |
| Osvětlení | LED |
| Filtr na tuk | Omývatelné kovové filtry |
| Režim odsávání | Odvod a recirkulace |
| Ovládání | Dotykový ovládací panel |
| Hladina hluku | Max 65 dB |
| Instalace | Nástěnná |
| Spotřeba energie | Třída A |
| Hmotnost | 15 kg |
| Záruka | 2 roky |
Často kladené otázky - BHCB93640B BEKO
Questions des utilisateurs sur BHCB93640B BEKO
0 question sur cet appareil. Repondez a celles que vous connaissez ou posez la votre.
Poser une nouvelle question sur cet appareil
Stáhněte si návod pro váš Kuchyňská digestoř ve formátu PDF zdarma! Najděte svůj návod BHCB93640B - BEKO a vezměte svůj elektronický přístroj zpět do rukou. Na této stránce jsou zveřejněny všechny dokumenty potřebné k používání vašeho zařízení. BHCB93640B značky BEKO.
NÁVOD K OBSLUZE BHCB93640B BEKO
Nejprve si přečtěte tento návod k použití!
Vážený zákazníku,
Děkujeme, že jste si vybrali tento produkt značky Beko. Doufáme, že s tímto spotřebičem, který byl vyroben s využitím vysoce kvalitní a moderní technologie, dosáhnete těch nejlepších výsledků. Z tohoto důvodu si před použitím spotřebiče pečlivě přečtěte celý návod k použití a jakékoli doplňující dokumenty a uchovejte je pro budoucí použití. Pokud spotřebič předáte další osobě, rovněž jí předejte návod k použití. Dodržujte pokyny a věnujte pozornost všem informacím a varováním uvedeným v návodu k použití.
Nezapomeňte, že se tento návod může vztahovat i k několika jiným modelům. Rozdíly mezi modely jsou v návodu výslovně popsány.
Význam symbolů
V různých částech tohoto návodu k použití jsou použity následující symboly:

Důležité informace a užitečné tipy k použití.

VAROVÁNÍ: Upozornění na nebezpečné situace týkající se ohrožení života a majetku.

Varování před nebezpečím požáru.

Varování před úrazem elektrickým proudem.

RECYKLOVANÝ A RECYKLOVATELNÝ PAPÍR
Tento spotřebič byl vyroben v ekologicky šetrných a moderních zařízeních bez negativního dopadu na životní prostředí.
1 Důležité pokyny z hlediska bezpečnosti a životního prostředí
1.1 Obecné bezpečnostní pokyny
Důležité bezpečnostní pokyny, přečtěte si je pozorně a uchovejte pro pozdější použití
Tento oddíl obsahuje bezpečnostní pokyny, které vám pomohou ochránit před vznikem požáru, zásahem elektrickým proudem, následky unikající mikrovlnné energie, zraněním osob nebo poškozením majetku. Nedodržení těchto pokynů zruší platnost záruky.
• Výrobky značky Beko splňují platné bezpečnostní normy; proto v případě jakéhokoli poškození spotřebiče nebo napájecího kabelu musí být provedena oprava nebo výměna prodejcem, servisním centrem nebo odborníkem z autorizovaného servisu, aby se předešlo nebezpečí. Chybná nebo neodborná oprava může být nebezpečná pro uživatele.
- Toto zařízení je určeno pouze pro domácí a podobné použití, napří-klad:
- v prostorách kuchyňského personálu v obchodech, kancelářích a dalších pracovních prostředích;
- na farmách;
- klienty v hotelech a dalších typech obytného prostředí;
- v prostředí typu Bed and Breakfast.
- Spotřebič používejte pouze k určenému účelu, jak je popsáno v tomto návodu.
- Výrobce nenese odpovědnost za žádné škody plynoucí z ne-správné instalace či nevhodného způsobu použití spotřebiče.
- Tento spotřebič mohou používat děti starší 8 let a osoby s omezenými tělesnými, smyslovými nebo mentálními schopnostmi anebo osoby bez příslušných znalostí a zkušeností, pokud jsou pod dozorem nebo byly poučeny o bezpečném užívání tohoto přístroje a chápou související nebezpečí.
- Děti si se spotřebičem nesmí hrát. Čištění a údržba nesmí být prováděny dětmi bez dohledu dospělé osoby.
1 Důležité pokyny z hlediska bezpečnosti a životního prostředí
- Minimální vzdálenost mezi nosnými plochami varných nádob na varné desce a nejnižší stranou výrobku musí být nejméně 65 cm.
- Pokud v návodu k instalaci plynové desky najdete větší vzdálenost, je nutno postupovat podle toho.
- Zkontrolujte, zda vaše napájení odpovídá informacím uvedeným na štítku spotřebiče.
- Nikdy nepoužívejte spotřebič, pokud je poškozen napájecí kabel nebo spotřebič.
- Předejděte poškození napájecího kabelu zabráněním jeho zmáčknutí, ohnutí nebo odírání o ostré hrany. Napájecí kabel udržujte mimo horké povrchy a otevřený oheň.
- Spotřebič zapojujte pouze do uzemněné zásuvky.
- VAROVÁNÍ: Nezapojujte spotře-bič do sítě, dokud není instalace zcela dokončena.
- Spotřebič umístěte tak, aby byla zástrčka vždy přístupná.
- Nedotýkejte se žárovek, pokud jsou v provozu delší dobu. Mohou spálit ruce, protože budou horké.
- Dodržujte předpisy stanovené příslušnými úřady o vypouštění odpadního vzduchu (toto upozornění se nevztahuje na použití bez kouřovodu).
- Spustte spotřebič po umístění hrnce, pánve apod. na varnou desku. V opačném případě může vysoká teplota způsobit deformaci některých částí výrobku.
- Před sejmutím hrnce, pánve apod. vypněte varnou desku.
- Nenechávejte na varné desce horký olej. Nádoby s horkým olejem mohou způsobit samovznícení.
- Dávejte pozor na záclony a zá-věsy, protože olej se může při smažení některých potravin, jako jsou hranolky, vznítit.
- Tukový filtr musí být vyměněn nejméně jednou měsíčně. Uhlíkový filtr musí být vyměněn nejméně každé 3 měsíce.
- Spotřebič musí být čištěn v souladu s návodem k použití. Pokud
1 Důležité pokyny z hlediska bezpečnosti a životního prostředí
čištění nebylo provedeno v sou- ladu s návodem k použití, může hrozit nebezpečí požáru.
- Namísto stávajícího filtru nepoužívejte filtrační materiály neodolné proti ohni.
- Používejte pouze originální části doporučené výrobcem.
- Neprovozujte spotřebič bez filtru a neodstraňujte filtry, když je spotřebič spuštěn.
• V případě, že dojde k zapálení plamene, vypněte napájení spotřebiče a vařičů.
• V případě, že dojde k zapálení plamene, plamen zakryjte a nikdy k jeho hašení nepoužívejte vodu.
- Spotřebič odpojte před každým čištěním a v případě, že jej nepoužíváte.
- Podtlak v místnosti nesmí překročit 4 Pa (4 x 10 bar), zatímco digestoř pro elektrickou varnou desku a spotřebiče pracující na jiném typu energie, než je elektřina, pracují současně.
- V prostředí, kde je spotřebič používán, musí být odvětrávání zařízení běžících na topném oleji
nebo plynu, jako je teplovzdušný ventilátor, naprosto izolováno nebo zařízení musí být hermetic-kého typu.
- Při připojování kouřovodu použijte trubky o průměru 120 nebo 150 mm. Připojení trubek musí být co nejkratší a mít co nejméně záhybů.
Riziko zadušení! Všechny obaly uchovejte mimo dosah dětí.
UPOZÓRNĚNÍ: Přístupné součástky se mohou zahřát při použití s vařiči.
- Vývod spotřebiče nesmí být připojen ke vzduchovodům, do kterých je vyveden jiný kouř.
- Ventilace v místnosti může být nedostatečná, pokud je digestoř pro elektrickou varnou desku používána současně se zařízeními na plyn nebo jiná paliva (to neplatí pro spotřebiče, které vypouštějí vzduch zpět do místnosti).
- Předměty umístěné na spotřebiči mohou spadnout. Na spotřebič neumistujte žádné předměty.
- Pod spotřebičem nikdy neflambujte.
1 Důležité pokyny z hlediska bezpečnosti a životního prostředí
VAROVÁNÍ: Před instalací diges- toře odstraňte ochranné fólie.
- Nikdy nenechávejte obnažený plamen pod digestoří, která je zapnutá.
- Pánve na smažení je nutno během používání stále sledovat: přehřátý olej může vzplanout.
1.2 Shoda se směrnicí OEEZ a likvidace výrobku:
Tento výrobek splňuje požadavky směrnice EU OEEZ (2012/19/EU). Tento výrobek je označen symbolem pro třídění elektrického a elektronického odpadu (OEEZ).

Tento symbol znamená, že příslušný výrobek na konci jeho životnosti nesmí být likvidován spolu s jiným domácím odpadem. Použité zařízení musíte od-nést do oficiální sběrny pro recyklaci
elektrických a elektronických zařízení. Obratte se na místní úřady nebo na prodejce, u kterého jste si zařízení zakoupili, a informujte se o umístění sběrných zařízení. Každá domácnost hraje důležitou roli ve sběru a recyklaci starých zařízení.
Správná likvidace starého zařízení pomáhá pře- dejít možným negativním následkům pro životní prostředí a lidské zdraví.
1.3 Dodržování směrnice RoHS
Výrobek, který jste zakoupili, splňuje požadavky směrnice EU RoHS (2011/65/EU). Neobsahuje škodlivé ani zakázané materiály specifikované ve směrnici.
1.4 Informace o balení

Obalové materiály produktu jsou vyrobeny z recyklovatelných materiálů v souladu s naší národní legislativou na ochranu životního prostředí. Obalové materiály nelikvidujte společně s domácím nebo jiným druhem odpadu. Odvezte je na sběrné místo obalových materiálů určené místními úřady.
2 Celkový vzhled
2.1 Přehled

(Obrázek č. 2) BHCB 93640 B
BHCB 93640 BH
- Vnitřní kouřovod
- Vnější kouřovod
- Ovládací panel
- Hliníkové olejové filtry
- Osvětlení oblasti vaření
2.2 Technické údaje
| Model | BHCB 93640 B BHCB 93640 BH |
| Napájecí napětí | 220-240V ~ 50 Hz |
| Příkon žárovky | 2 x 3 W |
| Příkon motoru | 210 W |
| Rychlost proudění – 3. úroveň | 645 m3/h |
| Třída izolace motoru | Třída F |
| Třída izolace | Třída I |
3 Používání spotřebiče
3.1 Ovládání spotřebiče
![]() | ![]() | ![]() | [2028] |
| TLAČÍTKO FUNKCE | |||
| A : Zapnutí/vyp-nutí světla | Stisknutím tohoto tlačítka osvětlíte oblast vaření. Chcete-li osvětlení vypnout, stiskněte tlačítko znovu. | ||
| B : 1. Tlačítko stupně | Spotřebič pracuje s 1. rychlostí. Po dalším stisknutí tohoto tlačítka se spotřebič vypne, zobrazení stupně rychlosti se vypne. | ||
| C : 2. Tlačítko stupně | Spotřebič pracuje s 2. rychlostí. Po dalším stisknutí tohoto tlačítka se spotřebič vypne, zobrazení stupně rychlosti se vypne. | ||
| D : Tlačítko 3. stupně | Spotřebič pracuje se 3. rychlostí. Po dalším stisknutí tohoto tlačítka se spotřebič vypne, zobrazení stupně rychlosti se vypne. | ||
3.2 Energeticky účinný provoz z hlediska úspory Použití
- Při používání spotřebiče upravte nastavení rychlosti podle intenzity páry a zápachu, abyste ušetřili energii.
-
Za normálních podmínek používejte nízké rychlosti (1–2) a vysokou rychlost (3) používejte pro intenzivní zápach a páry.
-
Žárovky jsou na digestoři umístěny za účelem osvětlení oblasti vaření.
- Jejich používání na osvětlení většího prostoru povede ke zbytečné spotřebě energie a k nedostatečnému osvětlení.
3.3 Pokyny k použití
- Váš spotřebič má motor, který pracuje různými rychlostmi.
- Pro dosažení lepší výkonnosti doporučujeme za normálních podmínek používat nízké rychlosti
a vysoké rychlosti používat v případě silných zápachů a intenzivních par.
- Spotřebič můžete zapnout stisknutím tlačítka požadované rychlosti. (B, C, D)
- Oblast vaření osvětlíte stisknutím tlačítka osvětlení (A).
3.4 Automatické zastavení
Váš spotřebič má funkci automatického zastavení, která umožňuje trochu větší odvětrávání a odstraňuje nežádoucí pachy a páry uvnitř prostředí, a která se po dokončení vaření automaticky vypne. Chcete-li aktivovat funkci automatického zastavení, stiskněte libovolné tlačítko stupně rychlosti (B, C, D) na ovládacím panelu déle než na 2 sekundy, poté se na 15 minut aktivuje funkce časovače. Jeli funkce automatického zastavení aktivní, stisknutím stejného tlačítka stupně rychlosti se deaktivuje funkce automatického zastavení a motor spotřebiče se zastaví. Když přepínáte mezi různými stupni rychlosti, je tato funkce deaktivována. Pokud chcete, aby se spotřebič automaticky zastavil, je třeba znovu aktivovat funkci automatického zastavení.
3.5 Výměna žárovky

text_image
MAX 3 W(Obrázek č. 3)
Připojte spotřebič k elektrické síti. Váš spotřebič používá bodovou LED žárovku 3 W. Při výměně žárovek zatlačte na držák směrem dozadu, otočte jím
3 Používání spotřebiče
proti směru hodinových ručiček a vyjměte jej směrem dolů. Použijte výše uvedený postup obráceně a vložte nové žárovky (Obrázek č. 3).
| Žárovka | ![]() |
| Příkon žárovky | 3 W |
| Držák/objímka | GZ 10 |
| Napětí žárovky | 220 - 240 V |
| Velikost | 53 x 50 mm |
| Kód ILCOS | DR/F3-220-240-GZ10-50-53 |
| Světelný tok | 260 lm |
| Související teplota barvy | 3000 K |
Tento výrobek obsahuje světelný zdroj třídy energetické účinnosti “F”.
3.6 Používání s připojením ke kouřovodu

odsávána potrubím kouřovodu, které je upevněno k připojovací hlavě na digestoři.
- Průměr potrubí kouřovodu musí být stejný jako u připojovacího prstence. Při vodorovném nastavení musí mít potrubí mírný sklon směrem nahoru (kolem 10°), aby mohl vzduch snadněji odcházet z místnosti.
3.7 Používání bez připojení ke kouřovodu

uje přes uhlíkový filtr a recirkuluje v místnosti. Uhlíkový filtr se používá, když není v domě možné použít kouřovod.
- Při použití bez kouřovodu vyjměte klapky uvnitř adaptéru kouřovodu.
- Vyjměte olejový filtr. Chcete-li nainstalovat uhlíkový filtr, nasad'te filtr na přichytky vystředěním na plastový díl na obou stranách tělesa ventilátoru. Utáhněte jej otáčením doprava nebo doleva.
• Vyměňte hliníkový olejový filtr.
4 Čištění a údržba

Před čištěním a údržbou výrobek od- pojte nebo vypněte spínačem.
4.1 Čištění hliníkových olejových filtrů
Hliníkový olejový filtr se používá k zadržení olejových částic ve vzduchu. Hliníkové filtry mohou po opakovaném čištění změnit barvu. Je to normální a neznamená to potřebu výměny vašich filtrů.

- Zatlačte zámek hliníkového olejového filtru dopředu.
- Potom jej lehce táhněte dolů a vytáhněte ven (Obrázek č. 4). Jinak se může filtr ohnout. Hliníkové olejové filtry omyjte a opláchněte tekutým čisticím prostředkem a vraťte je do jejich lůžek provedením výše uvedených kroků v opačném pořadí. Tyto hliníkové olejové filtry se používají k zadržení olejových částic ve vzduchu.

Hliníkové olejové filtry můžete také mýt v myčce.

UPOZORNĚNÍ: V případě běžného používání hliníkový olejový filtr vyčistěte jednou za měsíc.
4.2 Výměna uhlíkových filtrů

text_image
2 2 1(Obrázek č. 5)
- Spotřebič, který jste si zakoupili, je vhodný pro použití s uhlíkovými filtry.
- Vyjměte hliníkové olejové filtry (Obrázek č. 4).
- Umístěte spodní část uhlíkového filtru do krytu motoru (Obrázek č. 5).
- Stiskněte příchytku uhlíkového filtru a zatlačte jej dopředu a ujistěte se, že jsou příchytky uhlíkového filtru zasunuty a uzamčeny (Obrázek č. 5).
- Připevněte hliníkové olejové filtry.

UPOZORNĚNÍ
- Uhlíkový filtr se nesmí nikdy mýt.
- Uhlíkové filtry vyměňte jednou za 3 měsíce.
- Uhlíkový filtr můžete získat v autorizovaných servisech.
5 Instalace spotřebiče

UPOZORNĚNÍ: Před zahájením instalace si přečtěte bezpečnostní informace v uživatelské příručce.

UPOZORNĚNÍ: Pokud nebudete šrouby a stabilizátory instalovat podle těchto pokynů, může dojít k úrazu elektrickým proudem.
Chcete-li si nechat digestoř nainstalovat, obrat'te se na nejbližší autorizovaný servis.
Za přípravu místa a elektrickou instalaci pro digestoř odpovídá zákazník.
5.1 Umístění spotřebiče

text_image
65 cm(Obrázek č. 6)
- Před instalací je nutno zvážit vzdálenost mezi sporákem a digestoří. Tato vzdálenost by měla být 65 cm (Obrázek č. 6).
- U plynových sporáků se vzdálenost musí měřit od povrchu roštu,
- u elektrických sporáků od povrchu skla.
5.2 Instalace příslušenství

- Výrobek
- Vnitřní kouřovod
- Vnější kouřovod
- Adaptér kouřovodu ∅150/120 mm
- Deska pro připojení kouřovodu
- Uživatelská příručka
- Instalační plánek
- 2x závěsná deska
- 2x plastová hmoždinka ∅6 mm
- 3x plastová hmoždinka ∅10 mm
- 3x šroub pro upevnění na stěnu 5,5x60
- 2x šroub pro připojení závěsné desky M5x35
- 2x šroub desky pro připojení kouřovodu 3,9x22
- Podložka 2x M4
- Usměrňovač proudu vzduchu
- Plastový adaptér (odváděč vzduchu)
- Šroub pro připojení komína 2x 3,5x9,5
18.Kovová komínová svorka
Níže jsou uvedeny informace potřebné k určení umístění vhodného pro instalaci digestoře.
5 Instalace spotřebiče
5.3 Instalace na stěnu
- Stěna musí být plochá, rovná a musí mít dostatečnou nosnost.
- Hloubka navrtaných otvorů musí být v souladu s délkou šroubů.
- Dodané šrouby a hmoždinky jsou vhodné pro cihlové zdi. Pro jiný stavební materiál (např. sádrokarton, desky, porézní beton) musí být použity vhodné upevňovací hmoždinky a matice.

text_image
A,B Ø6 mm 2x Ø6 mm 2x 3,9x22 mm 5 mm A B C,D,E Ø10 4x Ø10mm 2x 5,5x60 E(Obrázek č. 7)

UPOZORNĚNÍ: Před vrtáním se ujistěte, že v těsné blízkosti vrtaných míst nejsou žádná vedení elektriny, plynu nebo vody.
Od stropu nakreslete středovou čáru kolmo ke spodnímu okraji digestoře.
Upevněte na stěnu instalační šablonu. U bodů A a B vezměte jako referenční rozměry maximální rozměry digestoře, a vyvrtejte body A a B, které jste si označili, vrtákem ∅6 mm a vložte plastové hmoždinky ∅6 mm. Desku pro připojení kouřovodu připevněte ke stěně pomocí 2 šroubů 3,9x22 (Obrázek č. 8).
Chcete-li nainstalovat těleso digestoře, vyvrtejte pomocí vrtáku ∅10 mm body C, D, E, F uvedené v instalační šabloně a vložte do těchto otvorů plastové hmoždinky ∅10 mm (Obrázek č. 8).
Našroubujte 2 kusy montážních šroubů 5,5x60 do otvorů C a D s vůlí 5 mm mezi hlavou šroubu a stěnou (Obrázek č. 8).

text_image
1 2(Obrázek č. 8)
Nainstalujte k tělesu digestoře pomocí montážních šroubů M5x35 dva kusy závěsných desek (Obrázek č. 8).

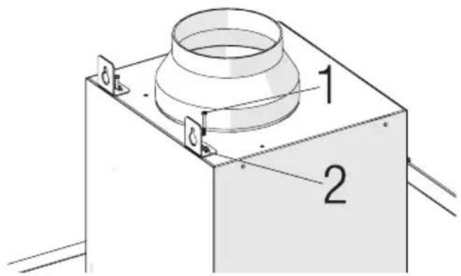
Držte digestoř za její těleso a umístěte ji na upevňovací šrouby na stěně a utáhněte šrouby (Obrázek č. 9).
5 Instalace spotřebiče
Namontujte podložky M4 k závěsným šroubům 5,5 x 60. Zajistěte digestoř na stěně pomocí šroubu 5,5x60 instalačním otvorem na vnitřní straně spotřebiče (Obrázek č. 9).
5.4 Připojení ke kouřovodu
Pokud se chystáte použít plastový adaptér kouřovodu ∅120/150 mm, připojte jeden konec potrubí k tomuto adaptéru. Pokud adaptér nebudete používat, připojte jeden konec potrubí přímo k výstupu na výrobku. Druhý konec potrubí připojte k vašemu kouřovodu. Zkontrolujte, zda jsou tyto dva spoje na-tolik těsné, že nedojde k jejich uvolnění, když bude spotřebič pracovat na plný výkon. Zkontrolujte, zda klapky uvnitř kouřovodu fungují, když jsou utaženy svorkami. Připojte připojovací potrubí kouřovodu na vnější stranu adaptéru (Obrázek č. 11/a). Je-li připojovací potrubí naistalováno na vnitřní straně adaptéru, nemůže dojít k sání vzduchu, protože kouřová klapka, která brání návratu vzduchu, zů-stane uzavřená (Obrázek č. 11/b). Délka připojení potrubí i počet kolen musí být co nejmenší.
A: potrubí odtahu kouře
B: zpětné klapky
C: plastový kouřovod
Když spotřebič nepracuje, klapky jsou zavřené a zabraňují vniknutí možného vnějšího zápachu a prachu dovnitř.

5.5 Instalace digestoře ke kouřovodu
Před zahájením instalace kouřovodu proved'te elektrické připojení digestoře. Nasuňte desky kouřovodu kolem tělesa.
Nainstalujte desku kouřovodu na upevňovací desku kouřovodu, která je připevněna ke stěně z jejích horních vnějších okrajů (Obrázek č. 12).

- Vnitřní kouřovod
- Šroub 3,5x9,5
- Deska pro připojení kouřovodu
5 Instalace spotřebiče
5.6 Instalace usměrňovače proudu vzduchu (BHCB 93640 BH)
Pokud se používá uhlíkový filtr, je s vaším spotřebičem dodáván usměrňovač proudu vzduchu, jehož účelem je opětovné uvolnění vzduchu, vyčištěného uhlíkovým filtrem, z děrované oblasti na kouřovodu. Nainstalujte usměrňovač proudu vzduchu dle níže uvedeného postupu.

text_image
39.50mm 188mm 46.50mm Ø6mm 160mm A B C D E F B D F 6x Ø6mm 2x Ø 3,9 x 22 mm(Obrázek č. 13)
Uprostřed desky pro připojení kouřovodu je přichytka. Umístěte střed této přichytky na čáru, která je nakreslena kolmo ke stěně. Vyrovnejte vodorovně a pomocí tužky označte otvory, kde bude upevněna deska pro připojení (Obrázek č. 13/A, B).
Vyvrtejte označené body vrtákem o ∅6 mm a do vyvrtaných otvorů vložte dvě plastové hmoždinky o ∅6 mm (Obrázek č. 13/A, B).
Desku pro připojení kouřovodu připevněte ke stěně pomocí šroubů 3,9x22 (Obrázek č. 13/A, B).
Při instalaci usměrňovače proudu vzduchu vyvrtejte body C, D, E, F vrtákem ∅6 mm vložte plastové hmoždinky ∅6 mm (Obrázek č. 13).

text_image
1 2(Obrázek č. 14)
-
usměrňovač proudu vzduchu
-
plastový kouřovod
Připevněte plastový adaptér kouřovodu, který je součástí balení, ve směru usměrňovače proudu vzduchu. Uzamkněte adaptér kouřovodu otočením ve směru šipky (Obrázek č. 14).

Nainstalujte skupinu usměrňovače proudu vzduchu pomocí šroubů 3,9x22 z bodů C, D, E, F, které jste již připravili (Obrázek č. 13).
Nainstalujte těleso digestoře (Obrázek č. 7).

- hliníkové potrubí odvodu vzduchu
Proved'te instalaci potrubí odvodu vzduchu (Obrázek č. 16).
5 Instalace spotřebiče

Protože zákruty a ohyby v hliníkové potrubí povedou ke snížení sacího výkonu vzduchu, vyhněte se používání zákrutů a ohybů, jak je to jen možné.
Provedte instalaci desek kouřovodu digestoře (Obrázek č. 12)
6 Rešení problémů
| Řešení problémů Důvod Pomoc | ||
| Produkt nefunguje. Zkontrolujte pojistky. Vaše pojistka může být vybitá, | zprovozněte ji. | |
| Produkt nefunguje. Zkontrolujte elektrické přípojení. Sítové napětí má být mezi 220-240 V. | ||
| Produkt nefunguje. Zkontrolujte elektrické přípojení. Zkontrolujte, zda fungují ostatní výrobky v kuchyni. | ||
| Lampa osvětlení nefunguje. Zkontrolujte elektrické přípojení. Sítové napětí má být mezi 220-240 V. | ||
| Lampa osvětlení nefunguje. Zkontrolujte spínač lampy. Spínač lampy musí být v poloze "zapnuto". | ||
| Lampa osvětlení nefunguje. Zkontrolujte lampu. Lampy produktu nesmí být vadné. | ||
| Přívod vzduchu do výrobku je slabý. Zkontrolujte hliníkový filtr. Hliníkový filtr | na olej za obvyklého používání je třeba vyčistit alespoň jednou za měsíc. | |
| Přívod vzduchu do výrobku je slabý. Zkontrolujte kryt vzduchovodu. Vzduchovod musí být v poloze "zap-nuto". | ||
| Přívod vzduchu do výrobku je slabý. Zkontrolujte uhlíkový filtr. U výrobků s uhlíkovými filtry filtr obvykle vyměňujte každé 3 měsíce. | ||
1.1 Všeobecná bezpečnost'
Tento výrobok je v súlade so smernicou o OEEZ. (2012/19/EU). Tento výrobok je označený klasifikacným symbolom pre odpad z elektrických a elektronických zariadení (OEEZ).

(Obrázok č. 1) BHCB 93640 B
BHCB 93640 BH
- Vnútorný dymovod
- Vonkajší dymovod
- Kontrolný panel
- Tukový filter
- Osvetlenie
2.2 Technické údaje
| Model | BHCB 93640 B BH | CB 93640 BH |
| Napájacie napätie a frekvencia | 220-240V ~ 50 Hz | |
| Napájanie svetla | 2 x 3 W | |
| Výkon motora | 210 W | |
| Prietok – 3. Úroveň | 645 m3/h | |
| Trieda izolácie motora | Trieda F | |
| Izolačná trieda | Trieda I | |
3.4 Automatické zastavenie
Vykonajte elektrické pripojenie spotrebiča. Váš spotrebič používa bodové LED svetlo 3W. Pri vý-
Pred čistením a údržbou výrobok od- pojte alebo vypnite vypínač.
4.1 Čistenie tukového filtra
•Tukový filter zatlačte dopredu.
4.2 Výmena uhlíkových filtrov

text_image
1 2 2- Pridajte tukový filter.

VÝSTRAHA
•Uhlíkový filter sa nesmie nikdy umývat.
•Vymeňte uhlíkové filtre raz za 3 mesiace.
Odsávač pár držte za jeho telo a položte ho na montážne skrutky na stene a utiahnite skrutky (Obrázok č. 9).
Namontujte podložky M4 k závesným skrutkám 5,5 x 60. Zaistite odsávač pár pomocou skrutky 5,5 x 60 k stene cez montážny otvor na vnútornej strane spotrebiča (Obrázok č. 9).
Pri montáži vzduchového usmerňovača vyvrtajte body C, D, E, F s vrtákom ∅6 mm a plastovými hmoždinkami ∅6 mm (Obrázok č. 13).

SnadnýManuál



