Hr4002 - Marteau piqueur MAKITA - Notice d'utilisation et mode d'emploi gratuit
Retrouvez gratuitement la notice de l'appareil Hr4002 MAKITA au format PDF.
| Type d'appareil | Perforateur |
| Alimentation | Électrique filaire |
| Fonction principale | Perçage et burinage |
| Type de mandrin | Mandrin SDS |
| Puissance | Non précisé |
| Vitesse à vide | Non précisé |
| Fréquence de frappe | Non précisé |
| Force de frappe | Non précisé |
| Poignée auxiliaire | Oui, réglable |
| Mode burinage | Oui |
| Poids | Non précisé |
| Longueur | Non précisé |
| Hauteur | Non précisé |
| Accessoires inclus | Non précisé |
| Utilisation recommandée | Travaux de perçage et burinage dans béton et maçonnerie |
| Système anti-vibration | Non précisé |
FOIRE AUX QUESTIONS - Hr4002 MAKITA
Téléchargez la notice de votre Marteau piqueur au format PDF gratuitement ! Retrouvez votre notice Hr4002 - MAKITA et reprennez votre appareil électronique en main. Sur cette page sont publiés tous les documents nécessaires à l'utilisation de votre appareil Hr4002 de la marque MAKITA.
MODE D'EMPLOI Hr4002 MAKITA
| GB | Rotary Hammer | Instruction Manual |
| F | Perforateur | Manuel d'instructions |
| D | Bohrhammer | Betriebsanleitung |
| I | Martello rotativo | Istruzioni per l'uso |
| NL | Boorhamer | Gebruiksaanwijzing |
| E | Martillo rotativo | Manual de instrucciones |
| P | Martelo rotativo | Manual de instruções |
| DK | Borehammer | Brugsanvisning |
| GR | Περιστροφίκο σφύρι | Οδηγίες χρήσεως |

HR4002


1

2

3

4

5

6

7

8


9
11

13

15

10

12

14
11 Couvercle du mandrin
2 Bouton de verrouillage
7 Manche létaléral
12 Jauge de profondeur
3 Levier de changement
8 Queue du foret
13 Vis de serrage
4 Index
9 Graisse à foret
14 Base de la poignée
5 Poignée laterale
10 Foret
15 Poire soufflante
SPECIFICATIONS
| Modèle | HR4002 | |
| Capacités | Foret au carbure | 40 mm |
| Trépan | 105 mm | |
| Vitesse à vide (min-1) | 680 | |
| Cadence de frappe/mn | 2 500 | |
| Longueur hors tout | 458 mm | |
| Poids net | 6,2 kg | |
| Niveau de sécurité | ☐/II | |
- Etant donné l'évolution constante de notre programme de recherche et de développement, les specifications containes dans ce manuel sont sujéttes à modification sans préavis.
- Note: Les spécifications peuvent varier suivant les pays.
Utilisations
L'outil est conçu pour être utilisé en tant que marteau perforateur pour la brique, le béton et la pierre, ainsi que pour les travaux de défondement.
Alimentation
L'outil ne devra etre raccorded qu'a une alimentation de la meme tension que celle qui figure sur la plaque signaletique, et il ne pourra fonctionner que sur un courant secteur monophasé. Raliése avec une double isolation, il est conforme à la reglementation européenne et peut de ce fait etre alimenté sans mise a la terre.
Consignes de sécurité
Pour votre propre sécurité, reportez-vous aux consignes de sécurité qui accompagnent l'util.
CONSIGNES DE SECURITE SPECIFIQUES
NE vous laissez PAS tromper (au fil d'une utilisation repétée) par un sentiment d'aisance et de familiarité avec le produit, en négligeant le respect rigoureux des consignes de sécurité qui accompagnent le marteau rotatif. Si vous n'utilise pas cet outil de façon sure et ajustate, vous courez un risque de blessure grave.
- Portez des protections d'oreilles. L'exposition au bruit peut entraîner la surdite.
-
Utilisez les poignées auxiliaires fournies avec l'util. La perte de contrôle comporte un risque de blessure.
-
Saisissez les outils électriques par leurs surfaces de poigne isolées lorsque vous effectuez une opération au cours de laquelle l'util tranchant peut enterer en contact avec des fils cachés ou avec son propre cordon d'alimentation. Le contact avec un fil sous tension mettra les parties metalliques exposées de l'util sous tension, causant ainsi un choc électriche chez l'utilisateur.
- Portez une coiffure résistance (un casque de sécurité), des lunettes de sécurité et/ou une visiere. Les lunettes ordinaires et les lunettes de soleil ne sont PAS des lunettes de sécurité. Nous vous recommendons également de porter un masque antipoussieres et des gants très écais.
- Assurez-vous que le foret est bien serré avant d'utiliser l'outil.
- Meme en conditions normales d'utilisation, l'outil produit des vibrations. Les vis peuvent ainsi se relacher facilement, ce qui risque d'entrainer unerupture de piece ou un accident. Avant l'utilisation, vérifie que les vis sont bien serrées.
- À bassé température ou lorsque l'outil est resté inutilisé pour une période prolongée, laissez-le réchauffer un instant en le faisant fonctionner à vide. Cela permettra au lubrifiant de réchauffer. La perforation sera difficile si l'outil n'est pas bien réchauffé.
- Assurez-vous toujours d'une bonne position d'équilibre.
Assurez-vous que personne ne se trouve dessous lorsque vous utilisez l'outil dans une position ou un emplacement élevé.
- Tenez toujours l'outil fermement à deux mains.
- Gardez les mains éloignées des pieces en mouvement.
- Ne laïsez pas l'outil tourner inutillement. Ne faites fonctionner l'outil qu'une fois que vous l'avez bien en main.
- Pendant l'utilisation de l'outil, ne le pointez vers personne dans la zone de travail. Vous risqueriez de blesser gravement quelqu'un en cas d'éjection du foret.
- Ne touchez ni le foret ni les pieces adjacentes immidiatement après l'utilisation de l'outil. Ils risquent d'être extrémement chauds et de vous brûler gravement la peau.
- Certains matérielux contiennent des produits chimiques qui peuvent etre toxiques.Prenez les precautions nécessaires pour ne pas inhaler les poussieres quils dégagent et pour eviter tout contact avec la peau.Conformez-vous aux consignes de sécurité du fabricant.
CONSERVEZ CES INSTRUCTIONS.
AVERTISSEMENT :
La MAUVAISE UTILISATION de l'outil ou l'ignorance des consignes de sécurité indiquées dans ce manuel d'instructions peut entrainer une blessure grave.
DESCRIPTION DU FONCTIONNEMENT
ATTENTION :
- Vérifiez toujours que l'outil est hors tension et débranche avant de l'ajuster ou de vérifier son fonctionnement.
Interrupteur (Fig. 1)
ATTENTION :
- Avant de brancher l'outil, assurez-vous toujours que la gachette fonctionne correctement et revient en position d'arrêt une fois relâchée.
Pour faire demarrer l'util, appuyez simplement sur la gachette. Pour l'arreter, relâchez la gachette.
Sélection du mode de fonctionnement
Rotation avec martelage (Fig. 2)
Pour pearch du béton, de la maconnerie, etc., appuyez sur le bouton de verrouillage et tourne le levier de changement de façon que l'index soit dirigé sur le symbole. Utilisez un forest à pointe au carbure de tungstène.
Martelagesubsection(Fig.3)
Pour le burinage, l'ecailleage ou la démolition, enonceze le bouton de verrouillage et tournez le levier de changement de mode de sorte que l'index pointe sur le symbole T. Utilisez un pic, un ciseau à froid, un ciseau à écailler, etc.
ATTENTION :
- Ne tournez pas le levier de changement pendant que l'outil fonctionne. Vous endommageriez l'outil.
- Pour éviter que le mécanisme de changement de mode ne s'userapidement, vous doivent toujours vous assurer que le levier de changement de mode est placé avec exactitude sur une des deux ou trois positions de mode.
Liminurdcouple
Le limiteur de couple se déclenché lorsqu'un certain niveau de couple est atteint. Le moteur se désaccouple du porte-outil. Dans ce cas, le foret cesse de tourner.
ATTENTION :
- Coupe le contact dés que le limiteur de couple se déclenché. Ceci permettra d'éviter toute usure prématurée de l'outil.
ASSEMBLAGE
ATTENTION :
- Avant toute intervention, assurez-vous toujours que le contact est coupé et l'outil débranché.
Poignée latérale (accessoire) (Fig. 4)
ATTENTION :
- N'utilisez la poignée latérale que pour un burinage, un écaillage ou des travaux de démolition. Ne l'utilisez pas pour des travaux de perçage dans le béton, ou la maconnerie, etc. Vous n'aurez pas l'outil bien en main si vous utilisez cette poignée pour percer.
La poignée latérale peut tourner de 360^ à la verticale et se fixer sur n'importe qu'elle position. Elle se fixe également sur huit positions différentes en avant et en arrrière à l'horizontal. Il vous suffit de desserrer l'écrou de serrage pour déplacer la poignée latérale sur la position voulue. Puis, resserrez l'écrou de serrage à fond. (Fig. 5)
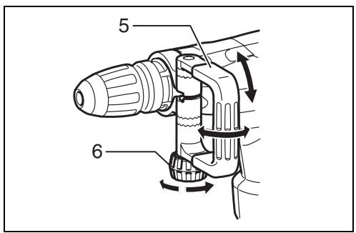
Manche latoral (Fig. 6)
ATTENTION :
- Pour des raisons de sécurité, le perçage dans le béton, ou la maconnerie etc. doit toujours être praticé avec cette poignée.
La poignée latorale peut pivoter jusqu'que de l'autre côté, permettant ainsi de manipuler l'outil avec aisance dans n'importe qu'elle position. Desserrez la poignée latorale en la faisant tourner dans le sens inverse des aiguilles d'une montre, faites-la pivoter jusqu'à la position désirée puis resserrez-la en tournant dans le sens des aiguilles d'une montre.
Graisse à foret (accessoire en option)
Avant l'utilisation, recouvre d'une petite quantité de graisse à forest le bout de la queue du forest (environ 0,5 à 1 g). Cette lubrification du mandrin assurera un mouvement fluide et une plus longue durée de service.
Installation et retrait du foret
Nettoyez la queue du foret et enduisez-la deGRAISSÉ à forest avant d'installer le foret. (Fig. 7)
Insérez le foret dans l'outil. Tournez le foret puis enoncez-le jusqu'à ce qu'il soit engagé.
S'il n'est pas possible d'enforcer le foret, retirez-le. Tirez vers le bas le couvercle du mandrin a quelques reprises. Reinsérez ensuite le foret. Tournez le foret puis enforceze-le jusqu'à ce qu'il soit engagé. (Fig. 8)
Après l'installation, vérifie toujours que le foret est sol-dement fixé en essayant de lesorting.
Pour-retirer le foret,tirezle couvercle du mandrin à fond vers le bas puis dégagez le foret.(Fig.9)
Orientation du foret (lors d'un burinage, d'un écaillage, ou de travaux de démolition)
Il est possible de fixer le foret sur 12 angles différents. Pour modifier l'angle du foret, enforcez le bouton de verrouillage et tournez le levier de changement de mode de sorte que l'index pointe sur le symbole 圆 . Tournez le foret jusqu'à l'angle désiré. (Fig. 10)
Appuyez sur le bouton de verrouillage et tournez le levier de changement de façon que l'index soit dirigé sur le symbole 們 .Puis,verifiez que le forest est bien fixe en le tournant légrement.(Fig.11)
Jauge de profondeur (Fig. 12)
La jauge de profondeur est utile pour percer des trouès de même profondeur. Insérez la jauge de profondeur dans l'orifice de la base de la poignée. Réglez la jauge de profondeur sur la profondeur désirée puis serrez la vis de serrage pour immobiliser la jauge de profondeur.
La jauge de profondeur est pratique pour percer des trous de même profondeur. Desserrez la vis de serrage et reglez la jauge de profondeur sur la profondeur désirée. Àprouc le réglage, serrez la vis de serrage ferme-ment.
NOTE :
- La jauge de profondeur ne peut pas etre utilise sur la position ou elle frappe contre le corps de l'outil.
- La jauge de profondeur ne peut pas être utilisée sur une position où elle frappe contre le carter de l'engrenage/carter du moteur.
UTILISATION
Perçage avec martelage (Fig. 13)
Réglez le levier de changement sur le symbole 18.
Posez la pointe du foret à l'emplacement du trou à percer et pressez sur la gachette. Ne forcez pas sur l'outil. Une pression légère vous donnares les autres résultats. Maintenez bien l'outil en position et voirlez qu'il ne dérappe pas hors du trou.
N'augmentez pas la pression sur l'outil lorsque le trou est bouché par des copeaux ou des particules. Au contraire, laissez le moteur tourner au ralenti, puis retirez en partie le foret du trou. Si vous repêzet cette opération plusieurs fois de suite, le trou se débouchera, et vous pourrez reprendre le perçage normalement.
ATTENTION :
- L'outil peut réagir dangereusement lorsque le foret commence à traverser le béton ou frappe contre les armatures du béton. Gardez une bonne position d'équilibre et une prise ferme au sol, et tenez l'outil fermement à deux mains pour prévenir toute réaction dangereuse.
Poire soufflante (accessoire en option) (Fig. 14)
Une fois le trou percé, utilisez la poire soufflante pour retarder la poussière du trou.
Burinage / Ecaillage / Demolition (Fig. 15)
Réglez le levier de changement sur le symbole .
Tenez vous outil fermement à deux mains. Mettez le contact et appliquez une légère pression sur l'outil de façon qu'il ne risque pas de sauter d'un côté ou de l'autre. Appliquer une pression excessive n'augmentera pas l'efficacité de l'opération.
ENTRETIEN
ATTENTION :
- Avant d'effectuer tout travail d'inspection ou de maintenance sur l'outil, assurez-vous toujours qu'il est à l'arrêt et débranché.
Lubrification
ATTENTION :
- Cet entretien ne doit être effectué que par un centre de service Makita agréé ou un centre de service de l'usine Makita.
Grçá à son système de lubrification à la graisse, il n'est pas nécessaire de graisser ce outil toutes les heures ou tous les jours. Il doit être graissé régulièrement. Pour le faire graisser, envoyez l'outil complet à une usine ou un centre de service après-vente Makita agreeé.
Pour notamment la SéCURITÉ et la FIABILITÉ du produit, les réparations et tout autre travail d'entretien ou de réglage doivent être effectuels dans un centre de service après-vente Makita/agréé, exclusivement avec des pièces de rechange Makita.
ACCESSIONS
ATTENTION :
- Ces accessoires ou pieces complémentaires sont recommendés pour l'utilisation avec l'util Makita spécifique dans ce mode d'emploi. L'utilisation de tout autre accessoire ou piece peut composer un risque de blessure. N'utilise les accessoires ou pieces qu'aux fins mentionnées dans le present mode d'emploi.
Si vous désírez obtenir plus de détails concernant ces accessoires, veuilles contacter le centre de service après-vente Makita le plusprés.
- Forets à pointe en carbure SDS-Max
- Pointe à béton SDS-Max
Ciseau à froid SDS-Max
Ciseau à écailler SDS-Max - Ciseau à carreaux
- Pelle à argile SDS-Max
Graisse a marteau
Graisse à foret - Poignée latérale
- Manche latorial
Jauge de profondeur - Poire soufflante
Lunettes de sécurité - Mallette de transport
Ubersicht
Nous déclarons sous notre entière responsabilité que ce produit est conforme aux normes des documents standardisés suivants,
EN60745, EN55014, EN61000
conformément aux Directives du Conseil, 2004/108/EG et 98/37/EG.
DEUTSCH
Pour les pays d'Europe uniquement
Bruit
Niveau de bruit pondéré A typique, déterminé selon EN60745-2-6:
Niveau de pression sonore (L_pA):93 dB (A)
niveau de puissance du son (L_WA):104 dB (A)
Incertitude (K) : 3 dB (A)
Porter des protecteurs anti-bruit.
Vibrations
Valeur totale de vibrations (somme de vecteur triaxial) déterminée selon EN60745-2-6:
Mode de travail : fonction de défonçage
Emission de vibrations (a_h,Cheg):10,5m / s^2
Incertitude (K) 2m / s^2
Mode de travail : perçage avec martelage dans le
béton : 20 mm de diamètre et 180 mm
Emission de vibrations (a_h,HD):17m / s^2
Incertitude (K): 1,5 m/s²
Notice Facile