4322 - Elektrische zaag MAKITA - Gratis gebruiksaanwijzing en handleiding
Vind de handleiding van het apparaat gratis 4322 MAKITA in PDF-formaat.
Veelgestelde vragen - 4322 MAKITA
Questions des utilisateurs sur 4322 MAKITA
0 question sur cet appareil. Repondez a celles que vous connaissez ou posez la votre.
Poser une nouvelle question sur cet appareil
Download de handleiding voor uw Elektrische zaag in PDF-formaat gratis! Vind uw handleiding 4322 - MAKITA en neem uw elektronisch apparaat weer in handen. Op deze pagina staan alle documenten die nodig zijn voor het gebruik van uw apparaat. 4322 van het merk MAKITA.
GEBRUIKSAANWIJZING 4322 MAKITA
GB Jig Saw Instruction Manual
F Scie Sauteuse Manuel d'Instructions
D Stichsäge Betriebsanleitung
I Seghetto Alternative Istruzioni d'Uso
NL Figuurzaag Gebruiksaanwijzing
E Sierra Caladora Manual de Instrucciones
P Serra Tico-Tico Manual de Instruções
DK Stiksav Brugsanvisning
S Sticksag Bruksanvisning
N Stikksag Bruksanvisning
SF Pistosaha Kayttoohje
GR PaaivdpopoiKoPiovi OdyicxPnoeswC
4322
4323



1

2

3

4

5

6

7

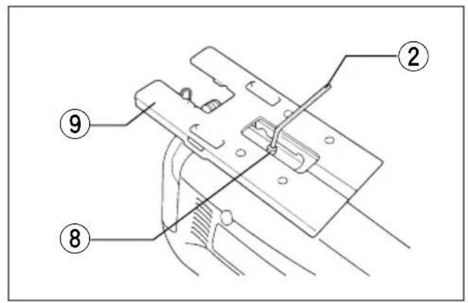
8

9

10

11 12


13 14


15 16


17 18


19 20


21
Symbols
Voor dit gereedschap worden de volgende symbolen gebruikt. Zorg ervoor dat u de betekenis van deze symbolen begrijpt alvorens het gereedschap te gebruiken.
Símbolos
Verklaring van algemene gegevens
① Bout
② Inbussleutel
③ Losdraaien
④ Zaagbladhouder
⑤ Figuurzaagblad
⑥ Rol
⑦ Houder
Bout
⑨ Voet
Haak
1 Stofkap
Trekkerschakelaar
Vastzetknop
14 Snelheidsregelknop
15 Zaaglijn
16 Schaalverdelingen
⑦ Rand van motorhuis
18 Startgaatje
19 Slang
20 Breedtegeleider
② Bout
22 Geleider
23 Schroefknop
24 Pin van cirkelgeleider
Uitsteeksels
26 Antisplinterinrichting
TECHNISCHE GEGEVENS
Model 4322 4323
Slaglengte 18 mm 18 mm
Aantal slagen per minuut 3 100 500-31
Zaagcapaciteit
Hout 65 mm 65 mm
Zacht staal 6 mm 6 mm
Totale lengte 207 mm 207 mm
In verband met ononderbroken research en ontwik8. keling behouden wij ons hetrecht voor bovenstaande technische gegevens te wijzigen zonder voorafgaandeKennisgeving.
- Opmerking: De technische gegevens können van land tot land verschillen.
Stroomvoorziening
Het gereedschap mag alleen worden aangesloten op een strooombron van hetzelfde voltage als aangegeven op de naamplaat, en kan alleen op enkel-fase wisselstroom worden gezruikt. Het gereedschap is dubbel-geisoleerd volgens de Europese standarden kan derhalve ook op een nicht-geaard stopcontact worden aangesloten.
Veiligheidswenken
Voor uweiligheid dient u de bijgevoegde Veiligheidsvoorschriften nauwkeurig op te volgen.
Tijdens het zagen in muren, vloeren, enz. kan het gebeuren dat de zaag in contact komt met draden of kabels onder spanning. RAAK DERHALVE DE METALEN DELEN VAN HET GEREEDSCHAP NIET AAN! Houd uw handen op de geisoleerde handvaten voor het vermijden van elektrische schok.
Schakel altijd het gereedschap uit als u weg moet. Schakel het gereedschap alleen in als u het in handen houdt.
- Schakel altijd uit en wacht tot het zaagblad volledig tot stilstand is gekomen, alvorens het gereedschap van het werkstuk te verwijderen.
- Raak onmiddelijk na gebruik het zaagblad of het werkstuk Niet aan, aangezien het nog gloeiend heet kan zich en brandwonden kan veroorzaken.
BEWAAR DEZE VOORSCHRIFTEN.
AANVULLENDE
VEILIGHEIDSVOORSCHRIFTEN
- Zorg ervoor dat tijdens het zagen, het zaagblad nooit in contact komt met spijkers.Verwijder derhalve alvorens te zagen alle spijkersuit het werkstuk.
- Gebruik het gereedschap nooit voor het doorzagen van holle pijpen.
- Ook Niet voor het zagen van zeer große werkstukken.
- Controller of onder het werkstuk voldoende ruimte is opdat het zaagblad de vloer, de werktafel enz. Niet kan treffen.
- Houd het gereedschap stevig vast.
- Zorg ervoor dat het zaagblad Niet in contact met het werkstuk voordat u de spanning inschakelt.
- Houd uw handen uit de buurt van de bewegende delen.
BEDIENINGSVOORSCHRIFTEN
Installeren of verwijderen van het zaagblad (Fig. 1 en 2)
LET OP:
- Zorg er aktijd voor dat het gereedschap is uitgeschakeld en het netsnoor uijt het stopcontact is verwijderd, alvorens het zaagblad te installereren of te verwijderen.
- Verwijder algid alle spaanders of verontreinigungen van het zaagblad en/of de zaagbladhouder. Als u dit verzuimt, bestaat er kans dat het zaagblad Niet goed vastbezet zal,zijn, hetgeen ernstige verwond
isngkanveroorzaken.
Om het zaagblad te installereren, draait u met de inbussleutel de bout op de zaagbladhouser los. Ste het zaagblad met de tanden maar voren gericht zo möglichk in de zaagbladhouser. Controller of de rug van het zaagblad goed gegen de rol zit. Trek waar de bout aan om het zaagblad vast te zetten. Om het zaagblad te verwijderen, voert u de proceed voor installereren in omgekeerde volgorde uit.
Afstellen van de rol (Fig. 3)
Draai de bout op de weiterijde van de gereedschapsvoet los met de inbussleutel. Verschuif de houder zodate de rol net gegen het zaagblad aankon Draai daarna de bout wee vast om de gereedscha voet en de houder vast te zetten.
OPMERKING:
Smeer de rol af en toe.
Opbergruimte voor de inbussleutel (Fig. 4)
Draag alttijd een veiligheidsbril, ook wonneer u het gereedschap gebruikt met de stofkap maar omlaag gebracht.
Breng de stofkap omlaag om te voorkomen dat spaanders in het rond vliegen. Voor verstekzagen dient u de stofkap darüber helemaal omhoog te br gen.
Werking van de schakelaar (Fig. 6)
LET OP:
Alvorens het netsnoer op het stopcontact aan te sluiten, dient u.altijd te controleren of de trekkerschakelaar juist werknt en bij loslaten maar de "OFF positie terugkeert.
Om het gereedschap te starten, drukt u gewoon de trekker in. Laat de trekker los om het gereedschap stoppen. Voor langdurig zagen drukt u eerst de trekker en dan de vastzetknop in. Om het gereedschap vanuit deze vergrendelde stand te stoppen, worden de trekker helemaal ingedrukt en verwolgens losgelaten.
Snelheidsregelknop (Fig. 7)
Alleen voor 4323
De zaagsnelheid kan worden ingesteld op een wille keurige snelheid:tussen 500 en 3100 slagen per minuut door de snelheidsregelknopaar links of
rechts te draaien. Draai de knop in de richting van Zagen nummer 6 om de snugheid te vermeerderen, en in Graaii richting van nummer 1 om de snugheid te vermindevan den ren. Raadpleeg de onderstaande tabel voor het selechter teren van de snugheid die geschikt is voor het te te zetter zagen werkstuk. De geschikte snugheid hangtECHter ook af van het type of de dikte van het werkstuk. In het algemeen, kunt u met hogere snugheden sneller zagen, maar het zaagblad zar dan minder lang meegaan.
| ek Te zagen werkstuk Nummer op regelknop | |
| ver Hout 5 - 6 | |
| za Zacht staal 3 - 6 | |
| re Roestvrij staal | 3 - 4 |
| Aluminium | |
| Plastic | 1 - 4 |
LET OP:
De slelheidsregelknop kan nicht verder dan 6 en nicht Verder terug dan 1 worden gedraaid. Probeer nicht de snapnup met geweld voor bij 6 of 1 te draaien, aangezien de slelheidsregeling dan nicht meer juist zal werken.
Bediening (Fig. 8)
LET OP:
Houd de voet van het gereedschap altijd vlak met het Werkstuk. Als u dit Niet doet, kan het zaagblad breker hetgeen ernstige verwonding kan veroorzaken.
Schakel het gereedschap in en wacht totdat het zaagblad op volle toeren draait. Plaats dan de voet van het gereedschap vlak op het werkstuk en beweeg het gereedschap langzaam maar voren langus de van te voren op het werkstuk aangebrachte zaaglijn. Voor het zagen van bochten dient het gereedschap zeer langzaam maar voren te worden bewogen.
Zagen onder een schuine hoek.
LET OP:
Zorg er.altijd voor dat het gereedschap is uitgeschakeld en het netsnoer uit het stopcontact is verwijderd, alvorens de voet van het gereedschap schuin te zetten.
- Breng de stofkap—helemaal omhoog alvorens," schuine zaagsneden te make.
Door de voet van het gereedschap schuin te zetten.
Pkunt u schuin zagen onder een willekeurige hoek
tussen 0^ en 45^ (links of rechts). (Fig. 9)
Draai met de inbussleutel de bout aan de achterkant van de voet los. Beweeg de voet zodat de bout vlak het midden van de kruisvormige sleuf in de voet kom te zitten. (Fig. 10)
Kantel de gereedschapvoet om de gewenste schuine te hoek te krijgen. De rand van het motorhuis geeft de de schuine hoek aan. Controleer of de rug van het zoagblad contact maakt met de rol. Draai daarna de t'bout vast om de gereedschapsvoet vast te zetten.
(Fig. 11)
Zagen tot—helemaal gegen de kant (Fig. 12)
Draai met de inbussleutel de bout aan de achechterkant van de voet los en schuif de voet hebEMAal naerechteren. Draai daarna de bout vast om de voet vast te zetten.
Y
In het
Figuren uitzagen
Voor het uitzagen van figuren(Int)kunt u methode A of B gebruiken.
A) Voorboren van een startgaatje: Om figuren onmiddelijk in het midden van het werkstuk uit te zager en dus Niet vanaf de rand, dient u eerst een startgaatje met een diameter van 12mm of meer te boren. Steek het zaagblad door dit gaatje en begin dan met te zagen. (Fig. 13)
B) Invalzagen: U hoeft geen startgaatje te boren of geen geleidesnede te makeen indien u voorzichtig als volgt te werk gaat.
- Houd het gereedschap schuin voorover door alleen het voorste gedeelte van de voet op het werkstuk te latent rusten, met de punt van het zaagblad net boven het werkstukoppervlak. (Fig. 14)
- Oefen een beetje druk uit op het gereedschap om te voorkomen dat de voorrand van de voet kan bewegen, en schakel het gereedschap in. Laat hetijkenste van het gereedschap langzaam zakken.
- Naarmate het zaagblad door het werkstuk heb den zagt, laat u de voet van het gereed-schap langzaam op het werkstukoppervlak zakken.
- Zaag verder op de normale manier.
Afwerken van de randen (Fig. 15)
Voor het afwerken van randen of voor nauwkeurig maat zagen,That u het zaagblad lichtjes langs de gezaagde randen lopen.
Zagen van metaal
- Voor het zagen van metaal dient u.altijd een geschruussen de koelmiddel (snijolie) te gebruiken. Wanner u dit niet LET OP:
doet, zal het zaagblad snel slijten. Inplaats van eede antisplinterinrichting kan nicht gebruikt worden voor koelmiddel te gebruiken, kunt u ook de onderkant vaugen onder een schuine hoek. het werkstuk invetten.
Stofafzuiing (Fig. 16)
U kunt schoner werkden door dit gereedschap op ee Makita stofzuiger aan te sluiten. Steek de slang van de stofzuiger in de opening aan de achterkant van gereedschap. Breng de stofkap omlaag alvorens het gereedschap te gebruiken.
LET OP:
Stofafzuging is nicht möglich tijdens zagen onder eeu schuine hoek.
Breedtegeleider-set (optioneel accessoire)
LET OP:
Zorg er.altijd voor dat het gereedschap is uitgeschappelijk en het netsnoeruit het stopcontactis verwijde. alvorens accessoires te installereren of te verwijderen.
1) Rechte stukken zagen (Fig. 17 en 18)
Wanneer u herhaaldelijk stukken die 160 mm of minder breed zich wilt zagen, kurz u snel rechte en schone smeden krijgen door de breedtegeleider te gebruiken. Om de breedtegeleider te installereren, steekt u deze met zich geleideraar beneden gericht door de rechthoekige opening op de lijkant van de gereedschapsvoet. Schuif de breedtegeleideraar de positie van de gewenste bredte, en draai dan de bout vast om hem vast te zetten.
2) Cirkels en bogen zagen (Fig. 19 en 20)
Wanneer u cirkels of bogen met een straal van 170~mm of minder wilt zagen, dient u de bredtegeleider als volgt te installereren. Steek de bredtegeleider met zich geleideraar boven gericht door de rechthoekige opening op de zichkant van de gereedschapsvoet. Steek de pin van de cirkelgeleider door een van de twee gaatjes in de geleider. Zet de pin vast door de schroefknop erop te schroeven. Schuif nu de bredtegeleideraar de positie van de gewenste straal, enzet.Deze vast door de bout vast te draaien.Schuif daarna de voet van het gereedschap helemaal aan voren.
Antisplinterinrichting (optioneel accessoire) (Fig. 21)
m splintervrije zaagsneden te krijgen, kurz u de antisplinterinrichting gebruiken. Om deze inrichting te installeren, schuift u de voet van het gereedschap helemaal maar voren en dan steekt u de inrichting hussen de twee uitsteeksels van de voet.
ONDERHOUD
LET OP:
Zorg er.altijd voor dat het gereedschap is uit geschachteld en de stekker uit het stopcontact is verwijderd alvorens onderhoud aan het gereedschap uit te voeren.
@pdat het gereedschap veilig en betrouwbaar blijft, dienen alle reparations, onderhoud of afstellingen te worden uitgevoerd bij een erkend Makita service centrum.
GARANTIE
Wij garanderen dat Makita gereedschappen voldoen aan de wettelijkke voorschriften van uw land. Uitgeslooten van de garantie zijn beschadigingen voorzaakt door normale slijtage, overbelasting of misbruik. In geval van klachten worden u verzocht het gereedschap, ongedemonteerd, op te sturen maar uw handelaar of Makita service centrum, samen met het bijgesloten GARANTIEBEWIJS.
ESPAN'OL
Deze accessoires of hulpstukken zijn aanbevolen voor gebruik met het Makita gereedschap dat in deze gebruiksaanwijzing is beschreiben. Het gebruik van andere accessoires of hulpstukken kan gevaar voor personlijke verwondingen opleveren. De accessoires of hulpstukken dienen alleen op de juiste en voorgeschreiben manier te worden gebruikt.
E ACCESORIOS
PRECAUCION:
De ondergetekeende, Yasuhiko Kanzaki, gevolmachtigd door Makita Corporation, 3-11-8 Sumiyoshi-Cho, Anjo, Aichi, 446 Japan verklaart dat dit produit
(Serienr.:serieproduktie)
vervaardigd door Makita Corporation in Japan voldoet aan de volgende normen of genormaliserde documenten,
HD400, EN50144, EN55014, EN61000* in overeenstemming met de richtlijnen van de Raad 73/23/EEC, 89/336/EEC en 98/37/EC.
Geluidsniveau en trilling van het model 4322 / 4323
Het typische A-gewogen geluidsdrukniveau is 83 dB (A).
Tijdens het werkken kan het geluidsniveau 85 dB (A) overschrijden.
Draag oorbeschemers.
De typische gewogen effectieve versnellingswaarde is 5 m/s2.
SimpelGids