4340T - Elektrische zaag MAKITA - Gratis gebruiksaanwijzing en handleiding
Vind de handleiding van het apparaat gratis 4340T MAKITA in PDF-formaat.
Veelgestelde vragen - 4340T MAKITA
Download de handleiding voor uw Elektrische zaag in PDF-formaat gratis! Vind uw handleiding 4340T - MAKITA en neem uw elektronisch apparaat weer in handen. Op deze pagina staan alle documenten die nodig zijn voor het gebruik van uw apparaat. 4340T van het merk MAKITA.
GEBRUIKSAANWIJZING 4340T MAKITA
GB Jig Saw Instruction Manual
F Scie sauteuse Manuel d'instructions
D Stichsäge Betriebsanleitung
I Seghetto alternative Istruzioni per l'uso
NL Figuurzaag Gebruiksaanwijzing
E Sierra de cacadora Manual de instructaciones
P Serra tico-tico Manual de instruções
DK Dekupørsv Brugsanvisning
S Sticksåg Bruksanvisning
N Stikksag Bruksanvisning
SF Pistosaha Kayttöohje
GR Paaivdpopiko Ppiovl Odyicxpnoe
TR Oyma testeresi
El kitabi
4340T
4340CT
4340FCT



1

2

3

4

5

6

7

8

9

10

11 12


13 14


15 16




17 18


1920


21 22

23 24

25

26

27
Symbols
Voor dit gereedschap worden de volgende symbolen gebruikt. Zorg ervoor dat u de betekenis van deze symbolen begrijpt alvorens het gereedschap te gebruiken.
Símbolos
Verklaring van algemene gegevens
| 1 Gereedschapsopener | 12 Bout | 23 Schroefknop |
| 2 Zaagbladklem | 13 Tandwielhuis | 24 Pin van cirkelgeleider |
| 3 Figuurzaagblad | 14 V-inkening | 25 Lineaalstaaf |
| 4 Uitsteeksels | 15 Schuine sleuf | 26 Geleiderailadapter |
| 5 Voet | 16 Schaalverdelingen | 27 Geleiderail |
| 6 Inbussleutel | 17 Startgaatje | 28 Bout |
| 7 Zaagactie-keuzehendel | 18 Stofzuigmondstuk | 29 Dekplaat |
| 8 Trekkerschakelaar | 19 Slang voor stofzuiger | 30 Antisplinterinrichting |
| 9 Vastzetknop | 20 Breedtegeleider | 31 Haak |
| 10 Snelheidsregelknop | 21 Bout | |
| 11 Zaaglijk | 22 Geleider |
TECHNISCHE GEGEVENS
| Model | 4340T | 4340CT | 4340FCT |
| Slaglengte | 26 mm | 26 mm | |
| Zaagcapaciteit | |||
| Hout | 110 mm | 135 mm | 135 mm |
| Staal | 10 mm | 10 mm | 10 mm |
| Aantal slagen per minuut (min-1) | 2800 | 800 - 2800 | 800 - 2800 |
| Gesamtlänge | |||
| Nettogewicht | 239 mm | 239 mm | 239 mm |
| 2,4 kg | 2,4 kg | 2,4 kg |
- In verband met ononderbroken research en ontwikkeling behouden wij ons hetrecht voor bovenstaande technische gegevens te wijzigelen zonder voorafgaande kennisgeving.
- Opmerking: De technische gegevens konnen van land tot land verschillen.
Doeleinden van gebruik
Dit gereedschap is bedoeld voor het zagen van hout, kunststof en metalen materialen. Een uitgebreide keuze van accessoires en zaagbladen staat ter beschikking, zodat het gereedschap voor talrijke doeleinden kan worden gezruikt en optimaal geschikt is voor het zagen van bogen en cirkels.
Stroomvoorziening
Het gereedschap mag alleen worden aangesloten op een stroombron van hetzelfde voltage als aangegeven op de naamplaat, en kan alleen op enkel-fase wisselstroom worden gezruikt. Het gereedschap is dubbel-geisoleerd volgens de Europese standarden kan derhalve ook op een Niet-geaard stopcontact worden aangesloten.
Veiligheidswenken
Voor uweiligheid dient u de bijgevoegde Veiligheidsvoorschriften nauwkeurig op te volgen.
AANVULLLENDE
VEILIGHEIDSVOORSCHRIFTEN
- Houd het gereedschap bij de geisoleerde hand-greepoppersvlakken vast wonneer u een werk uittvoert waarbij de zaag met verborgen bedrading of zich eigendnetsnoer in aanraking kan komen. Door contact met een onder spanning staande draad zullen de Niet-geisoleerde metalen delen van het gereedschap onder spanning komen te staan, zodate gebruiker een elektrische schok kan krijgen.
-
Vermijd het zagen op spijkers. Inspector het werkstuk vooraf op de aanwezigheid van spijkers en verwijder deze voordat u met het werk begint.
-
Gebruik het gereedschap nooit voor het doorzagen van holle pijpen.
- Ook Niet voor het zagen van zeer groe werkstukken.
- Controleer vooraf of er voldoende vrije ruimte is awhile het werkstuk om te voorkomen dat het zaagblad gegen een vloer, een werkbank e.d. stoot.
- Houd het gereedschap stevig vast.
- Zorg ervoor dat het zaagblad Niet in contact is met het werkstuk voordat u de spanning inschakelt.
- Houd uw handen uit de buurt van de bewegende delen.
- Schakel altijd het gereedschap uit als u weg moet. Schakel het gereedschap alleen in als u het in handen houdt.
- Schakel.altijd uit en wacht tot het zaagblad volledig tot stilstand is gekomen, alvorens het gereedschap van het werkstuk te verwijderen.
- Raak onmiddelijk na gebruik het zaagblad of het werkstuk Niet aan, aangezien het nog gloeienda heet kan zich en brandwonden kan veroorzaken.
BEWAAR DEZE VOORSCHRIFTEN.
BEDIENINGSVOORSCHRIFTEN
Installeren of verwijderen van het zaagblad (Fig. 1, 2 en 3)
LET OP:
- Zorg er altiijd voor dat het gereedschap isuitgeschakeld en het netsnoer uit het stopcontact is verwijderd, alvorens het zaagblad te installereren of te verwijdersen.
-
Verwijder algtdi alle spaanders of verontreinigungen van het zaagblad en/of de zaagbladhouder. Als u dit verzuimt, bestaat er kans dat het zaagblad Niet goed vastbezet zal,zijn,hetgeen ernstige verwonding kanveroorzaken.
-
Raak het zaagblad of het werkstuk Niet aan onmiddelijk na het gebruik; deze können gloeendi heet zich en brandwonden veroorzaken.
- Zet het zaagblad goed vast, waar anders gevaar is voor ernstige verwonding.
Het zaagblad installeren
Open de gereedschapsopeneraar de afgebeelde positie.(Fig.1)
Houd de opener in die positie en steek het zaagblad zo ver in de zaagbladklem dat de twee uitsteeksels van het zaagblad Niet meer zichtaar+zijn. (Fig. 2)
Breng de gereedschapsopener terug maar+zijn oorspronkelijkke positie. Nadat het zaagblad geinstalleerd is, moet u er even aan trekken om te controleren of het goed vast zit.
LET OP:
Open de gereedschapsopener Niet te ver, odomat het gereedschap daardoor beschadigd kan raken.
Het zaagblad verwijderen
LET OP:
Wees bij het verwijderen van het zaagblad voorzichtig dat u uw vingers Niet verwondt aan de bovenkant van het zaagblad of de werkstukspaanders.
Open de gereedschapsopeneraar de afgebeelde positie.Trek het zaagblad eruit in de richting van de gereedschapsvoet.(Fig.3)
OPMERKING:
Smeer regelmatig de rol.
Opbergplaats voor de inbussleutel (Fig. 4)
Wanneer u de inbussleutel nicht gebrukt, kurz u hem hier handig opbergen.
Selecteren van de zaagactie (Fig. 5)
Dit gereedschap kan met twee zaagacties worden gebruikt: Zagen in een cirkelbaan of in rechte lijn (op en neer). Tijdens zagen in een cirkelbaan, worden het zaagblad door de zaagactie maar voren geduwd en vermeerdert de zaagsnelheid aanzienlijk.
Om de zaagactie te veranderen, draait u gewoon de zaagactie-keuzehendel maar de gewenste stand. Zie de onderstaande tabel voor het selecteren van de zaagactie.
| Stand Zaagaactie Toepassingen | |
| 0 Zagen in | rechte lijn |
| I Zagen in | kleine cirkelbaan Zagen van zacht staal, aluminium en hard hout. |
| II Zagen in | middelgrote cirkelbaan |
| III Zagen in | grote cirkelbaan Snel zagen in hout en gelaagd hout. |
Werking van de schakelaar (Fig. 6)
LET OP:
Alvorens het netsnoer op het stopcontact aan te sluiten, dient u altijd te controlenen of de trekkerschakelaar juist werkt en bij loslaten maar de "OFF" positie terugkeert.
Om het gereedschap te starten, drukt u gewoon de trekker in. Laat de trekker los om het gereedschap te stoppen. Voor langdurig zagen drukt u eerst de trekker en dan de vastzetknop in. Om het gereedschap vanuit deze vergrendelde stand te stoppen, worden de trekker helemaal ingedrukt en verrolgens losgelaten.
Snelheidsregelknop (Fig. 7)
De zaagsnelheid kan worden ingesteld op een willekeurige snelheid tussen 800 en 2 800 slagen per minuut door de snelheidsregelknop waar links of rechts te draaien. Draai de knop in de richting van nummer 5 om de snelheid te vermeerdenen, en in de richting van nummer 1 om de snelheid te verminderen. Raadpleeg de onderstaande tabel voor het selecteren van de snelheid die geschikt is voor het te zagen werkstuk. De geschikte snelheid hangtECHTER ook af van het type of de dikte van het werkstuk. In het algemeen, kunt u met hogere snelheden sneller zagen, maar het zaagblad zal dan minder lang meegaan.
| Te zagen werkstuk Nummer op regelknop | |
| Hout 4 – 5 | |
| Zacht staal | 3 – 5 |
| Roestvrijnaal | 3 – 4 |
| Aluminium | 3 – 5 |
| Plastic | 1 – 4 |
LET OP:
De snug dan 1 worden gedraaid. Probeer nicht de knop met geweld voor bij 5 of 1 te draaien, aangezien de snug heidsregeling dan nicht meer juist za werken.
Voor 4340CT, 4340FCT
De gereedschappen die voorzien zijn van de elektronische functie, zich gemakkelijk te bedieren omwille van de volgende kenmerken.
Constante snelheidsregeling
De elektronische snelheidsregeling zorgt voor een constante snelheid. U(Intj)n fijn afwerken, aangezien de draaisnelheid ook tijdens belast gebruik constant worden gehonden.
Zacht starten
De schok bij het starten worden onderdrukt, zDat het gereedschap veilig en zicht start.
Aanzetten van de lampen (Alleen voor 4340FCT)
LET OP:
Kijk Niet direct in hetlicht of de lichtbron.
Druk de trekker in om de lamp aan te zetten. Laat de trekker los om de lamp uit te doen.
OPMERKING:
Gebruik een droge doeck om vuil op de lamplens eraf te vegen. Let op dat u geen krassen maakt op de lamplens, aangezien de verlichtingssterkte daardoor zal vermindeen.
Bediening (Fig. 8)
LET OP:
Houd de voet van het gereedschap allijd vlak met het werkstuk. Als u dit Niet doet, kan het zaagblad breken, hetgeen ernstige verwonding kan veroorzaken.
Schakel het gereedschap in en wacht totdat het zaagblad op volle toeren draait. Plaats dan de voet van het gereedschap vlak op het werkstuk en beweeg het gereedschap langzaam maar voren langus de van te voren op het werkstuk aangebrachte zaaglijn. Voor het zagen van bochten dient het gereedschap zeer langzaam maar voren te worden bewogen.
Zagen onder een schuine hoek
LET OP:
Zorg er.altijd voor dat het gereedschap is uitgeschakeld en het netsnoor uijt het stopcontact is verwijderd, alvorens de voet van het gereedschap schuin te zetten.
Door de gereedschapsvoet schuin te zetten kurz u schuin zagen bij een willekeurige hoekCUSen 0^ en 45^ (links of rechts). (Fig. 9)
Draai met de inbussleutel de bout aan de achterkant van de voet los. Beweeg de voet zodat de bout vlak in het midden van de schuine sleuf in de voet komt te zitten.
(Fig. 10 en 11)
Kantel de gereedschapsvoet om de gewenste schuine hoek te krijgen. De V-inkening in het tandwielhuis geeft de schuine hoek in schaalverdelingen aan. Draai daarna de bout vast om de voet vast te zetten. (Fig. 11)
Zagen tot—helemaal gegen de kant (Fig. 12)
Draai met de inbussleutel de bout aan de achterkant van de voet los en schuif de voet helemaal waar achefteren. Draai daarna de bout vast om de voet vast te zetten.
Figuren uitzagen
Voor het uitzagen van figuren Aunt u methode A of B gebruiken.
A) Voorboren van een startgaatje: Om figuren onmiddelijk in het midden van het werkstuk uit te zagen, en dus Niet vanaf de rand, dient u eerst een startga--- tje met een diameter van 12mm of更是 te boren. Steek het zaagblad door dit gaatje en begin dan met te zagen. (Fig. 13)
B) Invalzagen: U hoeft geen startgaatje te boren of geen geleidesnede te make n indien u voorzichtig als volgt te werk gaat.
- Houd het gereedschap schuin voorover door alleen het voorste gedeelte van de voet op het werkstuk te lately rusten, met de punt van het zaagblad net boven het werkstukoppervlak. (Fig. 14)
- Oefen een beetje drukuit op het gereedschap om te voorkomen dat de voorrand van de voet kan bewegen, en schakel het gereedschap in. Laat hetijkenste van het gereedschap langzaam zakken.
- Naarmate het zaagblad door het werkstuk hebenaagt,That u de voet van het gereedschap langzaam op het werkstukoppervlak zakken.
- Zaag verder op de normale manier.
Afwerken van de randen (Fig. 15)
Voor het afwerken van randen of voor nauwkeurig op maat zagen,That u het zaagblad lichtjes langs de gezaagde randen lopen.
Zagen van metaal
Voor het zagen van metaal dient u alkijd een geschikt koelmiddel (snijolie) te gebruiken. Wanner u dit Niet doet, za het zaagblad snel slijten. Inplaats van een koelmiddel te gebruiken, kunt u ook de onderkant van het werkstuk invetten.
Stofafzuiig
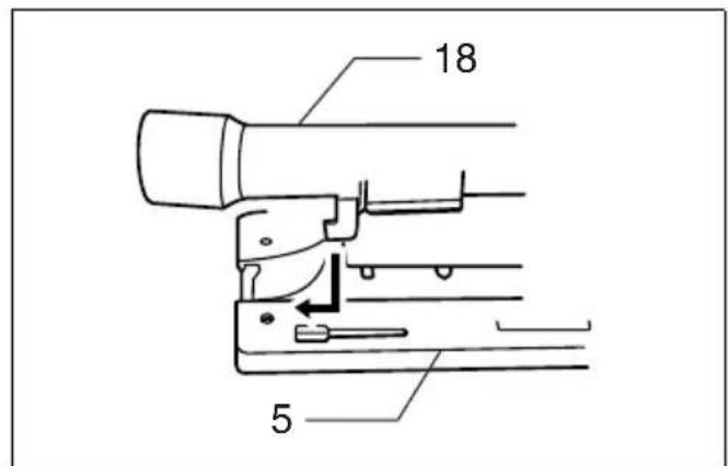
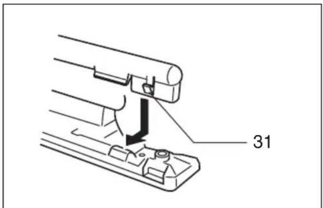
Gebruik bij voorkeur het stofzuigmondstuk (accessoire) om schoner te kunnen werken. Om het stofzuigmondstuk op het gereedschap te monteren, steekt u de haak van het stofzuigmondstuk in het gat in de gereedschapsvoet.
(Fig. 16 en 17)
Het stofzuigmondstuk kan aan de linker of rechtter zichde van de voet worden geinstalleerd. Sluit daarna een Makita stofzuiger aan op het stofzuigmondstuk. Om het stofzuigmondstuk te verwijderen, voert u de procedure voor het installereren in de omgekeerde volgorde uit.
(Fig. 18)
LET OP:
Probeer Niet om het stofzuigmondstuk met geweld te verwijderen. Als u dit doet, kan de haak van het stofzuigmondstuk verzwakken zodate hijijdens de bediening ongewild loskomt.
Breedtegeleider-set (accessoire)
LET OP:
Zorg er alkijd voor dat het gereedschap is uitgeschakeld en het netsnooruit het stopcontact is verwijderd, alvorens accessoires te installereren of te verwijdersen.
1) Rechte stukken zagen (Fig. 19 en 20)
Wanner u herhaaldelijk stukken die 160 mm of minder breed zichn wilt zagen, kurz u snel rechte en schone smeden kriijgen door de bredtegeleider te gebruiken. Om de bredtegeleider te installereren, steekt u deze met zich geleideraar beneden gericht door de rechthoekige opening op derijkant van de gereedschapsvoet. Schuif de bredtegeleideraar de positie van de gewenste bredte, en draai dan de bout vast om hem vast tezetten.
Wanner u cirkels of bogen met een straal van 170mm of minder wilt zagen,Client u de bredtegeleider als volgt te installeren.
Steek de breedtegeleider met zich geleider waar boven gericht door de rechthoekige opening op de zichkant van de gereedschapsvoet. Steek de pin van de cirkelgeleider door een van de twee gaatjes in de geleider. Zet de pin vast door de schroefknop erop te schroeven. Schuif nu de breedtegeleider waar de positie van de gewenste straal, en zet deze vast door de bout vast te draaien. Schuif daarna de voet van het gereedschap helemaal waar voren.
OPMERKING:
Gebruik alkijd zaagbladen Nr. B-17, B-18, B-26 of B-27 wanner u cirkels of bogen wilt zagen.
Geleiderailadapter-set (accessoire)
Wanner u evenwijdige stukken van gelijke bredte wilt zagen ofrecht wilt zagen, kunt u snel en schoon zagen door de geleiderail en de geleiderailadapter te gebruiken. (Fig. 23)
Om de geleiderailadapter te installeren, steekt u de lineaalstaaf zo ver möglichk in de vierkante opening in degereedschapsvoet. Draai de bout goed vast met de inbussleutel. (Fig. 24)
Monteer de geleiderailadapter op de rail van de geleiderail. Steek de lineaalstaaf in de vierkante opening in de geleiderailadapter. Plaats de gereedschapsvoet gegen de zichkant van de geleiderail en draai de bout stevig vast. (Fig. 25)
LET OP:
Gebruik alkijd de zaagbladen Nr. B-8, B-13, B-16, B-17 of 58 wanner u de geleiderail en de geleiderailadapter wit gebruiken.
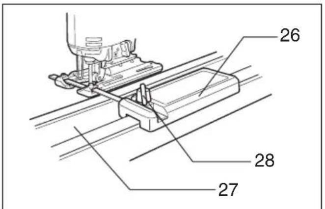
Dekplaat (Fig. 26)
Gebruik de dekplaat wanner u decoratiefineerhout, kunststof e.d. zaagt. Dezeplaat beschermt gevoelige of tere oppervlakken gegen beschadiging. Bevestig deplaat op de onderzijde van de gereedschapsvoet.
Antisplinterinrichting (Fig. 27)
Om splintervrije zaagsneden te krijgen, kut u de anti-splinterinrichting gebruiken. Om deze te installereren, schuift u de gereedschapsvoet—helemaal maar voren en dan bevestigt u de inrichting vanaf de onderzijde van de voet. Wanner u de dekplaat gebruikt, installeert u de antisplinterinrichting op de dekplaat.
LET OP:
De antisplinterinrichting kan nicht gebruikt worden voor zagen onder een schuine hoek.
ONDERHOUD
LET OP:
Zorg er alsijd voor dat het gereedschap is uitgeschakeld en de stekker uit het stopcontact is verwijderd alvorens onderhoud aan het gereedschap uit te voeren.
Opdat het gereedschap veilig en betrouwbaar blijft, die-nen alle reparaties, onderhoud of afstellen te worden uitgevoerd bij een erkend Makita service centrum.
Deze accessoires of hulpstukken zijn aanbevolen voor gebruik met uw Makita gereedschap dat in deze gebruiksaanwijzing is beschreven. Het gebruik van andere accessoires of hulpstukken kan gevaar voor personlijke verwondingen opleveren. De accessoires of hulpstukken dienen alleen op de juiste en voorgeschreiben manier te worden gezruikt.
E ACCESORIOS
PRECAUCION:
Wij verklaren hierbij uitsluitend op eigenverantwoordelijkheid dat dit Produk t voldoet aan de volgende normen of genormaliseerde documenten,
HD400, EN50144, EN55014, EN61000
in overeenstemming met de richtlijnen van de Raad 73/23/EEC,89/336/EEC en 98/37/EC.
ESPNOL
Het typische A-gewogen geluidsdrukniveau is 83dB (A).
Tijdens het werkken kan het geluidsniveau 85dB (A) overschrijden.
Draag oorbeschemers.
De typische gewogen effectieve versnellingswaarde is 8m / s^2
SimpelGids