CC EVOQUE P - Virtuvės gartraukis EICO - Nemokama naudojimo instrukcija

Raskite įrenginio instrukciją nemokamai CC EVOQUE P EICO PDF formatu.

📄 120 puslapiai Lietuvių LT 💬 AI klausimas
Notice EICO CC EVOQUE P - page 92

Questions des utilisateurs sur CC EVOQUE P EICO

0 question sur cet appareil. Repondez a celles que vous connaissez ou posez la votre.

Poser une nouvelle question sur cet appareil

L'email reste privé : il sert seulement à vous prévenir si quelqu'un répond à votre question.

Aucune question pour l'instant. Soyez le premier à en poser une.

Atsisiųskite instrukciją savo Virtuvės gartraukis PDF formatu nemokamai! Raskite savo instrukciją CC EVOQUE P - EICO ir vėl perimkite savo elektroninį įrenginį. Šiame puslapyje skelbiami visi dokumentai, reikalingi jūsų įrenginio naudojimui. CC EVOQUE P prekės ženklo EICO.

NAUDOJIMO INSTRUKCIJA CC EVOQUE P EICO

LT montavimo ir naudiojimosi instrukcija

LV ierikosanas un izmantošanas instrukcija

SR Uputstva za montažu i upotrebu

SL Navodila za montažo in uporabo

HR Uputstva za montažu i za uporabu

TR Montaj ve kullanim talimatlari

AR

EICO CC EVOQUE P - 1

EICO CC EVOQUE P - 2
2

EICO CC EVOQUE P - 3

EICO CC EVOQUE P - 4
4

EICO CC EVOQUE P - 5
5

EICO CC EVOQUE P - 6
6

EICO CC EVOQUE P - 7
03.5x13
7

EICO CC EVOQUE P - 8
G

8

EICO CC EVOQUE P - 9
9

EICO CC EVOQUE P - 10

EICO CC EVOQUE P - 11
11

EICO CC EVOQUE P - 12
12

EICO CC EVOQUE P - 13
04x8mm

EICO CC EVOQUE P - 14

EICO CC EVOQUE P - 15
13
15

LT - montavimo ir naudojimosi instrukcija

Grieztai lakykites naudojimosi instrukciju. Gamintojas neprisiima jokios atsakomybès, jei montuoanj pretaisa buvo nesilaikoma naudojimosi instrucjoje nurodyt taisykliu ir tokiu budu pretaisas sugedo, buvo pazeistas ar užsideg. Gartraukis skirtas dumams ir garams, susidariusiem gaminant maista, išraukti. Jis skirtas naudoti tik namuose.

Svarbu saugoti sias instrukcjjas, kad galétuméte jas bet kuriuo metu pasiskaityt. Jei gamin' parduotuméte, perleistuméte kitiems ar/perkeltuméte kitai vieta, jsitikinkite, kad instrukcjisos liktu kartu su gaminiu.
- Idémiai perskaity kite instrukcjas: jose pateikta svarbi informacija apie idiegima, naudojima ir sauguma.
- Nekeiskite elektriniu ar mechaniniu gaminio ar iskrovimo vamzdziu savybiu.
- Prieš igrendami gaminji, patikrinkite visus jo componentus, ar nepažeisti. Jei pažeisti, nutraukite igrengimo darbus ir susisiekite su platintoju.

! Saugos taisyklès

  • Pries atlikdami bet kokius valymo ar prieziuros veiksmus, atjunkite gartraukji nuo elektros tinklo iStraukdami maitinimo laido kištuka ar isjungdami pagrindinj namojungikli.
  • Atlikdami visus montavimo ir prieziūros darbus mūvěkite darbines pirstines.
  • Vaikai nuo 8 metu amziaus ir asmenys su ribotomis fizinemis, jutimo ar psichinemis galimybemis, ar neturintys patirties ar reikalingu ziniu, gali naudoti aparata su prieziura arba gave atitinkamas instrukcijas apie saugu aparato naudojima bei suprata visus pavojus, susijusius su jo naudojimu.
  • Vaikai turi buti prižiūrimi, kad nežaistu su irenginiu.
  • Valymas ir prieziura negali buti atliekama vaiku be prieziuros.
  • Patalpoje turi buti pakankama ventiliacija, kai virtuvinis gartraukis naudiojamas vienu metu kartu su kitais irenginiais, naudiojancialis duju ar kitu medziagug degima.
  • Gartraukis turi buti daznai valomas tiek iš vidaus, tiek iš išorës (MAŽIAUSIAI VIENA KARTA PER MÊNESI), bet kuriuo atveju rekomenduojama vadovautis

prieziuros instrukcjose pateiktais nurodymais.

  • Nesilaikant gartraukio valymo bei filtru keitimo ir valymo instrukciju, gali kilti gaisro pavojus.
    Grieztai draudziama gaminti patiekalus su ugnimi po gartraukiu.
  • Lempos keitimui naudokite tik šiŋ instrukciju vadove esanziame priežiūros skyriije nurodytus lempu tipus.

Atviros liepsnos naudojimas pazeidzia filtrus ir gali sukelti gaisra, del to jos būtina vengti.

Kepimas turi buti nuolatos stebimas, kad ikaites aliejus neuzsidegtu.

DEMESIO: Viryklei veikiant, prieinamos gartraukio dalys gali tapti karstos.

  • Nejunkite jrenginio prie elektros tinklo, koljis nera visiskai sumontuotas.
    Grieztai laikykites vietinés valdios pateiktu taisykiu del ismetamu dumu techniniu matmenu ir saugumo.
  • Isiurbiamas oras negali buti isleidziamas i vamzdyna nauojama dumu, susidariusiu del duju ar kitu medziagug degimo, ismetimui.
  • Nenaudokite ir nepalikite gartraukio tinkamai nesumontave lempu, nes rizikuojate elektros nutrenkimu.
  • Niekuomet nenaudokite gartraukio tinkamai nesumontave grotiliu!
  • Gartraukis JOKIAIS BUDAIS negali buti naudiojas, kaip atrama, nebent aiiskiai nurodyta kitaip.
  • Montavimui naudokite tik kartu su gaminiu gautus tvirtinimo varztus, o jeigu ju negave, naudokite tinkamo tipo varztus.
  • Naudokite tinkamo ilgio varžtus, kuris nurodytas Montavimo vadove.
  • Iškilus dvejonéms, kreipkitës i igaliota aptarnavimo centra ar panasu kvalifikuota personala.

DÉMESIO!

  • Netinkamai sumontavirus varžtus irKitas tvirtinimodetales nurodytas šiose instrukcjose, gali kilti pavojsu elektra.
  • Nenaudoti su atskiru programavimo itaisu, laikmačiu, nuotoliniu valdymo pultu arba bet kuruo kitu automatiskai suaktyvinamu prietaisu.

Sis prietaisas pažymétas remiantis ES Direktva 2012/19/EC dél elektrós ir elektronínes jrangos attieku, (EEI attieku). Pasirūpindamas, kad sis gaminys būtī ismestas tinkamai, vartotojas pada eda iśvengti neigiamu pasekmiu aplinkai ir sveikatai.

EICO CC EVOQUE P - DÉMESIO! - 1

Simbolis ant gaminio ar jo dokumentuose rodo, kad sis gaminys neturi buti priskiriamas buitinemss atlekoms, o turi buti pristatas tam tikra atliku surinkimo punkta elektrini ir elektroniaparatu pakartotiniam panaudojimui. Gamin iismeskite laikydamiesi vietini attleku salinimo normu. Noradami gauti daigiau informacios apie sio gaminio apdorojima, rinkima ir pakartotin panadaojima, kreipkites i specialia vietine jstaiga, buitiniu attleku rinkimo centra ar parduotuve, kurjoe gaminys buvo pirktas.

Prietaisas suprojektuotas, isbandytas ir pagamantas pagal:

  • Sauge: EN/IEC 60335-1; EN/IEC 60335-2-31, EN/IEC 62233.
    Eksploatavimas: EN/IEC 61591; ISO 5167-1; ISO 5167-3; ISO 5168; EN/IEC 60704-1; EN/IEC 60704-2-13; EN/IEC 60704-3; ISO 3741; EN 50564; IEC 62301.
  • Elektromagnetinis suderinamumas: EMC: EN 55014-1; CISPR 14-1; EN 55014-2; CISPR 14-2; EN/IEC 61000-3-2; EN/IEC 61000-3-3. Tinkamo naudojimo patarimai, siekiant sumažinti poveiki aplinkai: Kai pradedate virti, junkite gartrauki, nustatykite maziausia greiti ir, baige virti, palikite ji veikti dar kelioms minutems. Padidinkite greiti tik tuomet, jei susikaupia dung dumu ar garu, o forsuotaja veiksena naudokite tik krašutiniais atvejais. Kad išaikytumete kvapu sugerimo efektyvmu, keiskite angles filtr(-us). Kad išaikytumete riebalu filtro(-us) veiksminguma, valykite ji (juos). Naudokite didziaiosi siame vadove nurodyto skersmens kanalus, kad išaikytumete prietaiso efektyvmu ir sumažintumete jo sklearneidžiamā triukšma.

Naudojimas

Gaubtas gali buti naudiojas oro istraukimo i isore rezimu arba vidinés recirkuliacjos filtravimo rezimu.

Oro ištraukimo režimas

Gaube yra virsutine oro i séjimo anga B, skirta garu istraukimui ir pašalinimui i isore (iStraukiamojo vamzdžio ir užtvirtinimo gnybtu komplekte néra).

Filtravimo režimas

Jei maisto gaminimo metu nejmanoma dūmī ir garu išraukti i isore, gaubta galite naudoti filtravimo rezimu, jmontuodami aktyviosios angles filtra ir deflektoriu F i atrama (laikikli) G. Tokiu budu dūmāir garai bus recirkuliuojamī per virsutines gastrolesi H per išraukiamaji vamzdī, prijungta prie virsutines oro isejimo angos B i sandarinimo ziedo, jmontuoto ant deflektoriaus F (išraukiamojo vamzdžio ir uztvirtinimo gnybtug néra komplekte).

Modeliai be traukos variklio veikia tik istraukimo rezimu ir turi buti prijungti prie isorinio istraukimo irenginio (nerak komplekte).

Pajungimo instrukcija pateikiama kartu su periferiniu bloku.

Irengimas

Gaubtas suprojektuotas taip, kad būtī irendiamas virtuves kampe.

Jei virykle elektriné, maziausias atstumas tarv viryklés

kaitlentes pavirsiaus ir zemiausios virtuvinio gaubto dalies turi buti 50cm, o jei virykle dujiné ar kombiniota - 65cmo jei virykle dujiné ar kombiniota.

Jei dujinés viryklés i'rengimo instrukcijoje nurodomas didesnis atstumas, butina tai atsižvelgi.

Prijungimas prie elektros tinklo

Itampa elektros tinkle turi atitiki itampa, nurodyta etiketeje, priklijuotoje gaubto viduje. Jei yra kistukas, reikia ijungti gaubta i Rozete, atitinkanca galijoanios nuostatus ir esancia prieinamoje vietoje net ir po gaubto idegimo. Jeigu kistuko (yra numatyas tiesioginis prijungimas prie elektros srovés) arba nera rozetés prieinamoje vietoje net ir po gaubto idegimo, yra naudojamas dvipolis jungiklis, pagal visas idegimo taisykles uztikrinantis visiska atsijungimauo elektros tinklo per aukstos itampos atveju.

DÉMESIO!

Pries vél prijungdami gaubta prie elektros maitinimo tinklo ir patikrindami, arjis tinkamai veikia, visada jsitikinkite, ar tinklo kabelis tinkamai jmontuotas.

Montavimas

Jei prie gaubto yra tvirtinimo pleistai, pritaikyt daugumai senu/lubu, vis tek reikia iskiyesti kavalikuota specialista, kuris patikrintu, ar medziagos pritaikytos tam sienu/lubu tipui. Sienos/lubos turi buti pakankamai storos, kad islaikyt gaubto svori.

Démesio! Rekomenduojama, kad ši gaubtajirengtu kavalikuotas technikas montuotosjas, kadangi gaubto montavimas reikalauja didelés patirties. Montavimo darbams atlikti naudojamas profesionalus gulšiukas, grežtuvas, 8 mm skersmens gražtas sienoms ir 3,5 mm gražtas metalui grežti, atsuktuvas Žvaigzdute.

Išjunkite gaubta pagrindiniu namu elektrós jungikliu.

Išimkite riebalu filtra/us ir angies filtro rema.

  1. Piestuku TIKSLIAI HORIZONTALAIAI nubrezkite dvi liniju poras desinje ir kaireje sienose tame kampe, kuriame norite irengti gauba:

Pirmoji linju pora nustato atstuma tarp kaitlentes ir gaubto bei naudiojama, kaip orientyras montuojant kampines ploksteles.

Démesio! Kampinés plokstelès montuojamos tuo atveju, kai formuoanjcios kampa sienos nera visiskai statmenos.

Antroji linijupora, iśděstyta 50 mm aukschiau pirmosios, nustato gaubto atraminio laikiklio apatinés dalies montavimo vieta.

  1. Aremkite atramini laikikli i sienos kampa taip, kad jo dešinioji ir kairoji puses būt išděstytos vienodu atstu mu nuo sienu kampo (be to, patikrinkite, kad dalis, kurioje rya kelios horizontalos angos, būtu nukreipta i virsu), pažyměkete keturias išorines angas ir išgrežkite jas, iděkite keturis plastikinius kaišcius.
  2. Pritvirtinkite apatine atramine plokste ple atraminio

laikiklio ketuerais varztais.

  1. Patikrinkite, kad virtuves kampo, kuriame numatoma igrenti gaibta, kairioji ir desinioji sienos bute tikslai statmenos, priesingu atveju naudokite kampinius profilius siuo budu:

pridekite kampinius profilius prie desiniosios ir kairiosios sienu.

Pastaba: kampiu profili apatine dalis turi sutapi su sienoj nubrezu apatini linju para, be to, abi turi sutapi su sienos kampu, formuudamos istisa nepertraukiama rémel iš desinés kaire.

Pazymekite ir isgrezkite sesias angas, idekite sesis plastikinius kaiscius ir pritvirtinkite kampines ploksteles prie sienos sesiais varzais ir poverzlémis.

  1. Pritvirtinkite zdiniu atramine plokstele „G" prie sienos, kuri susijungia su lubomis, taip, kad jos desinioji ir kairojipusés butu isdystyos vienodu atsumu nuo sienos kampo, naudokite zdiniu atramine plokstele kaip grezimo schem - pazymekite piestukir igrezkite keturias angas, idekite keturis plastikinius kaiscius.

Istraukiamoji versija / filtruoamoji versija: pritvirtinkite
židinić atramine plokstele prie sienos keturias varžtais.

Tik filtruojamoji versija: sureguliuokite deflektoriaus F iissiplitima, atsižvelgdami j zdiniu atraminés plokstelès G plot, pritvirtinkite antgalius dviem varztais ir pritvirtinkite deflektoriu prie zdiniu atraminés plokstelès G keturias varztais.

  1. Pakabinkite gaubta ant apatinés atraminés plokstelès.

  2. a.-b. Pritvirtinkite gaubto apatine dalj prie iStraukiamojo itaiso.

c. Pritvirtinkite gaubto apatine dal' prie ištraukiamojo itaiso šešiais varžtais.

Demesio! Gaubtas dar nera galutinai prittvirtantas priesenos, todel visus zemiau aprasytus veiksmus atlikite labai atsargiai, kad gaubtas nenuosktu nuo atraminio laikilio ir nepadarytu zalos zmonems ar daiktams.

  1. Attikite elektros sujungimus tarp dviejdui.

  2. Sureguliukite gaubto atstuma nuo sienos ir gaubto horizontaluma, naudodami du reguliavimo varztus, esancius gaubto kabliuose.

Jeigu buvo jrengtos kampines plokstelés (kai virtuves kampas NERA visiskai statmenas), isitiknine, kad gaubtas yra saugiai prritvirtantas prie kampiniu ploksteliu.

Jeigu kampinés plokstelés nebuvo jrengtos (kai virtuves kampas yra visiskai statmenas):

a. jsitikinkite, kad gaubto apatine dalis yra iśdystyta tiksliai horizontaliai (jeigu gaubtas jrengtas tinkamai, si dalis turi sutapi su zemiausia sienoje nubrezta horizontalia linja arba butu lygiagreté jai (zürkite 1 montavimo operacja).
b. piestuku pazymekite du galutinio pritvirtinimo taskus (desiniji ir kairiji).
c. nuimkite gaubta ir isgrezkite dvi angas, idekite du plastikinius kaiscius, pakabinkite gaubta ir galutinai pritvirtinkite jj dviem varzaitis ir poverzlémis.

  1. Galutinai pritvirtinkite variklio bloka prie atramnio laikiklio - greztuvu isgrezkite 3,5 mm skersmens orientacin

anga atraminiame laikiklyje pro anga, esanica variklio bloko viduje, apatinéje dalyje, po to galutinai pritvirtinkite vienu varztu ir poverzle.

  1. Prijunkite dumu istraukimo vamzdj (vamzdis ir tvirtinamosios apkabos netiekiami komplekte) prie jungiamojo ziedo, esancio virsh istraukiamojo variklio bloko.
    Kitas vamzdizio galas turi buti sujungiamas su dumu ismetimo [isore taisu, jeigu naudojama istraukiamoji gaubto versija, arba prie deflektoriaus F, jeigu naudojama filtruoamoji gaubto versija.
  2. Atlikite elektros sujungimus.
  3. Uzmakite zdinium ir pritvirtinkite juos virsutinije dalyje dviem varztais (20a) prie zdiniu atramines plokstelés "G" (20b).
  4. Pastumkite i apacia apatine zdinio dal (ištraukiamasis blokas turi buti visiskai uzdengtas), koljis bus idetas i specialiai tam skirta vieta, esanci vir's gaubto.
  5. Uždékite du šoninius gaubtus (laidinis sujungimas), šiu daliu negalima keisti vietomis.

Idékite angles filtro rémelí ir riebalu filtra/-us ir jsitikinkite, kad gaubtas veikia tinkamai.

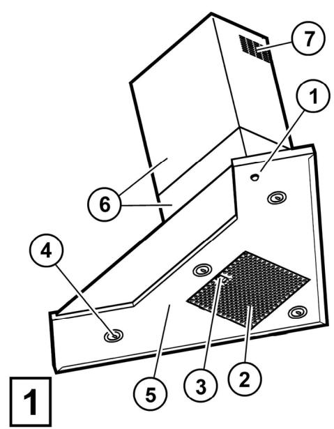
Gaubto aprasymas

1 pav.

  1. Valdymo skydas
  2. Nu roiebalu saugantis filtras
  3. Nu roiebalu saugancio filtratoatkabinimo rankena
  4. Halogeniné lempa
  5. Garu skydas
  6. Teleskopinis garintuvas
  7. Oro ištraukimo anga (tik naudojant filtravimo režimu)

EICO CC EVOQUE P - pav. - 1
Veikimas

Gaubto jungimas

Kontrolés rutuliukas yra gaubto mygtukinis jungiklis.

Kelis kartus paspaudziant kontrolles rutuliuka i desine, gaubtas isijungia ir dideja i stroukimo intensyvumas, dar karta paspaudziant i desine, gaubtas issijungia.

Sviesu jungimas

Paspaskite kontrolés rutuliuka i kaire, paspaskite dar karta, noredami išjungti apšvietima.

Priežiura

Valymas

Valymui naudokite TIK šluoste, suvilgyta skystu neutraliu valikliu. NENAUDOKITE VALYMO REIKMENU AR INSTRUMENTU!

Nenaudokite abrazyviniu valymo priemoniu. NENAUDOKITE SPIRITO!

Nurolibulysaugantis filtras

2 pav.

Filtra valkyite karta per menesi (ar kai filtru perpildymo indikacijosistema, jei tokia numatya turimame modelje, rodo tokia butinye). Valkyte svelnials valiklais rankiniu budur ar indaploveje pagal atitinkama temperatura ir trumpoju ciklu. Plaunant metalinui nuo riebalu sauganti filtra indaploveje, jis gali prarasti spvala, bet jo filtravimo savbés isliks nepakitusios.

Nordami ismontuoti riebalu filtra, patraukite „B“ spyruokline atkabinimo rankenèle.

Anglies filtras (tik filtravimo rezimu)

3 pav.

Naikina nemalonius kvapus, atsirandancius maisto gaminimo metu.

Anglies filtra plaukite kas du mènesius (ar kai filtru perpildymo indikacijos sistemas, jeria tokia numatya turimame modeljye, rodo tokia būtinye) karstu vandeniu su atitinkamais ploviklais arba indisaploveje 65°C temperatojure (plaunant indisaploveje, nustatykite pilna plovimo cikla, plaukite atskirai nuo kitu indu).

Pašalinkite vandens pertekli nepažeisdami filtr, po to nuimkite kempinele, esančia plastmasinio karkaso viduje, ir 10 minuči idekite ja iki 100^ ikaitinta orkaite, kad visai isdžiūt.

Keiskite kempinèle kas 3 metus ir kiekviena karta pazeidus audinj.

Nuimkite karkasa, laikanti filtra, pasukdami 90^ kampu rankeneles (g), kurios jj pritvirtina prie gaubto.

Idékite angles kempinèle (i) ↓ karkaso (h) vidu ir jmontuokite viska ↓ reikiamas vietas (j).

Angliae filtra galima naudoti tradiciniu budu, neplaunant in neregeneruojant, tokiu atveju filtra reikia keisti kas 3-4 menesius.

Karkasas ir anglies filtro kempinèle yra sujungti, todél tuo atveju, jei karkasas pridedamas prie gaubto, jo naudoti nereikia.

Noredami naudoti karkasa, idekite jam skirta vieta ir pritvirtinkite specialiais irkiais.

Lempu keitimas

Gartraukyje jrengta diodu technologijos apsvietimo systema. Diodai uztikrina optimalu apsvietima, be to, ju naudojimo laikas iki 10 karti ilgesnis nei tradicini lempuciu, taigi sutapoma 90% elektrros energijos.

Jei norite juos pakeisti, kreipkitës i techninio aptarnavimo tarnyba.

LV - ierikosanas un izmantoosanas instrukcija

Instrukcijos asistentas
Veikia ChatGPT pagrindu
Laukiama jūsų žinutės
Informacija apie produktą

Prekės ženklas : EICO

Modelis : CC EVOQUE P

Kategorija : Virtuvės gartraukis