ENL60812X - Frigorifero combinato AEG-ELECTROLUX - Manuale utente e istruzioni gratuiti
Trova gratuitamente il manuale del dispositivo ENL60812X AEG-ELECTROLUX in formato PDF.
Domande degli utenti su ENL60812X AEG-ELECTROLUX
0 domanda su questo apparecchio. Rispondi a quelle che conosci o fai la tua.
Fai una nuova domanda su questo apparecchio
Scarica le istruzioni per il tuo Frigorifero combinato in formato PDF gratuitamente! Trova il tuo manuale ENL60812X - AEG-ELECTROLUX e riprendi in mano il tuo dispositivo elettronico. In questa pagina sono pubblicati tutti i documenti necessari per l'utilizzo del tuo dispositivo. ENL60812X del marchio AEG-ELECTROLUX.
MANUALE UTENTE ENL60812X AEG-ELECTROLUX
Regolazione della temperature 169
Come sôstituire le lampadine interne __ 170
Descrizione delle parti interne 171
Zona "Magic Cool" (Opzione) ____ 173
Uso del dispenser dell'acqua 173
Come usare il dispositivo automatico di produzione del ghiaccio_ 174
Manutenzione e Pulizia 175
In caso di problemi... 177
Qualcosa non va? Qui potrete trovare la soluzione! 178
Istruzioni per l'installazione_ 179
Se il frigorifero non può passareattraverso una porta durante
I'installazione, seguire queste istruzioni_182
Collegamento alla linea di alimentazione dell'acqua (Per modelli con dispenser) __ 183
Trattamento del dispositivo elettrico od elettronico a fine vita
Questo significato sul prodotto, su alcuni accessori o sulla confezione indica che il prodotto non deve essere considerato come un normale rifuito domestico, ma deve[invece essere consecnato ad un punto di raccolta appropriato per il ricerca di apparecchi elettrici ed elettronici.
Applicable in tutti i paesi dell'Unione Europea e in quelli conSYSTEMA di raccolta differenziata.
Assicurandovi che quello prodotto sia smaltito correttamente, voi contribuirete a prevenire
potenziali consequences negative per l'ambiente e per la salute che potrebbero altrimenti essere causate dal suo smaltimento inadeguato.
Il riciclaggio dei materiali aiuita a conservare le risorse naturali.
Per informazioni più dettagliate circa il risciclaggio di quello prodotto, potete contattare l'ufficio comunale, il servizio locale di smaltimento rifiuti oppure il negotio dove l'avete acquistato.

AVVERTENZA IMPORTANTE (valida solo per modelli con refrigerante R-600a)

Questo frigorifero contiene un certo quantitativo di refrigerante isobutanico (R600a), un gas naturale non dannioso per l'ambiente ma altamente combustibile.
Quando si trasporta o si installa il frigorifero si deve prestare la massima attenzione al fine di evitare qualsiasi danno al circuito refrigerante.
In caso contrario si potrebbero verificare fuoriuscite di refrigerante con seguente possibilità di sviluppo di principi di incendio o si potrebbero causare ferimentiagli occhi. Qualora si notassero eventuali perdite di gas si deve arieggiare immediatamente l'ambiente, evitando di utilizzato fiamme libero o qualsiasi dispositivo in grado di produrre scintille.
- Al fine di limitare il rischio che venga a crearsi una miscela aria-gas altamente inflammabile in caso si verificasse una perdita dal circuito refrigerante, l'ambiente nel quale si trovava il frigorifero delve ave una volumetria pari ad almeno 1m^3 gni 8 grammi di gas R600a utilizzato nel circuito refrigerante (il quantitativo
totale di gas è indicato nella targhetta di identificazione che si trova all'interno del frigorifero).
- Evitare categoricamente di porre in funzione un frigorifero che presenti eventuali danni. In caso di dubbi, consultare un Centro di Assistenza Tecnica autorizzato.
Questo prodotto è conforme alla Direttiva 2002/95/EC RoHS

Questo prodotto è sicuro per l'ambiente ed è privo delle sostanze Pb, Hg, Cd, Cr6+, PBBe PBDE, che sono proibite alla Direttiva EU RoHS.
Avvertenze importanti!

Si consiglia di leggere conattenzione queste avventenze sulla sicurezza prima di iniziare ad utilizzare il frigorifero. Si consiglia inoltre di conservare il manuale, in previsione di eventuali consulazioni future.

Attenzione! Questo symbolo indica che in caso di mancata osservanza delle relative avventenze, l'utente più riportare gravi lesioni personali o morte.

Pericolo! Questo symbolo indica che in caso di mancata osservanza delle relative avventenze, l'utente cui si rportare lesioni o il frigoriferso si既可以 danneggiare.
Altri symboli

NON togliere nè smontare!

NO., DA NON FARE.

Accertarsi che il frigorifero sia stato scollegato alla rete di alimentazione, sfilando la spina del cavo alla presa di corrente.

Osservare scrupolosamente quanto indicate!

Attenzione!
-
In caso di danneggiamento del cavo di alimentazione, quello delve essere sostituito da personale specializzato o da un Centro di Assistance Autorizzato.
-
L'apparecchiatura deve essere installata in modo che la spina del cavo di alimentazione sia accessibile.
Attenzione

Evitare che il cavo di alimentazione si schiacciato da oggetti pesanti o dal frigorifero stesso o venga piegatoccessivamente.
In caso il cavo sia danneggiato od i fili scoperti, si potrebbero verificare cortocircuito o principi di incendio o rischi di folgorazione.

Collegare a rete direttamente il frigorifero, evitando di utilizzato spine multiple o cavi di prolunga e di collegarlo su una presa alla quale siano gli collegati altri elettrodomestici.
In caso contrario si potrebbero eventualmente verificare surriscaldamenti e principi di incendio.

Evitare di impugnare la spina del cavo di alimentazione con le mani bagnate.
Si potrebbe correre il rischio di folgorazione.

Non usare mai un cavo od una spina di alimentazione danneggiati od una presa di corrente allentata.
In caso contrario si potrebbero verificare cortocircuiti o principi di incendio o rischio di folgorazioni.

Il frigorifero delve categoricamente.
essere collegato ad una presa dotata di messa a terra.
In caso contrario si potrebbe verificare il rischio di folgorazione.

Evitare di sfilare la spina del cavo di alimentazione alla presa tirando il cavo. Afferrare sempre saldamente la spina.

All'uscita dalla presa elettrica, il cavo di alimentazione deve essere diretto verso il basso.
Se diretto versus l'alto, il cavo vicino alla spina potrebbe danneggiarsi, con pericolo di principi d'incendio o rischi di folgorazione.

Evitare di installare il frigorifero in ambienticcesssvamente umidi o su di un pavimento bagnato.
L'isolamento elettrico ne risulterebbe compromesso con seguente pericolodi folgorazione o cortocircuiti.
| Attenzione | ||
| Evitare che il cavo di alimentazione passi in prossimità o entri in contatto con fonti di calore. Il cavo di alimentazione potrebbe danneggiarsi, dando luogo a cortocircuito o rischi di folgorazione. | ||
| Evitare che il frigorifero (sia all'esterno che all'interno) venga raggiunto da spruzzi o getti d'acqua. L'isolamento elettrico verrebbe compromesso, con rischio che si verifichino cortocircuito o folgorazioni. | Evitare di appoggiare sopra al frigorifero contentitori pieni di acqua od altri liquidi. Se i liquidi entrano in contatto con le parti elettriche, si possono verificare cortocircuito, folgorazioni o danni. | |
| Impedire che i bambini possano aggrappiarsi per gliico alle maniglie oagli sportelli del frigorifero. Il frigorifero potrebbe cadere e ferirli. | Evitare di spostare mensole o scomparti se prima non li si è svotati. In caso contrario, i contentitori che vi sono appoggiati potrebbero cadere e rompersi, o danneggiare i ripiani di vetro o le parti interne del frigorifero. | |
| Nell'eventualità di un guasto, il frigorifero deve essere riparato solo dal personale di un Centro di Assistenza Tecnica autorizzato. Evitare di cercare di ripararlo personalmente per evitare anni a se stessi ed all'apparecchiatura. | Evitare di riporre nel frigorifero sostanse infiammabili. | |
| Evitare di utilizzare sostanse inflammabili, benzene, solventi, benzina, spray ecc. in prossimità del frigorifero. In caso contrario si possono verificare esplòsi o principi di incidio, ferite personali o danni. | Se si notassero perdite di gas vicino al frigorifero o nella cucina, arieggiare immediatamente il locale alla toccare il frigorifero né la spina di alimentazione. | |
| Evitare di conservare nel frigorifero medicinali, campioni di lavoratorio o altre sostanse che potrebbero deteriorararsi in seguito ad un innalzamento della temperatura. | Evitare di insertire mani e dità sulla il frigorifero, in modo particolare, sulla parte posteriore. Ci si potrebbe ferire con i bordi taglienti del metallo o corre il rischio di folgorazioni. | |
| Evitare di sostuire personale i fusibili o le lampadine che si trovano all'interno del frigorifero. Nell'eventuale caso di quasti, contattare un Centro di Assistenza Tecnica autorizzato. | Nell'eventualità si trovi il cavo di alimentazione danneggiato o tagliato, chiamare immediatamente il Centro di Assistenza Tecnica autorizzato. | |
| Prima di dismettere il vecchio frigorifero, accertarsi di rimuovere le guarnizioni degli sportelli in maniera tempestiva. In quello modo si eviterà, per esempio, che dei bambini possano per gioco chiudervisi nelle e rimanere soffocati. | ||
| PERICOLO | ||
| In previsione di un lungo periodo di inutilizzato si deve scollegare il frigoriferro dalla presa di corrente. | Si consiglia di prestare attenzione nel maneggiare contentori (in particolar modo metallici) estratti dal vano freezer.A causa della loro bassissima temperature potrebbero "incollarsi" alla pelle, specie se bagnata, e procurare lesioni. | |
| Evitare di consumare cibi scaduti, o deteriorati in seguito ad una conservazione errata.Evitare inoltre di conservare troppo a lungo i cibi nel frigoriferro. | Evitare di riporre nel vano congelatore bottiglie, o contentitori di vetro.Il congelamento del liquido al loro interno potrebbe provocare la rottura. | |
| Per trasportare il frigoriferro, orizzontalmente od inclinato, sono necessarie più di due persone, che devono utilizzato gli appiglichi che si trovano nella parte superiore e in quella inferiore del retro del mobile.In caso contrario il frigoriferro più cadere e danneggiarsi. | Prima di spostare il frigoriferro, avvitare verso l'alto le rotelle.Le rotelle potrebbero danneggiare o graffiare il pavimento. Se lo si sposta per una lunga distanza, non dimenticarsi di bloccare saldamente le parti interne con nastro adesivo.Per evitare che colidano e si rompano l'une con l'altra. | |

Si consiglia di leggere con attenzione le istruzioni di sicurezza prima di iniziare ad utilizzato il frigorifero, e di seguire scrupolosamente tutte le istruzioni e le avventenze.
Avvertenze relative all'installazione e al collegamento a rete
Prevenzione di principi di incendio, cortocircuito, rischi di folgorazione e perdite di liquido refrigerante.
- Non installare mai il frigorifero in una posizione in cui si presente una forte umidità o il pavimento sa bagnato o in cui possa essere raggiunto da getti o schizzi d'acqua.
-
Prima di collegare il frigorifero a rete, effettuare i seguenti controli:
-
Accertarsi che la presa di corrente sia dotata di messa a terra.
-
Accertarsi che alla presa non siano collegate altre apparecchiature elettriche.
-
Effettuare direttamente il collegamento a rete, evitando di utilizzato cavi di prolunga o spine multiple.
-
Evitare che il cavo di alimentazione venga schiacciato da oggetti pesanti.
-
Se dato che si è collegato il frigorifero a rete si dovessero notare rumori anomali o forti odori di sostanze chimiche o si vedesse del fumo ecc., staccare immediatamente la spina ed interpellare immediatamente un Centro di Assistenza Tecnica autorizzato.
- Dopo che si è spento il frigorifero, scollegando la spina del cavo di alimentazione alla presa di corrente, si deve attendere che siano trascorsi almeno 5 minuti prima di riaccenderlo reinserendola nuovamente. In caso contrario si potrebbero danneggiare il compressore od i circuiti elettrici del frigorifero.
- Dopo che è stato collegato a rete e accesso, il frigorifero impiega circa 2~3 ore per raggiungere la normale temperatura d'esercizio: solo alla si può iniziare a riporvi bevande ed alimenti. Un eventuale odore di materie plastiche, al suo interno,
si dissolverà après il primo periodo d'uso,\ aprender e chiudendo gli sportelli.
Avvertenze relative all'uso
Al fine di prevenire lesioni personali, cortocircuito, rischi di folgorazione o principi di incendio, si raccomanda di leggere con attenzione quello manuale, e di tenerlo a portata di mano per poterlo consultare successivement. Leggere queste istruzioni prima dell'uso e seguire le relative precauzioni per la propria sicurezza.
Accessoriforniti indotazione

Scatola del filtro

Kit di erogazione dell'acqua

Manuale di istruzioni per l'uso
Pannello comandi e display




Dopo 6 mesi alla prima accensione, si accende l'icona: "CAMBIO FILTRO".
Quando si sostuirisce il Filtrò dell'acqua, procedere come di seguito:
- Premere il pulsante " 1
- Premere il pulsante "per 3 secondi. Successivamente l'icona "CAMBIO FILTRO" si spegne.

Dei bambini potrebbero premere dei pulsanti per gioco, alterando le impostazioni ed il funzionamento del frigorifero.
- Premere quello pulsante per impedire esta possibilità e per mantenere fisse le impostazioni di temperatura e funzionamento.
- Premere di nuovo il tasto "Lock" e tenerlo premuto per più di 3 secondi per disattivare il blocco.
Si possono selezionare le funzioni "WATER" (ACQUA), "CRUSHED ICE" (GHIACCIO TRITATO), "CUBED ICE" (GHIACCIO A CUBETTI) e "ICE MAKER LOCK" (BLOCCO DEL DISPENSER).
L'icona relativa alla funzione selezionata si accende.

Per far funzionare l'erogatore, appoggiare il bicchiere in modo da premere la levetta di azionamento. Dopo 1 o 2 secondi verrà erogato ciò che in precedenza si era selezionato.
- Se il bicchiere viene appoggiatoccessivamente in basso, in prossità dell'estremità inferiore della leva, si possono provocare degli schizzi.
- Il rumore che si può percepire circa 2 secondi dopo che sono stati erogati dei cubetti di ghiaccio è provocato alla chiusura di una valvola, ed è del tutto normale.
- Quando si rilascia la levetta di azionamento, attendere ancora 2~3 secondi affinché l'erogazione venga completeness.

Quando si desidera pulire il vano in cui si raccolgono i cubetti di ghiaccio, oppure in previsione di un prolongato periodo di inutilizzato, togliere i cubetti di ghiaccio dal contentatore e premere il pulsante per interrompere la produzione dei cubetti.
! Nota! Se lo sportello del vano frigorifero rimane aperto per più di 10 minuti, la lampada di illuminazione dell'interno si spegne.
- Se gli sportelli del frigorifero o del congelatore rimangono aperti per più di 1 minuto, il frigorifero emette (per 5 minuti, ad intervals di 1 minuto) un segnale acustico di averporto.


Regolazione della temperatura

Quando sicollege a rete il frigorifero per la prima volta, viene automaticamente
selezionato il livello di temperatura medio ("Middle").



SUPER


6




1
SUPER 不


1
Vano congelatore
Per regolare la temperatura nel vano congelatore premere ripeturamente il pulsante come indicate in figura.
- Sequenza di regolazione della temperatura

Congelamento rapido...
Per attivare la funzione di congelamento rapido premere il pulsante SUPER. Per disattivare disattivare esta funzione, premere nuovamente il pulsante.
Vano frigorifero
Per regolare la temperatura nel vano frigorifero premere ripeturamente il pulsante come indicato in figura.
- Sequenza di regolazione della temperatura

Raffreddamento rapido
Per attivare la funzione di raffreddamento rapido premere il pulsante SUPER . Per disattivare esta funzione, premere nuovamente il pulsante.

Attenzione! Se si selezione una temperatura inferiore a 5^ , alcuni cibi o bevande possono ghiacciare.
Come sostituire le lampadine interne

Le lampadine devono essere sostituite da un technique o da personale qualificato.
Sostituzione delle lampadine del freezer

- Togliere le 2 viti del coperchio.

- Sollevare dal basso il coperchio della lampadina e tirarlo in avanti.

-
Sostituire la lampadina.
-
Rimontare il coperchio seguendo le operazioni di smontaggio in ordine inverso.
Sostituzione delle lampadine del frigorifero
Lampade superiore del frigorifero

- Togliere le viti del coperchio.

- Sollevare dal basso il coperchio della lampadina e tirarlo in avanti.

-
Sostituire la lampadina.
-
Rimontare il coperchio seguendo le operazioni di smontaggio in ordine inverso.
Descrizione delle parti interne

Questi disegni hanno unicamente uno scopo esemplificativo. La dotazione e il posizionamento delle parti interne possono variate da modello a modello.

Attenzione!
- Si consiglia di prestare attenzione nel maneggiare contentitori (in particolar modo metallici) estratti dal vano freezer, soprattutto con le mani bagnate. A causa della loro bassissima temperatura potrebbero "incollarsi" alla pelle, specie se bagnata, e procurare lesioni.
- Evitare di conservare nel frigorifero medicinali, campioni di lavoratorio o altre sostenze che potrebbero deteriorarsi in seguito ad un innalzamento della temperatura.
- Frutta e verdura non si prestano alla conservazione nel vano congelatore, dato che una volta scongelate perderebbero la consistenza e le qualità organolettiche originali.

Notal La vaschetta per le uova puo essere riposta sa in una mensola sullo sportello che sulle mensole all'interno del vano.
- Mensole sportello vano congelatore Per conservare cibi congelati. (Non conservare gelati né cibi a lung conservazione).
- Mensola vano congelatore (in vetro temperato) Per conservare alimenti congelati come carne, pesce, gelati...
-
Cassetto per alimenti asciutti Per la conservazione di alimenti surgelati asciutti o essiccati.
-
Cassetto per carne Per la conservazione di carne, pesce o pollame avvolti in foglio di alluminio o pellicola.
- Mensola vano frigorifero (in vetro temperato) Per confezioni di cibi o bevande.
- Cassetto per la verdura
- Cassetto per la frutta Per conservare la frutta ad una temperatura ottimale.
- Mensola chiusa sportello vano frigorifero Per conservare alimenti di consumo quotidiano, come il burro o i formaggi.
- Mensole sportello vano frigorifero Per la conservazione di alimenti in piccole confezioni, oppure bevande in bottiglia o in lattina.
- Mensola per bottiglie di vino (Opzione)
- Zona "Magic Cool" (Opzione)
Vedere pag. 10 - Mensola sportello vano frigorifero (versione Home Bar)
Vi si possono riporre le lattine o le confezioni di bevande di consumo frequente.
| Consigli per la conservazione degli alimenti | ||
| Prima di riporre in frigoriferro la verdura e la frutta, lavarle con la massima cura. | Far attenzione a dove si ripongono frutti tropicali come banane, pompelmi, pomodori, dato che potrebbero disponibile deteriorarsi alle temperature più BASSE. | |
| Si consiglia di suddividere gli alimenti in porzioni singole, che potanno essere scongelate o riscaldate più rapidamente e lavorante. | Distanziare adeguatamente i vari alimenti riposti nel frigoriferro (non stiparli tra di loro). In caso contrario, il flusso d'aria fredda non potrebbe circolare liberamente all'interno del vano e la temperatura non sarebbe omogenea. | |
| Gli alimenti ad elevato contento naturale di umidità devono essere riposti nella parte frontale del vano (vicino al lato sportello).Se li si ripone nella parte posteriore,'accanto al retro del vano o davanti alle fissure di ventilazione, possono ghiacciare lavorante. | Gli alimenti devono sempre essere avolti in pellicola trasparente o riposti in contentitori dotati di coperchio, al fine di impedire che asciughino e che il loro odore si propaghi all'interno del vano. | |
| Prima di essere riposti nel frigoriferro, gli alimenti e le bevande caldi devono essere lasciati raffreddare sino alla temperature ambiente per ridurre i consumi e migliorare le prestazioni di refrigerazione. | ||
Zona "Magic Cool" (Opzione)
Comandi e funzioni della zona "Magic Cool"



VEGETABLE


FISH


MEAT

off

Quando si mette in funzione il frigorigero per la prima volta, si accende la spia "OFF".
Premendo il pulsante "SELECT" si selezione un diverso livello di temperatura, in questa sequenza: "OFF" "VEGETABLE" "FISH" "MEAT".
| Opzione selezionata | Temperatura selezionata e visualizzata nel display |
| OFF | - |
| VEGETABLE | 3° |
| FISH | -1° |
| MEAT | -3° |
I LED e le temperature indicano più che avete selezionato.
- La temperatura visualizzata sta ad indicare il valore di impostazione ideale, cosicché può differire dall'attuale temperatura ambiente.
Uso del dispenser dell'acqua
Selezionare, in base alle proprie esigenze, I'opzione "WATER", "CRUSHED ICE" oppure "CUBED ICE", e appoggiare il bicchiere alla levetta di azionamento PUSH.

Premere il pulsante per selezionare I'acqua, si accende I'icona WATER.

Premere il pulsante per selezionare i cubetti di ghiaccio, si accende l'icona CUBED ICE.

Premere il pulsante per selezionare il ghiaccio tritato, si accende I'icona CRUSHED ICE.

ACQUA

GHIACCIO TRITATO

GHIACCIO IN CUBETTI

Nel caso di cubetti di ghiaccio o ghiaccio tritato, togliere il bicchiere alla base di appoggio quando è pieno a metà (altrimenti il GHIACCIO rimanente potrebbe traboccare dal bicchiere o provocare il blocco dell'erogatore).

Attenzione!
- Evitare di raccogliere i cubetti di ghiaccio o il ghiaccio tritato utilizzato bicchieri in cristallo sottile.
- Evitare di infrilare le dita o di inserire oggetti di qualsiasi tipo nel meccanismo dell'erogatore.
- Qualora i cubetti di ghiaccio non fosso trascarenti non usare più l'erogatore ed interpellare al più presto il Servizio di Assistenza Tecnica.
- Circa 1 ora après che si sono erogati [GHIACCIO IN CUBETTI] o [GHIACCIO TRITATO], viene automaticamente selezionata l'erogazione di [ACQUA].
Come usare il dispositivo automatico di produzione del ghiaccio
- Questo dispositivo produce circa 10 cubetti alla volta (7~8 volte al giorno). Quando il serbatoio è pieno, la produzione si interrompe.
- Di tanto in tanto si potra percepire il rumore dei cubetti di ghiaccio che cadono all'interno del serbatoio. Ciò è del tutto normale e non va attribuito ad un guasto o un difetto del frigorifero.
- Per evitare cattivi odori pulire regolarmente il serbatoio dei cubetti di ghiaccio.
- Se la quantità di ghiaccio nel serbatoio non è sufficiente, il ghiaccio non può essere erogato. Attendere un giorno in modo che venga prodotta una maggior quantità di ghiaccio.
- Se il ghiaccio non viene erogato fácilmente, verificare che la bocchetta d'uscita dell'erogatore non sia ostruita.
In caso di problemi nel funzionamento del dispositivo automatico di produzione del ghiaccio
-
Se i cubetti di ghiaccio si saldano tra di loro e non possono più essere erogati
-
Estrarre il serbatoio e separarli.
-
Il quantitativo di acqua che alimenta il dispositivo automatico di produzione del ghiaccio deve essere regolato, interpellare il Servizio di assistenza Tecnica.
-
In caso di una prolongata interrupzione di corrente
-
I cubetti nel serbatoio possono sciogliersie e l'acqua cui spargersi nel vano del congelatore. Se si preveDE che l'interruzione di corrente possa essere lunga, estrarre il serbatoio, togliere i cubetti di ghiaccio e rimetterlo in posizione.

Notal! Utilizzare unicamente il ghiaccio prodotto dal frigorifero.
Manutenzione e Pulizia

Prima di tutto accertarsi di togliere la spina!

Nell'illustrazione è raffigurato, a scopo esemplificativo, un modello dotato di tutti gli accessori.
Può darsi che il modello in vosto possesso non preveda alcuni di essi.
1 Pulizia mensola chiusa
- Coperchio: Aprirlo leggermente, impugnarlo alle estremita con entrambe le mani e sfilarlo premendo a sinistra.
- Mensola: Impugnlarla alle estremità con entrambé le mani, spingerla verso l'alto e sfilarla.

2 Serbatoio dei cubetti di ghiaccio
Per rimuoverlo sfilario versus l'alto ed in avanti.
- Per ripositionarlo: allinearlo alle scanalature laterali e inserirlo a fondo. Se non si riesce ad inserirlo a fondo, rimuoverlo, ruotare di circa 90^ la bobina di trascinamento sul serbatoio o sul meccanismo di guida e inserirlo nuovamente.
Evitare di conservare troppo a lungo del ghiaccio nel serbatoio.

3 Mensole sugli sportelli
- Impugnarle alle estremità con entrambe le mani, spingerle verso l'alto e sfilare.

4 Mensole in veto
- Aprière completeness gli sportelli, quand sifilare le menonso tirandole con cautela verso l'esterno.

5 Cassetti per frutta e verdura
- Tirarli con cautela versuso l'esterno. Una volta raggiunto il fondocorsa, sollevarli leggermente e sfilarli.

Mensolina di raccolta dell'acqua
- Rimuovere la griglia e asciugare regolarmente l'acqua che si deposita sul fondo. (La mensolina non è dotata di un sistema di drenaggio).
! Nota! Non usare mai altre apparecchiature elettriche assieme all'interno del frigorifero per evitare il pericolò di folgorazioni o principi di incendio.
! Attenzione! Per maggiore sicurezza, prima di rimuovere o riposizionare il serbatoio dei cubetti del ghiaccio, premere il [dispositivo di blocco dell'uscita dei cubetti di ghiaccio] (pulsante ICE MAKER LOCK).
- Prestare la massima attenzione, nelle si pulisce il serbatoio dei cubetti del ghiaccio, in modo da evitare di ferirsi alle mani.
Come pulire il frigorifero
Interno
- Pulire le superfici'utilizzando un panno morbido o una spugnetta inumiditi con acqua e detergente neutr.

Guarnizioni degli sportelli
- Utilizzato un panno morbido o una spugnetta inumiditi con detergente neutro.

Retro del mobile
- Togliere la polvere alla griglia con un aspirapolvere almeno una volta all'anno.

! Attenzione! In nessun caso si dovanno utilizzato, per la pulizia, benzina, benzene, solventi ecc., che potrebbero rovinare irrimidiabilmente le superfici.

In caso di problemi...

Prima di chiamare l'assistenza tecnica, verificare le seguentiindicazioni!
| Problemi riscontriati | Controlli da effettuare | Possibili rimedi |
| Le temperature all'interno dei vari non sono sufficientamente basse. | La spina del frigorifero è staccata?Si è selezionato un livello di temperature [Low mode]?Il frigorifero è esposto alla luce solare diretta, o all'azione di una sorgente di calorie?Il retro del frigorifero è troppo vicino alla parete? | Collegare la spina del cavo di alimentazione ad una presa di corrente.Selezionare la modalità temperatura su Middle oppure su High.Spostare il frigorifero in una posizione più protetta.Aumentare la distanza (deve essere di almeno 10 cm) tra il retro del frigorifero e la parete. |
| Gli alimenti e le bevande conservati nel vano frigorifero ghiacciano. | La temperature è stata impostata su [Strong]?La temperature ambientale è notevolmente Bassa?Gli alimenti o le bevande sono riposti accanto alle bocchette di uscita del flusso d'aria fredda? | Impostare la temperature su [Middle] o su [Low].Spostare il frigorifero in una posizione in cui la temperature ambientale sia superiore a 5°C.Allontanare gli alimenti o le bevande dalla parte posteriore del vano. |
| Il frigorifero emette dei rumori anomali. | Il pavimento su cui è appoggiato il frigorifero è in piano?C'é spazio sufficiente tra il retro del frigorifero e la parete?Il mobile del frigorifero entra in lavoro con degli oggetti circostanti? | Regolare l'altezza dei piedini, in modo che il frigorifero sia in piano.Aumentare la distance tra il mobile del frigorifero e le pareti attigue.Rimuovere gli oggetti in lavoro con il frigorifero. |
| All'interno del frigorifero si avvertono odori sgradevoli. | Sono stati riposti sui ripiani alimenti non coperti o non avvolti con la pellicola?All'interno dei vari o sulle mensole vi sono dei residui di alimenti.Nel frigorifero vi sono alimenti o bevande deteriorati? | Gli alimenti (in particolar modo quelli dall'odore pronunciato) devono essere conservati in recipienti chiusi.Pulire regolarmente l'interno del frigorifero.Se i ripiani si impregnano di odore non è facile rimiardi.Evitare di conservare alimenti o bevande troppo a lungo. |
Qualcosa non va? Qui potrete trovare la soluzione!
| Apparente problema | Spiegazione |
| Calore Alcune parti del frontale e dei lati del mobile sembrano calde. | • Ceriti trattri delle tubazioni del systema di raffreddamento sono piuttosto caldi, e scorrono in prossimità della superficie del mobile in modo da prevenir la formazione di condensa. |
| Difficile aperture degli sportelli L'aperture degli sportelli non è agevole. | • Se si è appena chiuso uno sportello non è facile riaprirlo, a causa della depressione creata dall'aria più calda che è penetrata all'interno del frigorifero. In quello caso attendere un minuto e poi si aprirà facilmente. |
| Rumori anomali Il frigorifero emette dei gorgogli. Il frigorifero emette dei crepitii. Il frigorifero emette dei ronzii. | • Questo rumore più essere prodotto, all'avvio e all'arresto del compressore, dal refrigerante che scorre nel circuito di raffreddamento. • L'acqua di sbrinamento più Produce rumore. (Questo frigorifero adotta lo sbrinamento automatico.) • Questo rumore è dovuto alla dilatazione termica dei materiali seguente alle variazioni di temperatura (causate ad esempio alla prolongata aperture di uno sportello). • Questo rumore più essere prodotto dal compressore o alla ventola, in particolar modo quando ilfrigorifero non è perfettamente a livello. |
| Condensa All'interno dei vari o sulla superficie dei contentitori si forma della condensa. Sui coperchi trasparenti delle lampade si forma della condensa. Sulla superficie esterna del mobile si forma della condensa. | • La formazione di condensa più essere dovuta a: • Elevata temperature o umilità ambientale. • Frequente o prolungata aperture degli sportelli. • Presenza di alimenti ad elevato contento naturale di umilità non coperti e non rivestiti da pellicola. - Questo fenomeno è analogo a quello che provoca l'appannamento di un recipiente nel quale si versa un liquido freddo. • Quando è accesa a lungo, in seguito alla prolungata aperture di uno sportello, la lampadina émette calore e sul suo coperchio (in seguito alla differenza di temperature) si può formare della condensa. • Questo fenomeno più essere attribuito ad una elevata umilità ambientale. |
Istruzioni per l'installazione
Controllare prima di tutto se il frigo-rifero può passareattraverso la porta.

Dimensioni (comprese le maniglie degli sportelli)
(LarghezzaProfondittaAltezza)
903 mm x 721,5 mm x 1.790 mm



Scegliere con cura una posizione idonea
Verificare che dietro al mobile ci sia spazio sufficiente a garantire una corretta ventilazione.

Evitare l'esposizione alla luce solare diretta.


Nota! Dopo che si è scelta la posizione si cui procedere all'instrumentazione, seguito le relative istruzioni.
Se la temperatura ambientale è inferiore a 5^ , gli alimenti e le bevande riposti all'interno del frigorifero sono ghiacciare oppure il frigorifero più funzionare in modo anomalo.


①

②
1 Kit distanziatori

Vite
! Avviso!
"Posizionare i distanziatori acclusi nell'apposto supporto sul retro dell'apparecchiatura ed avvitarli. Ci ogarantisce che ci sa una distanza minima tra l'apparecchiatura e la parete".
Sostituzione dello sportello del vano congelatore
- Prima di tutto insereire il tubo dell'acqua nel foro del cardine inferiore (solo modelli con erogatore). Inserire la parte inferiore dello sportello congelatore nel cardine inferiore.

- Inserire il foro inferiore dello sportello congelatore direttamente sul cardine inferiore.

- Tenere la parte superiore dello sportello vicino al mobile ed inseire il cardine superiore nel foro superiore dello sportello del congelatore. (Prima di tutto inseire la parte posteriore della cerniera nella scanalatura della sporenza, poi la parte anteriore nel foro superiore dello sportello).

- Serrare a fondo il disposativo di fissaggio della cerniera ruotandolo.
Connettere il cablaggio ed avvitare il filo di terra.

- Inserire a fondo il tubo dell'acqua dentro il manicotto.
(Solo modelli con erogatore).

Sostituzione dello sportello frigorifero
- Inserire il foro inferiore dello sportello frigoriferro direttamente sul cardine inferiore.

- Tener fermo lo sportello vicino al mobile ed insereire il cardine superiore nel foro superiore dello sportello congelatore. (Prima di tutto insereire la parte posteriore della cerniera nella scanalatura della sporgenza, poi la parte anteriore nel foro superiore dello sportello).

- Serrare a fondo il disposativo di chiusura della cerniera.
Connettere il cablaggio ed avvitare il filo di massa.
Awitare e far scattare la copertura superiore della cerniera.

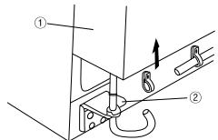
Se il frigorifero non può passareattraverso una porta durante l'installazione, seguire queste istruzioni
Smontare lo sportello del vano congelatore
Smontare prima di tutto il pannellino frontale inferiore, se è attaccato.
- Togliere prima di tutto il pannellino frontale anteriore. Per prima casa estrarre il collare del manicotto di sinistra, poi tener fermo il manicotto ed estrarre il tubicino dell'acqua di sinistra. (Solo per i modelli dotati di dispenser).

- Svitare la vite di fissaggio del coperchietto della cerniera superiore con un cacciavite.

- Allentare, girandola di 3-4 giri in senso antiorario, la vite principale di fissaggio della cerniera superiore.
Scollegare il cablaggio.

- Sfilare versus l'alto la parte anteriore della cerniera per toglierla.
(Dupo che la cerniera è stata rimossa, lo sportello potrebbe cadere. Fare attenzione!)

- Quando si toglie lo sportello fare attenzione a non danneggiare il tubicino dell'acqua.

Smontaggio dello sportello del vano frigorifero

- Svitare con un cacciavite la vite di fissaggio del coperchietto della cerniera superiore. Per togliere il coperchietto, inseire un cacciavite sottile nella sua fessura laterale.
- Allentare, girando di 3-4 giri in senso antiorario, la vite principale di fissaggio della cerniera superiore. Scollegare il cablaggio.

- Sollevare la parte anteriore della cerniera per toglierla. (Dopo aver molto la cerniera, lo sportello potrebbe cadere. Fare attenzione!)

- Sollevare lo sportello versus l'alto per toglierlo.

Collegamento alla linea di alimentazione dell'acqua (Per modelli con dispenser)

Il frigorifero deve essere in piano se si vogliono ottenere delle prestazioni ottimali ed una Buona estetica anteriore. (Se il pavimento除去 il frigorifero non è in piano, gli sportelli del congelatore e del frigorifero appaiano sbilanciati).
In caso lo sportello del congelatore sia più basso di quello del frigorifero...
Inserire un cacciavite (punta piatta) nella scanalatura della rotella sinistra ( parte inferiore del congelatore) e girarla in senso orario finché lo sportello non è bilanziato. (Girare in senso orario per alzare lo sportello congelatore; in senso antiorario per abbassarlo)

In caso lo sportello del frigorifero si più basso di quello del congelatore...
Inserire un cacciavite (punta piatta) nella scanalatura della rotella destra ( parte inferiore del frigorifero) e girarla in senso orario finché lo sportello non è bilanciato. (Girare in senso orario per alzare lo sportello del frigorifero; in senso antiorario per abbassarlo).

Copertura anteriore
Dopo l'installazione e/o dopo averMESSAO livello lo sportello, fissare la copertura anteriore con delle viti. (Per prima casa rimuovere le viti sul pannello anteriore inferiore. Far scattare ed avvitare la copertura).

Attenzione! La parte anteriore del frigoriferro deve essere leggermente più alta della parte posteriore per poter chiudere praticamente lo sportello, ma se la rotella viene sollevata troppo per il bilanciamento dello sportello, cioè la parte anteriore del frigoriferro è troppo alla rispetto a quella posteriori, perché essere dificile apree lo sportello.
Collegamento alla linea di alimentazione dell'acqua (Per modelli con dispenser)
-
Affinché il dispositorio di produzione del ghiaccio possa funzionare correttamente, la pressione dell'acqua deve essere di almeno 2,0~12,5 kgf/cm².
-
Controllare la pressione dell'acqua dal rubinetto, se un bicchiere da 180 cc. viene riempito in non più di 10 secondi, la pressione dell'acqua è sufficiente.
-
Quando si installano i tubi dell'acqua, non devono passare in prossimità di fonti di calorie.
- Il filtrò dell'acqua non è in grado di trattenere batteri o germi.
- Se la pressione dell'acqua è insufficiente per far funzionare il dispositivo di produzione del ghiaccio, chiamare un idraulico per far installare una pompa dell'acqua addizionale.
-
La durata del filtro dipende dall'utilizzo del frigorifero. Si consiglia di sostituirlo all'incirca agli 6 mesi.
-
Quando si monta il filtro, scegliere una posizione che ne consenta un agevole accesso.
-
Al termine dell'installazione del frigorifero e del condotto dell'acqua, selezionare l'opzione [WATER] sul pannello di controllo e tenerla premuta per 2~3 minuti, in modo da riempire il serbatoio ed erogare l'acqua.
Procedura di INSTALLazione (Per modelli con dispenser)
- Collegare il connettore alla linea di alimentazione dell'acqua.


Figure A
Figure B
- Sigillare accuramente le giunzioni dei tubi dell'acqua con del nastro ed accertarsi che non ci siano perdite.
- Il tubo di carico deve essere collegato ad un rubinetto dell'acqua fredda.
Kit di erogazione dell'acqua
Per l'installazione della linea di alimentazione dell'acqua, controllare le parti sottostanti. Qualora fosso necessari altri componenti, quosti potranno essere forniti dal Servizio di Assistenza Tecnica.

Connette (3014454520)

Sostegno (3012020700)

Dispositivo di fissaggio (3011202000)

Scatola filtro (3019974100)

Tubo acqua A/B
(A:3019503200
B:3019503300)
! Inserire la guarnizione di gomma all'interno del connettore del rubinetto ed avvitarlo sul rubinetto dell'acqua.
-
Prepararazione per installare il filtrolo dell'acqua.
-
Misurare la distanza approssimativa tra il filtro ed il tubo dell'acqua, e tagliare verticalmente quest's ultimo.
- Collegare i tubi al filtro come illustrato nella figura.
! Quando si tagliano i tubi, lasciare una distanza sufficiente.

Lato rubinetto
-
Rimuovere qualsiasi sostanza dal filtr
-
Aprire la valvola principale del rubinetto dell'acqua e controllare che l'acqua fuoriesca dal tubo.
Se l'acqua non dovesse fuoriuscire, controllare che la valvola sua aperta. -
Lasciare la valvola aperta sino a quando l'acqua che fuoriesce è Completely limpida.
-
Il primo quantitativo d'acqua che fuoriesce più contenere eventuali impurità o residui di lavorazione del filtrò (processo di fabbricazione).

-
Montare la scatola del filtrò
-
Avvitare e serrare il supporto del filtro sul lato destro o sinistro del retro del frigorifero.
-
Se non si riesce ad avvitare saldamente il supporto, rimuovere il rivestimento posteriori di carta del nastro e fissare il supporto in una posizione idonea.
-
Montare la scatola nelle sul supporto.

- Collegare il tubo dell'accua al frigorifero
Rimuovere il coperchio che si trovava nella parte Bassa del retro del frigorifero.
- Inserire l'anello di fissaggio sul tubo, facendo attenzione a seguire la direzione del dato.
- Collegare il tubo alla parte alta della valvola dell'accua e avvitare il dato ruotandolo in senso orario. (La valvola dell'accua si trovata sulla parte destra dei motori).
- Controllare che i tubi non presentino strozzature e che non si verificchino eventuali perdite. Se ci fosso, ricontrollare la procedura di installmente.
- Rimontare il coperchio sul retro del frigorifero (il tubo dell'accu deve essere
posizionato tra la scanalatura sul retro del frigorifero e il coperchio del motore).

Disporre il tubo verso l'alto, come indicato nella figura.

-
Fissare il tubo dell'acqua
-
Fissare il tubo dell'acqua per mezzo della [fascetta A].
- Controllare che il tubo non sia piegato o schiacciato. In tal caso, posizionarlo in modo da evitare la sua ostruzione o eventuali perdite d'accua.

-
Al terme dell'installazione
-
Collegare il frigorifero alla presa di corrente e tenere premuto per 2~3 minuti il pulsante [WATER] sul pannello di controlloper pulire il condotto d'uscita del dispenser ed evacuire le eventuali bolle d'aria.
- Controllare che non si verificchino perdite d'acqua per tutto il percorso di fornitura dell'acqua (tubi rigidi, raccordi e tubi flessibili).
Ridisporre i tubi ed evitare di muovere il frigorifero.

Spistresci
Le lampadine utilizes in quello dispositivo sono lampade speciali selezionate per essere usate unicamente per elettrodomestici!
Non possono essere utilizzate per l'illuminazione completa o parziale di stanze della propria abitazione!
Nel caso in cui sia necessario provvedere alla sostituzione di una delle lampadine, utilizzarne una della stessa potenza e studiata appositamente per essere usata all'interno di elettrodomestici.
ManualeFacile