ENN2801EOW - Frigorifero combinato AEG-ELECTROLUX - Manuale utente e istruzioni gratuiti
Trova gratuitamente il manuale del dispositivo ENN2801EOW AEG-ELECTROLUX in formato PDF.
Domande degli utenti su ENN2801EOW AEG-ELECTROLUX
0 domanda su questo apparecchio. Rispondi a quelle che conosci o fai la tua.
Fai una nuova domanda su questo apparecchio
Scarica le istruzioni per il tuo Frigorifero combinato in formato PDF gratuitamente! Trova il tuo manuale ENN2801EOW - AEG-ELECTROLUX e riprendi in mano il tuo dispositivo elettronico. In questa pagina sono pubblicati tutti i documenti necessari per l'utilizzo del tuo dispositivo. ENN2801EOW del marchio AEG-ELECTROLUX.
MANUALE UTENTE ENN2801EOW AEG-ELECTROLUX
Grazie per aver acquistato un'apparecchiatura Electrolux. Avete scelto un prodotto che ha alle spalle decenni di esperienza professionale e innovazione. Ingegnoso ed elegante, è stato progettato pensando a voi. Quindi, in qualsiaso momento desiderate utilizzato, potete esser certi di ottenere sempre i migliorori risultati.
Benvenuti in Electrolux.
Visitate il nostro site web per:

ricevere consigli, scaricare i nostri opuscoli, eliminare eventuali anomalie, ottenere informazioni sull'assistenza.
www.electrolux.com

Registrarilevastro prodottoereceiveunservizioagliore:
acquistare accessori, materiali di consumo e ricambi originali per la vostra apparecchiatura:
www.electrolux.com/shop
SERVIZIO CLIENTI E MANUTENZIONE
Consiglio sempre l'impiego di ricambi originali.
Quando si contatta l'Assistenza, accertarsi di disporre dei seguenti dati.
Le informazioni si trovano sulla targhetta di identificazione. Modello, numero dell'apparecchio
(PNC), numero di serie.

Awertenza / Attenzione - Importanti Informazioni di Sicurezza

Informazioni e consigli generali

Informazioni in materia di sicurezza ambientale
Con riserva di modifiche.
1. ISTRUZIONI DI SICUREZZA
Per garantire un impiego corretto e sicuro dell'apparecchio, prima dell'installazione e del primo utilizzato leggere con attenzione il librettto struzioni, inclusi i suggerimenti e le avventenze. Per evitare errors e incidenti, è importante garantire che tutte le persone che utilizzano l'apparecchio ne conoscano il funzionamento e le caratteristiche di sicurezza. Conservare queste istruzioni e accertarsi che rimangano unite all'apparecchio in caso di vendita o trasloco, in modo che chiunque lo utilizzi sa correttamente informato sull'uso e sulle norme di sicurezza.
Per la sicurezza delle persone e delle cose osservare le precauzioni indicate nelle presenti istruzioni per l'utente, il produtto non è responsabile dei danni provocati da eventuali omissioni.
1.1 Sicurezza dei bambini e delle persone fragili
- Questo apparecchio non deve essere usato da persona, bambini inclusi, con ridotte energia fisiche, sensoriali o psichiche, oppure privile di conoscenza e esperienza, a meno che non siano state astruite all'uso dell'apparecchio da parte dei responsabili della loro sicurezza, oppure sotto vigilanza di questi.
I bambini devono essere sorvegliati per assicurarsi che non giochino con l'apparecchio.
- Tenere i materiali di imballaggio al di fuori della portata dei bambini. Alcuni materiali sono creare rischi di soffocamento.
- Qualora l'apparecchio venga demolito, estrarre la spina alla presa, tagliare il cavo di collegamento (il più vicino possibile all'apparecchio) e smontare lo sportello per evitare che i bambini gio-cando possano subire scosse elettriche o chiudersi dentro l'apparecchio.
- Se questo nuovo apparecchio, che è dotato di guarnizioni magnetiche dello sportello, va a sostituirne uno più vecchio avente sportello o coperchio con chiusure a molla, si deve renderere inutilizzabili tali chiusure prima di eliminare l'apprecchio sostituito, per evitare che
diventi una trappola mortale per i bambini.
1.2 Norme di sicurezza generali

AVVERTENZA!
Verificare che le aperture di ventilazione, sua sull'apparecchiatura che nella struttura da incasso, siano libero da ostruzioni.
L'apparecchiatura è progettata per la conservazione domestica di alimenti e/ o bevande e usi affini:
- cucine di negozi, uffici e altri ambienti di lavoro;
- fattorie e clienti di hotel, motel e altri ambienti residenziali;
- bed and breakfast;
- catering e usi simili non di vendita.
Non utilizzare dispositivi meccanici o altri mezzi artificiali per accelerare lo sbrìnamento.
Non utilizzato altre apparecchiature elettriche (per esempio gelatiere) all'in-terno del frigorifero, salvo quella approvate per tale scopo dal produttore.
Non danneggiare il circuito refrigerante.
- Il circuito refrigerante dell'apparecchia-tura contiene isobutano (R600a), un gas naturale con un elevato livello di compatibilità ambientale che, tuttavia, è inflammabile.
Durante il trasporto e l'installazione dell'apparecchiatura, assicurarsi che nessuno dei componenti del circuito refrigerante venga danneggiato.
In caso di danneggiamento del circuito refrigerante:
- evitare fiamme libere e scintille
-
aerare bene il locale in cui si trovava l'apparecchiatura
-
É pericoloso cancellare le specifiche o modificare il prodotto in qualunque modo. Un danneggiamento del cavo pottrebbe provocare cortocircuiti, incendi e/o scosse elettriche.
!
AVVERTENZA!
Tutti i componenti elettrici (cavo di alimentazione, spina, compressore) devono essere sostituita da un tecnico certificato o da personale d'assistenza qualificato al fine di evitare di correre rischi.
- Non collegare prolonghe al cavo di alimentazione.
- Evitare che il lato posteriori dell'apparecchiatura possa schiacciare o danneggiare la spina, causandone il surriscaldamento con un seguente rischio di incendio.
- La spina dell'apparecchiatura deve trovarsi in una posizione accessibi-le.
- Evitare di tirare il cavo di alimentazione.
- Se la presa elettrica non è perfettamente stabile, non insere la spina. Il collegamento potrebbe provocare scosse elettriche o create un rischio di incendio.
-
L'apparecchiatura non deve essere messa in funzione perché il coprilampada interno (se previsto).
-
Questa apparecchiatura è pesante. Procedere con cautela durante gli spostamenti.
- Evitare di estrarre o di toccare gli alimenti riposti nel vano congelatore con le mani bagnate o umide; il contatto pottrebbe provocare abrasioni o uszioni da freddo.
- Evitare un'esposizione prolongata dell'apparecchiatura alla luce solare diretta.
- Le lampadine utilizzato in questa apparecchiatura (se previste) sono lampadine speciali selezionate esclusivamente per elettrodomestici. Non sono adatte per l'illuminazione degli ambienti.
1.3 Uso quotidiano
Non collocare pentole calde sulle parti in plastica dell'apparecchio.
Non collocare gas e liquidi inflammabili nell'apparecchio, perché potrebbero esplodere.
- Evitare di appoggiare gli alimenti contro la presa d'aria situata nella parete po
steriore (per le apparecchiature di tipo no-frost)
Gli alimenti congelati non devono essere ricongelati una volta scongelati.
- Riporre gli alimenti surgelati preconfezionati secondo le istruzioni del produttore dell'alimento surgelato.
- Osservare rigorosamente i consiglio per la conservazione degli alimenti del produttore dell'apparecchio. Vedere le relative istruzioni.
Non collocare bevande gassate o friz-zanti nella scomparto congelatore perché creano pressione sul recipiente che cui esplodere danneggiando l'appa-recchio.
I ghiaccioli possono provocare bruciataure da gelo se consumati immediamente dopo averli tolti dall'apparecchio.
1.4 Pulizia e cura
- Prima della manutenzione, spegnere l'apparecchio e staccare la spina alla presa.
Non pulire l'apparecchio con oggetti metallici. - Non usare oggetti appuntiti per rimuovere la brina dall'apparecchio. Usare un raschietto di plastica.
- Esaminare regolarmente il foro di scarico dell'acqua di sbrinamento nel frigori-fero. Se necessario, pulirlo. Se il foro è otturato, l'acqua si raccoglie sul fondo dell'apparecchio.
1.5 Installazione
!
Per il collegamento elettrico, seguire attendamente le istruzioni dei paragrafi correspondenti.
- Disimballare l'apparecchio e assicurarsi che non presenti danni. Non collegare l'apparecchio se è danneggiato. Segnalare immediamente gli eventuali danni al negozio in cui è stato acquistato. In quello caso conservare l'imbal-laggio.
- Si consiglia di attendere almeno due ore prima di collegare l'apparecchio per consentire all'olio di arrivare nel compressore.
- Attorno all'apparecchio vi deve essere un'adeguata circolazione dell'aria, altri
menti si può surriscaldare. Per ottenere una ventilazione sufficiente seguire le istruzioni di installmente.
- Se possibile il retro dell'apparecchio dovrebbe essere posizionato contro una parete per evitare di toccare le parti calde o di rimanervi impigliati (compressore, condensatore), evitando così possibili scottature.
- L'apparecchio non deve essere più vicino a radiatori o piani di cottura a gas.
- Installare l'apparecchio in modo che la presa rimanga accessible.
- Collegare solo a sorgenti d'acqua potabile (se è previsto un collegamento alla rete idrica).
1.6 Assistenza tecnica
Gli interventi elettrici sull'appareciatura devono essere eseguiti escludamente da elettriciisti qualificati o da personale competente.
Gli interventi di assistenza devono essere eseguiti escludivamente da tecnici
Autorizzati eutilizzando solo ricambi originali.
1.7 Tutela ambientale

Questo appearecchio non contiene gas che potrebbero danneggiare lo strato di ozono nel circuito refrigerante o nei materiali isolanti. L'apparecchio non deve essere smaltito assieme ai rifiuti urbani e alla spazzatura. La schiuma dell'i-solamento contiene gas infiammabili: lo smaltimento dell'apparecchio va eseguito secondo le prescrizioni vigenti da richiedere alle autorità locali. Evitare di danneggiare il gruppo refrigerante, specialmente nella parte posteriore vicino allo scambiatore di calorie. I materiali usati su quello appearecchio contrassegnati dal symbolo sono riciclabili.
2. USO DELL'APPARECCHIO

1 Indicatore LEDdella temperatura
2 SpiaFast Freeze
3 TastoFast Freeze
4 Regolatore di temperatura Tasto ON/OFF
2.1 Accensione
Inserire la spina nella presa a muro.
Premere il tasto regolatore della temperatura se tutti LED sono spenti.
2.2 Spegnimento
Continuare a premere il tasto regolatore della temperatura per 3 sec.
Tutte le spie si spengono.
2.3 Regolazione della temperatura
PerMETTEREINfunzioneI'apparecchiatura, procederecome segue:
- Premere il tasto regolatore della tempe ratura fino a quando non si accende il LED corrispondente alla temperatura desiderata. La selezione è progressiva, variando da 2^ a 8^ .
Alla prima pressione del tasting, l'impostazione attuale LED continua a lampegliare.
Ad ogni pressione del tasto, la temperatura impostata si muove di 1 posizione sulla destra. Il LED corrispondente lampeggerà per un breve intervallo.
Premere il tasto di impostazione diverse volte fino a che non viene selezionata la temperature richiesta. L'impostazione viene fissata

Impostazione più fredda: +2^ Impostazione più calda: +8^ In condizioni normali, si consiglia di utilizzato una regolazione media.
Tuttavia, è importante ricordare che la temperature all'interno dell'apparecchiatura dipende dai seguenti fattori:
- Temperatura ambiente
- Frequenza di aperture della porta
- quantità di alimenti conservati
- posizione di installmente dell'apparecchiatura.
2.4 FunzioneFast Freeze
La funzione Fast Freeze più essere attivata premendo il tasto Fast Freeze. Il LED corrispondente al symbolo della spia Fast Freeze si accende.
La funzione Fast Freeze più essere disattivata premendo nuovamente il tasto Fast Freeze.
La spia Fast Freeze si spegne.

Questa funzione si interrompe in modo automatico dopo 52 ore.
3. UTILIZZO QUOTIDIANO
3.1 Preparazione al primo utilizzato
Prima di utilizzato l'apparecchio per la prima volta, lavare l'interno e gli accessori con acqua tiepida e sapone neutro per eliminare il tipico odore dei prodotti nuovi, quando asciugare accuramente.

Non usare detergenti corrosivi o pulveri abrasive che possano danneggiare la finitura.
3.2 Congelamento di alimenti freschi
Il vano congelatore è adatto al congelamento di cibi freschi e alla conservazione a lungo termine di alimenti congelati e sur-gelati.
Per congelare alimenti freschi, attivare la funzione Fast Freeze almeno 24 ore prima di introdurli nel vano congelatore.
Riporre i cibi freschi da congelare dello scomparto superiore.
La quantità massima di alimenti congelabili in 24 ore è riportata sulla targhetta dei dati, un'etichetta presente sulle pareti interne dell'apparecchiatura.
Ilprocessodicongelamento dura24ore: nonaggiungerealterior alimenti da congelare per tutta la durata delprocesso.
3.3 Conservazione dei surgelati
Al primo avvio o dato un periodo di non utilizzato, lasciare in funzione l'apparecchia-tura per almeno 2 ore con una regolazione alla prima di introdurre gli alimenti.
Per conservare grande quantità di cibo, togliendo dall'apparecchio tutti i cassetti e i cestelli e sistematico il cibo sui ripiani di
raffreddamento, si ottengono risultati migliorieri.

AVVERTENZA!
Accertarsi che il cibo non superi il limite di carico riportato a lato della sezione superiore (quando ap-
plicabile)


In caso di sbrinamento accidentale, per esempio a causa di un'interruzione dell'alimentazione elettrica, se l'alimentazione manca per un periodo superiore al valore indicato nella tabella dei dati technique sultempo di risalita", il cibo scongelato deve essere consumato inappropriamente o cucinato immediastamente e quindi ricongelato (dopo il raffreddamento).
frigorifero o a temperatura ambiente, in funzione del tempo disponibile per esta operazione.
I pezzi piccoli possono addirittura essere cucinati ancora congelati, direttamente dal congelatore: in quello caso la cottura durera più a lungo.
3.5 Produzione di cubetti di ghiaccio
Questo appearecchio è equipaggiato con una o più vaschette per la produzione di cubetti di ghiaccio. Riempire d'acqua le vaschette quando insertirle nel vano congelatore.

Non usare strumenti metallici per rimuovere le vaschette dal conge-latore.
3.4 Scongelamento
Prima dell'utilizzo, i cibi surgelati o conge-lati possono essere scongelati nel vano
3.6 Ripiani rimovibili

Le guide presenti sulle pareti del frigorifero permettono di posizionare i ripiani a diverse altezze.
3.7 Posizionamento dei ripiani della porta

Per facilitare l'introduzione di alimenti di diverse dimensioni, i ripiani della porta possono essere posizionati ad altezze differenti.
Per regolare l'altezza, procedere come segue: tirare delicatamente il ripiano nella direzione individata delle frece fino a sganciarlo, quando riposizcionarlo dove necessario.
3.8 Controllo dell'umidità

Il ripiano di vetro incorpora un dispositivo a fessure, regolabili per mezzo di una leva scorrevole, che consente di regolare l'umidità del cassetto o dei cassetti delle verdure.
Quando le fessure di ventilazione sono chiuse:
l'umidità naturale del cibo conservato negli scomparti della frutta e della verdura viene preservata più a lungo.
Quando le fessure di ventilazione sono aperte:
la maggiore circolazione di aria riduce l'umidità presente negli scomparti della frutta e della verdura.
4. CONSIGLI E SUGGERIMENTI UTILI
4.1 Consigli per il risparmio energetico
Non aprire frequentlymente la porta e non lasciarla aperta più di quello asso- lutamente necessario.
- Se la temperatura ambiente è elevata, il termostato è impostato su una regolazione alta e l'apparecchio è a pieno carico, il compressore più funzioniare in continuo causando la formazione di brina o ghiaccio sull'evaporatore. In quello caso, ruotare il termostato su una regolazione più bassa per consentire lo scongelamento automatico risparmiando così energia.
4.2 Consigli per la refrigerazione di cibi freschi
Per ottenere i migliori risultati:
- non riporre nel frigorifero cibi caldi o li-quidi in fase di evaporazione
- coprige o avolgere il cibo, in particolare se emana un odore forte
- posizionare il cibo in modo che l'aria possa circolare liberamente attorno adesso
4.3 Consigli per la refrigerazione
Consigli utili:
Carne (tutti i tipi): avvolgerla in sacchetti di politene e collocarla sul ripiano di vetro sopra il cassetto delle verdure.
Per motivi di sicurezza, conservarla in queste condizioni solo per uno o due giornai al massimo.
Cibi cucinati, piatti freddi ecc... dovrebbero essere coperti e possono essere collocati su qualsiasi ripiano.
Frutta e verdura: dovrebbero essere pulite accuramente e collocate nell'apposto/i cassetto/i speciale/i.
Burro e formaggio: dovrebbero essere posti in contentori ermetici speciali o avvolti in pellicole di alluminio o sacchetti di politene per escludere per quanto possibi le l'aria.
Bottiglie di latte: dovrebbero essere tappate e conservate nell'apposto ripiano sulla porta.
Non conservare nel frigorifero banane, pa-tate, cipolle o aglio se non sono confezionati.
4.4 Consigli per il congelamento
Per unprocesso dicongelamento ottimale,eco alcuni consigli importanti:
- la quantità massima di cibo che può essere congelata in 24 h è riportata sulla targhetto;
- il processo di congelamento dura 24 ore. In quello periodo nonaggiungere altri cibo da congelare;
- congelare solo alimenti freschi, di ottima qualità e accuratamente puliti;
- preparare il cibo in piccole porzioni per consentire un congelamento rapido e completinge e per scongalore in seguito solo la quantità necessaria;
- avolgere il cibo in pellicole di alluminio o in politene e verificare che i pacchetti siano ermetici;
non lasciare che cibo fresco non congelato entri in contatto con quello giagcongelato, per evitare un aumento della temperature in quest'ultimo; - i cibi magri si conservano meglio e più a lungo di quelli grassi; il sale riduce il periodo di conservazione del cibo;
-
i ghiaccioli, se consumati immediamente dopo la rimozione dal vano congelatore, possono causare usioni da congelamento della pelle;
-
si consiglia di riportare la data di conge-lamento su agli singolo pacchetto per riuscire a tenere traccia del tempo di conservazione;
4.5 Consigli per la conservazione dei surgelati
Per ottenerisultatottimali
- Controllare che i surgelati esposti nei punti vendita non presentino segni di interruzione della catena del freddo
- Il tempo di trasferimento dei surgelati dal punto vendita al congelatore domestico deve essere il più breve possibile;
- Non apriré frequentlymente la porta e limiterare il più possibile i tempi di aperture;
- Una volta scongelati, gli alimenti si deterrorano rapidamente e non sono essere ricongelati;
Non superare la durata di conservazione indicata sulla confezione.
5. PULIZIA E CURA

ATTENZIONE
Staccare la spina dell'apparecchio prima di esquire lavori di manutenzione.

Questo appearecchio contiene idrocarburi nell'unità di raffreddamento; la manutenzione e la ricarica devono pertanto essere effettuate esclusivamente da tecnici autorizzati.
5.1 Pulizia periodica
L'apparecchio deve essere pulito regolarmente:
- Pulire l'interno e gli accessori con acqua tiepida e un po' di sapone neutro.
- Controllare regolarmente le guarnizioni della porta e verificare che siano pulite e privile di residui.
- Risciacquare e asciugare accuramente.

Non tirare, spostare o danneggiare tubi e/o cavi all'interno dell'apparecchio.
Non usare mai detergenti, polveri abrasive, prodotti per la pulizia con una forte profumazione o cere lucidanti per pulire l'interno, in quanto danneggiano la superficie e lasciano un odore forte.
Pulire il condensatore (griglia nera) e il compressore sul retro dell'apparecchio con una spazzola. Questa operazione migliorerà le prestazioni dell'apparecchiatura riducendone i consumi di energia.

Non danneggiare il systema di raffreddamento.
Molti detergenti per cucine di marca contengono sostanze chimiche in grado di attaccare/danneggiare la plastica impiegata in quello appearecchio. Per questo motivo si raccomanda di pulire l'involucro esterno
dell'apparecchio solo con acqua calda con un po'di liquido detergente.
Dopo la pulizia, ricollegare l'apparecchio alla rete di alimentazione.
5.2 Sbrinamento del vano frigorifero

Durante l'uso normale, la brina viene eliminata automaticamente dall'evaporatore del vano frigorifero ogni volta che il motocompressore si arresta. L'acqua di sbrinamento giungeattraverso un foro di scarico in un apposto recipienthe postosul retro dell'apparecchiatura, sopra il motocompressore, dove evapora
Eimportante pulire periodicamente il foro di scarico dell'acqua di sbrinamento, situato al centro del canale sulla parete posteriorie, per evitare che l'acqua fuoriesca sugli alimenti.
5.3 Sbrinamento del congelatore
Ènormale che sui ripiani del congelatore e intorno allo scomparto superiore si formi, col tempo, uno strato di brina.
Quando tale strato raggiunge uno spessore di circa 3 - 5 mm, è necessario procedere allo sbrinamento del vano conge-latore.

Circa 12 ore prima dello sbrinamento, impostare il termostato su una regolazione più alta per accumulare una riserva di freddo sufficiente per l'interruzione del funzionamento
Per rimuovere la brina, procedere come segue:
- Spagnere l'apparecchiatura.
- Rimuovere i surgelati, avvolgerli in alcuni strati di carta di giornale e riporli in un luogo fresco.

ATTENZIONE
Non toccare il cibo congelato con le mani bagnate. Le mani potrebbero aderire all'alimento congelato.
- Lasciare la porta aperta.

Per accelerare il processo di sbrinamento, collocare un recipiente di acqua calda nel vano congelatore. Rimuovere inoltre i pezzi di ghiaccio che si staccano prima che lo sbrinamento sia completo.
- Una volta completato lo sbrinamento, asciugare accuramente l'interno.
- Accendere l'apparecchiatura.
- Dopo due o tre ore, reintroduire nel vano il cibo precedente rimoso

Per rimuovere la brina dal rivestimento interno, non usare utensili metallici appuntiti che possano danneggiarlo.
Non usare dispositivi meccanici o altri mezzi artificiali non raccomandati dal produttore allo scopo di accelerare il processo di sbrinamento.
Un aumento della temperatura dei surgelati durante lo sbrinamentocould ridurre la loro durata di conservazione.
5.4 Periodi di inutilizzato
Quando l'apparecchio non è utilizzato per lunghi periodi, adottare le seguenti precauzioni:
- scollegare l'apparecchio alla rete elettrica
- rimuovere tutto il cibo
sbrinare (se necessario) e pulire l'apparecchiatura e tutti gli accessori - lasciare la/e porta/e socchiusa/e per evitare odori sgradevoli.
Se l'apparecchio rimane acceso, chiedere a qualcuno di controllare agli tanto per evitare che il cibo contento marcisca in caso di interruzione dell'alimentazione elettrica.
6. COSA FARE SE...

ATTENZIONE
Prima di procedere con la ricerca guasti, estrarre la spina alla presa.
Le operazioni di ricerca guasti, non descritte nel presente manuale, devono essere eseguite esclusivamente da elettriciisti qualificati o da personale competente.

Durante I'uso alcuni rumori di funzionamento (como quelli del compressore o del circuito refrigerante) sono da considerarsi normali.
| Problema | Causa possibile | Soluzione |
| L'apparecchiatura è rumorosa. | L'apparecchiatura non è stata installata corretta-mente. | Controllare che l'apparecchiatura sia appoggiata in modo stabile (tutti i piedini devono essere a contatto con il pavimento). |
| L'apparecchiatura non funziona. | La spina non è inserita correttamente nella presa di corrente. | Inserire correttamente la spina nella presa di corrente. |
| L'apparecchiatura è spenta. | Accendere l'apparecchiatura. | |
| L'apparecchiatura non ri-ceve corrente. Assenza di tensione nella presa di ali-mentazione. | Collegare alla presa di ali-mentatione un'altra apparecchiatura elettrica. Rivolgersi ad un elettricista qualificato. | |
| Il dispositivo luminoso non funziona. | Il dispositivo luminoso è in modalità stand-by. | Chiudere e riapire la porta. |
| L'unità è difettosa. | Fare riferimento alla sezione "Sostituzione dell'unità di comando". | |
| Il compressore ri-mane sempre in fun-zione. | La temperature non è im-postata correttamente. | Impostare una temperature superiore. |
| La porta non è chiusa cor-rettamente. | Consultare la sezione "Chiusura della porta". | |
| La porta viene aperta trop-po frequentlymente. | Limitare il più possibile il tempo di aperture della porta. | |
| La temperature degli ali-menti è troppo alta. | Prima di introdurre gli ali-menti, lasciarli raffreddare a temperature ambiente. | |
| La temperature ambiente è troppo alta | Abbassare la temperature ambiente. | |
| Problema | Causa possibile | Soluizione |
| Scorre acqua sul pannello posteriore del frigorifero. | Durante lo sbrinamento automatico, la brina che si forma sul pannello poste- riore si scioglie. | Non si tratta di un'anomalia. |
| All'interno del frigo- riferero scorre acqua. | Lo scarico dell'acqua è ostruito. | Pulire lo scarico dell'acqua. |
| Gli alimenti impediscono all'acqua di fluire nell'ap- posito collettore. | Evitare di disporre gli ali- menti a diretto contatto con il pannello posteriore. | |
| La temperatura al- l'interno dell'appa- recchiatura è troppo bassa/alta. | Il regolatore della tempera- tura non è impostato cor- rettamente. | Impostare una temperatura superiore/inferiore. |
Se le soluzioni indicate nella tabella precedente non consentono di risolverire il problema, rivolgersi al Centro di Assistenza più vicino.
6.1 Sostituzione dell'unità di comando
L'apparecchiatura è dotata di una lampadina interna a LED a lunga durata. Solo al servizio assistenza è permesso sostituire l'unità di lavoro. Contattare il Centro di assistenza locale.
6.2 Chiusura della porta
- Pulire le guarnizioni della porta.
- Se necessario, regolare la porta. Vedere "Installazione".
- Se necessario, sostituire le guarnizioni della porta difettose. Contattare il Centro di assistenza locale.
7. INSTALLAZIONE

AVVERTENZAI!
Leggere conattenzione le "Informazioni per la sicurezza" per la vostra sicurezza e per il corretto funzionamento dell'apparecchio prima di procedere all'installazione.
7.1 Posizionamento
Installare questo appearecchio in un punto in cui la temperature ambiente corrisponda alla classe climaticaindicata sulla sua targhetto:
| Classe climata | Temperatura ambiente |
| SN | da + 10°C a + 32°C |
| N | da + 16°C a + 32°C |
| ST | da + 16°C a + 38°C |
| T | da + 16°C a + 43°C |
7.2 Collegamento elettrico
Prima di inseire la spina, verificare che la tensione e la frequenza riportate sulla targhetta corrispondano ai valori della rete elettrica domestica.
L'apparecchio deve essere collegato a massa. La spina del cavo di alimentazione è dotata di un contatto a tale scopo. Se la
presa della rete elettrica domestica non è collegata a massa, collegare l'apparecchio ad una massa separata in conformità alle norme relative alla corrente, consul- tando un elettricista qualificato.
Il fabbricante declina qualsiasi responsabilità se le precauzioni suddette non sono rispectate.
Il presente apparecchio è conforme alle dirattive CEE.
7.3 Possibilità di invertire la porta



la porta dell'apparecchiatura si保税e destra. Per aprire la porta verso sinistra, prima di installare l'apparecchiatura eseguire queste operazioni:
-
Allentare e rimuovere il perno superiore.
Rimuovere la porta superiore.
Rimuovere il distanziale. -
Allentare la cerniera centrale.
Rimuovere la porta inferiore. -
Allentare e rimuovere il perno inferiore.
Sul lato opposto: -
Serrare il perno inferiore.
- Installare la porta inferiore.
- Serrare la cerniera centrale.
Installare il distanziatore.
Installare la porta superiore. - Serrare il perno superiore.
7.4 Requisiti di ventilazione

Il flusso d'aria diaetro l'apparecchiatura de- ve essere sufficiente.
7.5 Installazione dell'apparecchiatura
Seguire i seguenti passaggi:

ATTENZIONE
Accertarsi che il cavo di rete sia libero da ostacoli.

Se necessario, tagliare la striscia sigillante adesiva e applicarla come illustrato in figura.



Installare l'apparecchiatura nella nicchia. Spingere l'apparecchiatura in direzione della freccia (1) finché la mascherina superiore si arresta contro il mobile da cucina.
Spingere l'apparecchiatura in direzione della freccia (2) contro il mobile sul lato opposto rispetto alla cerniera.
Posizionare correttamente l'apparecchiatura nella nicchia.
Assicurarsi che la distance tra l'apparecchiatura ed il bordo anteriore dell'armadio sia di 44 mm.
Il copricerniera inferiore (incluso nel sacchetto degli accessori) permette di controllare che la distanza fra l'apparecchia-tura ed il mobile della cucina sua corretta.
Accertarsi che lo spazio fra l'apparecchiatura e il mobile sia di 4 mm.
Apriere la porta. Applicare il copricerniera inferiore.
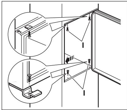
Fissare l'apparecchiatura nella nicchia con 4 viti.

Rimuovere la parte appropriata del copricerniera (E). Accertarsi di rimuovere la parte DESTRA per la cerniera di destra, o la parte SINISTRA per quella di sinistra.

Applicare i cappucci (C, D) a coprigiuntie fori delle cerniere.
Installare la griglia di sfiato (B).
Applicare i copricerniera (E).

Collegare l'apparecchiatura lateralmente alla parete laterale del mobile da cucina:
- Allentare le viti della parte (G) e spostare la parte (G) sino alla parete laterale del mobile.
- Serrare nuovamente le viti della parte (G).
- Fissare la parte (H) alla parte (G).

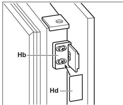
Staccareleparti(Ha),(Hb),(Hc)e(Hd).

Installare la parte (Ha) sul lato interno della porta del mobile.

Spingere la parte (Hc) sulla parte (Ha).

Aprire la porta dell'apparecchiatura e l'anta del mobile da cucina con un'angolazione di 90^
Inserire il quadratino (Hb) nella guida (Ha).
Unire la porta dell'apparecchiatura alla porta del mobile e marcare i fori.

Togliere le staffe e segnare la posizione in cui delve essere inserto il chiodo (K) ad una distanza di 8 mm dal bordo esterno della porta.

Riappicare il quadratino sulla guida e fissarlo con le viti in dotazione. Allineare lo sportello del mobile da cucina con quello dell'apparecchiatura regolando la parte (Hb).

Premere la parte (Hd) sulla parte (Hb).
Eseguire un controllo finale per accertarsi che:
- tutte le viti siano serrate.
- la striscia signillante sua fissata saldamente all'unità;
- la porta si apra e si chiuda correttamente.
8. RUMORI
Durante I'uso, alcuni rumori di funzionamento (come quelli del compressore o del circuito refrigerante) sono da considerarsi normali.




9. DATI TECHNICI
| Nicchia di incasso | ||
| Altezza | 1780 mm | |
| Larghezza | 560 mm | |
| Profondità | 550 mm | |
| Tempo di salute | 22 h | |
| Tensione | 230-240 V | |
| Frequenza | 50 Hz | |
I dati tecnici sono riportati sulla targhetto del modello, applicata sul dato sinistro in-
terno dell'apparecchiatura, e sull'etichetta dei valori energetici.
10. CONSIDERAZIONI AMBIENTALI
Riciclare i materiali con il symbolo
Buttare I'imballaggio negli apposti contentitori per il riciclaggio.
Aiutare a proteggere l'ambiente e la salute umana e a riciclare rifiuti derivanti da apparecchiature elettriche ed elettroniche.
Non smaltire le apparecchiature che riportano il symbolo insieme ai normali rifiuti domestici. Portare il prodotto al punto di riciclaggio più vicino o contattare il comune di residenza.
C

ManualeFacile