Bravia KD55XG8796 - Televízió SONY - Ingyenes használati útmutató
Találja meg az eszköz kézikönyvét ingyenesen Bravia KD55XG8796 SONY PDF formátumban.
Questions des utilisateurs sur Bravia KD55XG8796 SONY
0 question sur cet appareil. Repondez a celles que vous connaissez ou posez la votre.
Poser une nouvelle question sur cet appareil
Töltse le az útmutatót a következőhöz Televízió PDF formátumban ingyenesen! Találja meg kézikönyvét Bravia KD55XG8796 - SONY és vegye vissza elektronikus eszközét a kezébe. Ezen az oldalon közzé van téve az eszköze használatához szükséges összes dokumentum. Bravia KD55XG8796 márka SONY.
HASZNÁLATI ÚTMUTATÓ Bravia KD55XG8796 SONY
Szerelési információk a Sony fali konzol (SU-WL450) használatahoz
Támongatott modellek:
KD-85XG85□□*/75XG87□□*/75XG85□□*/65XG87□□*/ 65XG85□□*/55XG87□□*/55XG85□□*
* Az adott típusnévben szereplö ,口口" a típusra jellemzó számokat és/vagy karaktereket jalöli.
Vásárlóink figyelmébe
Termek-és baleset-biztonsági okokból a Sony azt tanácsolja, hogy a tv-készülék üzembe helyezését. Sony visontelado vagy alvallalkozó Hajtsa végre. Ne kíserelje meg a termek onallo felszerelését.
Sony visonteladok és alvallalkozók figyelmébe
A termek üzembe helyezesekor, rendszeres karbantartasakor és vizsgalatakor maradéktalanul tartson be mindedBiztonsagióvintézkedest.
A keszülék felszerelëse megfelelo szaktudást igényel, különösen a tv-készülék sulyat tartó fal teherbirásanak megallapítasát illetöen. A keszülék falra rogzítését mindigBizza Sony visonteladora vagy alvállalkozóra, és szereléskor ügyeljen a biztonságra. A Sony nem vãllal felelosséget a gondatlan vagy szakszerültlen szerelesból eredő személyi sérülësekér tavy anyagi károkér.
ABiztonsag es a megfelelo felszerelés erdekében kovesse a fali konzol kezelési utmutatojat, a TV-beallitasi utmutatot es a jelen kezikonyvutasitsait.
Biztonság
Koszönjuk, hovy ezt a keszüléket vásárolta meg.
Vásárlóink figyelmébe
A termek felszerelsehez megfelelo
tapasztalat szukseges. A zerelest a Sony
viszonteladoja vagy szerzodott
alvallkozja végéze, kūlōns
tekintetel a zerelese bizzonságára. A
Sony nem teheto felelossé a helytelen
kezelésból vagy a helytelen szerelésból,
illetve a megadott termektól elteró
termek felszerelseból adó do semmilyen
anyagi kárét vagy szemelyi sérolésert.
Az On törvenyes jogait (ha vannak) ez
nem erinti.
Sony viszonteladok szamara
A termek felszerelsehez megfelelo tapasztalat szukseges. ABiztonsagos munkavegzs erdekuben alapasan olvassa e zt az utmutat. A Sony nem teheto feleossa helyteken kezelés es szereles miatt bekovetkezett semmilyen karert vagy serultesert. Kjeruk, a szereles befejezese utan ezt az utmutatot adja at a fogyasztonak.
Ez a hasznalati utmutató a termek helyes kezelesét, ilteve a fontos balesetvedelmi intezkedeseket mutatja be. Alaposan olvassa el ezt az utmutató, es hasznalja megfeleloen a termeket. A késobbi hasznalat celjara orizze meg ezt az utmutató.
A Sony termekeinek tervezese aBiztonsag szem elott tartasaval tortenik. A termekek helytehen hasznalata azonban sulyos egesi serulest, aramutest okozhat, a terme feldohet vagy leeshet. Az ilyen balesetak ekerulse erdekuben tartsa be aBiztonsagi elorirasokat.
VIGYAZAT
Meghatározott termékek
Ez a fali konzol a megadott tv-keszulekhez hasznalhato. Tv-kszulekek esetuben a hasznalhato fali konzol tipusát a kszulek Referencia utmutatója tartalmazza.
Vásárlóink figyelmébe
FIGYELMEZTETÉS
A kovetkezōBiztonsági elóirások be nem
tartasa súlyos égési sérlésist, halal't,
aramutest okozhat, a termek pedig
leeshet.
A szerelést erre felhatalmazott vallalkozó vegezze, és a gyerekeket tartsa távol a szerelés helyszinétől.
A fali konzol vagy a tv-keszülk helytelen felszerelése eseten a következō bausetek következhetnek be. A szerelest felhatalmazott vállalkozónak kei vegezie.
A tv-keszulek leeshet, es sulyos serulest, zuzodast vagy torest okozhat.
Ha a fal, amelyre a fali konzolt felszerelik, nem stabil, egyenetlen, vagy nem meroleges a padlozatra, akkor a keszulek leeshet, es szemelyi seriulest vagy anyagi kart okozhat. A falnak legalabba tv-keszulek sulyanak negyszereset kell ebirnia.
(A tv-keszülk sulyat lasd a keszülk Referencia utmutatójaban.)
Ha fali konzol feilerosite nem eleggereos, akkor a keszulek leshet, es szemelyi serulest vagy anyagi kart okozhat.
A tv-keszülek szállitásat és levételet erre felhatalmazott vallalkozó végezze.
Ha a tv-keszülek szállításat vagy levételet nem felhatalmazott Vallalkozó vegzi, a keszülek leeshet, és személyi sérúlest vagy anyagi kart okozhat. Ügyeljen rá, hogy kettő, vagy több személy (75 húvelykes, vagy annál nagyobb televizio eseten három vagy több személy) szállitsa vagy szerelje le a televízió.
A tv-keszülk felerositese utan ne távolítsa el a csavarokat stb.
Ellenkező esetben a tv-keszülék leeshet, és személyi sérlést vagy anyagi kárt okozhat.
A fali konzolt ne szereljeszt, es az alkatreszeit nevaltoztassa meg.
Ekkor a fali konzol leeshet, és szemelyi sérülest vagy anyagi kár okozhat.
A fali konzolraCsak a megadott keszülketerositse fel.
Ez a fali konzolCsak a megadott keszulekekhez hasznalhato.Mas keszulek felorositese seten a keszulek leeshet, eltorhet, es szemelyi serulest vagy anyagi kart okozhat.
A fali konzolraCsak a tv-keszüléket erösítse fel. E Ne rázza a tv-t jobbra/ balra, felfelé/lefelé.
Ilenkez esetben a tv-keszulek leeshet, es szemelyi serulest vagy anyagi kart okozhat.
Ne tamaszkodjon a tv-keszülékre, és ne kapaszkodjon bele.
Ne tamaszkodjon a tv-keszülékre, és ne kapaszdkodjon bele, mert a tv-keszülék Onre eshet, és sulyos serülest okozhat.
VIGYAZAT
Az alabbiBiztonsagi elorasok be nem tartasa szemelyi serulent vagy anyagi kart okozhat.
A keszülék tisztítsa vagy karbantartasa soran ne alkalmazzon tul nagy erőt.
Ne nyomja meg nagy eróvel a tv-készülék felső résztét. Ellenkező esetben a tv-készülék leeshet, és személyi sérulésst vagy anyagi kárt okozhat.
Biztonsági elóirások
Ha a fali konzolra erositet tv-keszuleket hosszü ideig használa, akkor a fal anyagató fuggöen a tv-kszulek mögott vagy felett elszinezodhet a falfelulet, a tapéta levalhat.
Ha a fali konzolt leszereli, a csavarfuratok megmaradnak.
- Ne használá j a fali konzolt olyan helyen,
ahol mechanikai rezgésnek lehet kiteve.
A fali konzol felszerelése
Sony viszonteladok szamara
FIGYELMEZTETÉS
A kovetkezó utmutatasokCsak a Sony viszonteladok szamára szolnak. Feltétlenul olvassa el fanti bitzonsagi elóirasokat,ésa keszülek felszerelése, karbartartasa ellenorzese soran fokozottan ügyeljen abiztonságra.
A fali konzolt ne szerelje fel oyan helyen, ahol atv-keszulek sarkai vagy oldalai kiloghatnak a fal sikjabol.
A falra fuggeszt o konzolt ne szerelje fel oyan falfelületre, peldául oszlopra, ahol a tv-keszülk sarkai vagy oldalai kiloghatnak a fal sikjából. Ha egy személy vagy târgy a tv-keszülk kiáló sarkába vagy oldalába utközik, az személyi serülest vagy yangi kart okozhat.

A tv-keszüléket ne szerelje légkondiconaIó alá vagy fölé.
Ha a tv-keszuleket hosszü ideig éri a lékgondioncionalból csepego viz vagy a levegoğram, az aramutest okozhat, vagy a tv-keszulek helyteplenül muköhdet.
Ugyeljen a fali konzol ennek a hasznalati utmutatonak megfelelo, biztansagos falra rogzitésere.
Ha barmelyik csavar laza, vagy kiesik, akkor a fali konzol leeshet, es szemelyi sérulést vagy anyagi kart okozhat. A fal anyaganak megfelelo csvart hasznalja, es az egységet négy vagy tobb 8 mm atmérojú (vagy azzal egyenertéku) csavarralBiztonsagosan roğztse a falra.

A mellekelt csavarokat
és csatlakozoelemeket
hasznalja,és tartsa be
a hasznalati utmutato
utasitsait. Ha mas
alkatrészeket hasznal,
akkor a tv-keszülk
leeshet,és szemelyi
sérulést okozhat, vagy
a tv-kszülk
megsérülhet.
A fali konzolt a hasznalati utmutato utasitásainak szigó betartásával, helyesen szerelje össze.
Ha valamelyik csavar laza, vagy kiesik, akkor a tv-keszulek leeshet, es szemelyi sereulest okozhat, vagy megserulhet.
A megfelelo poziciokban erosen huzza meg a csavarokat.
Ennek elmulasztasa eseten a tv-keszulek leeshet, es szemelyi sérulést okozhat, vagy megserülhet.
Ugyeljenarra,hogy felszerelés kozben ne erje utes a tv-keszuleket.
Ha a tv-keszuléket utés éri, akkor leeshet vagy eltörhet. Ez személyi serulést okozhat.
A tv-keszüléket oyan sik falra szerelje fel, amely meröleges a padloźatra.
Ellenkező esetben a tv-keszülék leeshet, és személyi sérülés okozhat.
A tv-keszülék helyes felerösítese utan megfeleloen rogzítse a kábeleket.
Ha a kábelek amberbe vagy tárgyakba gabalyodnak, az személyi sérulést okozhat, és a tv-készülek megrongálódhat.
Ugyeljenarra, hogy a halózati kabel vagy a csatlakozókábelek ne csiþdjenek be.
Ha a halózati kabel vagy az összeköto
kábelek a készülék és a fal koze csipodnek,
iltelete eroszakosan meghajlitják vagy
megcsavarják öket, akkor a belső verzetekek
szabadda valhatnak, és rovidzárlat vagy
szakadás következhet be. Ez tuzet vagy
aramütest okozhat.

A fali konzol falra erositéséhz szükségescavarok nincsenek mellekelve.
A fali konzol falra erositéséhez használia a fal anyaganak és szerkezeténk megfelelo csavarokat.
Tartalomjegyzék
A felszerelés elokészületei 5
Az alkatreszek ellenorzese 5
A felszereléshez megfelelo hely kivalasztasa. 6
Az alap falra szerelése 8
A televiziokeszülk felszerelésenek elokszitese 9
KD-85/75XG85□□,KD-75XG87□□
KD-65/55XG87□□,KD-65/55XG85□□.11
A tv-keszülk felszerelése a falra 13
KD-85/75XG85□□,KD-75XG87□□ 13
KD-65/55XG87□□,KD-65/55XG85□□.15
A felszerelés megfeleloségének
ellenörzese. 18
Egyeb informaciok. 18
Muszaki adatok. 18
A televíókészülék falraszerelése
A szerelesiutasitasok televiziokeszulekenkent elternek.
A tv-keszülk falra szerelesehez használja az SU-WL450 fali konzolt.
Megegyzes
- Az eltavolitott csavarokat biztos helyen, gyermekek elol elzarva taroja.
A felszerelés előkészületei
A felszerelés elott keszítse el a TV reference utmutatóját as a beallitasi utmutatóját.
- A szereles megkezdese elott keszitsen elo olyan kereszthornyos (Philips) csavarhuzot, amely illik a csavarokba.
Dontse el, hol helyezkedjen el a tv-keszulék.
Keszitsen elo négy vagy tobb 8 mm atmérojü, es egy 5 mm atmérojü vagy annihil megfelelo csavart (nincs mellekelve). A fal anyaganak megfelelo csavarokat valasszon.
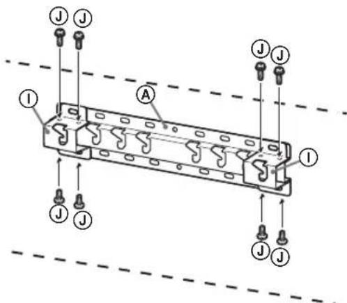
Az alkatreszek Ellenőrzésé
A SU-WL450 modellhez mellekelve
Ellenorizze, hogy minden alkatresz megtalalhato-e.
| A Alap (20) (1) B Tárcsa (2) | |
| ◎ PSW 6x20 (4)◎ PSW 4x20 hüvellyel (2) | |
| E Távtartó (20) (2) E | Pánt (1) |
| ◎ Hüvely (20) (M4) (2) | ◎ PSW 4x20 (2) |
| ① Alap illesztőkeret (2) | ◎ PSW 4x10 (8) |
| ◎ Távtartó (60) (2) | PSW 6x50 (2) |
| ◎ Hüvely (M4) (2)◎ PSW 4x50 (2) | |
A felszereléshez megfelelo hely kivalasztása
1 Hatarozza meg a felszerelés helyét.
Győzödjön meg arról, hogy a falon elegendo hely van a tv-készüléknek, illetve hogy a fal legalabb a televíziókészülék sulyanak négyszeresét képes megtartani. A következő tablázat alapján szerelje fel a tv-készüléket a falra. A tv-készülék sulyat lásd a készülék Referencia utmutatójaban.
Normal rogzítés Falhoz közeli rögzítés

Mertékegység: mm
| Típusnév | A képernyő méretei | A képernyő kózéppontjának helyét meghatározó méret | A felszereléshez tartozó hosszéréték | |||
| a | b | c | d | e | ||
| Normál rögzítés | Faltoz kõzeli rögzítés | |||||
| KD-85XG85□□ | 1909 | 1097 | 251 | 803 | 142 | 100 |
| KD-75XG87□□ | 1673 | 963 | 107 | 595 | 116 | 75 |
| KD-75XG85□□ | ||||||
| KD-65XG87□□ | 1450 | 836 | 99 | 523 | 115 | 73 |
| KD-65XG85□□ | ||||||
| KD-55XG87□□ | 1231 | 713 | 106 | 468 | 115 | 73 |
| KD-55XG85□□ | ||||||
Megegyzes
- A felszerelestőf fuggöen a tablázatadataihoz képest kisebb elterés mutatkozhat.
Ha a tv-keszuleket falra szereli, a tv felso oldala enyhén elore dol.
Ugyeljenarra, hogy a televiziokeszülék és a plafon, valamint a fal kiálo részei kozott legalabb az alabbi abran lathato hely maradjon.
Mertékegység: mm

A megfelelo szellozésBiztositasa, es por vagy szennyezodés felhalmozodasanak megelozese erdekében:
- Ne üzemeltesse a tv-keszüléket fektetve, fejjel lefelé felszerelve, a határa vagy az oldálára fordíva.
-
Ne uzemeltesse a tv-keszüléket polcon, ágyra vagy takaróra helyezeve, illetve szekrényben.
-
Ne takarja le a tv-keszüléket fuggönnyel vagy hasonlo textiliával, illetve ujsaggal vagy hasonlo anyaggal.
-
Ne szerelje fel a tv-keszüléket az alábbi módon.
Gatolt levego'aramlas.

Megegyzés
Ha a kabeleket a falban kivanja elvezetni, akkor meg a szereles megkezdese elott furja ki a szuksseges lyukat a falon.
Keszitsen egy lyukat a falban valahol az alap (20) A, alap illesztokeret 1 es a tavtarto (20) E, a tavtarto (60) K teruleten kivul ahhoz, hogy elkerulje a kabelek becsipodesét.
2 Valassza ki a falra való felszerelés stilusát. A tv hatulja és a fal kozotti távolság az alábbiak szerint választhato ki.
2-a Normál rögzítés
2-b Falhoz kozeli rogzítés
Tekintse meg az 1. lépésben lathato tablazatot.
FIGYELMEZTETES
A 2-b lehto6eg valasztaea eseten a hatulso csatlakozokhoz valo hozzaferes korlaotozott.


3 Az alap illesztőkeret
elhelyezésével kapcsolatban
tekintse meg az alábbi
táblázatot. A 2-b lehetőseg
valasztása esétén hagyja ki ezta
a lépást.
| Típusnév Kampók helye | |
| KD-85XG85☐☐ | |
| KD-75XG87☐☐ | a |
| KD-75XG85☐☐ | |
| KD-65XG87☐☐ | |
| KD-65XG85☐☐ | b |
| KD-55XG87☐☐ | |
| KD-55XG85☐☐ | |

Illessze fel az ① alap
illesztőkeret a ② csavar (PSW 4x10) használatával az (20) ④
alapra, ha a 2-a lehetőseget
választotta.

4 Hatarozza meg a csavarok helyét az alap (20) A felszereléséhez.
Tekintse meg a muszaki adatokat az 18. oldalon.
A 2-a lehetoseg valasztasa eseten hasznalja az ① alap illesztokeret furathelyit.
FIGYELMEZTETES
A tevekeszuleket tartofal teherbirasanak akkoranak kell lennie, hogy legalabb a keszulek tomegenek negyszereset elbirja (A tv-kszulek sulyat lasd a keszulek Referencia utmutatojaban.).
Deritse ki, mekkora a teherbirasa a falnak, amelyre a televiziokeszuleket szerelni kivanja. Szukseg eseten megfeleloen erositse meg a falat.
Az alap falra szerelése
- Használjon négy vagy tòbb 8 mm átméröjú vagy annak megfelelo csavart (nincs mellekelve).
Illesszen négy csavart az ① alap illesztókeret furataihoz és az (20) A alaphoz (csak 2-a).
Vizszintesen szerelje fel az (20) alapot a falra.


A televiziókészülék felszerelésenek elokésztítese
Az allvany felszereléserol lásd a beallitási utmutató.
KD-85/75XG85□□,KD-75XG87□□
1 A felszerelés tervezett helyét jelölje meg a falon.
Hasznaljon maszkoloszalagot, vagy egyeb eszkocz (nincs mellekelve) ahhoz, hogy a televizio helyet bejelõje az alap vagy az alap illesztokeret kozeluben. Tajekoztatasul hasznalja a kovetkező tablázatot.

Mertékegység: mm
| Típusnév | Megelölthossz | A képernyöközeppontjánakhelyétmeghatározóméret | ||
| a | b | c | d | |
| KD-85XG85☐☐ | 1 | 909 | 683 | 200 251 |
| KD-75XG87☐☐ | 1 | 673 | 468 | 200 107 |
| KD-75XG85☐☐ | ||||
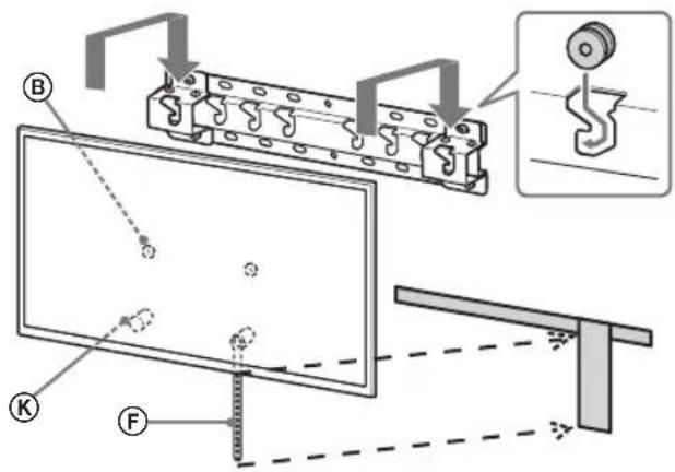
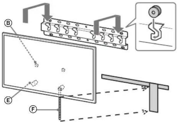
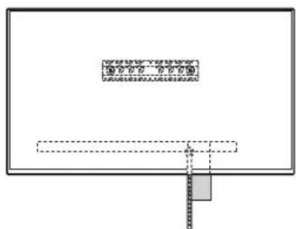
2 Távolítsa el a csavarokat a tv-készülék hátuljáról.

3 Csatlakoztassa a fali konzol
csatlakozóelemeit. Ellenőrizable a
csatlakozóelemeket a 5.
oldalon található, "Az
alkatrészek Ellenőrzésé" című
szakasz "A SU-WL450
modellhez mellekelve" részények
segítségevel.
Megjegyzés
Acsavarok hasznalatalaval szorosan rogzitse acsatlakozoelemeket.
Elektramos csavarbehajto hasznalata eseten kb 1,5 N-m{15 kgf-cm} meghuzasi nyomatekot kell beallitani.
A felhasznalt, vagy fel nem hasznalt alkatreszeket biziros helyen taroIj a kesobbi felhasznalashoz. Orizze meg ezt a kezikonyvet kesobbi hasznalatra.
Falhoz kozeli rogzítés (2-b)
Megjegyzés
- A televizio hatuljan talalhato terminálok kozül néḥányat nem lehet használni, ha ezt a rogzítési stlust használja.


4 Csatlakoztassa a szükséges kabel(eke)t a tv-készülékhez.
Mindenéppen csatlakoztassa a kábeleket, mielott felszereli a televiziókészüleket a falra. A televiziókészülek felszerelése utan már nem tudja csatlakoztatni a kábeleket. További részletek a tv-készülekról annak Referencia utmutatójaban talalhatok.
Megjegyzés
A kábelek falban valo elvezétésétBizza jovahagyással rendelkezó alvallalkozóra.
Kötegelje a cislatakozókábeleket annak érdekében, hogy ne lépjen rajuk a falra történő felszerelés elott.
5 Valassza le az asztali allvanyt a tv-keszulekról.
- EgyszerreCsak az asztali allvany egyik oldalat tavolitsa el. Fogja meg erosen es tartsa megBiztonsagosan az asztali allvanyt mindket kezevel, mikozben a tobbiek felemelik a televiziot.

KD-85XG85□□
KD-75XG87□□,KD-75XG85□□

- Ismételje meg az eložo lépestre, est távolítsa el az asztali allvany masik oldalát.
Megegyzes
-Az asztali allvany levalasztasahoz harom vagy tobb szemely szukseges.
- Ugyeljen arra, hogy az asztali allvany televiziórol tortenó levalasztsakor ne alkalmazzon tú nagy erot, mert az a televizio leesésehzvezet, ami szemelyi sérulést vagy a televizio fizikai károsodásat eredményezheti.
Az asztali allvany kezelésekor legyen ovatos annak erdekében, hogy elkerülje a televizio sérulését.
A televizio megemelesekor legyen ovatos,mivel az asztali allvany levalasztasa utan az asztali allvany felborulhat eszemelyi serulest okozhat.
Legyen ovatos, amikor az asztali allvanyt levalasztja a televizióról, nehogy az felboruljon es kart tegyen abban a feluletben, amin a televizio all.
KD-65/55XG87□□
KD-65/55XG85□
1 Távolítsa el a csavarokat a tv-készülék hátuljáról.

2 Csatlakoztassa a fali konzol
csatlakozoelemeit. Ellenorizea
csatlakozoelemeket a 5.
oldalon talalhato, "Az
alkatrészek ellenorzese" cimu
szakasz "A SU-WL450
modellhez mellekelve" részenek
segitségével.
Megjegyzés
A csavarok hasznalatal val szorosan rogzitse a csatlakozoelemeket.
Elektramos csavarbehajto hasznalata eseten kb. 1,5 N-m 15kgf· cm meghuzasi nyomateket kell beallitani.
A felhasznalt, vagy fel nem hasznalt alkatreszeket bizi tols helyen tarojla a kesobbi felhasznalashoz. Orizze meg ezt a kezikonyvet kesobbi hasnalaatra.
Normál rögzítés (2-a)

Falhoz kozeli rogzítés (2-b)
Megegyzes
- A televizio hatuljan talalhato terminálok kozül néhanyat nem lehet használni, ha ezt a rogzítési stlust használja.


3 Csatlakoztassa a szükséges kabel(eke)t a tv-készülékhez.
Mindenkeppen csatlakoztassa a kábeleket, mielott felszereli a televiziokészüleket a falra. A televiziokészülek felszerelése utan már nem tudja csatlakoztatni a kábeleket. Tovabbi részletek a tv-készülekról annak Referencia utmutatójaban talalhatok.
Megegyzes
A kábelek falban valo elvezétésétBizza jovahagyassal rendelkezó alvallalkozóra.
Kötegelje a cislatakozókábeleket annak érdekében, hogy ne lépien rajuk a falra történő felszerelés elott.
4 Valassza le az asztali allvanyt a tv-keszulékról.
- EgyszerreCsak az asztali allvany egyik oldalat tavolitsa el. Fogja meg erosen es tartsa megBiztonsagosan az asztali allvanyt mindket kezevel, mikozben a tobbiek felemelik a televiziot.

Ismételje meg az eložo lépestre, est távolítsa el az asztali allvány masik oldalát.
Megegyzes
Az asztali allvany levalasztasahoz harom vagy tobb szemely szukseges.
- Ügyeljen arra, hogy az asztali allvány televírioról történő levalasztsakor ne alkalmazzon tú nagy eröt, mert az a televíó leeséhez gezethet, ami személyi sérulést vagy a televíó fizikai károsodásateredményezheti.
Az asztali allvany kezelésekor legyen ovatos annak erdekében, hogy elkerulje a televizio seruleset.
A televizio megemelesekor legyen ovatos,mivel az asztali allvany levalasztasa utan az asztali allvany felborulhat eszemelyi serulest okozhat.
Legyen ovatos, amikor az asztali allvanyt levalasztja a televizirol, nehogy az felboruljon es kart tegyen abban a feluletben, amin a televizio all.
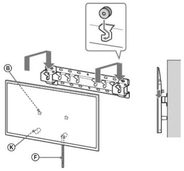
A tv-keszülk felszerelése a falra
KD-85/75XG85□□,KD-75XG87□□
1 Emelje meg a televiziót.
Annak a megvalasztasahoz, hogy a tarcsak (B) hol csatlakozzanak az alap, vagy az alap illesztokeret tartojahoz, tekintse at "A felszerelhesz megfelelohely kivalasztasa" 3.lepeseben szerepl tablazatot, a(z) 7. oldalon.
- Győződjön meg rola, hogy a televízó帽子ó része hozzaér t az alaphoz vagy az alap illesztőkerethez, amikor a televízió tartja.
Megegyzés
Tartsa mindkét kézzelBiztosan a televiziôt es gyozodjon meg rola, hogy a pant F es a televizio also része egy vonalban vannak a maszkoloszalaggal.
A televiziôt harom embar szàllitsa és a televizóval szemben áló személy irányítsa a tòbbieket a pozión beállitasa közben.

Kiemelt ovatossagra van szukseg a televizio felszerelse kozben, kulonosen annak a szemelynek a reszero1,aki alurl tamasztja meg a televiziot, mert a keszulek leborulhat, es ez sulyos testi serulest, akar halalt is okozhat.

2 Szerelje fel a televiziôt az alapra vagy alap illesztőkeretre.
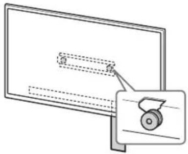
- Finoman csusztassa le a televizió, és a televizio hatuljan levő tárcsákat (B) akassza az alapba vagy az alap illesztőkeretbe, miután megbizonyosodott a furatok megfelelo alakiáról.
- A televiziókészülék falra való felszerelése után Ellenörizze, hogy a tárcsák ⑧ szorosan illeszkednek-e az alapba vagy az alap illesztőkeretbe.
- Ovatosan engedje el mindkét kezzel, ügyelve arra, hogy a televizio nem esik le.

- Miután a televiziôt felszerelte a falra, távolítsa el a maszkolószalagot, vagy egyé eszközöket a falró.

2-a








2-b








FIGYELMEZTETES
- Üglyeljen rá, hovy kettó, vagy tobb személy (75 húvelykes, vagy annál nagyobb televízió esétén három vagy tobb személy) fogja a televízió szállitasközben.

3 Teendok a tv-keszulek aljanak elmozdulasa Ellen.
- A laza pantot F rogzitse feszesen a falhoz.


Hasznaljon egy 5 mm atmerojv vagy annak megfelelo csavart (nincs mellekelve).
Megegyzes
- Probalja a tv-keszulek ajat enyhén maga felé huzni annak Ellenorzéshez, hogy azBiztosan nem mozog-e elore. Ha mozgast tapasztal, akkor a rogzítés nem megfelelo, es a pantot E' ujra szorosan fel kell erosifeni.
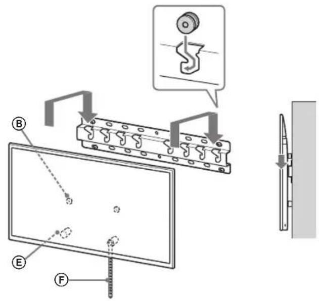
KD-65/55XG87□□,KD-65/55XG85□□
1 Emelje meg a televiziót.
Annak a megvalasztahoz, hogy a tarcsak (B) hol csatlakozzanak az alap, vagy az alap illesztokeret tartojahoz, tekintse at "A felszerelhesz megfelelohely kivalasztasa" 3.lepseben szerepl tablazatot, a(z) 7. oldalon.
Gyozodjon meg rola, hogy a televizio hatsó része hozaert az alaphoz vagy az alap illesztokerethez, amikor a televiziottartja.

Megjegyzés
Tartsa meg két kézzelBiztonságosan a teviziôt.
2 Szerelje fel a televiziôt az alapra vagy alap illesztókeretre.
- Finoman csusztassa le a televiziot, es a televizio hatuljan levó tarcásakat (B) akassza az alapba vagy az alap illesztőkeretbe, miután megbizonyosodott a furatok megfelelo alakjáról.
- A televizióksülék falra való felszerelése után ellenörizze, hogy a tárcsák (B) szorosan illeszkednek-e az alapba vagy az alap illesztókeretbe.
- Ovatosan engedje el mindkét kézzel, ügyelve arra, hogy a televizio nem esik le.


2-a

2-b

↓

↓
FIGYELMEZTETES
- Ugyeljen rá, hogy kettó, vagy több személy (75 húvelykes, vagy annal nagyobb televizio esétén három vagy több személy) fogja a televiziôt szallitás kozben.

3 Teendok a tv-keszülek aljanak elmozdulása Ellen.
- A laza pantot F rogzitse feszesen a falhoz.


Hasznaljon egy 5 mm atmerojvagy annak megfelelo csavart (nincs mellekelve).
Megjegyzes
- Probalja a tv-keszulek ajat enyhén maga felé huzni annak Ellenörzéshez, hogy azBiztosan nem mozog-e elore. Ha mozgast tapasztal, akkor a rogzités nem megfelelo, es a pantot F ujra szorosan fel kell erositeni.
A felszerelés megfelelośégének ellenórzese
Ellenorizze a kovetkezoket.
A tárcsák ⑧ szorosan illeszkednek az alapba vagy az alap illesztőkeretbe.
- A halózati kábel és az összekö tó kábelek nem csavarodtak meg vagy csipödTek be.
A pant F feszes es nom laza.
FIGYELMEZTETÉS
A halózati kabel stb. nem megfelelo elhelyezese rovidzárlat miatt tuzet vagy aramutest okozhat. Ellenorizze a felszerelés megfeloségét.
Egyeb informaciók
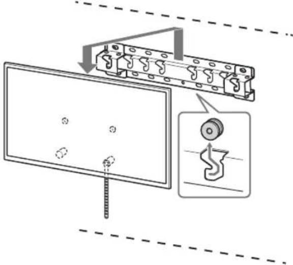
A teviziokeszülk eltavolitásakor visszaféle hajtsa vegre az eljárast.

FIGYELMEZTETÉS
- Ügyljen rá, hovy kettő, vagy tobb személy (75 húvelykes, vagy annál nagyobb tevízió esétén három vagy tobb személy) fogja a tevízió leszerelés kozben.
Muszaki adatok

Méretek: (kb.) [mm]
a:400
b : 300
c:200
d : 100
e:80
f:480
g : 100
h1:20(2-besétén)
h2:60(2-aeseten)
Suly (csak az alap): (kb.) [kg]
0,8
A forma es a muszaki adatok elozetes bejelentes nélkül megvaltozhatnak.
KönnyűKézikönyv