Bravia KD55XG8796 - Televizor SONY - Manual de utilizare gratuit
Găsiți gratuit manualul dispozitivului Bravia KD55XG8796 SONY în format PDF.
Questions des utilisateurs sur Bravia KD55XG8796 SONY
0 question sur cet appareil. Repondez a celles que vous connaissez ou posez la votre.
Poser une nouvelle question sur cet appareil
Descărcați instrucțiunile pentru Televizor în format PDF gratuit! Găsiți manualul dvs. Bravia KD55XG8796 - SONY și luați din nou în mână dispozitivul dvs. electronic. Pe această pagină sunt publicate toate documentele necesare pentru utilizarea dispozitivului dvs. Bravia KD55XG8796 mărcii SONY.
MANUAL DE UTILIZARE Bravia KD55XG8796 SONY
Informații de instalare pentru Utilizarea dispositivului de montare peperete Sony (SU-WL450)
Modele acceptate:
KD-85XG85□□*/75XG87□□*/75XG85□□*/65XG87□□*/ 65XG85□□*/55XG87□□*/55XG85□□*
- Pentru numele modelului actual, „□□“ indica numărulși/sau caracterele specifice pentru fiecare model.
Pentru clienti
Pentru protectia produsului si din motive de siguranta, Sony recomanda insistent ca instalarea televizorului dumneavoastră să fie efectuata de distribuiitori sau contractori licenciati Sony. Nu incercași să il instalati personal.
Pentru distribuitorii si contractorii Sony
Acordati atentie totala sigurantei in timpul instalarii, intretinerii periodice si examinarii acestui proclus.
Este necessara o experientă sufficientă pentru instalarea acestui produs, mai ales pentru a determinina rezistenta peretelui pentru suscinerea greutății televizorului. Incredințați fixarea pe perete a acestui produs distribuitorilor sau contractorilor licenți si acordați o atenție adecovata sigurantei in timpul instalări. Compania Sony nu este răspunzătoare pentru daune materiale sau vătamări corporale cauzate de manipularea inadecovata sau de instalarea necorespunzătoare.
Pentru instalarea corectăși in siguranță, respectați instrucțiunile de/utilizare a dispositivului de montare pe perete, ghidul de configurare a televizoruluiși instrucțiunile din prezentul manual.
Despre siguranta
Vä multumim pentru achizitionarea acestui produs.
Pentru clienti
Pentru instalarea acestui produs este necessar un nivel sufficient de experientia Subcontracta Installarea distribuitorilor Sony Sau unor contractori licenziati si acordati o atentie speciala sigurantei in timul instalari. Sony nu este responsabila pentru niciun fel de daune materiale sau vatamari corporale determinate de manipularea eronata sau de instalarea inadevcata, respectiv de instalarea altei produs decat cel specificat. Drepturile dvs, prevazute de lege (dacxa exista) nu sunt afectate.
Pentru distribuitorii Sony
Pentru instalarea acestui produs este necessar un nivel suficient de operenita. Cititi cu atente iacest manual de instruioni, pentru a efectua operatiiile de instalare in siguranta. Sony nu este responsabila pentru niciun fel de daune materiale sau vatamari corporale determinate manipularea eronata sua de instalarea inadecvata. Inmanati acest manual clientului dupa instalare.
Acest manual de instruioni prezinta modul de manipulare corecta a produsului si masurile importante de precautie necessities pentru prevenirea accidentelor. Citiţi cu atenție aest manual si utilizesprodusul in mod correct. Păstraţi acest manual disponibil pentru consultari ulterioare.
Produsele Sony sunt proiectate tänand cont de siguranta. Totusi, dacă produsele sunt utilizes incorrect, pot avea ca rezultat producerea de grave vătãmãr corporale prin incendiu, electrocutare, răsturnarea sa cuăderea produsului. Respectati mâsurile de precautie pentru siguranta, in vederea evitarii unor asemenea accidente.
ATENTIE
Produce specificate
Acest disposizitiv de montare pe perete este projectat in vederea utilizarii cu televizuarele specifie. Pentru televizuare, citi ghidul de referinta pentru a verifica dacă disposizitiv del montare pe perete poate fi realizaz.
Pentru clienti
AVERTISMENT
Dacu umatoarele masuri de precautie nu sunt respectate, pot rezultate grave vatamari corporale sau deces prin incendiu, electrocutare sau caderea produsului.
Subcontractați instalarea produsului unor contractori licenciatiș siti nei copii i mici la distanță in timul instalări.
Daca dispositivul de montare pe perete sau televizorul nu este corect instalat, se pot produce urmatoarele accidente. Avei grijca instalarea s fi efectuata de catre contractori licenziati.
- Televizorul poate cădeași poate cauza gravevatamari corporale, precum contuzii sau o fractura.
- Daca peretele pe care este instalat dispositivul de montare este instabil, nu este plan sau nu este perpendicular pe podea, aparatalo poate cadea si poate cauzavatamari corporale sau daune materiaile. Peretele trebuie sa poata sasusina o greutate de cel putin patru ori mai mare decat cea a televizorului. (Consultati ghidul de referinta al televizorului pentru a-i determina greutatea.)
Daca instalarea dispositivului de montare pe perete nu este suficient de rezistentă, aparatul poate cădeași poate cauza vătamâri corporale sau daune materiaie.
Contractaşi operatiile demontare sau demontare a televizorului unor contractori licenciati.
Dacá Persons in afara unor contractori licenciatai transporta sau demontează televizorul, acesta poate cădeași poate cauza vătamari corporale sau daune materiale. Pentru transportarea sau demontarea televizorului este nevoie de două sau mai multe persono (trei sau mai multe persono pentru televizioarele cu diagonală de 75 de inci sau mai mare).
Nu demontathi suruburile etc. dupa montarea televizorului.
In caz contrar, tevizorul poate cadea si poate cauzavatamari corporale saudanemateriale.
Nu aduceți modificari componentelor dispositivului de montare pe perete.
In caz contrar, dispositivul de montare pe perete poate cadea si poate cauza vatamari corporale sau daune materiaie.
Nu monta'i alte echipamente in afara produsului specificat.
Acest dispositiv de montare pe perete este projetat numai n vederea utilizarii cu produsul specificat. Daca montati alt echipament decat cel specificat, aresta poate cadea sau se poate sparge si poate cauza vātamāri corporale sau daune materiaie.
Nu aplicati alta sarcina in afara televizorului pe dispositivul de montare pe perete.
Nu zdruncinati televizorul stanga/dreapta, sus/jos.
In caz contrar, televizorul poate cadea si poate cauza vătamări corporale sau daune materiale.
Nu va rezemati pe si nu va agatai de televizor.
Nu va rezemati pe si nu va agatati de televizor, deoarece acesta poate cadea si poate cauza grave vatamari corporale.
ATENTIE
Dacā urmātoarele masuri de precaüte nu sunt respectate, se pot produc vāṭamāri corporale sau daune materiale.
Nu manipulati produsul cu forta excesiva in timpul curataarii sau al intretinerii.
Nu aplicati o fora excessiva in parte de sus a televizorului. In caz contrar, televizorul poate cdea si poate cauza vatamari corporale sau daune materiale.
Măsuri de precautie
Dacautilizati timp indelungat televizorul instalat pe dispositivul de montare pe perete,peretele din spatele sau deasupra televizorului se poate decolora, iar tapetul se poate desprinde,in functie de materialul peretelui.
- Daca dispositivul de montare pe perete este demontat dupa instalarea sa pe perete, in perete vor ramane orificile pentru suruburi.
- Nu utilizzato dispositivul de montare pe perete intr-o locatie unde este supus la vibratio mecanice.
Instalarea dispositivului de montare pe perete
Pentru distribuitorii Sony
AVERTISMENT
Urmatoare instructiuni sunt destinate numai distributiorilor Sony. Cititi masurile de precauie descrie mai sus si acordati o atentie speciala sigurantei in timul instalarii, al intreinerii si verificarii acestui produs.
Nu instalati dispositivul de montare pe perete pe suprafete ale peretelui unde colturile sau pàrtile laterale ale tevizorului ies in afara fata de suprafata peretelui.
Nu instalati dispositivul de montare pe perete pe suprafete ale peretelui precum un stalp, unde colturile sau partile laterale ale televizorului ies in afarafata de suprafata peretelui. Daca se intampla ca o persona sau un obiect sa loveasca partea sau coltul iesit in afaraltelevizorului, acest lucru poate cauza vatamari corporale sau daune materiale.

Nu instalati televizorul deasupra unei instalati de aer conditionat sa dedesubtul acesteia.
Dacă televizorul este expus tamp indelungat la scurgeri de apă sau la currente de aer proveneniţi de la o instalataie de aer conditionat, se pot produce incendii, socuri electrice sau defectiuni ale televizorului.
Instalati disponitivul de montare pe perete in condiţii de siguranta, urmânnd induciţiile din acest manual de instrutiuni.
Daca oricare dentre suruburi sunt slabite saud,dispositivul de montare pe perete poate cadaea si poate cauza vatamari corporale saudaune materiale. Utilizati suruburile corespunzatoare pentru materialul peretelui si instalatai aparatul in conditi de siguranta,utilizand patru sau mai multe suruburi cu diametrul de 8 mm (sau echivalent).

Utilizati corespunzator suruburile si piesele de montaj furnizate, urmand instruktiunile din acest manual de instructiuni. Daca utilizesi elemente inlocuitoare, tevizorul poate cadea si poate cauza vatakari corporale sau deteriorarea aparatului.
Asamblati dispositivul de montare pe perete in mod corespunzator, urmand procedura explicata in acest manual de instrutiuni.
Dacā oricare dentre sūruburi sunt slābite sau cad, televizorul poate cādea sì poate cauza vāṭāmāri corporale sau deteriorarea aparatului.
Strangei adefvat suruburile in poziia indicata.
In caz contrar, televizorul poate cädea si poate cauza vātāmāri corporale saudeteriorarea aparatului.
Nu supuneti televizorul la socuri pe durata instalarii.
Dacă televizorul este expus la socuri, poate cădea sau se poate sparge. Aceasta poate cauza vătamari corporale.
Instalati televizorul pe un perete plan si perpendicular pe podea.
In caz contrar, televizorul poate cadea si poate cauza vatamari corporale.
După instalarea corectă a televizorului, fixați caburile in mod corespunzător.
Daca oameni sau obiecte se incurca in cabluri, aceasta poate duce la vatamari corporale sau la deteriorarea televizorului.
Nu permiteci ciupirea/ perforareca cablului de alimentare in current alternatively s i nici a cablului de conexiune.
In cazul in care cablul de alimentare in curent alternativ sau cablul de conexiune sunt ciupite/perforate intrpe aparat si perete saun tindoite sau rasucite forat, conductorii interni pot deveni expusi si pot cauza un scurtcircuit sao intrerupere a alimentarii cu energie electrica. Acesta poate determinina incendii saun soc electric.

Suruburile necessities pertru fixarea dispositivului de montare pe perete nu sunt furnizate.
Utilizi suruburile corespunzatoare pentru materialul si structura peretelui la fixarea dispositivului de montare pe perete.
Cuprins
Pregatirea pentru instalare. 5
Verificarea pieselor 5
Stabilirea locatiei de instalare 6
Instalarea bazei pe perete 8
Pregatirea instalarii televizorului 9
KD-85/75XG85□□,KD-75XG87□□
KD-65/55XG87□□,KD-65/55XG85□□.11
Instalarea televizorului pe perete.13
KD-85/75XG85□□,KD-75XG87□□.13
KD-65/55XG87□□,KD-65/55XG85□□.15
Confirmarea finalizarii instalarii. 18
Alte informati 18
Specifications 18
Instalarea televizorului pe perete
In functie de televizor, este posibil ca procedura de instalare sa differe.
Utilizati dispositivul de montare pe perete SU-WL450 pentru instalarea televizorului pe perete.
Notă
Depozitati suruburile demontate intr-o locatie sigura, fara a le lasa la indemana copilor.
Pregătirea pentru instalare
Tinenla indemana ghidul de referinta sighidul de configurare a televizorului inainte de a incepe instalarea.
- Inainte de asamblare, pregati o surubelnita tip Phillips adevata suruburilor.
- Confirmatu pozita de instalare a televizorului.
- Pregati patru sau mai multe suruburi cu diametral de 8 mm si un surub cu diametral de 5 mm sau echivalent (nu sunt furnizate). Selectati suruburi corespunzanoare pentru materialul peretelui.
Verificarea pieselor
Furnizat cu SU-WL450
| A Bază (20) (1) B Troli | iu (2) |
| © PSW 6x20 (4) © PSW 4x20 cu buçșă (2) | Curea (1) |
| E Distanțier (20) (2) E | H PSW 4x20 (2) |
| G Bucșă (20) (M4) (2) | PSW 4x10 (8) |
| I Adaptor bază (2) I | PSW 6x50 (2) |
| K Distanțier (60) (2) K | PSW 6x50 (2) |
| M Bucșă (M4) (2) N PSW 4x50 (2) |
Stabilirea locatiei de instalare
1 Stabiliti locaia de instalare.
Asigura-va cã peretele dispune de spatiu sufficient pentru televizor si cã poate sustine o greutate de cel putin patru ori mai mare decat cea a televizorului.
Consultaţi tabelul următor pentru instalarea televizorului pe perete. Consultaţi ghidul de referinta al televizorului pentru a determinina greutatea acestuia.

Unitate: mm
| Numele modelului | Dimensiunea ecranului | Dimensiunea centrală a ecranului | Lungime pentru montaj | |||
| a | b | c | d | e | ||
| Montaj standard | Montaj pe suport subțire | |||||
| KD-85XG85☐☐ | 1.909 | 1.097 | 251 | 803 | 142 | 100 |
| KD-75XG87☐☐ | 1.673 | 963 | 107 | 595 | 116 | 75 |
| KD-75XG85☐☐ | ||||||
| KD-65XG87☐☐ | 1.450 | 836 | 99 | 523 | 115 | 73 |
| KD-65XG85☐☐ | ||||||
| KD-55XG87☐☐ | 1.231 | 713 | 106 | 468 | 115 | 73 |
| KD-55XG85☐☐ | ||||||
Notă
- Este posibil ca valorile din tabel sá fie uşor diferite, in functie de instalare.
Cand televizorul este instalat pe perete, partea superioara a acestua se inchina uor inaine.
Lasauni un spatiu liber sufficienti ntre televizor si tavan si partile proeminente ale peretelui, a sa cum se arata mai jos.
Unitate: mm

-
Pentru asigurarea unei ventilatiu adevate si pentru a preveni accumulare de murdarie sau graf:
-
Nu amplasati televizorul pe podea, nu il instalati in poztie rasturnata, cu spatele sau pe o parte.
- Nu amplasati televizorul pe un raft, covor, pat sau intr-un dulap.
- Nu acoperiti televizorul cu un material, precum perdele, ori obiecte precum ziare etc.
- Nu instalati televizorul aça cum se arata mai jos.
Circulatia aerului esteblocata.

Notă
- Daca intentionati sa orientati cablurile prin perete, realizati un orificiu in perete pentru introducerea cablurilor inainte de a incepe instalarea. Pentru a preveni ciuperea/perforarea cablurilor, pregati un orificiu in perete undeva in afara perimetrului bazei (20) , adaptor baz 已 si a distantierului (20) (E) , a distantierului (60)
2 Selectaţi stilul de montare pe perete. Distanţa de la partea din spate a televizorului la perete poate fi selectata conform imaginii de mai jos.
2-a Montaj standard 2-b Montaj pe suport subtire Consultati pasul 1 din tabel.
AVERTISMENT
Cand se selecteaza 2-b, accesul la terminalul din spate este limitat.

3 Consultaţi tabelul de mai jos privind locaţia de montare a adaptorului de bază. Daca se selectează 2-b, omiteti acest pas.
| Numele modelului Cârlig locație | |
| KD-85XG85☐☐ | |
| KD-75XG87☐☐ | a |
| KD-75XG85☐☐ | |
| KD-65XG87☐☐ | |
| KD-65XG85☐☐ | b |
| KD-55XG87☐☐ | |
| KD-55XG85☐☐ | |

Montaţi adaptorul de bază (1) cu ajutorul surubului (PSW 4x10) (2) pe bază (20) (3) atunci cand selectaţi 2-a.

4 Stabiliti poziile suruburilor pentru instalarea bazei (20) A.
Consultatu speficatiie de la pagina 18. Cand selecu 2-a,utilizati poziile gaurilor de la adaptorul de baz 山
AVERTISMENT
-
Peretele pe care va fi montat televizorul trebuie sào poata sustine o greutate de cel putin patru ori mai mare decat cea a televizorului (Consultatu ghidul de referinta al televizorului pentru a-i determina greutatea.).
-
Determinati rezistenta peretelui pe care urmeazà fi montat televizorul. Considati in masura suficientá peretele, dacá este besoinar.
Instalarea bazei pe perete
Utiliziati patru sau mai multe suruburi cu diametrul de 8 mm sau echivalent (nu sunt furnizate).
Montaţi patru Šuruburi la orificiile adaptorului de bază ① Cu baza (20) A (numai 2-a).
- Installa baza (20) ④ horizontal pe perete.


Pregătirea instalării televizorului
Consultati ghidul de configurare pentru instalarea suportului.
KD-85/75XG85□□,KD-75XG87□□
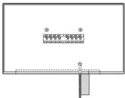
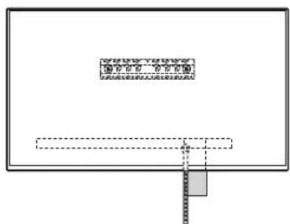
1 Marcaşi pe perete locul in care veti monta televizorul.
- Folosiţi bandă de marcare (neinclusă) sau produse similare pentru amarca locul televizorului in aproprierea bazei sau a adaptorului de bază. Consultati tabelul de mai jos.

| Unitate: mm | ||
| Numele modelului | Lungime pentru marcare | Dimensiunea centrală a ecranului |
| a b c | d | |
| KD-85XG85☐☐ | 1.909 683 200 251 | |
| KD-75XG87☐☐ | 1.673 468 200 107 | |
| KD-75XG85☐☐ | ||
2 Demontati suruburile din partea din spate a televizorului.

3 Montați piesele de fixare pentru disposizitivul de montare pe perete. Verificatiți piesele de fixare consultandi „Furnizat cu SU-WL450" din „Verificarea pieselor" de la-page 5.
Notă
Fixati bine piesele de prindere folosind sububuri.
Candutilizati o surubelnita electrica, setati cuplul la aproximativ 1,5 N-m{15 kgf-cm}.
- Păstrati piesele folosite sau nefolosite intr-un loc sigur, pentru a le putea utilize pe viitor. Păstrati acest manual pentru consultare ulterioară.

Montaj standard (2-a)
Montaj pe suport subtiire (2-b)
Notă
- Nu puteti utilizes unele mufe de pe partea din spate a televizorului atunci cand il instalati cu minimum de spatiu liber.


4 Conectati la televizor cablul necesar sau caburile necessities.
Conecta caburile inainte de instalarea televizorului pe perete. Nu veți putea conecta caburile cand televizorul este instalat.
Consultati ghidul de referinta furnizat cu televizorul.
Notă
- Pozarea cablurilor in perete se va efectua de catre un contractor licentiat.
- Inainte de montarea pe perete, legati caburile de conectare, pentru a nu calca pe ele.
5 Demontaşi suportul de masă de la televizor.
- Scoatei pe ränd câte o parte laterala a suportului de masă. Tineni bine suportul de masă cu ambele maiini in tamp ce persona sau personele care va ajută ridică televizorul.

KD-85XG85□□

KD-75XG87□□,KD-75XG85□□
- Repetai pasul anterior si scoatei cealalta parte laterala a suportului de masă.
Notă
- Trei sau mai multe persone sunt necesare pentru a detasa suportul de masă.
-Avei grijsa nuutilazi fortae excessiva in timpe detasa suportul de masain televizor,deoarece poate cauzcaderea televizorului,rezultandinvatamari corporale saudeteriorareatelevizorului. - Aveci grijatunci cand manipulati suportul de masa pentru a preveni deteriorarea televizorului.
- Ridicatu c grijia televizorul, pentru ca suportul de masa este desprins si se poate rasturna,provocand vatamari corporale.
- Demontatu cugija suportul de masa de la televizor, pentru a evita caderea acestua si deteriorarea suprafetei pe care este asezat televizorul.
KD-65/55XG87□□
KD-65/55XG85□
1 Demontati suruburile din partea din spate a televizorului.

2 Montați piesele de fixare pentru disposizitivul de montare pe perete. Verificatiți piesele de fixare consultandi „Furnizat cu SU-WL450" din „Verificarea pieselor" de la-page 5.
Notă
Fixati bine piesele de prindere folosind sububuri.
Candutilizatiogurubelinitaelectrica,setaicupulla aproximativ1,5N-m{15kgf-cm}.
- Păstrati piesele folosite sau nefolosite intr-un loc sigur, pentru a le putea utilizinga pe viitor. Păstrati acest manual pentru consultare ulterioara.

Montaj standard (2-a)
Montaj pe suport subtire (2-b)
Notă
- Nu puteti utilizes unele mufe de pe partea din spate a televizorului atunci cand il instalati cu minimum de spatji liber.


3 Conectati la televizor cablul necesar sau caburile necessities.
Conecta caburile inainte de instalare televizorului pe perete. Nu vei putea conecta caburile cand televizorul este instalat.
Consultati ghidul de referinta furnizat cu televizorul.
Notă
- Pozarea caburilor in perete se va efectua de catre un contractor licentiat.
- Inainte de montarea pe perete, legati caburile de conectare, pentru a nu calca pe ele.
4 Demontaşi suportul de masă de la televizor.
- Scoateti pe ränd câte o parte laterala a suportului de masă. Tiniţi bine suportul de masă cu ambele maiin in temp ce persona sau personeile care va ajută ridică televizorul.

- Repetai pasul anterior si scoatei cealalta parte laterala a suportului de masă.
Notă
- Trei sau mai multe persone sunt necessare pentru a detasa suportul de masă.
Avei grijsa nuutilizati fortexcesiva in timp ce detasa suportul de mas din tevizor, deoarepe poate caza caderea tevizorului, rezultand invatamari corporale sau deteriorarea tevizorului.
Aveeti grijata unci cand manipulati suportul de masapentru a preveni deteriorarea televizorului. - Ridicatu gi grijta televizorul, pentru ca suportul de masa este desprins si se poate rasturna, provocand yatamari corporale.
- Demontatu cu grijsa suportul de masa de la televizor, pentru a evita caderea acestua si deteriorarea suprafetei pe care este asezat televizorul.
Instalarea televizorului pe perete
KD-85/75XG85□□,KD-75XG87□□
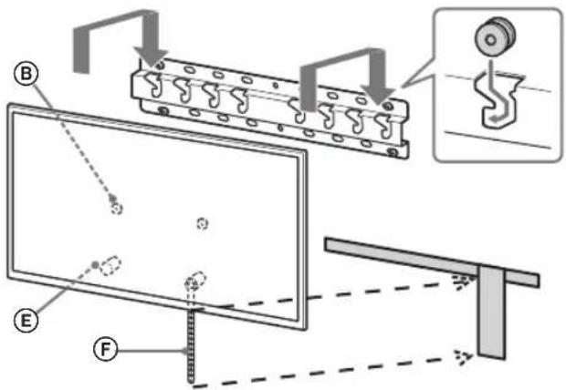
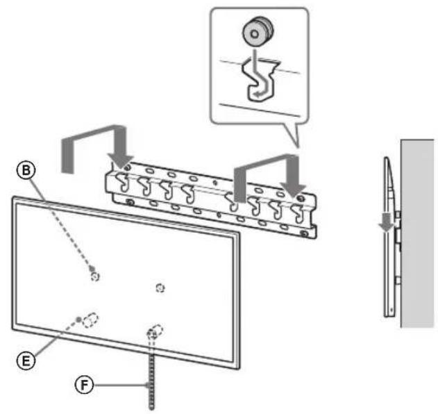
1 Ridicati televizorul.
- Pentru amplasarea troliului (B) pentru suspendarea bazei sau a adaptorului de bază, consultati tabelul de la pasul 3 din sectiunea „Stabilirea locatiei de instalare" de la pagina 7.
- Atunci cand tineti televizorul, asigurati
va că partea din spate a acestuia atinge
baza sau adaptorul de bază.
Notă
Tineni bine televizorulcu ambele maini si asigurati-vacapartea de jos a televizorului si cureaua F sunt aliniate cu banda de mascare.
- Televizorul trebuie tinut de trei persone, iar persona din fata tevizorului trebuie sa le indices celoralti cum sa regleze pozitia.

- Persoanele care montează televizorul trebuie să procedeze cu mare grijă, mai ales persona care sustîne televizorul de jos, deoarece televizorul poate cădeași poate cauza vătãmări corporale grave sau chiar deces.

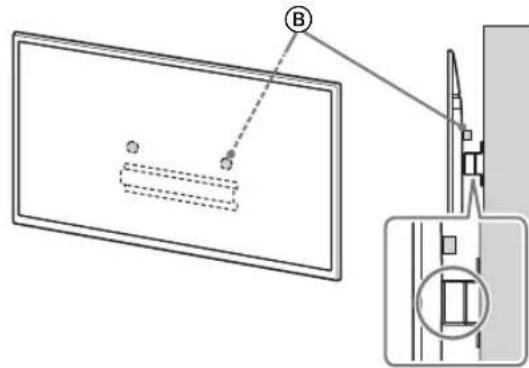
2 Montaţi televizorul pe bază sau pe adaptorul de bază.
- Impingeti uşor televizorul in jos.si fixaṭi troliul ⑧ montat pe spatele televizorului pe bază sau pe adaptorul de bază, avánd grijă să-l potriviti in găuri.
- După instalarea televizorului pe perete, verificati că troliul ⑧ este ferm fixat pe bază sau pe adaptorul de bază.
Luati incet mainile de pe televizor,
pentru a va asigura ca acesta nu cade.

- Dupa montarea televizorului pe perete, indeparta ti banda de mascare sau produsele similare.

2-a

↓


↓

↓

2-b



↓

↓

↓
AVERTISMENT
- Pentru a transporte televizorul, acesta trebuie tinit de doua sau mai multe persone (trei sau mai multe persone pentru televizuarele cu diagonală de 75 de inci sau mai mare).

3 Prevenirea alunecarii partii de jos a televizorului.
Luati partea netensionata a curea sifixati-o ferm pe perete.


Utilizi un surub cu diametrul de 5 mm Sau echivalent (nu este furnizat).
Notă
- Incercati sà trageti uşor partea de jos a televizorului spre dumneavoastrà, pentru a va asigura că nu se deplaseaza inainte. Daca survine o miscare, aparatul nu este corect fixat, iar curea (trebuie fixata ferm din nou.
KD-65/55XG87□□
KD-65/55XG85□
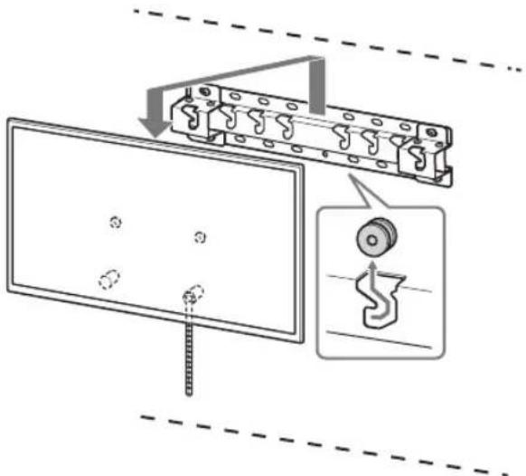
1 Ridicatu televizorul.
- Pentru amplasarea troliului (B) pentru suspendarea bazei sau a adaptorului de bază, consultati tabelul de la pasul 3 din sectiunea „Stabilirea locatiei de instalare" de la pagina 7.
- Atunci cand tini televizorul, asigurativa ca partea din spate a acestua atinge baza sau adaptorul de baz.

Notă
Tineni bine televizorul cu ambele maii.
2 Montaţi televizorul pe bază sau pe adaptorul de bază.
- Impingeti uşor televizorul in jos.si fixati troliul 8 montat pe spatele televizorului pe bază sau pe adaptorul de bază, avand grijă să-l potriviti in găuri.
- După instalarea televizorului pe perete, verificati ca troliul ⑧ este ferm fixat pe bază sau pe adaptorul de bază.
Luati incet mainile de pe televizor,
pentru a va asigura ca acesta nu cade.


2-a

2-b

↓

↓
AVERTISMENT
- Pentru a transporte televizorul, acesta trebuie tinit de doua sau mai multe persone (trei sau mai multe persone pentru televizuarele cu diagonală de 75 de inci sau mai mare).

3 Prevenirea alunecarii partii de jos a televizorului.
Luata partea netensionata a curea sifixati-o ferm pe perete.


Utilizi un surub cu diametrul de 5 mm Sau echivalent (nu este furnizat).
Notă
- Incercati sà trageti uşor partea de jos a televizorului spre dumneavoastrà, pentru a va asigura că nu se deplaseaza inainte. Daca survine o miscare, aparatul nu este corect fixat, iar curea Ftrebuie fixata ferm din nou.
Confirmarea finalizării instalării
Verificati urmatoarele aspecte.
- Troliul (B) este suspendat ferm pe bază sau pe adaptorul de bază.
- Firul Şi cablul nu sunt răsucite sau ciupite/ perforate.
- Curea (F) este stransa, fara portiuni netensionate.
AVERTISMENT
- Amplasarea incorcêa a cablului de alimentare in current alternative etc. poate cauza incendiu sau socuri electrice prin intermediul unui scurtcircuit. Din motive de siguranță, verificati finalizarea instalării.
Alte informaţii
La demontarea televizorului, parcurgeti procedura de instalare in sens invers.

AVERTISMENT
- Pentru a demonta televizorul, acesta trebuie tinut de doua sau mai multe personane (trei sau mai multe personane pentru televizoarele cu diagonală de 75 de inci sau mai mare).
Specifications

Dimensiuni: (aprox.) [mm]
a : 400
b : 300
c:200
d : 100
e:80
f:480
g : 100
h1 : 20 (casetă 2-b)
h2:60 (caseta 2-a)
Greutate (numai baza): (aprox.) [kg]
0.8
Structura 山 specificatiile se pot modifica fara preaviz.
ManualUșor