DC759KA - Cordless drill driver DEWALT - Free user manual and instructions
Find the device manual for free DC759KA DEWALT in PDF.
Download the instructions for your Cordless drill driver in PDF format for free! Find your manual DC759KA - DEWALT and take your electronic device back in hand. On this page are published all the documents necessary for the use of your device. DC759KA by DEWALT.
USER MANUAL DC759KA DEWALT
DC727
DC728
DC729
DC756
DC757
DC759
Dansk 6
Deutsch 13
English 21
Espanol 29
Français 37
Italiano 45
Nederland 53
Norsk 61
Portugues 68
Suomi 76
Svenska 83
Türkce 90
Elambdaviika 98

A




B


C
D

E

F
OPLADELIG SLAGBOREMASKINE/ SKRUETRAEKKER DC727/DC728/DC729/ DC756/DC757/DC759
Tillykke!
DC727/DC728/DC729/DC756/DC757/DC759
AKKU-SCHLAGBOHRSCHRAUBER DC727/DC728/DC729/DC756/DC757/DC759
DC727/DC728/DC729/DC756/DC757/DC759
You have chosen a DeWALT power tool. Years of experience, thorough product development and innovation make DeWALT one of the most reliable partners for professional power tool users.
Technical data
| DC727 | DC728 | DC729 | DC756 | DC757 | DC759 | ||
| Voltage | V | 12 | 14.4 | 18 | 12 | 14.4 | 18 |
| No load speed | |||||||
| 1st gear | min-1 | 0-400 | 0-400 | 0-400 | 0-400 | 0-400 | 0-400 |
| 2nd gear | min-1 | 0-1,400 | 0-1,400 | 0-1,400 | 0-1,400 | 0-1,400 | 0-1,400 |
| Max. torque | Nm | 32 | 35 | 40 | 35 | 40 | 44 |
| Chuck capacity | mm | 10 | 10 | 10 | 13 | 13 | 13 |
| Maximum drilling capacity in steel/wood | mm | 10/25 | 10/32 | 10/38 | 13/28 | 13/35 | 13/38 |
| Weight (without battery pack) | kg | 1.4 | 1.4 | 1.4 | 1.4 | 1.4 | 1.4 |
| NiCd battery pack | DE9074 | DE9094 | DE9098 | |
| Voltage | V | 12 | 14.4 | 18 |
| Capacity | Ah | 1.3 | 1.3 | 1.3 |
| Weight | kg | 0.55 | 0.6 | 0.87 |
| NiCd battery pack | DE9071 | DE9091 | DE9095 | |
| Voltage | V | 12 | 14.4 | 18 |
| Capacity | Ah | 2.0 | 2.0 | 2.0 |
| Weight | kg | 0.65 | 0.7 | 1.0 |
| NiMH battery pack | DE9037 | DE9038 | DE9039 | |
| Voltage | V | 12 | 14.4 | 18 |
| Capacity | Ah | 3.0 | 3.0 | 3.0 |
| Weight | kg | 0.65 | 0.7 | 0.97 |
The following symbols are used throughout this manual:

Denotes risk of personal injury, loss of life or damage to the tool in case of non-observation of the instructions in this manual.

Denotes risk of electric shock.
| Charger | DE9107 | DE9116 | DE9118 | |
| Mains voltage | VAC | 230 | 230 | 230 |
| Approx. charging time | min | 60 | 60 | 60 |
| Weight | kg | 0.4 | 0.4 | 0.4 |
| Fuses: | |
| Europe | 230 V tools 10 Amperes, mains |
| U.K. & Ireland | 230 V tools 3 Amperes, in plugs |
EC-Declaration of conformity

DC727/DC728/DC729/DC756/DC757/DC759
DeWALT declares that these power tools have been designed in compliance with: 98/37/EEC, 89/336/EEC, 73/23/EEC, EN 60745, EN 55014-2, EN 55014, EN 50260, EN 60335, EN 61000-3-2 & EN 61000-3-3.
For more information, please contact DeWALT at the address below, or refer to the back of the manual.
| DC727 | DC728 | DC729 | ||
| DC756 | DC757 | DC759 | ||
| LDA (sound pressure) | dB(A)* | 79 | 79.6 | 80.1 |
| LWA (acoustic power) | dB(A) | 92 | 92.6 | 93.1 |
| Weighted RMS acceleration value | m/s2 | < 2.5 | < 2.5 | < 2.5 |
- at the operator's ear
| KpA (sound pressure uncertainty) | dB(A) | 2.8 |
| KwA (acoustic power uncertainty) | dB(A) | 2.8 |
Director Engineering and Product Development Horst Großmann
X. fiojma
DeWALT, Richard-Klinger-StraBe 40, D-65510, Idstein, Germany
General safety rules
Warning! Read all instructions. Failure to follow all instructions listed below may result in electric shock, fire and/or serious injury. The term «power tool» in all of the warnings listed below refers to your mains operated (corded) power tool or battery operated (cordless) power tool. SAVE THESE INSTRUCTIONS.
1 Work area
a Keep work area clean and well lit. Cluttered and dark areas invite accidents.
b Do not operate power tools in explosive atmospheres, such as in the presence of flammable liquids, gases or dust. Power tools create sparks which may ignite the dust or fumes.
c Keep children and bystanders away while operating a power tool. Distractions can cause you to lose control.
2 Electrical safety
a Power tool plugs must match the outlet. Never modify the plug in any way. Do not use any adapter plugs with earthed (grounded) power tools. Unmodified plugs and matching outlets will reduce risk of electric shock.
b Avoid body contact with earthed or grounded surfaces such as pipes, radiators, ranges and refrigerators. There is an increased risk of electric shock if your body is earthed or grounded.
c Do not expose power tools to rain or wet conditions. Water entering a power tool will increase the risk of electric shock.
d Do not abuse the cord. Never use the cord for carrying, pulling or unplugging the power tool. Keep cord away from heat, oil, sharp edges or moving parts. Damaged or entangled cords increase the risk of electric shock.
e When operating a power tool outdoors, use an extension cord suitable for outdoor use. Use of a cord suitable for outdoor use reduces the risk of electric shock.
3 Personal safety
a Stay alert, watch what you are doing and use common sense when operating a power tool. Do not use a power tool while you are tired or under the influence of drugs, alcohol or medication. A moment of inattention while operating power tools may result in serious personal injury.
b Use safety equipment. Always wear eye protection. Safety equipment such as dust mask, non-skid safety shoes, hard hat, or hearing protection used for appropriate conditions will reduce personal injuries.
c Avoid accidental starting. Ensure the switch is in the off position before plugging in.
Carrying power tools with your finger on the switch or plugging in power tools that have the switch on invites accidents.
d Remove any adjusting key or wrench before turning the power tool on. A wrench or a key left attached to a rotating part of the power tool may result in personal injury.
e Do not overreach. Keep proper footing and balance at all times. This enables better control of the power tool in unexpected situations.
f Dress properly. Do not wear loose clothing or jewellery. Keep your hair, clothing and gloves away from moving parts. Loose clothes, jewellery or long hair can be caught in moving parts.
g If devices are provided for the connection of dust extraction and collection facilities, ensure these are connected and properly used. Use of these devices can reduce dust related hazards.
4 Power tool use and care
a Do not force the power tool. Use the correct power tool for your application. The correct power tool will do the job better and safer at the rate for which it was designed.
b Do not use the power tool if the switch does not turn it on and off. Any power tool that cannot be controlled with the switch is dangerous and must be repaired.
c Disconnect the plug from the power source before making any adjustments, changing accessories, or storing power tools. Such preventive safety measures reduce the risk of starting the power tool accidentally.
d Store idle power tools out of the reach of children and do not allow persons unfamiliar with the power tool or these instructions to operate the power tool. Power tools are dangerous in the hands of untrained users.
e Maintain power tools. Check for misalignment or binding of moving parts, breakage of parts and any other condition that may affect the power tools operation. If damaged, have the power tool repaired before use. Many accidents are caused by poorly maintained power tools.
f Keep cutting tools sharp and clean. Properly maintained cutting tools with sharp cutting edges are less likely to bind and are easier to control.
g Use the power tool, accessories and tool bits etc., in accordance with these instructions and in the manner intended for the particular type of power tool, taking into account the working conditions and the work to be performed. Use of the power tool for operations different from those intended could result in a hazardous situation.
5 Battery tool use and care
a Ensure the switch is in the off position before inserting battery pack. Inserting the battery pack into power tools that have the switch on invites accidents.
b Recharge only with the charger specified by the manufacturer. A charger that is suitable for one type of battery pack may create a risk of fire when used with another battery pack.
c Use power tools only with specifically designated battery packs. Use of any other battery packs may create a risk of injury and fire.
d When battery pack is not in use, keep it away from other metal objects like paper clips, coins, keys, nails, screws, or other small metal objects that can make a connection from one terminal to another. Shorting the battery terminals together may cause burns or a fire.
e Under abusive conditions, liquid may be ejected from the battery; avoid contact. If contact accidentally occurs, flush with water. If liquid contacts eyes, additionally seek medical help. Liquid ejected from the battery may cause irritation or burns.
6 Service
a Have your power tool serviced by a qualified repair person using only identical replacement parts. This will ensure that the safety of the power tool is maintained.
Additional safety instructions for battery packs

Fire hazard! Avoid metal short circuiting the contacts of a detached battery pack. Do not store or carry the battery pack without the battery cap placed over the contacts.
- The battery fluid, a 25 - 30% solution of potassium hydroxide, can be harmful. In case of skin contact, flush immediately with water. Neutralize with a mild acid such as lemon juice or vinegar. In case of eye contact, rinse abundantly with clean water for at least 10 minutes. Consult a physician.
- Never attempt to open a battery pack for any reason.
- Use only chargers labelled «NiMH» or «NiMH + NiCd» to charge DeWALT NiMH battery packs.
Labels on charger and battery pack
In addition to the pictographs used in this manual, the labels on the charger and the battery pack show the following pictographs:

Battery charging

Battery charged

Battery defective

Do not probe with conductive objects

Do not charge damaged battery packs

Read instruction manual before use

Use only with DEWALT battery packs, others may burst, causing personal injury and damage

Do not expose to water

Have defective cords replaced immediately

Charge only between 4^ and 40^

Discard the battery pack with due care for the environment

Do not incinerate the battery pack
Package contents
The package contains:
1 Cordless midhandle drill/driver
1 Battery charger
2 Battery packs
1 Screwdriver bit
1 Kitbox
1 Instruction manual
1 Exploded drawing
- Check for damage to the tool, parts or accessories which may have occurred during transport.
- Take the time to thoroughly read and understand this manual prior to operation.
Description (fig. A)
Your cordless drill/driver DC727/DC728/DC729/
DC756/DC757/DC759 has been designed for
professional drilling and screwdriving applications.
1 Variable speed switch
2 Forward/reverse slider
3 Two gear selector
4 Mode selector/torque adjustment collar
5 Collar settings
6 Keyless chuck
7 Bit holder
8 Grip
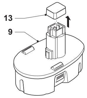
9 Battery pack
Charger
Your DE9107 charger accepts DEWALT NiCd battery packs ranging from 7.2 V to 14.4 V.
Your DE9118 charger accepts DeWALT NiCd battery packs ranging from 7.2 V to 14.4 V.
Your DE9116 charger accepts DeWALT NiCd and NiMH battery packs ranging from 7.2 V to 18 V.
9 Battery pack
10 Release buttons
11 Charger
12 Charging indicator (red)
Auto-spindle lock
The auto-spindle lock is engaged when the transmission is stationary. The chuck sleeve can easily be turned with one hand while the other supports the unit.
Electrical safety
The electric motor has been designed for one voltage only. Always check that the battery pack voltage corresponds to the voltage on the rating plate. Also make sure that the voltage of your charger corresponds to that of your mains.

Your DeWALT charger is double insulated in accordance with EN 60335.
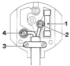
Mains plug replacement (U.K. & Ireland only)
- Should your mains plug need replacing and you are competent to do this, proceed as instructed below. If you are in doubt, contact an authorized DeWALT repair agent or a qualified electrician.
- Disconnect the plug from the supply.
- Cut off the plug and dispose of it safely; a plug with bared copper conductors is dangerous if engaged in a live socket outlet.
- Only fit 13 Amperes BS1363A approved plugs fitted with the correctly rated fuse (1).
- The cable wire colours, or a letter, will be marked at the connection points of most good quality plugs. Attach the wires to their respective points in the plug (see below). Brown is for Live (L) (2) and Blue is for Neutral (N) (4).
- Before replacing the top cover of the mains plug ensure that the cable restraint (3) is holding the outer sheath of the cable firmly and that the two leads are correctly fixed at the terminal screws.


Never use a light socket.
Never connect the live (L) or neutral (N) wires to the earth pin marked E or 1 .
Using an extension cable
An extension cord should not be used unless absolutely necessary. Use an approved extension cable suitable for the power input of your charger (see technical data).
The minimum conductor size is 1mm^2 the maximum length is 30~m
Assembly and adjustment

- Prior to assembly and adjustment, always remove the battery pack.
Always switch off the tool before inserting or removing the battery pack.
- Use only DeWALT battery packs and chargers.
Battery pack (fig. A & B)
Charging the battery pack
- To charge the battery pack (9), insert it into the charger (11) as shown and plug in the charger. Be sure that the battery pack is fully seated in the charger, but do not force it.
The red charging indicator (12) will blink. After approx. 1 hour, it will stop blinking and remain on. The battery pack is now fully charged and the charger automatically switches to equalisation mode. After approx. 4 hours, it will switch to maintenance charge mode. The battery pack can be removed at any time or left in the connected charger indefinitely.
- The red charging indicator flashes rapidly to indicate a charging problem. Reinsert the battery pack or try a new one. If the new pack also refuses to charge, have your charger tested by an authorised DeWALT repair agent.
- When plugged into power sources such as generators or sources that convert DC to AC, the red charging indicator may blink twice, switch off and repeat. This indicates a temporary problem of the power source. The charger will automatically switch back to normal operation.

Do not charge the battery pack at ambient temperatures < 4^ or >40^ . Recommended charging temperature: approx. 24^ .
Inserting and removing the battery pack
- Insert the battery pack into the grip (8) until it clicks in place.
- To remove the battery pack, press the two release buttons (10) simultaneously and pull the pack out of the grip (8).
Battery cap (fig. B)
A protective cap is supplied to cover the contacts of a detached battery pack. Without the protective cap in place, loose metal objects could short circuit the contacts, causing a fire hazard and damaging the battery pack.
- Take off the protective cap (13) before placing the battery pack (9) in the charger or tool.
- Place the protective cap over the contacts immediately after removing the battery pack from the charger or tool.

Make sure the protective cap is in place before storing or carrying a detached battery pack.
Equalisation mode
The equalisation mode helps to maintain the optimum capacity of the battery pack. It is therefore recommended to use the equalisation mode weekly or every 10 charge/discharge cycles.
- Charge the battery pack as described above.
- When the charging indicator stops blinking, leave the battery in the charger for approx. 4 hours.
DE9116 - Hot Pack Delay
When the charger detects a battery that is hot, it automatically starts a Hot Pack Delay, suspending charging until the battery has cooled. After the battery has cooled, the charger automatically switches to the pack charging mode. This feature ensures maximum battery life. The red indicator (12) blinks long, then short while in the Hot Pack Delay mode.
Inserting and removing bits (fig. A & C)
- Open the chuck by turning the sleeve (14) counterclockwise and insert the bit shank.
- Place the bit in the chuck as far as it will go and lift slightly before tightening.
- Tighten firmly by turning the sleeve clockwise.
- To remove the bit, proceed in reverse order.
Selecting the operating mode or adjusting the torque (fig. D)
The collar of this tool has 17 positions for the adjustment of the torque to suit the size of the screw and the workpiece material. For torque adjustment, refer to the section «Screwdriving».
- Select the drilling mode or torque by aligning the symbol or number on the collar (4) with the indicator (15) on the housing.
Forward/reverse slider (fig. E)
- To select forward or reverse rotation, use the forward/reverse slider (2) as shown (see arrows on tool).

Always wait until the motor has come to a complete standstill before changing the direction of rotation.
Two gear selector (fig. F)
Your tool is fitted with a two gear selector (3) to vary the speed/torque ratio.
1 low speed/high torque (drilling large holes, driving screws)
2 high speed/low torque (drilling smaller holes)
For speed rates, refer to the technical data.

Always push the two gear selector completely forward or backward.
- Do not change gears at full speed or during use.
Instructions for use

- Always observe the safety instructions and applicable regulations.
- Be aware of the location of pipework and wiring.
- Apply only a gentle pressure to the tool.
Switching on and off (fig. A & E)
- To run the tool, press the variable speed switch (1). The pressure exerted on the variable speed switch determines the tool speed.
- To stop the tool, release the switch.
- To lock the tool in the off position, move the forward/reverse slider (2) to the central position.

The drill is equipped with a brake to stop the tool as soon as the variable speed switch is fully released.
Screwdriving (fig. A)
- Select forward or reverse rotation using the slider (2).
-
Set the collar (4) to position 1 and begin screwdriving (low torque).
-
If the clutch ratchets too soon, adjust the collar to increase the torque as required.
Drilling (fig. A)
- Select the drilling mode using the collar (4).
- Select forward rotation.
Drilling in metal
- Use a cutting lubricant when drilling metals. The exceptions are cast iron and brass which should be drilled dry.
Drilling in wood
- Use the appropriate type of drill bit.
Consult your dealer for further information on the appropriate accessories.
Maintenance
Your DEWALT Power Tool has been designed to operate over a long period of time with a minimum of maintenance. Continuous satisfactory operation depends upon proper tool care and regular cleaning.

Lubrication
Your power tool requires no additional lubrication.

Cleaning
- Unplug the charger before cleaning the housing with a soft cloth.
- Remove the battery pack before cleaning your power tool.
- Keep the ventilation slots clear and regularly clean the housing with a soft cloth.
Environment

Rechargeable battery pack
This long life battery pack must be recharged when it fails to produce sufficient power on jobs which were easily done before. At the end of its technical life, discard it with due care for our environment:
- Run the battery pack down completely, then remove it from the tool.
- NiCd and NiMH cells are recyclable. Take them to your dealer or a local recycling station. The collected battery packs will be recycled or disposed of properly.

Unwanted tools
Take your tool to an authorised DEWALT repair agent where it will be disposed of in an environmentally safe way.
GUARANTEE
30 DAY NO RISK SATISFACTION GUARANTEE
If you are not completely satisfied with the performance of your DeWALT tool, simply return it within 30 days, complete as purchased, to the point of purchase, for a full refund or exchange. Proof of purchase must be produced.
- ONE YEAR FREE SERVICE CONTRACT
If you need maintenance or service for your DeWALT tool, in the 12 months following purchase, it will be undertaken free of charge at an authorized DeWALT repair agent. Proof of purchase must be produced. Includes labour and spare parts for Power Tools. Excludes accessories.
- ONE YEAR FULL WARRANTY
If your DEWALT product becomes defective due to faulty materials or workmanship within 12 months from the date of purchase, we guarantee to replace all defective parts free of charge or, at our discretion, replace the unit free of charge provided that:
- The product has not been misused.
- Repairs have not been attempted by unauthorized persons.
- Proof of purchase date is produced. This guarantee is offered as an extra benefit and is additional to consumers statutory rights.
For the location of your nearest authorized DeWALT repair agent, please use the appropriate telephone number on the back of this manual.
Alternatively, a list of authorized DeWALT repair agents and full details on our after-sales service are available on the Internet at
www.2helpU.com.
TALADRO ATORNILLADOR/PERCUTOR SIN CABLE DC727/DC728/DC729/DC756/ DC757/DC759
Enhorabuena!
DC727/DC728/DC729/DC756/DC757/DC759
Director Engineering and Product Development Horst Großmann
X. fipn
DeWALT, Richard-Klinger-StraBe 40, D-65510, Idstein, Alemania
DC727/DC728/DC729/DC756/DC757/DC759
Pack-batteries charge

L'emballage content:
(Isolation double)-outils
Packs-batteries rechargeables
DC727/DC728/DC729/DC756/DC757/DC759
SNOERLOZE SCHROEF-/KLOPBOOR-MACHINE DC727/DC728/DC729/DC756/DC757/DC759
Gefeliciteerd!
DC727/DC728/DC729/DC756/DC757/DC759
DeWALT verklaart dat deutsche elektrische machines in overeenstemming zijn met: 98/37/EEG, 89/336/EEG, 73/23/EEG, EN 60745, EN 55014-2, EN 55014, EN 50260, EN 60335, EN 61000-3-2 & EN 61000-3-3.
Director Engineering and Product Development Horst Groflmann
X. fipssnn
DeWALT, Richard-Klinger-Strafle 40, D-65510, Idstein, Duitsland
DC727/DC728/DC729/DC756/DC757/DC759
DeWALT erklærer at disse elektroverktøyer er konstruert i henhold til: 98/37/EEC, 89/336/EEC, 73/23/EEC, EN 60745, EN 55014-2, EN 55014, EN 50260, EN 60335, EN 61000-3-2 & EN 61000-3-3.
Director Engineering and Product Development Horst Großmann
X. fipmmn
DeWALT, Richard-Klinger-StraBe 40, D-65510, Idstein, Tyskland
1 ARS FRI VEDLIKEHOLDSERVICE
DC727/DC728/DC729/DC756/DC757/DC759
A DeWALT declares que estas ferramentas electrolyticas foram concebidas em conformidade com 98/37/CEE, 89/336/CEE, 73/23/CEE, EN 60745, EN 55014-2, EN 55014, EN 50260, EN 60335, EN 61000-3-2 & EN 61000-3-3.
Director Engineering and Product Development Horst Großmann
X. fipmmn
DeWALT, Richard-Klinger-StraBe 40, D-65510, Idstein, Alemanha
Regras gerais de seguranca
DC727/DC728/DC729/DC756/DC757/DC759
Onneksi olkoon!
DC727/DC728/DC729/DC756/DC757/DC759
Director Engineering and Product Development Horst Großmann
X. fipssnn
DC727/DC728/DC729/DC756/DC757/DC759
DeWALT forklarar att dessa elverktyg ar konstruerade i overensstammelse med foljande normer: 98/37/EEC, 89/336/EEC, 73/23/EEC, EN 60745, EN 55014-2, EN 55014, EN 50260, EN 60335, EN 61000-3-2 & EN 61000-3-3.
Director Engineering and Product Development Horst Großmann
X. fipssnn
DeWALT, Richard-Klinger-StraBe 40, D-65510, Idstein, Tyskland
DC727/DC728/DC729/DC756/DC757/ DC759
DEWALT, bu elektrikli aletlerin 98/37/EEC, 89/336/EEC, 73/23/EEC, EN 60745, EN 55014-2, EN 55014, EN 50260, EN 60335, EN 61000-3-2 & EN 61000-3-3'e uygun olarak tasarlandıgün beyan eder.
DC727/DC728/DC729/DC756/DC757/DC759
DC727/DC728/DC729/DC756/DC757/DC759
H DeWALT oTi auta Ta nAektpika
epyaia oxEoiotnKav oumuwva uTIC oNdyieC: 98/37/EOK, 89/336/EOK, 73/23/EOK, EN 60745, EN 55014-2, EN 55014, EN 50260, EN 60335, EN 61000-3-2 & EN 61000-3-3.
Tia npiouootepeic nnpopopoeic,napakaaw aneuthetaveite otyn DEWALT otyn npakatw diuovon navatpeTe oTo Niow mepoc tou yxyeiioiu.
EasyManual