LT27 - χλοοκοπτικό DOLMAR - Δωρεάν εγχειρίδιο χρήσης
Βρείτε δωρεάν το εγχειρίδιο της συσκευής LT27 DOLMAR σε μορφή PDF.
Κατεβάστε τις οδηγίες για το χλοοκοπτικό σε μορφή PDF δωρεάν! Βρείτε το εγχειρίδιό σας LT27 - DOLMAR και πάρτε ξανά την ηλεκτρονική σας συσκευή στα χέρια σας. Σε αυτή τη σελίδα δημοσιεύονται όλα τα έγγραφα που απαιτούνται για τη χρήση της συσκευής σας. LT27 της μάρκας DOLMAR.
ΕΓΧΕΙΡΊΔΙΟ ΧΡΉΣΗΣ LT27 DOLMAR
△wote iiaitepn φροντίδα και πιροσχ!

Atayopeueta!

Noté μνxροιμοτοίησετε μεταλλίκες λάμες.
FevikéoOnyieC
-iaaote auto to exyepio oyniw yia va eoikeiweitee tev xeiipuo Tns oukeun. Ox npatec oi otiooi dev iaetouv etapkn evnepwn 0a Teouv o Kivuvo Touc eautouc touc kai Touc aalouc loyw tou akatannau Xeiipou.
-Suviotatalva daveicete noukeun mvo ota atoia Tou exouv aTodoeiyevn eTTeipia oTo xeiipioTOg.
Flavote va npapaidetai to yxepidio onyiwv.
- OI xpnoTeC TIOU TO xpnoiopoToIOuV ia IpiWtN opa Ta IptTIE va ZnTOUV aTTOV MEATIWANTI C BaoKeOOnyieC YIA VA EoIKeIWToUV ME TO XeipioMo TWXLOOKOTTIKwV.
- 2ta naiia kai vap a topa katw twv 18 etwveb0 t peitie va touc eTTPTETAI n xpnon tsoukeun. Ta atoja me naikia Tavw ato 16 etw v aTTOOauva xnpoiotoinouov tvuokueh yia EKTAIDEUTIKOUC OKOTOUC, KATW ATO TIV ETIJIeUeN Evoc EmuTeipoukTAIDeut.
-XpnooioiOte μe tn eyaUtepn duvatn povtida kai TPOOxH.
- XeipioTeite mOvo otav BiPiokeote oE kaH puoiKn katoaon. EKeTaeote oaes TIC epyaocE me npEua KAI pooox. O xpOtns Thewpeirai UTeuOuvoc via Touc aalouc.
-Noté vα μην xροιομοιοί έτητη τη συοκεύν Μετα αῦτην κατανλωσαλκολ ἡ φαρμακων, ἡ εαν αἰδανεότε Κουραμεύνοι ἡ οτε Σαθενείς. -H εθυκίννομθεσία μπορείνα περιοί Ει πρόσι Ει τη xρήσι του μŋxανηματος.
Ppooipzoeyn xnpn tou uXavnpatos
H oukeun autn ppoopieetai mvo yia nV KOITYpaOIOU KAI eAaepiCs BlaotnoC. dEv PPETeI VA xpniOIOInOEY iAAoUs oKOTouc OTWc KOITN akpwv n Ppaktw v ETEID mTOpei va PpOKaEeI TpaumIo.
PpOoWtIKoc TPOoTateutIKoc EoTIAIOc
- O pouxioos Tou opateo Tpéttei va elvai aeitoupyikoc kai katana, odhaon va eivai expapoootc aaaa vau mnu aac napetmuobici. Mnu popate kounpata n pouxa ta otoia μtlopovva mllextouv mea otous tauvouc n OToucs batous.
-Γa TnV TPOOATAIou Tpaunaiouu Tc KepaHs,Tuv MAtiw,N Tuv TIOW KaeiNc KaT NTV TPOAOTAIa Tc AOKs KATa NTV LEITOpvia, Ta TpTeIva XpOaIOITOnei O Tnpakatw TPOATEUTKOC EGOTIAIOc KAI O TPOATETUKOSPOUIOc KATa Tov Xeipioo Tc SuokueNs. - NaVTOTE va opopate kpaovoc otou utapxie o kivduvoc nTn TTWAnc avTIkeiEvw. To kpaovoc (1) 0a TpTeIE va EAEyXeTaY ia TIV UTAPEn ΣniAs katia katoia xpoviKa diaotnata Kai 0a TpTeIE va avtikataotaeei TouAixiotov mTa ato 5 xpvia. XpnaiuToIOeite Movo EYKEpiEva TPOOTATEUTKk KaPVn.
-H TPOOWTIa (2) TOKpavouc (n evaaakTKiA TPOoTAEUTIKA yuaia) TPOOTATEUEI TO PPOoWTO AIO TA OpaUoata KAI TIEPTEC TIO IITAVTAI. Kata TOV Xeipio, TAVTOVE VApopate TPOoTAEUTIKA yuaia n TPOoWTIa YIA TIV aTOPOuyN TOU TpaUaTIOu TOW paIWv.
-Φopate tov atapaitno Εoattiao ppoataiα εavvi a 06pbo yia tv atopuyn pokknaç βaβnc styn akon (tpoatautiká etikaalmuata autuv (3), wtoaotides kT.).
-H 花 _ 1 ^ 分 epyaic4 (4) TPOoTATEUEI aTO TIC NTETPEC KAI TA Opaouaata Tnou nattai. ouotnvoue avetipuakraTnTv xpnan nTc fopuae pyaaiaacto xpnatn.
-Ta yavia (5) aToteauov npouuviotuwevou eotaioukai Tpentei TAVOTE va opiouvtai kata to xepio. - Kata nV xpHON TNS OUKKEUNs, NAVTOE VA pOpATE AVKETIKA TATOUTOA (6) ME AVTIOAOHTNIKES OAEs. Auta TPOOTATEUOV EVAVTI TWV TPAUAPATIOW KAI DIAQPAJIIGOU TO KALO TATNJA.
Ekkivnən tou ovik ntou ok tiko
Φpovriote wote va mny utrapxouv naia n aaaa atota ma eoa oia antoataan epyaaic 15 metpwv (50 trowv), etianc dwt npoooh otat otoiahntote zwa mea ontv tepioxn epyaiaac.
-πριν ατό τη χρον έλέγχετε πάντος ὄπη συσκεύη εἰναι αφαλής γία εργασία:
EeYTe TnV aopaleia Tou KOTIKOU PPOaaptmuoT, To moXTo Tou YkacIoY iA TnV Ekoia 0paonKai EEvTe TnV KAaALAn Aeioupyikotnta Tns aopaleias Tou poXoTu Tou ykaiou.
- Antayopeueta n Tepiopopn Tou KOTTIKOU TPOaaptmaTcKa ta To peAvt. Eav exete aqphiBolia ateuvtheta tOv meTawntn oac yia tn puThion. Eeyete ta xepoula wote va eivai kaapaa kai npa kai bokiaote n Aetoupyia Tou dakontn EkkivnoC/otaatmaToc.





(3)


(5)

(6)

Diaypaatikéikova
-3EkvnoTe To o k o v i n t o x o o k o n t i k o o a T i c o d n y i e s.
MnV xnpoiotoinote oioieodnote aalec meoobouc via va ekvnoetov kivntnpa!
XpnoiotoinoEToBeVzivokivnToXlookottikokai taepyaleia mOvoviatis KaBopioeves eapuoyec.
-3ekivnToTov kivtnpa mOvo apotou ookAnpwtheta npwoc n auvapuoyoyn. H aeitoupya ts ouakeunc eittpeetatao apotou auvdeoouv ola ta katdaanlae eapntmuata!
- IVI TO EKIVnJa, BEEauiBeTe OTI TO KOTTIKO TPOoapTnJa DE BV PIaEKATAE ETApH ME OKnpa AvtkeiEvA OTIWc KAAia, TEPEK KTA ETEID To KOTTIKO TPOoapTnJa THa TEPiOAPeI KATa TIVkEKNJ.
-O KIVnnpaosBnyeiaueowocTny Tepittwn Tou ououv uynavikata PpoBnmuata.
-Eav to KOTNIKO TPOOAPNTMA XUTTNOE TEPTES AALAA OAKNpa AVTKEJEVA, aueoos kaeiote tv KIVTNpaa KAI EITBEWPnote To KOTNIKO TPOOAPNTMA.
-ETIeWpeite To KOTIKo TPOopApTnua yia Chmu ava TAKa kai ouvToja diaotnata (diayVwAn eTTWpwyuWxPoiIOIoWvTAC TO TEOT hXou Tnou Tnpayetaranto TVKpuon).
-Eav n ouakeun xuttnnoe duvata kata tvnwn, eaycete tvn kataotaon Tnv ovexieote nyn evyaia. Eeyte to ouotnpa kauoiou vua utapgn diappo nkaouipou aaaa kai ta xeiipotnpia kai tic diataeic aoaaia c yia utapng duaeitoupyiac.Eav utapxei otoiaobntote zmu n av exetep auipBoiiec, ETIKOIVWovne tke to bok paac egouioobotnevo KETPPO EGUTNPETNNS YIA ETIIeewponkai ETNIKEUN.
KataoTovxieipiao,Travote va KpatateToBeVcivokivtoXlookotnikoKaIe taDuaocεpia. Iote va uny KpatateTo BeVcivokivtoXlookotniko e To Eva xepaKaTaTn Xpnan
NaVToEvaexTeEvaaopaaesMa
Na xieipceote n oukeun ie tetoio toto wate va atoepuyete tviotvon tuw kauaepiwv. Note v auyn leitoupyoetoe tov kivtnpaa e kaiota domegaia (utapxei kivuvoc onanlnpiaao n aTO aepia). To movoeidio tou avbpaka evai eva doojo aepio.
- ΣβννETE TOV KIVNTnpa OTAVATAPATE KA TNY AVATAUON KAI OTAV TAPAVEEN OUKeUN xWICG EITJIAEYN, KAI TOTTOBHTNE T N eEA vO apAAN Xwpo YIA TNY ATOguyn TPOKAnON KIVDVOU OE AALLouc Njmiac oTOJnxvna.
IotE va unv tototheite to BeVzivkivto xlookottko otav eivai cetoto Tavw OEepa xopta n Tavw o alaa eupkcta uikda.
- NaVToE VA EYkaIoiTaTE TOV EYKEpIeVO TPOpaUakTnpa Tou KOTIKOU TPOapTmatoCTA WOn OuaKEuH TIPV TN VEKIVnON Tou KIVTNpa.
Aiaopopetika n Et aepn ME To KOTIKIO TPOapTma TIOpei va TPOkAeaei
OoBaPtoaunio
Ola ta TPOOTATEUTIKA OUYKOTNIATA KAI TPOUPALAKTINPECS TIO TAPEXOVTAI TEU XAVNIA TPETTE VA xPNOJIOIIOUVTAI KATA N LEITOUPVIA.
Note va unv xieipceote tov kivntnpa eva oiaotnpa ncs egatmion tsou exi Tahei qnua.
-KeioTe Tov KInTnpa KaTa TnV μEtaΦopá.
- Dlaopaiote nV aoPalin toTOnToEtonn Tns ouKeunc kata nV metapopa e autokivnto yia nTn aTPOuyn nS diapponkauaiou.
Kara Tny mepop, diaqpaiaote on to pceepouap kauoiou evai eveaowc aedio.
Kata nTv Ekoptwn Tn Gaukeunc ato Tnv KApToa, Tote va unv piEte Katw ToV KInTnpA oTO EaOpoc Etioen AV To Kavete auto mIoTei va TpOKAneoi Obaap BaaBnOTo pecePouAp kauoiuou.
EKTACI TNY TIEPIITIWON TNC EKAKTINC avayknc, note va unv pieteTe naTTaETe NT OuaKEUN OT EaOpC ETIO AV TO KAVETO ATO MTopei va TPOKAnEoiBapn Znuiia OuaKEun.
-Thetaie va onkwvete ooknpo tov kivntnpa atto to Eaopoc stav PETAKVEITE T OUKKEUN. To upuio TO pezepouap Kauoiou evai trolu ETIKIVUVO KA aTpokaeei cHua KBI diappoN kauiou, Tpokaawrtac TIIbavov Tnv TUPKayia.
Aveoobiaoos
Kara tov avepobiao kaouipou obnote tov kivnnpa, va eioe paekia ato TIC yuuec foeyc kai va uny katviizte.
Atoxuyete Tnv Etaqn Tou depuatoc me Ptoivota opukwv Aabiow. Mny EOTVETE TO v auo Tu kauolou. NaVTote va opate TPOOATEUTKA yavtna Kata TO vavepdoiao kaoulou. AAAzTe KAI KaBapicTe TO TPOOATEUTIKO pouxioo e TAKtikdaiahtnata.
DWOTPOOONWATEVAUYPIEETKATUKAUOIOAADIAYIAYNTVATOPUYN TNCPUTTAVONTOUEDAPOUC(TPOOTAIA TOEPIJIAAVOVTC)KaBAPlATE TO BEVZIKOVINTNOXOKOTNIKOAPGOSMETAIVDIAATTOPTOUAOUJIOU.
- ATOPOVETENOTIOIADNTOTEATAPNTOUKAOUUME TAPUXA OAC.AAAAGTE TOPOXIOOACGAEOWSGETAIVTIPWONTOUKAOUIMUETAVWTOUYIAITV ATOPOVNTSPOKANOGPWTIAOPOXAOS
-ETIIEwpeiTe TIV TaTAt Tou KAoiJou ava TAKTa diaOnmuata yia va iaqpaiaieTe OTI ITOpeiVa OTEpeewOeI OTAbePa KAI OTI DEV TAPouoiAcIe iappon.
PooekTKa oipTe TnTau Tou pezepouap Kauoiou. AAAeTe 8en yia Tny EKKiOn Tou KInTnpa (oulaXiotov 3etpa paakpi aToTov Xwpo Tou AVeOdiagou).
-Noté va μην aveφοδiáçε ο έλειστα δωμαία. Βατοί tou καυσιμου συσωρεύονται ΘΟ επιπέθο Tou ὅδαρος (ΚΙνύνος ἔκηξεων).
-Na metapepete kai va attooKeuete TO kauiuo OE kataaAaa doxie.
Φpovtate wote to attohkeuévo kauiuo va miv elvai npooaio oTA
Tiaia


- Naou
- Metaopopa
Aveoiaoukaouiou - Euvtipno
AvikataoTaon epyaieiou




MeB0oOg λειToupyiας
-Xpnoioutoinote moKATOKO KALO QWIOKOAI opaOTnKa KaTNI diapkeia TNGTOXINC TOU XIWOWA 6wote TPooxN OIT CTEPIOXc TOU EVA UypeCs KAI YIATPOUV, TAYOC KAI XIOVI (KIVDuvoc OAioBnpoTnTa). NAVTOVE xEETe Ev aopaaLs tntua.
-Noté unv KoβeTe EπaVw aTó To Uoos Tns μeOng oac.
-Noté va μην στέκεοτε πάνω σε μία σκάλα.
-Note va unv okaipaaWveTe OE deVtpa yia va eKTEAeTeE epyaiec KOTnC. -Note va unv epyaceTe TAVw OE aotaaeic Etnpaveies.
Apaipoe Tnv auo, Tc Tepes, ta Kappia KTA Tou Bpokovtai Mea OTo Eupoc Tns Tepioxns Epyaoias.
- PIV TO EKIVNma TCS KOTnCS,TO KOTNIKO TPOOAPTnMa 0a TPTETIva ExeI aTOKTHSeI TIV PAHn TAYUTNTa LEIToupyiac.
-Taavtwvete to beVzivokivnTo xlookottiko ooioppa.
Av ypaidi n klaia IAETOU VETAU KOTIKOU TPOapntuatoC KAI TOU TPOpuAekTpa,va Otaaatae TAVOTe TOV KIVTNpA TPIV ATO TOK aBapio. Diapopetika n aoouia TEPiOtpoN TO U TPOapntuato C TPOpe i va TPOkAaeoiobapo Taupaiuio
- Eekoupaotei yia va mny xaeote tov eayxoyo koupaon. 2ac ouviotoue va kavete 10 ews 20 eaia imu kahe wpa.
PpOoapTnMaTaKoTnS
Ioté va unx npoioutoiəte metaaikecs auec ouittepiaauabavouevuv Twv metaaikw vTepiOoPikw auoiowtroaattawtjntuWkaiTwv aaVviTikw auiw, diapopetikn e tnpn n Aua mTopei va Tpokaenei oobapraumaoio.
Aovnon
Ta atoja ME KAKO KUKLOPOPIKO OOTMA Ta OTIOIA EKTIeVTAI OE UTEPBoAIOUc KpaOauocu MTopei va TAPouaIauov BlaBn OTA aIIuOopa AyyEia n 0To VEupio KUOTMA. O KaPDAaoi IevExTai Va TPOKAeouv Ta AOKAUOa OauTTWATA Ota daxTuA, ta xepia n ToukTOC: Koilua (muDiaoua), mpuynkaia, TNO, oouBIAie, aAALayn Xpawatoc n uOpN tou Depaotc. EAV ExETe OTIOAONTOte aTO auta TA OUMTTWATA, ETIKePTeE eva YIATPO!
-Γa TnV EAANTUON TQ KIVDUVOU TNC aooTbeA CTOW aOTPw DAKTUAV, DIATPNOTE TA Xepia OAC ZETo kA TNDY AEIToupyi KA I dIATPNOTE OE KAH KATAOaTn T OUKeun KAI ta Egaptmata.
Odyiec ouvtnpno
EtiokeuaeTe Tn ouakeun aoc oTo biko mac eogouioobto nevo Kevtpo epbic XpnoijoiotoiovtacTavote auoevtikvaTAAkakia.HaVaoaeyn Etiokeun kai n pTxn ouvtnpnauTpoei vaieuoeiTv diapkeia ts wpeaiun cwn ts ouakeun kai vaueoietovkivduovatoxnuatowv.
-H katataon Tns oukeunc, idaiTepa Tou KOTNIKOU TPOAPHTaOtc Tuv TPOOTATEUTIKUW OUKKEUW, 0a TpeTEI VA EeYxETAI TIPV ATO TV Evapn TNS epyaTAC.
-Kleiote Tov Kivtnpa Kaia aapapeTo auVseuao Tou mouci kata nV avtikataaon To akoviuaTow KOTIKWipotapnauTwai EITiOg katov Kaopiaqou Tou koptn Tou KOTIKOUpOApntaoC
-△wate Tpoooxn oTO TEPiBaALov. ATOPOUYETe TIV aKOTIN LEIOTUpyia TOYkAciou viyAOTEPN putTavON KAI EKTOIMTeC OOpBou. PuOmuTo kAPtipatep oWotA.
KaapioTe n oukeun ava taktia aotnata kai eaye otio oicoi biockai taiaiaivakalauvva
- Ionte va unv kavete tn ouvtnpon n TnV atothekeuon Tns ouakeunc Kovta oE yuuec φλoyec.
- IaVToTe va aToOnKeUeTE Tn OuaKeun oE KLeiδωμεva δμαπia με áδεio To peερβouap kaoujou.



Tnpntc Tc oxetikcs odnyie cattotpntc atuxnauoc tou ekodovtaatto tic oxetikc eutopikec evwoeic kai ato tic aqaaioTKc c taipiec. Mnyekteae tkaia pottotoinan otuokueun eteion auto tha eoei oe kivduvo nvaopaiaia oac.
H KETEAEAN Twv EpyaowuuvtnpnoNc kai tio To xhnoT npeiopiOVTai TIC opaTnpiOTeC Tou TEPIyapovTai 0To ExyeiDIO obnyiw. OAc oi aAee Epyaoie TPETEI VA VIVoTAI TO EVa eoouotnuevo AVITPooWTO TO eepic Xpooiotoinote mvo Ta auovtikavataakntika Ka aeogouap TOn diatteVbai Kai TAPeovTAI TO TDLMAR.
H xphon EYKekpiuevovEapntuWkai epyaleiw ouveTayetai ToV auynévo kivduo atuxnpatwv.
H DOLMAR a e i Tnv oToiaobntote eUovn yia atuxnata n opaTou TpokAneKc aTTO xPON n EYKEKPiEvuv KOTIKW TPoapntmuTsw kai oukeuw Otepewns TwV KOttikw TPoapntmuTvw n AEGouap.
PpWTECS BONtheIECS
Tn Tepiwn atuxnato, oovtiote va utapxie diaeio eva kouti TPwov Boneiw OTN TEPIOX h otou ekteauvtai oypaoic KOtns. AVkataotne aoeo w to otoioodntote avtkeieevo tou npenke aTO TO KOUT TWpwoiv Boneiw.
OtaueBoa,napakawapaoxETiakokoue Tnpoopiec:
-ToToc Tou atuxmuatoc
-Ti ouvβn
-Apiouctpauaiaouevwavotouw
-EiOoT Twv TpauMaTow
-To ovoa oac

Tia TIC eupwntaikcs xwpeo movo
EK - Anawon oupoppwons
H Makita 8nawvei on to napakatw uynxavna(ta):
Ovopaia unxavmuos:BevivokivnTo xlookotniko
Ap. Movréλou/Tutno; LT-27
PpOdiaypaepε; 8eTeTov TIVaKa "TEXNIKA DEOMENA".
| Övoumaşia εξαρτημάνγ | |
| 1Kαλωδίο χειρίσου | |
| 2Πίαω λαβή | |
| 3Mθχλός Κειρίσου | |
| 4Διακότηπς εναρξης/διακοπής | |
| 5 Xερούλι | |
| 6Aξονας | |
| 7 | Προφυλακτήρας (Προφυλακτήρας Κοττικόου εργαλείου) |
| 8Nδλον κοττική κεφαλή | |
| 9Kαλιμμα φιλτρου αέρα | |
| 10Θηκη συμπλέκτη | |
| 11Τάπα πρεζερβουρακ μαυσιμου | |
| 12Αντλία προέγχυσης | |
| 13Pεζερβουρακ μαυσιμου | |
| 14Μτούζι | |
| 15 Mθχλός τοσκ | |
| 16ΣΙγαστήρας εξατμιας | |
| 17Xερούλι εκκινηήρα | |
| 18Εκκινηήρας ανατύλιξης | |
ΣTEPEΩΞH TOY XEPOYAIOY
NPOOXH: IV KAVETE TNY OTIOAIDNTOTE Epyaia TAVW OTN OUKKEUN, TAVTOTE VA OTAPATATE TOV KIVNTnpa KAI VA ATTOOUVDEETOT OuvdeoTOU MTou CTto MTouCI.
Na φopáte πávτa προστateutiká yávtia!
NPOOxH:Na gekivate TOV KIVNTnpa mov apotou TOV EXETe ouvapuoloynoE EVTEwC
Tiaunxavnmuaepoulae oxnaβpoyxou
-Tepewote To xepouai oxnpatos bpoxou (1) oTOV aOva (2). -Povtiote wote To diaxwiptiko OTOV aWAnva Tou aOva va eivai TOTIOETNIevo metagu Tou ouyKpOHTaOc Tns laBnc kai tnc aaAaNs AaBns. Mny aqapoeate n uikpuveTo diaxwiptiko.
ZHMEIΩH: Σε σριομένες χωρες, Σθ δίαχωριστόκ Φεν παρεχεται με Τεργαλείο. Σε αὐτή την περπιτώπ, ευθύγραμμιοτε Φερούλι πίο τηρα στήν πλεύρα τής γραμμίς του ὄποδεικυεῖται ἀῦτα σαπημία του βέλους.

ΣTEPEΩΣH TOY ΠPOΦΥΛKTHPA
Tia evapovion ME TIC diataeic aopaleiac, TPETEVA XPOIOTIOHouv MVO OI ouvuaooi Epyaaiou/TPopuakntpa Tnou avapepvotai OTV TIVaka.

IPOEOXH:Mny ayyieTe Tov kOPTn Tou VnmuTc (1) OTOV TPOpaLakntpa (2).To ayiyia Taou kOPTn Tou VnuToc yuva xepia mTopei va Tpokaalee Ipauaioo.
O TPOpuakntpaa TPTTEI VA TOOTeTneY iya va biatnpnoeI To hKoc Tou vaiov Vmuos KOTnKai yia va TPOoateuei TOV XeiPiATn ATIO TIC EKTIVaoopeveC TTepc KAI Opaouata. Suvaupauoyote TOV TPOpuaktnpa OuPwva Me Ta Tapaakatw Bmuata.
- TOTTOETHTOTE TOV TPPOUALAKTnpa EToI wOte n paBOWON TOU aOVA vTaipiaeI ME TNY EVKOTN OTOV TPPOUALAKTnpa.
- Σφειτε τα δύο μπουλόνία.

STEPEQEH THE NAION KONTIKHE KEPAANHE

IPOEIAOIOIHSH: Note mynx npoiomoinoTe metaaaikeS aeTio8c.
Φροντίσενα χροσιμοποίσετε μία αὐθεντικήναιλον κόττικήκεφαλήτης DOLMAR.
-Eav n vaiov KOTTIKn KEaan XUTTIOE iia TETpa kata n aeioupvia, OtaatnoTE TOV KIVNTnpa Ka IeaycTe aoeos Tnv vaiov KOTTIKn KEaan.

IPOEOXH: Mny ayyiEte Tov koftn Tou vmaTc (1)OTOV TpopuAaktnpa. To ayivma Tou koftn Tou vmaTc yuva xepia mtopei va TpokaAeTpaumatmo.
Tepeewote tvv vaiov konTikn kepaan (2) ouuwova ta napakatw bieta.
- Eiayte to aqaiotko kEidi (3) eaa ato tny tpua o npiaikpa. Npiatpeyte ta ottpxvovtac TPOC TA eaa to aqaiotko kEidi wc otou va KkEidwouv.
- Biodote iia vaiov kottikn kepah n Tavw oTov agova TepiotpepvTac Tnv 8eiooppa. Bebaiweite otiv aopaaowc stepewevn.
- ApaipoeTo aopaaIoiTko kAeiOi
Tia va aapaipoeTe Tn vaiov kottik Keepa, TpiotpeyTe Tny apoteoTo poaa.

Xeipiooskaouiou
Araitei aeyan npooxni kata tov xepioo tou kaouou. To kaouio mtope i va tepieox ouiec oioies me tou ciautec. Aevodiaote me kaouio e eva kaia aepioevo domegaatio ete oe eva eogteipko xwpo. Mny eivntveuotetou atouoc Tou kaouiou kai atopuyete nTv tanaou Tou kaouiou n Tou laiou te depua oac. Ta pioviota opukelaio antolaimauov to depua oac. Hnapatetaeyn taonou depaatoe me auta ta pioviota aa Tpokaaleei tv utepboikn npotnta tou depaatoc oac, n otioia mtopei v anpokaloei diapopec aotheveicou depuatoc. Etinppo8eta, aeepykecs avtdopaecis mtopoov va oubouv.
Ta maia mtopouv av epeiatoov evxómeva oe tαnμe to laδi. Eav to laδi epθe i e nαρημe Ta maia oac, va ta πλuveTe aεσωε με kaθapó vepo. Av ta maia oac Tapaueivouv epeioéva eiokeptite eva yiatp oaeos.

Tnpnte Tc OdbnyieC AopaaEiaic ts cElaiaac 123.
Meiyua kauoiou kai Aoiou
O kivntnpac Tou xlookotnikou evai evac bixpovoc kivntnpac uwnnc atrodoons. Aeioutypei eva eiyua kaouipou kai aoliou bixpovou kivtnpa. O kivntnpac ivar oxediaaevoc va aeitoupei e kavoviko aolaubdo kaouipoe Tnv Eaxiotn ti n OKtaviwTw91 RON.
Tia va atokntoet n tbeaioan to kivnnpa ka i ytnpnoatai ng uyeiaac kai tou TepiBaaovTo, xpoaiotoine movo aouufo Kauiio!
TIA TIV AITAVON TO KIVNTnpa, PPOOtheAldi Vla Dixpovo KIVNTnpa (Klaon ToIOTnac: JASO FC n ISO EGD) OTo Kauaio. O KIVNTnpac elvai oxEiaouevo va xpanoTOIEI TO KAthetapevo laDixpovou KIVNTnpa OTNV avaloyia eiyuatoC 50:1 ia TIV PPOOtaia Tou TEPiBAALOVTOc.
EπΠροβετα, η εγλλι διαρκεία ζως του αυνοδευται ἀσισπιηλειούργια και λάχιθες κετιομιες εγγμώνται Μεω της χρόης autις της avalογίας του εἰχματος. H εξισπιηλειούργία του χλookοπτικόν δεν μιθερία εἰναι εγγυμένην εκότος και av πηρηθει Ελακριβώς η αλανοίγα του εἰχματος 50:1 (καθορίαμενο λάδι διχρουνο κίνητρα).
Swtn avaloia meiymuatoS:
Bvziv: Kaopioevo laδi δixpovou kvnthpa = 50 : 1 n
BeVcivn:Aabi dipovou kivtnpapaaalou kataokuaotn=25:1 ouviota
\SHMEIΩ\SH: Tia va etoiiaote to eiyu tau kauoiou-aioiou, tpota avakateyte Tnv tnoiotaou laioiuoukivntnpaee nvi aattouevn TnooTatau kauoiou kai meta Tpoosotetou ttoloitto kaioio Avakiveote kala to meiyua pivr to piete eede oTo pecepboap tou xaookottikou. Tia tn diaopalion ts aopaaoc aeitoupyiac, mTv TPOOeTe TepiaooTepo laiv KIVNTpa ato nv Kaobipaev n TnooTeta.Eav to kave Toa exei wc atoteloea muov tv uynlotepn npaywmykataoittuv kauong ta otola puttaivouv To TepiBaalov kai Bouawouv To kavali nctgatmuang otov kuivdo Kaowc Etnianc kai oTo ayoTnpa. Etinnpto0eTa, n katavalwan Kaouiou 0auehEci kai n atiodoan 0e iewei.


Bενζιν 50:1 25:1
1.000 cm³ (1 λrpo)
5.000 cm³ (5 λΓρα)
10.000 cm³ (10 λīṭρa)

20cm^3
100 cm
200 cm
40~cm^3
200 cm
400 cm
Aveoiaoukaou
O kivntnpaTpTeTVA eivai kLeiortos.
Kaapioe Kaia TnV Tepioxy uupaw an to nTv taTn Tou nnpwn kauoiou (2) ia Tnv aTOQuyn Tns PPOKokllanons Tns Bpwmu dTo pEePbouap (1).
-3εβδωτε ην τάτα του πληρωτή καύσιμου (2) και γεμίοτε ορεζερβουρό μεκαύσιμο.
-∑φiεTe ηβδα tou πληρωτή καύσιρου (2).
Kaagpiote n biownt tata Tou pwnkauoiou (2) kai to pεερbouap μetá tov avεφoδiaσμó.
AtoeKnkeuon kaouipou
To kaoumo dev mtoepi va aTOOKeute yia aTepiopio To xpvikodiatnua.
AyopaoTe mvo Tny TnooTnTa Tou aataeitai yia pia nepiodo Aetoupyiac
4 .XpnoiopoTIOIEIe M0vo EykepiEv oXeia aTOBKeUoNc Kaouiow.

ENAPEH/ADIKONH AEITOYPTIA
Na tnpieTe Touc 1oxuovTe kavovioou ts pOAnuS atuxnataV!
Eekivnμa
Metakivnthe Toulambdaotov 3 mtpa pia atto nTv pioxoi otnv oioia poooeate kaouio an ouokeun. TOToETIOTe to xlookottikoe ia Kaepn pioxoh oTo Eapoc diovovtac PPOOxH wote To KOTIKO epyaleio va nv Bpiketai e TPAH pE TOEAPOC n e alaa avtkeiEvA.
IPOEIAOIOIHSH: Poo06TE 0TI TO KOTNIKO EpyaAIE IO TEPiTpePetai aepowc taevknon Tou kivnnpa.
Ekkivnonv yuuxpω
-PuoiTe to iakottn Evapns-Giaokntn (1) 0tn th eon Ekkivnog otwS TaouaiZeTai.
- Iiaote n aβn (n trien Tou xepioe evpyoioei tov aqpaiaotik ooxo ateumokns (2).
-πIεOTe To yXλo Tou yKaζIoU (3) Kα KpatnOte Tov TATnμEvo. - Pubiote to diakottn Evapngs-Diaikotn (1) ot n th eon evapngkai apnoTe to oxo Eeayou kai ot n ouvexia apnoote tov diakottn Evapngs-Diaikotns (o diakottnc Evapngs-DiaikotnKpata to oxxo tou ykaioou otn th eon Ekkivnnc).

Oepun Ekkivnon
-PuθμiσeTo δiaκόπην Evapξης-Διακοπης (1) Ατηνεκρα θεοι Θπως ταρουσιαίζεται.

-πρωτa, toTIOθεπηοτε Tn Σιακεύι ΘΟ τόδαφος.
-πieoTe με πpooxη nγ αντλia προεyxuσn(4) επανλαμβανóμεvα (7-
10 φορές) ὑως ὄτου τακύσιμο μπίει στήν αντλία πρόεγχυούς.
-KaeioTe To moxAo Tou Tock (5).
AvoiTuTO TOOK:
Pi npwKkEIO TO tIC WuxpEc 8epuokpaies n otav o Kivntnpac evai uxpoc
Pnnpwcaovikto nmuavokto yia tvv EKKIVON KAOWC O KIVNTpac evan akoun zEToC

KpatnoTe KaATo KIbWTO Tou OuPTAektn ME To apiTePO aC xEPI,OTIWc DeiyvTeai oTo diaypaum.
TpaBnTe oya tv AaBn Tou Ekkivntnpa EwC otou aotheite Tny avioataon KAI eTa ouvexiote va tpaBATE duvat.
Mny TpaBnEte EeW eXpi TEaouc TO KOpOvi TO EKivNtnpa KAI mnu apnoTe To XepouAI TO EKKIVNtnpa va avatuiXei MVO TOu. Diatnpote TOV EeYxo TOU KOpovIO TO EKKIVNtnpa KAI diaoqaiote OT avatuayetai apya.
- EtnavaaabeTe n diaikaciaTcEKKIVnncEws otou akouete Tc apxikcs avapheeiTou KIVNTnpa. -Piote ToV moXIo Tou ToK (5) kai TpaBnTE To KopDovI Tou EKKIVnTp a Eaocotou EekivnO Koivntpas.
Molis SeKIVnoi o KIVnTnpac, aueoW TIOE TE KAI apnoTE TO YkQY, VIA va eAeUepewoTe To mio KAEiOwua Tou ykaiou KAI apnoTE Tov KIVtnpa va aeIoupynoe i OTo peavti.
- AeioupynoTe Tov kivntnpia ia Tepiou eva aeTTTOe tptia taxutnta piv aoieTe TnpoGTo ykci.


EHMEIOH: - EAV TpaBnEte To xepoul Tou EKIVntnpa ETTavaaiaavovoeva otav o poXoC Tou TOOK piokeTai OTN OeON "1", o KIVtnpac dev 0Eekivneu kOkaA loyU TNC UTEPOAIknc EIooou kaouou.
-Eav EIAEJI UTEPBOAIKIOOTA KAUIOU, apaipeote TO mTOUcI KAI TpaBnTe TO xepouAI TO EKKIVNTnpa apyia VAp aipaeTe TO KaOIOU. EtioNc, OTEVWOTe TO tmuau nAektpoiou To mTou
PpooxN kara Tn aeitoupyia:
Eav o moxloc Tou ykaio avoliei Tn aeoupyia xwip fopio, o Tepiotpoqes Tou kivtnpa aauonbouv ravw atro 10.000 min-1. Note va uny aeoupyeite tov kivtnpca e uanlotepc tayutntec ato o,ti attaiteitai kai diatnpote Tc Tepiotpoqce oia taxutnta Tepitou 6.000 - 8.000 min-1.
NPOOXH: NaVToE VA EATWVE TIC TEPiTpoepcs Tou KINTHpa otav n OuaKeun 6v xpnoiIOTIOeITai yia epyaia. H Aetoupyia Tns oukeunc ie uynLc TpOepc otav 6v npnaiPOTIOeITai yia epyaia 8a EalTuoei Tn diapkeia Zwns Tns ouakeunc.
Tαματημα
EAEuepwote Tnnpoc To poXIo Tou Ykacio (3) Kai meta otav oI Otpoec Tou KInntpa Xaunawouv,OTpWTe TO Aikottn EKKivnans-Aikottns (1)Otn Θeon "STOP" ia va otapatnoe o KInntpao.
-1poexeYiAtnKeepaHKnTtnsMuTpeiVaunVtataaTeaeauoosKaI TAVTOE VA aPivETe va EITBpaDuVEi KAI VATaTeAeIws MoVN TNS.

NAION KONTIKH KEΦΑΛH
H vaiov KOttTK Keepaiv Eivai ia KOTTIK Keepaik DITANs eovceac e unxavioouc TpOoKpouoN & TpOPOdoiaC.
H vaiov kottikn kepaan tropooote to valiov vinma meta nTv npokouon Tns Kottikns kepaan oTo Edoqos.
Aeropvia
HIO aotaleeouatikn Tepioxkntnc bexvctai ato tvxiaqevn Tepioxn.
TnV TPOPOO0A tou vaiov nmuos, auHote TnV taxuNTa Tns vaiov KOTTIKHS KEPAHc OTiPeTTou 6.000 min' kAI KUTTNpTe EAppa Tnv vaiov KOTTIKIK KEPAH cTOEaPoc.
-Av n vaiov kottikn keaan dev tropoobotei tpioc ta eewmu Ttunma, ETTAVATUIGTavIKATAOTTOVAI0Vnu aKoALOuWvTACISdiKaIOEC TPOIPIyapovTAtOTo "AvTKATAOtaon Tou vaiov Vmuos".
AvtikataoTaon tou vaiov vmuToC
-∑taaatnoTe Tov Kivntnpa.
- IIEOTE ta maVtala Tns hKnns PPOs ta eoa yia va avuwoote PPOs ta EeW To kalmu kai apaipoeTo paooui.


-Aykiatpwote To Kevtpo Tou KAIVOUPYIOU valov vHATOC OTN EYKOTN OTo Kevtpo Tou MAOUIOU, ME TO EVA AKOPO Tou VHATOC VA EEXE TEPIIPOU 80 mm (3-1/8") TEPIOTE POto AO tAO. STN OUVEXEA TUIGTE KAI TA DUO AKPA YUPW AO TO KAPOUI TPOC TNV DIEUBVON TPEIOTPOPNC TNG KEPAANC (n DEIKA TEUVOVON DEIXVETAI AO TO RH OTO KAPOU).

-TuaIeTe yupw aTo maouopi oA ta vmuata EKTcOa aTo eva mKos 150 mm (6") apivovtac TpoawpivTa akpa aykiotpwEva meo atc EkyoTc cTo TAIai Tou maoupiou.

- Iepaote Ta vna ta eaa ato Ta obaalia yia va byouv Ew aTn thn. Tpeewate n poEla, to Eaatnpio kai To paoupi atn thn.

-Euuypaumite Ta aykiotpa Tou kalmuatoc kai Tou TepiBnpatoc.
Tou vexia otipwte To kalmuotaepa Tavw oTo TepiBnma yia va to
caqalioTe.

OAHGIEZ EEPBIZ
Odyies epbi
IPOEXH: PIV KAVETI NTV OTIOAONTOTE TUTOU Epyaia OUVINPNNGOS OTO XLOOKOTIKOU, TAVTTE VA KAEIVE TO MOTEP KA VAI AIOUVOEETI YNTATAOUBUAPATOCS TO UTOUCIOU (DEITE TO "EAUYXOCTOU)FOATE TAVTIPPOOTATEUTKAYAVTIA.
IPOOXH: IOTe va TnV aappeote ToV EKKIVTHpa Avatulns moVoi oac. EaV to kavete auto mTpei va Tpokntheauxna.AuH n diaikaaia 01 pTeT1va Ekteleitai mvo ato eva eogouioobntueo avTTPOsTO TO eepic.
Tn diaopalion nC meyalns diapkeiac zwns kai nC aTIOQuync nC znniAc otN ouakeun, ekteale tata taKtia diaotmuata Tc napakatu epyaiesouvtnpnons.
Kaθημερινός ἐλεγχος και συντήρον
- Piv n aeitoupyia, eEvTe Tn ouakeun yia eaoiyeves biEs n ecaptmuata tou aeimouv. dote iiaitepn npoooxn oTo ophiipno ts laaoc KOTnC n otyn vaiov kOTTIK Kepaan.
- PIV T h AIEUpyia, EAEYTE TAVTOE YIA VA EIOTE OIyoupoi OTI O aywyoc Tou aepa uucns KAI TA TTEpuyia Tou KauVdpou dEv EIa BouAumeva. Kaapate Ta eav evai attapainto.
- EKTEAeTe TIC TAPaKaTu EpyaIEc Ouvmnpnnc KaHneepiva eTaTn XpHon:
KaθaipioTe to xlookoTTIKO EeWTEPIKA KAI ETIeewpnoTe To yia ZnuiA.
Kaapio To qItpo aepa. Kata TnV epyaa UTO OUVrkec ME TNOU OKovn, Kaapio To qItpo apkete c opec Tnvpepa.
EAEyETnAma nTnVAIAV KepaAnKOTnG yia Znmu KaBepaiWteIOniv KaA OTEpeewuEvn.
- Eλεγετε για διαιπιτωετε οτι Φιρχει εἰπαρκίς ἀσαρομά μετας των ταχυτήν του πελαντίν και της λειούρυγίας και να διασφαλίσε οτι το εργαλείο KOTIκ ΕΙΑΙ ΜΑΤΑΝΥΕΟ ΘΑΤΑΝΥΕΟ ΘΑΤΑΝΥΕΟ ΘΑΤΑΝΥΕΟ ΘΑΤΑΝΥΕΟ ΘΑΤΑΝΥΕΟ ΘΑΤΑΝΥΕΟ ΘΑΤΑΝΥΕΟ ΘΑΤΑΝΥΕΟ ΘΑΤΑΝΥΕΟ ΘΑΤΑΝΥΕΟ ΘΑΤΑΝΥΕΟ ΘAΤΑΝΥΕΟ ΘAΤΑΝΥΕΟ ΘAΤΑΝΥΕΟ ΘAΤΑΝΥΕΟ ΘAΤΑΝΥΕΟ ΘAΤΑΝΥΕΟ ΘAΤΑΝΥΕΟ ΘAΤΑΝΥΕΟ ΘAΤΑΝΥΕΟ ΘAΤΑΝΥΕΟ ΘAΤΑΝΥΕΟ ΘAΓβεις
Eaeyse Tia va diaiTOWeTe Oti OiaKOTnS EKKIVnOg-Siakotns, o poXoC aTtmuokns, o poXoS xepioou, kai To Koupti aoPdianos
Kaαρισμος tou φιλτου αέρα (φιλτο)
- Tpeyte to oxoTOU TOOK (4) OTNV TAnpwG KAEIOI TIAEUPa KAI KpatnoTE TO KAPMTIpaTe pakpia aTo TIV OTIOAONTNE Bpwua n Okovn. -Apaieote Tn BiOa (1). -Apaieote To kALUMa TOU pIATPOU aepa (3).
Apaieote to oToiExio Tou otovou (2), TAUVETe TO e XIApo vepo kai OTEVVOWTE TO EVTEALG.
-MeTaToKaThApua,TOToTeHnTeTIOwTOKaLmuA TOU φIATPOU aepa (3) KaI OTEpeWATE TO TE TBIδa(1).
\SHMEIΩ\SH: Eav utapxei UTepboikn OKovn n Bpwia Koannevn oTo qIaPo aepa, Kaepiote To kae epa. Eva Bouwmevo pIaTpo aepa MTOpei va kataoThei duokoln n akoun kai aduvatn Tnv EKKivnon TOU KIVtnpa n va auognei Tnv TEpiotpOPIk n Taxutnta Tou KIVtnpa.

EeYxOc tou μTouzi
Xpnaiuioiote mo to npexo evo kiei yevikxipnqvi Tnv apaipqnTnTTOBttnou
To diakevo mtae Tuw du nAektpodiwv Tou mouzi pntie va eiva 0,6- 0,7 mm (0,024"-0,028"). DiopwoTe To diakevo evv eivai TOnu eyalo n ikpo. Eav to mTouci ivai Bouawevo e avpaka n Bpwuiia, kaapate to kala n avtkataaotne to.
NPOEXH: Note va uny ayyieTe to uovdeo Tou uTouci Kaews leitoupyei o kivnnpac (uTapxEi Kivuvoc nEktpanlngias antv uynn taon).

Tpofoosia ypaou yia To eukamto agova
-BaTe ypao (Shell Alvania 3 n 10oDuvapo) oToV EukauTTTO aOva KaOe 50 wpeC. (AuEvtiko ypao DOLMAR μToppéi va ayopatoi atto Tov avttipooWTO TNS DOLMAR.)
TiaepapuoTe to ypaoo, EKTEAeote Taakolouba Brmuata:
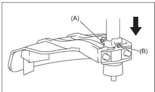
- 三εσφιξτα μπτουλόνία (A) και (B).
- ApaipoeTnV movadTnKepaaNc aTov agova.
- TpaBnE To EukamTo aOva MU To Xepi Kai epapuOte ypao.


Keapn avappofo nOTo pEepoua Kaouipou
To piTpo kaouou (1) Tc Kepaahs avappoqnXpnoiopoieitai yia tv npoxh Tou aattouueyou kauaiou oTo Kapuipatep.
- Eπiθεωρειe OTTIKA TO φιλτοῦ Kαουσίμου κατα περίδους. Γι ην επιθεωρησι Σου φιλρου, αυοίε ηγι τάτα Απρωτή Kαουδίου, χροιμιοτοίης εγα Συματένειον ἀκλίστορο Kαι τραβότε Εξω Φύν έκραλήν αναρρόρησις Μεσα απότο Σου αύνιμα Σου τοςρόμους. Ανικατολησι Ελεύνεινι Ελεύνεινι Ελεύνεινι Ελεύνεινι Ελεύνεινι Ελεύνεινι Ελεύνεινι Ελεύνεινι Ελεύνεινι Ελεύνεινι ΕλεύνειVΩ ΕλεύνειVΩ ΕλεύνειVΩ ΕλεύνειVΩ ΕλεύνειVΩ ΕλεύνειVΩ ΕλεύνειVΩ ΕλεύνειVΩ ΕλεύνειVΩ ΕλεύνειVΩ ΕλεύνειVOmega ΕλεύνειVΩ ΕλεύνειVΩ ΕλεύνειVΩ ΕλεύνειVΩ ΕλεύνειVΩ ΕλεύνειVΩ ΕλεύνειVΩ ΕλεύνειVΩ ΕλεύνειVΩ ΕλεύνειV
-H avetapknc katavalwn kauoiou mtopei va npokalee iyn utepbaon tns meyio nts emptpoevns taxutntac. Etnoewc, to qiatpo kauoiou o a Tpente i va atikaiotatai touaixoto kthe pteis mves yia nvy eaoaion ts ikavotoinikn npoxnc kauoiou oto kaptipatep.

H oiaotne aann npnnc n pueanns Tou dev tepypaetai e auto to yxepio 0a PpTei va kteelra mvo ato esouiootnevo avtippoowto tou epbiC.
ANOOHKEYsH
- Otav προkeitai va attoθηκεύσετη συοκευήν για Μεγλοχροίδισημα
atooptpavyióte ὄλo to καύσιμο ατότο το ρεζερβουαρ και to καμπιρατέρ. Γι va to καύνετe autó, ατίλα attooṭpavyióte ὄλo to καύσιμο ατότο το ρεζερβουαρ.
Atoppiyte to attooṭpavyiómevo kaúσιμο σύμφωνι με ητιν Στικίνι αίχύουσα vούθεσία.
ApaipoeTo I I O U I kai TPOotheToepeiKcStayovcs AIOu uo aTnV TPuta Tou mIoU. Meta, TpaBnE Toiva Tov EKKIVNTnpa Etoi wote To lavi va ETTaieye To eOWTEPIKO Tou KIVNTpao KAI MTe aOgite To mIouci.
Kaaplote Tnv OTIOAoiNTOTe Bpwiia n kovn ato Tnv KOTTIKH aapa KaT OEGWTEPIKO TOKIVTNPA KAI OKOUTIOTa ME eva Upaama Boutnyevo e λabi. ATOHKeueote Tn oukeun e eva npo xwpo.

Póvypaμα συντήρος
| Γενικά Συναρμολογία κινηήρα | βίδες και παξιμάδία Οπική εἰπθεώρηση γία ζημία και σφίξιμο Ελέγξτε τὴν γενική κατάσταη και ασφάλεία | |
| Μετά τον ανεφόδιασμό Mòxός | χερίσμου I-Διακόπτης Διακόπτης (ανοικός/κλεισός)/Διακόπτης ἐκκίνησης-Διακόπτης | Λειουργικός Ελεγχος Λειουργικός Ελεγχος |
| Καθημερίνά Φιλτρο αέρα | ψικτικός αερayωύς Εργαλείο κοπής Tαχύπητα ρελαντί | Na καθαριοτεί Na καθαριοτεί 'Ελεγχος γία ζημία και αιχμρότητα Επθεώρηση (το εργαλείο κοπής δεν πρέπεινα κίνειται) |
| Εβδομαδίαία Μτουζί | Σιγαστήρας | Επθεώρηση, ανικατάσταη εάν εἶναι απαραίŋτο Επθεώρηση, και καθαριομός του ανογματος εάν εἶναι απαραίŋτο |
| Τέσερις φορές το χρόνο Κερα | λή αναρρόφησης Ρεζερβουραρ καυσίμου | Na αντικατασταθεί Na καθαριοτεί |
| Διαδικαίσα κλεισίματος Πεζερβουραρ καυσίμου Καρμπιρατέρ | Αδειασμα ύεζερβουραρ Λειουργία εως ὄτου τέλειώσουν τα καύσιμα του κινηήρα |
Eniauon npoBAnpaw
| Σφάλμα Σύστημα Πapatήροιη | Aùtia | ||
| Ο κίνηŋρας δενξεκίνὰ ἡυακολεύεταινεξενησει | Σύστημα ανάφλεξης Σπιν | θηρας ανάφλεξηςENTΑΕIΔεν ΑΤΑρχει στινθηραςανάφλεξης | Σφάλμα στην παροχήκαυσίμου ὅτο σύστημασυμπίαης, μήχανικήβλάβηΔιακόππης Εκκίνησης-Διακόππης οὐτόχρος, σφάλμακαλωδιωσης ἡραχukúλωμα, ελατωματικό μτουζήσυδεμος, βλάβη στο σύστημα ανάφλεξης |
| Τροφόδοσία καυοίμου Γέματο ρεζερβουάρκαυσίμου | κατά τρεζερβουάρκαυσίμου | Λανθασμένη Θεόηου τοῦκ, ελατωματικό καμιμιρατέρ, σωλήνας παροχής καυσίμου λυγισένος ἡπλοκαρισμένος, βρώμικo καύσιρο | |
| ΣυμπίσηκηΚαμία συμπίσηκηκατάτο τράβημα | κατάτο τράβημα | Ελατωματικήη κάτω στέγανοτοιπική φλάντεa tou κυλίνδρου, φθαρμένα στέγανοτοιπικά tou | |
| Μηχανική βλάβη O εκκίνητηρας δενλείουργει | PEζερβουάρ γεμάτο.Σπινθηρας ανάρλεξηςENTΑΕI | στροραλοφόρου, ελατωματικό δακτύλίοιου του κυλίνδρου ἡπιθουύ ἡκατάληλαστέγανοτοιπατου μτίουζι | |
| Προβλήματa θερμήςεκκίνησας | Τροφόδοσία καυοίμου Peζερβουάρ γεμάτο Λανθασίρατήματa μέσα στου κυνήρα | Φενη μύθμισηου του εκκίνητηρα, στησασμένενερτηρα | Βρώμικo καμιμιρατέρ, πρέτεινα καθαριστεί |
| Ο κίνηŋραςξεκίνα αλλασβήνει | Πολλα συστήματa μτρορείνα εἰναι ταυτόχρονα έλαττωματικά | Ανεπαρκές ρελαντίουκινιρα | μένη μύθμισηου του καμιμιρατέρ, βρώμικoκαμιρατέρ |
| Avetapkός απίδοση | Πολλα συστήματa μτρορείνα εἰναι ταυτόχρονα έλαττωματικά | Avetapkός ρελαντίουιουκινιρα | Ελατωματικό ανοιγα του πεζερβουάρ, διακοπήστο σωλήνα ταροχής καυσίμου, ελατωματικό καλώδιού έλακόππης Εκκίνησα-Διακόπής |
Notice-Facile