LT27 - Cortadora de césped DOLMAR - Manual de uso y guía de instrucciones gratis
Encuentra gratis el manual del aparato LT27 DOLMAR en formato PDF.
Descarga las instrucciones para tu Cortadora de césped en formato PDF gratis! Encuentra tus instrucciones LT27 - DOLMAR y toma tu dispositivo electrónico nuevamente en la mano. En esta página están publicados todos los documentos necesarios para el uso de su dispositivo. LT27 de la marca DOLMAR.
MANUAL DE USUARIO LT27 DOLMAR
Lea atentamente este manual de instrucliones ates deutilar la desbrozadora y cumpla estructamente la normativa de segudad. Conserve el manual de instrucliones con cuidado.
Importante:
(Instrucciones originales)
Muchasgracias por comprar el equipo motorizzato para exteriorores de DOLMAR. Nos complace recomendarle el producto DOLMAR,que es el resultado de un长大o programa dedesarrollo ymuchos añosde investigacion yexperiencia. Leaeste folto que explican detalle losdifferentes aspectos que demostraran su excelente rendimiento.Leayudarabotener los mejoresresultados posibles del productodeDOLMAR.

Índice Págrina
Simbolos. 77
Instrucciones de seguidad. 78
Datos techniques. 82
Denominacion de las piezas. 83
Montaje del asidero 84
Montaje del protector. 84
Montaje del cabezal de corte de nylon.. 84
Combustible/repostaje 85
Arranque/parada. 86
Cabezal de corte de nylon. 88
Instrucciones de service 89
Almacenamento 91
SIMBOLOS
Cuando lea el manual de instrucciones se encontrará con los siguientes simbolos.

Lea el manual de instrucciones y respete las advertencias y las precauciones de seguidad

Preste especial cuidado y atencion

Prohibido

Mantenga la distancia

Peligro de que salgan despedidos objetos

No fume

No la acerque a llamas

Deben utilizes guantes protectores

Utilice botas robustas con suela
antideslizante.
Se recomienda utiliser botas de seguidad
con puntera de acero

Mantenga el area de operaciones libre de personas y animales

Utilice un casco de seguridad y proteccion para los ojos y oidos.

Maxima velocidad permitida de la herramienta

Combustible (Gasolina)

Encendido manual del motor

Parada de emergencia

Primeros auxilios

ENCENDIDO/ARRANQUE

APAGADO/PARADA

Nunca utilis cuchillas de metal
INSTRUCCIONES DE SEGURIDAD
Instrucciones generales
- Lea este manual de instrucciones para familiarizarse con el manejo del equipo. Los)."Los)."Los)."Los."Los."Los."Los."Los."Los."Los."Los."Los."Los."Los."Los."Los."Los."Los."Los."Los."Los."Los."Los."Los."Los."Los."Los."Los."Los."Los."Los."Los."Los."Los."Los."Los."Los."Los."Los."Los."Los."Los."Los."Los."Los."Los."Los."Los."Los."Los."Los."Los."Los."Los.
- Se recomienda prestar el equipo solamente a personas con experiencia comprobada.
Entregue sempre el manual de instrucciones. - Los equipos que utilizar por primera vez laquina deben pedir al distribuidor instructionesbasicas para familiarzarse con el manejo de desbrozadoras.
- No se debe permitir que los niños o las personas de menos de 18 años realizen este equipo. No obstarile, las personas de mas de 16 años peuvent usar el dispositivo con finalidades de aprendizaje bajo la superviación de un instructorriallicado.
- Utilice el equipo con el máximo cuidado y la(Maxima atencion.
- Utilicelo solamente si se encuesta en buena estado fisico. Realice todo el trabajo con calma y con cuidado. El usuario tiene queajsar la responsabilidad porOthers.
- Nunca utilise este equipo tras consumir alcohol o medicamentos o si se siente cansado o enfermo.
Las normativas naciales peuvent restringir el uso de laquina.
Uso previsto de laquina
- Este equipo solamente se ha diseñado paraURTar hierba y malas hierbas微量元素. No se debeutilizar con ninguna other finalidad, como canteado o cortado de setos, ya que se podrián causar lesiones.
Equipo de proteccion personal
-
Debe llevarse ropa funcional y apropiada, eskaar, debe ser ajustada pero sin que sea incomoda. No lleve joyas ni prendas que poderan engancharse en arbustos o maleza.
-
Paraatarlesiones en lacabezalos ojos,las manos o los pies ypara protegerlosoidos,debelelvarse elsiguiente equipo yla siguiente ropa de protecciondurate las operaciones.
-
Utilice siempre un casco cuando haya riesgo de caía de objetos. Debe comprobarse periodically si el casco protector (1)iene algo dano y se debe sustituir como máximo antes de 5 años. Utilice solamente cascos protectores homologados.
-
El visor (2) del casco (o, como alternatively, las gafas de seguridad) protege la cara de piedras y objetivos que salen despedidos. Durante las operaciones utilise gafas de sécurité o un visor para evitar lesiones en los ojos.
-
Utilice un equipo de proteccion acustica adecuado para evitar daños en el oido (protectores de oido (3), tapones para los oidos, etc.).
-
El mono de trabajo (4) protege contra piedras y otros objetivos que salen despedidos.
Recomendamos utiliser un mono de trabajo.
- Los guantes (5) son parte del equipo obligatorio y siempre se deben utilizar
durante las operaciones.
- Cuando utilise el equipo, utilise siempre zapatos robustos (6) con una sueja que no resbale. De esta manière se protegerá contra lesiones y se asegurar de que los pies estén en una posión firme.
Puesta en marcha de la desbrozadora
- Asegürese de que no haya niños u或其他 personas en un area de trabajo de 15 metros (50 pies) y preste atencion también a cualquier animal que pueda estar cerca del lugar de trabajo.
- Antes del uso, compruebe que el equipo permita realizar las operaciones con seguridad:
Compruebe la seguridad del accesorio de corte, el actionamento sencillo de la palanca de la mariposa de gases y el correcto funciona del bloqueo de la palanca de la mariposa de gases.
- No se permite el giro del accesorio de corte cuandoonga en vacio. Consulte los ajustes con su distribuidor en caso de duda. Compruebe que los asideros esten limpios y secs y pruebe el funciona del interruptor de arranque/parada.





(3)


(5)

(6)

Figura de diagrama
-
Ponga en marcha la desbrozadora únicamente de acuerdo con las instrucciones.
-
No utiliseGGLEDIOIOTOMETOIDEPOPERENmarcha el motor.
-
Utilice la desbrozadora y las herramientos únicamente para las aplicaciones especialidas.
-
Ponga en marcha el motor unicamente après de montar todo el Conjunto. Solamente se permite usar el dispositivo afteres de conectar todos los accesos adequados.
-
Antes de la puesta en marcha, asegúrese de que el accesorio de corte no está en contacto con objetos duros tales como ramos, piedras, etc. ya que el accesorio de corte girar alponer en marcha laquina.
-
El motor se debe apagar inmediamente si experimentaylvania problema.
-
Si el accesorio de corte golpea piedras u与其他 objetivos duros, apague el motor inmediamente e inspeccionelo.
-
Inspeccione periodicamente el accesorio de corte para comprobar si hay daños (compruebe si hay grietas finas mediante pruebas de sonido).
-
Si el equipo recibe un fuerte impacto o cae, compruebe su estado antes deContinuar con el trabajo. Compruebe si hay fugas en el sistemas de combustible y si los dispositivos de seguidad funcan correctamente. Si hay daños o en caso de duda, Solicite a myistro centro de servicios autorizzato que realice una inspeccion y reparacion.
-
Durante el manejo, sujete siempre la desbrozadora con ambas manos. Nunca sujete la desbrozadora con una mano durante el uso.
Asegürese sempre de que sus pies se encontrar en una posión segura.
-
Utilice el equipo de forma que no inhale los gases de escape. Nunca haga funcionaler el motor en lugarares cerrados (riesgo de envenenamento por gas). El monóxido de carbono es un gas inodoro.
-
Apague el motor cuando descanse y cuando deje el equipo sin atender, ydea la Herrmienta en un lugar seguro para evaporar un peligro para除外 personas o que se dae la Herrmienta.
-
No deja nunca la desbrozadora sobre hierba seca o materiales combustibles.
-
Instale siempre la proteccion del accesorio de corte aprobada en el equipo antes de poder en marcha el motor. De lo contrario, el contacto con el accesorio de corteuede provocar lesiones graves.
-
Todas las piezas de proteccion y las protecciones suministradas con laquina deben utiliserse durante el funcionaimiento.
-
Nunca haga funcionar el motor con un silenciador de escape defectuoso.
-
Apague el motor durante el transporte.
-
Asegürese de que el equipo esté en una posición segura durante el transporte en un vehicló para evacitar fugas de combustible.
-
Durante el transporte, asegúrese de que el depóito de combustible está Completely vacio.
-
Cuando descargue el equipo de un camión, nunca dejea caer el motor al sueño, ya que se pueda darñar gravamente el depóstito de combustible.
-
Excepto en caso de emergencia, nunca deje caer ni lance el equipo hacel suelo, ya que el equipo se pueda darar gravamente.
-
No olvide levantar todo el equipo del suejo cuando lo本报讯. Arastrar el deposito de combustible es muy peligioso y causara daños, fugas de combustible y posiblemente un incendio.
Repostaje
-
Apanege el motor durante el repostaje, mantengase alejado de las llamas y no fume.
-
Evite el contacto de la piel con produits de aceite mineral. No inhale el vapor de combustible. Utilice siempre guantes de proteccion durante el repostaje. Cambie y limpie regularmente la ropa protectora.
-Tenga cuidado de no derramar combustible o aceite paraatar la contaminacion del suelo (proteccion medioambiental).Limpie la desbrozadora inmediamente afterwards del derrame de combustible
-
Evite el contacto del combustible con su ropa. Cambie la ropa inmediamente si se ha derramado combustible sobre ella (para evaporar que la ropa se incende).
-
Inspeccione periodicamente la tapa del deposito de combustible para asegurar de que se pueda apretar firmamente y que noiene fugas.
-
Apriete con cuidado la tapa del deposito de combustible. Cambie de lugar para poder en marcha el motor (como minimo a 3 metros de distancia del lugar de repostaje).
-
Nunca reposte en lugares cerrados. Los vapeores de combustible se acumulan a nivel del sueño (riesgo de explosiones).
-
El combustible solamente sedea transportar y almacenar en recipientes homologados. Asegüres de que el combustible almacenado no este al alcance de los niños.






Método de trabajo
- Utilice la desbrozadora únicamente con buena conditiones de iluminación y visibiliad. Durante el inviernoonga cuidado con lasareas humedes o resbaladizas, hielo y nieve (riesgo de resbalar). Asegürese siempre de que sus pies se encontrar en una posidión segura.
- No corte nunca por encima de la alta de la cintura.
Nunca se suba a una escalera. - No se suba a árboles cuando realice la operación de corte.
- No trabajo nunca en superficies inestables.
- Elimine la arena, piedras, clavos, etc. que se encuentren en el area de trabajo.
- Antes de comenzar aURT, el accesario de corte debe alcantar la velocidad de trabajo completa.
- Balancee la desbrozadora uniformamente.
Si se atascan cisped o ramas entre el accesorio de corte y la proteccion, detenga siempre el motor antes de la limpieza. De lo contrario, el giro
accidental del accesorio puede provocar lesiones graves. - Descanse para fazer a perdida de control causada por la fatiga. Recomendamos descansar de 10 a 20 horas cada hora.
Accesorios de corte
- Nunca utilische cuchillas de metal, incluyendo cadenas oscilantes de varias piezas de metal y cuchillas trilladoras. De lo contrario, el contacto con la cucilla puede provocar lesiones graves.
Vibración
-Las personas con problemas circulatorios que estan expuestos a vibraciones excessivas能把n sufrir lesiones en los vasos sanguineos o en el system nervioso. La vibracion可以使 provocar los seguidentes sintomas en los dedos, manos o muñecas: "adormecimiento", hormiguedo, dolor, sensacion punzante, alteracion del color de la piel o de la piel. Si sufre algo n de这些东西 sintomas, acuda a un medico.
- Para reducir el rísigo de "enfermedad de dedos blancos", mantenga las manos calientes durante el uso y realize un buena mantenimiento del equipo y los accesos.
Instrucciones de mantenimiento
- Haga que su equipo sea sometido a tareas de mantenimiento en是我国 centro de serviceo autorizzato, utilizing siempre y de forma exclusiva recambios originales. Una reparacion incorrecta y un mantenimiento deficiente pueda ocarten la vida util del equipo yacularer el riesgo de accidentes.
- Antes de起初 el trabajo se deben comprobar el estado del equipo, especiallye de los dispositivos de proteccion del accesorio de corte.
- Apague el motor y quite el conductor de la bujía cuando sustituya los accesos de corte y también cuando limpie la herramienta o el accesorio de corte.
- Preste atencion al medioambiente. Evite el uso innecesario de la palance de la mariposa de gases para reduir la contaminacion y las emisiones de ruido. Ajuste el carburadorcorrectamente.
- Limpie el equipo periodically y comprue que todos los tornillos y tuercas estén bien aplretados.
- Nunca repare o almacene el equipo cerca de llamas vivas.
- Guarde siempre el equipo en habitaciones cerradas con llave y con el deposto de combustible vacío.



Respete las instruetiones aplicables de prevencion de accidentes emitidas por las companies de seguros y las asociaciones commerciales relevantes.
No realice ninguna modificacion en el equipo, ya que this pondria en peligro su seguridad.
Loseworks de mantenimiento o reparacion que puee realized el userio se limitan a las activities descritas en este manual de instruaciones. Los demas工作的 los realiza un agente de service autorizzato. Utilice unicolement accesos y piezas de repuestos genuinos suministrados por DOLMAR.
El uso de accesos y Herraminas que no se hayan aprobado implica un mayor riesgo de accidentes.
DOLMAR no accepta ninguna responsabilitad por los accidentes o los daños causados por el uso de accesos de corte no aprobados, por la reparacion de los accesos de corte o por accesos.
Primeros auxilios
En caso de accidente, asegürese de queriba del lugar en el que se realizen las operaciones de corte esté disponible un botiquín de primeros auxilios.
Reponga inmediamenterialquier articulo que tome del botiquin de primeros auxilios.
Cuando solicite ayud,proporcione lasumae informacion:
Lugar del'accidente
-Quehaocurrido
-Numero de personas heridas
- Tipo de lesiones
-Sunombre

Sólo para paises europeos
Declaración de conformidad de la CE
Makita declar que las siguidentes máquinas:
Designación de laquina: Desbrozadora
N° de modelos/ Tipo: LT-27
Especificaiones: consulte la tabla "DATOS TECNICOS"
Cumplen con las siguientes Directivas europeas:
2006/42/CE, 2000/14/CE
Se han fabricado de acuerdo con los siguientes estandares o documents estendarizados:
EN ISO11806-1
El archivo técnico, de acuerdo con 2006/42/CE, está disponible en:
Makita, Jan-Baptist Vinkstraat 2, 3070, Belgica
El procedimiento de evaluacion de conformidad requerido por la Directiva 2000/14/CE se realizo de acuerdo con el anexo V.
Nivel de potencia sonora medido: 111,30 dB
Nivel de potencia sonora garantizo: 112 dB
-
- 2014

Yasushi Fukaya
Director
Makita, Jan-Baptist Vinkstraat 2, 3070, Belgica
DATOS TECNICOS
| Modelo LT-27 | |||
| Tipo de asidero Asidero circular | |||
| Dimensiones:长大 x ancho x alto (sin herramienta de corte) mm 1.645 x 220 x 510 | |||
| Peso neto kg 4,3 | |||
| Tipo de motor Refrigerado por aire, 2 tiempos, monocilindrico | |||
| Cilindrada del motor cm3 | 25,7 | ||
| Potencia maximal del motor kW 0,83 | |||
| Frecuencia de giro maximal del husillo min-1 | 8.000 | ||
| Diámetro de corte con el cabeza de corte de nylon mm φ 400 | |||
| Velocidad de ralenti/min | 3.000 | ||
| Velocidad de acoplimiento de embrague/min | 4.100 | ||
| Combustible | Mezcla de gasesGasolina: Aceite para motores de dos tiempos = 50:1 | ||
| Volumen (deposito de combustible)L | 0,6 | ||
| Carburador | WALBRO WYC | ||
| Bujía | NGK BPMR7A | ||
| Separación entre electrodos mm | 0,6 - 0,7 | ||
| Vibración de acuerdo con ISO 22867 | Asidero Derecho(Empuñadura trasera) | anve eq m/s2 | 5,074 |
| Incertidumbre K m/s2 | 1,5 | ||
| Asidero izquierdo(Empuñadura delantera) | anve eq m/s2 | 3,853 | |
| Incertidumbre K m/s2 | 1,5 | ||
| Nivel medio de presión de sonido de acuerdo con ISO 22868 | LPA eq dB (A) | 91,30 | |
| Incertidumbre K dB (A) | 0,85 | ||
| Nivel medio de potencia de sonido de acuerdo con ISO 22868 | LWA eq dB (A) | 111,30 | |
| Incertidumbre K dB (A) | 0,85 | ||



| Denominación de las piezas | |
| 1 Cable de control | |
| 2 Empuñadura trasera | |
| 3 Palanca de control | |
| 4 Interruptor de Arranque-Parada | |
| 5 Asidero | |
| 6 Eje | |
| 7 | Protector (protección de la herramienta de corte) |
| 8 Cabezal de corte de nylon | |
| 9 Cubierta del filtró de aire | |
| 10 Caja del embrague | |
| 11 Tapa del depósito de combustible | |
| 12 Bomba decebado | |
| 13 Depósito de combustible | |
| 14 Bujía | |
| 15 Palanca del estrangulador | |
| 16 Silenciador de escape | |
| 17 Empuñadura del motor de arranque | |
| 18 Arrancador de retroceso | |
MONTAJE DEL ASIDERO
PRECAUCION: Antes de realizar un trabajo en el equipo, detenga tiempo el motor y desconnecte el conector de la bujía. Utilice siempre guantes de protección.
PRECAUCION: Ponga en marcha el motor unicolemente despues de haberlo montado completemente.
Para maquinas con asidero circular
- Fije esidero circular (1) al eje (2).
- Asegürese de que el separator del eje se encuentre entre el Conjunto de la empuñadura y la other empuñadura. No retire ni encoja el separator.
NOTA: En algunos paises el separator no se proporciona con la herramipta. En tal caso, alinee el asidero con el dato mas apartado de la linea indicada por las MARAS de flecha.

MONTAJE DEL PROTECTOR
Para cumplir con las disponeciones de seguridad apropiadas, solamente se deben utilizar las combinaciones de herramienta/protector indicadas en la tabla.
PRECAUCION: No toque la cucilla de hilo (1) del protector (2). Si toca la cucilla de hilo con las manos desnudas pueda sufir lesiones.
Se debe instalar el protector para mantener la longitud del hilo de corte de nylon y proteger al operario de piedras yPEGueños fragmentos que能把 salir despedidos. Instale el protector siguiendo这些东西 pasos.
- Ajuste el protector de forma que el montante del eje encaje en la ranura del protector.
- Apriete dos pernos (3).

MONTAJE DEL CABEZAL DE CORTE DE NYLON
ADVERTENCIA: Nunca utilice cuchillas de metal.
Asegürese de utiliser un cabeza de corte de nylon auténtico de DOLMAR.
- Si el CZal de corte de nylon golpea una piedra durante el uso, detenga la herramenta y compruebe el CZal de corte de nylon inmediamente.
PRECAUCION: No toque la cucilla de hilo (1) del protector. Si toca la cucilla de hilo con las manos desnudas pueda sufir lesiones.
Monte un cabezal de corte de nylon (2) siguiendo these pasos.
1. Inserte la llave de bloqueo (3) a trovés del orificio de la abrazadora. Gírela empujando la llave de bloqueo hasta que se bloquee.
2. Enrosque el CZezeal de corte de nylon en el eje girandolo en el sentido de las agujas del reloj. Aseguese de que este montado de forma segura.
3. Extraiga la llave de bloqueo.
Para extraer el cabeza de corte de nylon, girelo en el sentido contrario a las agujas del reoj.

Manejo del combustible
Debe tener el máximo cuidado cuando maneje el combustible. El combustible puede contener sustancias similares a los disolventes. Reposte en una habitacion bien ventilada o al aire libre. No inhale el vapor de combustible y eviterialquier contacto del combustible o del aceite con su piel.
Los productos de aceite mineral eliminan la grasa de su piel. El contacto prolongado de la piel con这些东西 productos hara que la piel se reseaque extremadamente, lo que pueda provocar variedos temas de enfermedades en la piel. Internacional都可以 producirse reactivaciones alergicas.
Los ojos peuvent irritarse alentar en contacto con el aceite. Si sus ojos entran en contacto con el aceite, lávelos inmediamente con agua potable. Si sus ojos continuidan irritados,akra inmediamente a un medico.

Siga las instrucciones de seguridad de la网页 78.
Mezcla de combustible y aceite
El motor de la desbrozadora es un motor de dos tiempos allamente eficaz.
Funciona con una mezcla de combustible y aceite para motores de dos tiempos. El motor se ha disnéado para que funciona con combustible normal sin plomo, con un octanaje minimo de 91 RON.
Para Obtener un rendimiento optimo del motor y para proteger su salute y el medio ambiente, utilise solo combustible sin plomo.
Para lubricar el motor, añada un aceite para motor de dos tiempos (grado de calidad: JASO FC o ISO EGD) al combustible. El motor se ha disnéado para usar el aceite para motor de dos tiempos con una relacion de mezcla de 50:1 para proteger el medioambiente.
Además, se asegurará una larga vida de servicios y un funciona bajo con el minimo de emisiones de gas de escape. No se pueda garantizar un funciona bajo. fiable de la desbrozadora a menos que se utilise esta relacion de mezcla de 50:1 (aceite para motor de dos tiempos spécifique) de forma estRICTa.

Relación de mezcla correcta:
Gasolina: Aceite para motor de dos tiempos especialico = 50:1 o bien
Gasolina: Aceite para motor de dos tiempos de除外 fabricante = 25:1 recomendado
NOTA: Para preparar la mezcla de combustible y aceite, primero mezcle todo el aceite con la mitad del combustible necesario y, a continuacion, anada el combustible restante. Agite bien la mezcla antes de verteira en el deposito de la desbrozadora. Para garantizar un uso seguro, no anada mas aceite para motor que la calidad especificada. Estso solo producirá más residuos de la combustion, que contaminaran el medio ambiente y obstruiran el canal de escape del cilindro y el silenciador. Además, el consumo de combustible aumento y el rendimiento disminuirá.

Gasolina 50:1 25:

1.000 cm³ (1 litre)
5.000 cm³ (5 litres)
10.000 cm³ (10 litres)
20~cm^3 40 cm³
100 cm³ 200 cm³
200 cm³ 400 cm³
Repostaje
El motor debe estar apagado.
- Limpie minuciosamente el area alrededor del tapon de relleno de combustible (2) para evaporar que entre sociedad en el deposito de combustible (1).
- Desenosque la tapa de relleno de combustible (2) y rellene el deposito con combustible.
- Apriete firmamente el tapón de relleno de combustible (2).
- Limpie el tapón de relleno de combustible (2) y el depóstito tras el repostaje.

Almacenamento del combustible
El combustible no se pueda guardar durante un periodo de tiempo ilimitado.
Compre solamente laULDad necessaria para 4 semanas de uso. Utilice solamente contenedores de almacenamento de combustible aprobados.
ARRANQUE/PARADA
Respete las normativas de prevencion de accidentes aplicables.
Arranque
Aléjese como minimo 3 m de la zona en la que ha repostado el equipo. Coloque la desbrozadora sobre un lugar despejado, con cuidado de que la herramienta de corte no entre en contacto con el sueño u otros objetos.
ADVERTENCIA: Tenga en cuenta que la herramienta de corte gira inmediamente tras ponerse en marcha el motor.
Arranque en frío
- Pulse el interruptor de Arranque-Parada (1) hasta la posicion de arranque tal y como se muestra en la ilustracion.
- Sujete el asidero (al presionar con la mano se activa la palanca de desbloqueo de seguridad (2)).
Pulse la palanca de la mariposa de gases (3) y mantengala pulsada. - Pulse el interruptor de Arranque-Parada (1) hasta la posicion de arranque y suele la palanca de control, a continuacion, libre el interruptor de Arranque-Parada (el interruptor de arranque-parada mantiene la palanca de la mariposa de gases en la posicion de puesta en marcha).

Arranque en caliente
- Pulse el interruptor de Arranque-Parada (1) hasta la posicion neutra tal y como se muestra en la ilustracion.

- En primer lugar, Coloque la desbrozadora en el suelo.
- Pulse suavamente la bomba decebado (4) de forma repelida (7-10 vezes) hasta que el combustible entre en la bomba decebado.
- Cierre la palanca del estrangulador (5).
Apertura del estrangulador:
Totalmente cerrado en temperatas frias o cuando el motor esta frio
- Totalmente o medio abierto para volver a arrancar cuando el motor aun está caliente

- Sujete firmamente la caja del embrague con su mano izquierda, tal como se muestra.
Tire lentamente de la empuñadura de arranque hasta que note cierta resistencia y, a continuación, tire con fuerza de ella. -
No tire por completeness de la cuerta de arranque y no permita que la empuñadura de arranque se retraiga por si misma. Mantenga el control sobre la cuerta de arranque y asegúrese de que se retrae lentamente.
-
Repita la operation de arranque hasta que oiga el ruido de arranque del motor.
-
Presione la palanca del estrangulador (5) y vuelva a tirar de la性和 de arranque hasta que el motor seonga en marcha.
- En cuando arranque el motor, apriete y suele inmediamente el control de la mariposa de gases para sostar el bloqueo de aperture media de la mariposa y permitir que el motor funciona al ralent.
- Deje que el motor funciona durante aproximadamente un minuto a una velocidad moderada antes de que funciona a la maxima velocidad.


NOTA: - Si tira repetidamente de la empuñadura de arranque cuando la palanca del estrangulador se encuesta en la posión " | |", el motor no se pondrá en marcha fácilmente a causa del excesso de entrada de combustible.
- Si se produce una entrada excessiva de combustible, extraiga la bujía y tire lentamente de la empúaadura de arranque para eliminar el excesso de combustible. Asimismo,ooter la sección del electrodo de la bujía.
Precaución durante el funciona:
Si la palanca de la mariposa de gases se abre Completely durante el funciona en carga, las revoluciones del motorumentan por encima de las 10.000min^1 . Nunca haga funcinar el motor a una velocidad superior a la necessitiesa y mantenga las revoluciones a unavelocidad aproximada de 6.000 - 8.000 min-
PRECAUCION: Reduzca sempre las revoluciones del motor cuando el equipo no se utilise para trabajo.
El uso del equipo a altas revoluciones cuando no se usa para trabajo acortará la vidautil del equipo.
Parada
- Suelte la palanca de la mariposa de gases (3) Completely y, cuando se hayan reducido las rpm del motor, empujé el Interruption de Arranque-Parada (1) hasta la posicion "PARADA" (STOP) para detener el motor.
- Tenga en cuenta que es posible que el cabeza del corte no se detenga inmediamente y deqe siempre que reduzca su velocidad y separe completeness por si甚么.

CABEZAL DE CORTE DE NYLON
El cabezal de corte de nylon es un cabezal de corte de dos lines que tiene un mecanismo de sacudida y avance.
El cabezal de corte de nylon extiende el hilo de nylon tras dar una sacudida al cabezal de corte contra el suejo.
Funcionamento
- El area más efectiva de corte se muestra mediante el airea sobreada.
- Para extender el hilo de nylon,urrente la velocidad del cabezal de corte de nylon aapproximadamente 6.000min^-1 y golpee el cabezal de corte de nylon suavamente contra el suejo.
- Si el brazal de corte de nylon no extiende el hilo al darle una SACUDIDA, rebobine o sustituya el hilo de nylon siguiendo los procedimientos que se describen en "Reemplazo del hilo de nylon."
Reemplazo del hilo de nylon
- Pare el motor.
- Pulse los seguros del alojamento hacía dentro para levantar la cubierta y retire el carrete.


- Enganche el centro del nuevo hilo de nylon en la muesca del centro del carrete, con un extremo del hilo extendidounos 80~mm (3-1/8") más que el除外. A continuación, enrolle ambos extremos firmamente alrededor del carrete en la direction de giro del cabezal (dirección hacía la derecha indicada por RH en el lateral del carrete).

- Enrolle la totalidad del hilo, exceptounos 150mm (6"), alrededor del carrete, dejo Los extremos temporalmente enganchados en la muesca alrededor del pomo del lateral del carrete.

Haga pagar los hilos a工程技术 de los ojales para que salgan del alojamento. Monte la arandela, el muelle y el carrete en el alojamento.

- Alinee los ganchos de la cubierta y el alojamento.
A continuación, empuje la cubierta firmamente sobre el alojamento para fijarlo.

INSTRUCCIONES DE SERVICIO
Instrucciones de service
PRECAUCION: Antes de realizarrialquier tipo de trabajo de mantenimiento en la desbrozadora, apague siempre el motor y desconecte el capuchon de la bujia (consulte "Comprobacion de la bujia").
Ulilice sempre guantes de proteccion.
PRECAUCION: Nunca extraiga ustedismo el arranque retracted. Si lo hace, pueda provocar un accidente. Este procedimientosoledeberrealizarlo un centro de service Tecnico autorizzato.
Para garantizar una larga vidautil y para evitar daños en el equipo,realice lassiguientes operaciones demantimiento periodicamente.
Inspeccion diaria y mantenimiento
-
Antes de lapell a en functionamento, compruebe la desbrozadora por si tene tornillos flojos o si faltan piezas. Preste especial atencion al apriete de la cucilla o del cabezal de corte de nylon.
-
Antes de lapell a en functionamento, compruebe siempre que el conducto de pao de aire y las aletas del cilindro no esten obstruidos. Limpielos si es necessario.
-
Realice diariamente las siguientes operaciones de mantenimiento tras el uso:
- Limpie el exterior de la desbrozadora e inspeccionela por si está estropeada.
- Limpie el filtro de aire. Cuando trabajo en conditiones extremas de polvo, limpie el filtro varias vezes al dia.
- Compruebe si la cuchilla o el cabeza de corte de nylon estanestropeados y asegurese de que se hayan montado firmamente.
- Compruebe que haya una diferencia suficiente entre la velocidad de ralenti y la velocidad de trabajo para garantizar que la herramienta de corte esté parada cuando el motor funciona al ralenti (si es necessario, reduzca la velocidad de ralenti).
Si la herramienta de corte sigue girando cuando el motor está al ralentí, consulte con su agente de servicios专业技术o autorizzato mas cercano.
- Compruebe si el Interruptor de Arranque-Parada, la palanca de desbloqueo, la palanca de control y el boton de bloqueo funcionalmente.
Limpieza del filtró de aire
Gire la palanca del estrangulador (4) hasta elazo de cierre total y mantenga el carburador alejado del polvo o de lajecidad.
Retire el tornillo (1).
-Extraiga la cubierta del filtro del aire (3).
- Quite el elemento de espuma (2), lavelo en agua Templada y sequelo completeness.
- Tras la limpieza, vuelva a colocar la cubierta del bajo de aire (3) y apriétela con el tornillo (1).
NOTA: Si el filtro de aire tiene adherido demasiado polvo o suciedad, lópez todos los días. Un filtro de aire obstruido可以选择 dificultar or imposibilitar la puesta en marcha del motor o el aumento de la velocidad de giro del motor.

Comprobación de la bujía
- Utilice solamente la llave de vaso suministrada para quitar oponer la bujía.
- La holgura entre los dos electrodos de la bujía debe ser de 0,6-0,7 mm (0,024"-0,028"). Si la holgura es demasiado grande opeguña, ajustela. Si la bujía está obstruida con carbonilla o sociedad, limpiela minuciosamente o reemplácela.
PRECAUCION: Nunca toque el conductor de la bujía cuando el motor está的功能ando (peligro de recibir una descarga electrica de alta tension).
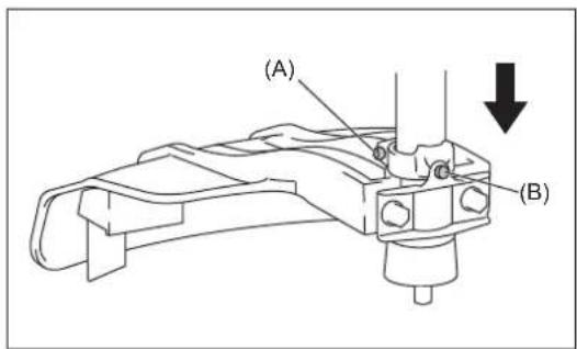
Suministro de grasas para el eje Flexible
- Suministre grasa (Shell Alvania 3 o equivalente) al eje flexible cada 50 horas.
(Puede comprar grasa original de DOLMAR en su distribuidor DOLMAR.)
Para aplicar la grasa, siga these pasos:
- Retire los pernos (A) y (B).
- Retire la unidad del cabezal del eje.
- Retire el eje flexible a mano y aplique grasa.



Cabezal de succion en el deposito de combustible
- El filtro de combustible (1) del cuestion de succion se usa para proporcionar el combustible requisite para el carburador.
- Inspeccione visualmente el filtro de combustible de forma periodica. Para inspeccionar el filtro, abra la tapa de relleno de combustible y utilise un gancho de alambre para extraer el casingzal de succion a工程技术 de la aperture del deposito. Reemplace el filtr si se ha endurecido, esta especially sucio u obstruido.
- Un suministro de combustible insufficiente pode tener como resultado que se sobrepase la velocidad Tmaxa permitida. Por lo tanto, el filtro de combustible debe reemplazarse como minimum cada tres meSES para garantizar un suministro de combustible satisfactorio al carburador.

Cualquier otro trabajo o ajuste de mantenimiento que no se describe en este manual solo doit realizar lo centro de servicios专业技术 autorizzato.
ALMACENAMIENTO
- Cuando almacene el equipo durante un长大o periodo de tiempo, vacie todo el combustible del deposito de combustible y del carburador. Paraarlo, vacie todo el combustible del deposito de combustible. Deseche el combustible que haya quitado de acuerdo con las leyes aplicables locales.
- Quite la bujía yañda unaas gotas de aceite en el orificio de la bujía. A continuación, tire del arrancador suavamente de forma que el aceite cubra el interior del motor y, a continuación, apriete la bujía.
- Limpie el polvo o la suciedad de la cucilla y la suciedad del exterior del motor con un trapo empapado en aceite. Almacene el equipo en un lugar seco.

Programa de mantenimiento
| General Conjunto del motor, tomllos y tuercas Inspeccion visual de daños y apriétes | ||
| Comprobacion del estado general y la seguridad | ||
| Después de cada repostaje Palanca de controlInterruptor de Arranque-Parada | Comprobacion functionalComprobacion functional | |
| Diariamente Filtro de aire | Condujo de aire de refrigeracionHerramienta de corteVelocidad de ralentí | Debe limpiarseDebe limpiarseComprobacion de daños y del aflidoInspeccion (la herramienta de corte no se debe mover) |
| Semanalmente Bujía | Silenciador | Inspeccion, reemplazo si es necesarioInspeccion y limpieza de la aperture si es necesario |
| Cada tres meses Cabezal de succiónDepóstito de combustible | Debe reemplazarseDebe limpiarse | |
| Procedimiento de apagado Depósito de combustibleCarburador | Vaciado del depósito de combustibleHagaFuncionaler el motor hasta que se agote el combustible | |
Localization y solución de averías
| Avería Sistema Observación Causa | |||
| El motor no arranca oarranca con dificultad | Sistema de encendido Chispa de encendoodorrectaNo hay cispa deencendido | Avería en el sistema de suministro de combustible ocompressión, defecto mecánicoSe ha utilisé el Interruption de Arranque-Parada, avería del cableado o cortocircuito, bujía o conector defectuoso,módulo de encendido defectuosoDepóstito decombustible lleno | Avería en el sistema de suministro de combustible ocompressión, defecto mecánicoPosición incorrecta del estrangulador, carburadordefectuoso, linea de suministro de combustible dobladorabloqueada, combustible sucio |
| Suministro decombustible | |||
| Comprisión No hay composión La junta inferior delcilindro es defectuosa, los retenedes cigüeñal estándañados, el cilindro o los segmentosdel pistón estándañados o el sellado de la bjúa esincorrectoMuelle del arrancador roto, piezas rotas bajo del motor | |||
| Avería mecánica El arrancador nofuncionaDepóstito lleno.Chispa de encendodecorrecta | Carburador sucio, deben limpiarseAjuste del ralentí incorrecto, carburador sucioVentilación del defecto defectuosa, linea de suministrode combustible interrupida, cable o Interruption deArranque-ParadaFiltro de aire sucio, carburador sucio, silenciadorobstruido, conductor de escape del cilindro obstruido | ||
| Problemas de arranque encaliente | |||
| El motor arranca pero separa | Suministro decombustible | Depóstito lleno | |
| Rendimiento insufúrente | Varios sistemas poderenverse afectadossimultáneamente | Bajo ralentí del motor | |
Português
Nunca utilize laminas metálicas
INSTRUÇÉS DE SEGURANÇA
Instruções gerais
N°/Tipo de modelo: LT-27
Nivel de potencia sonora medida: 111,30 dB
Nivel de potencia sonora garantida: 112 dB
-
- 2014

Yasushi Fukaya
Director
Makita, Jan-Baptist Vinkstraat 2, 3070, Belgica
DADOS TÉCNICOS
Para maquinas com modelos de pegafecha
AVISO: Nunca utilize laminas metálicas.
ManualFacil