LT27 - Corta-relva DOLMAR - Manual de utilização gratuito
Encontre gratuitamente o manual do aparelho LT27 DOLMAR em formato PDF.
Baixe as instruções para o seu Corta-relva em formato PDF gratuitamente! Encontre o seu manual LT27 - DOLMAR e retome o controlo do seu dispositivo eletrónico. Nesta página estão publicados todos os documentos necessários para a utilização do seu dispositivo. LT27 da marca DOLMAR.
MANUAL DE UTILIZADOR LT27 DOLMAR
Leia cuidadosamente este manuall de instruções aes deutilar a Roaceira A Gasolina e cumpra todas as normas de seguranca! Guarde este manuall de instruções num local seguro!
Vigtigt:
CARBURANTEIRIFORNIMENTO
(Instruções de origem)
Obrigado por ter adquirido o Equipamento Eléctrico para Exteriores da DOLMAR. Temos o orgulho de recomendar um produit DOLMAR que é o resultado de um longo programa de desenvolvimento e muitos anos de conhecimiento e experiencia.
Leia esta brochurec ucidadosamente que se refere em pormenor aos various pontos que irão demonstrar o fantástico desempenho. Ira ajuda-lo a obter os melhores resultados possíveis do seu produit DOLMAR.

Índice Págrina
Simbolos 92
Instruções de segurança 93
Dados techniques. 97
Designação de peças 98
Montagem da pega. 99
Montagem do protector 99
Montagem da casa de corte em nylon 99
Combustivel/reabastecimento de combustivel. 100
Arranque/paragem 101
Cabeça de corte em nylon. 103
Instruções de service. 104
Armazenamento 106
SIMBOLOS
Tome atenção aos seguições símbolos ao ler omanual de instruções.

Leia o manual de instruções e siga os avisos e as precações de segurarça!

Tenha um cuidado e atençao especialis!

Proibido!

Mantenha-se afastado!

Perigo de objectos voadores!

Proibido fumar!

Sem chamas abertas!

Deve utilizel ruvas de protecao!

Use botas resistentes com solas não aberrantes. Recomenda-se a utilização de botas de segurarça com biqueira de aço!

Mantenha a area de funciona livre de pessoas e animais!

Use um capacete e protecao para os oculos e ouvidos.

Velocidade maxima admissivel da ferramenta

Combustivel (Gasolina)

Arranque manual do motor

Paragem de emergência

Primeiros-socorros

LIGAR/ARRANCAR

DESLIGAR/PARAR

- Leia este manual de instruções para se familiarizar com o manuseamento do equipamento. Utilizar este equipamento semDSLentecorrectamente pode resultar em ferimentos graves em si ou em outros.
- É aconseilhável emprestar o equipamento apenas a pessoas que demonstraram ter experiencia.
Empreste-lhes sempre este manual de instruções ao mesmo tempo. - Se é a primeira vez que utilizes uma roçadeira, consulte o seu revendedor para instruçõesbasicas.
- Crianças e pessoas novas com menos de 18 anos não devem operar este equipamento. Pessoas com mais de 16 anos podem, no entanto, usar o disposicao para efeitos de treino, apenas durante a supervisao de um formador especialico.
- Utilize com o maior de cuidado e atenho.
- Opere apenas se estiver em boas condições fisicas. Efpectue todos os trabalho com calma e cuidado. Outilizardeveaceitar a responsabilitadepelos que está em sua volta.
- Nunca utilize o equipamento antes o consumo de alcool ou drogas, ou se estiver cansado ou doente.
- As regulamenteções{nacionais podem proibir autilização daquina.
Utilização pretendada daquina
- Este equipamento destina-se apenas aURTAR relva e ervas daninhas preocupas. Não deve serutilado para outros fins como aparar sebes, uma vez que pode causar ferimentos.
Equipamento de proteção pessoal
- Utilize sempre roupas que sejam functionais e apropiadas ao seu trabalho, isto é, que fiquem justas mas não demasiado apertadas ao punto de causar um movimento desconfortavel. Não utilize joalharia ou roupas que possam ficar presas nos arbustos.
- Para fazer ferimentos na casa, olhos, mês ou pés, assim como para proteger a sua audiação, deve utilizes o segunte equipamento e roupa de proteção durante oestrutura.
- Utilize um capacete sempre que existir risco de quaida de objectos. Deve verificar regularamente se existem danos no capacete protector (1) e deve substitui-lo, no微量元素, antes 5 anos. Utilizeapanas capacentes protectores aprovados.
- O visor (2) do capacete (ou oculos, em alternativa) protege a face de resíduos e pedras. Durante a utilização, utilize sempre oculos ou um visor para evitar ferimentos oculares.
- Use equipoamento de proteção contra ruido adequado para evitar deficiências auditivas (protector auditivo (3), tampões para os ouvidos etc.). - Os fatos-macaco (4) protegem contra pedras e resíduos.
Recomendamos vivamente que o'utilizar use FATOS-macaco. - As luvas (5) fazem parte do equipamento indicado e devem ser sempre realizadas durante a'utilisation.
-Ao uso o equipamento, use sempre sapatos resistentes (6) com uma sola não aberrapante. Estes sapatos protegem contra ferimentos e asseguram um bom apoio.
Iniciar a Rocadeira A Gasolina
- Certifique-se de que não há crianças ou outras pessoas a travaíhar num raio de 15 metros (50 pés), tome quando atençao a animais nas proximidades.
- Antes da utilização, certifique-se sempre de que o equipamento está seguro: Certifique-se de que o implemento de corte é seguro, de que a alavanca do acelerador pode ser operada fácilmente e de que obloqueio da alavanca do acelerador está a funcional correamente.
- A rotação doimplemento de corte durante a marcha lenta é probida. Consulte o seu revendedor se achar que o equipamento pode precisar de ajustes. Certifique-se de que as pegas está limpas e secas e de que o botão de arranque/paragem está a funcional correctamente.





(3)


(5)

(6)

Diagrama
Abastecimento
Ligue a Rocadeira A Gasolina apenas de acordo com as instruções.
- Não utilize outros métodos para arrancar o motor!
- Utilize a Rocadeira A Gasolina e as ferramentas apenas para estas aplicacoes como especificado.
- Ligue o motor apenas après a conclusao da montagem. nao opere o equipamento ate que todos os accesarios��ropriados estejam fixos! - Antes de arrancar, certificque-se de que o implemento de corte nao está em contacto com objects douros como ramos,PEDras etc.,uma vez que o implemento de corte ira rodar ao arrancar.
- Desligue o motor imeditamente se occurrer algoqo tipo de problema no motor.
- Caso o implemento de corte atinja pedras ou outros objectos duros, desligue imeditamente o motor e inspecciono o implemento de corte.
- Inspecciono o implemento de corte em intervalos curtos regulares para se certificar de que não está danificada (detecção de fissuras realizando o testo do toque).
- Se o equipamento soferem um impacto ou quaida, verifique o seu estado antes deContinuar a travaalhar. Verifique o Sistema de combustivel por fugas de combustivel e os comandos e dispositivos de seguranca por avarias. Se existrem danos ou duidas, Solicite o"Ourso centro de assistencia autorizado para a inspeccao e reparacao.
- Durante o funciona, segure sempre a Rocadeira A Gasolina com ambas as mês. Nunca segure na Rocadeira A Gasolina com uma boa durante a utilização.
Certifique-se sempre de que tem um apoio seguro.
- Opere o equipoamento de maneira a exigir a inalgoa dos gases de escape. Nunca arranque o motor num espoço fechado (risco de envenenamento por gás). O monóxico de carbono é um gás sem odor.
- Desligue sempre o motor quando estiver em repouso, ou se pretende deixar o equipamento sem vigilência, e colique-o num local seguro para fazer ferimentos a outras pessoas e danos no equipoamento.
- Nunca coloque a Rocadeira A Gasolina sobre a relva seca ou em quaisqueroutsros materiais combustiveis.
- Instale sempre o resguardo do implemento de corte aprovado no equipoamento antes de ligar o motor. Caso contrario, o contacto com o implemento de corte pode causar ferimentos graves.
- Todas as instalacoes de protecao e resguardos fornecidos com esta MQaina devem ser usados durante o funcaoamento.
- Nunca opere o motor se o silenciador de escape estiver avario.
- Desligue o motor durante o transporte.
- Certifique-se de que o equipamento está seguro durante o transporte automóvel, de modo a evaporar fujas de combustivel.
- Durante o transporte, certificque-se de que o deposito de combustivel está totalmente vazio.
- Quando descarregar o equipamento, nunca deixe cair o motor no chao, uma vez que tal pode danificar gravamente o deposito de combustivel.
- Excepto em caso de emergência, nunca delexe cair nem atire o equipamento ao chao uma vez que isto pode danificá-lo gravamente.
- Lembre-se de levantar todo o equipamento do chão ao move-lo. Arrastar o equipamento no seu depessoito de combustivel é muito perigoço e pode fazer uma fuga de combustivel, ou que pode resultar num incendio.
- Desigue o motor durante o reabastecimento de combustivel, mantenha-se longe das chamas abertas e não fume.
- Certifique-se de que produits de oleo mineral não entraram em contacto com a pele. Não inale o vapor do combustível. Use sempre luvas protectoras durante o rebastacimento. Mude e limpe a roupa protectora em intervalos regulares.
- Para evacitar contaminacao do solo (protecção ambiental), certificado-se de que não dellrama combustivel ou oleo no chao. Limpe a Rocadeira A Gasolina imeditamente antes o derramento de combustivel.
- Certifique-se de que o combustivel não entra em contacto com as roupas. Se o combustivelentrar emcontacto com as suas roupas, mude estas roupas imeditamente (para vigorar um incendio).
- Inspecciona tampa de combustivel em intervalos regulares para se certificar de que está bem seguro e não pina.
- Aperte, com cuidado, a tampa do deposito de combustivel. Mude de local para arrancar o motor (pelo menos a 3 metros de distência de onde reabasteceu).
- Nunca reabasteça num espaço fechado. Os vapores de combustível acumulam ao nível do solo (risco de explosões).
- Transporte e armazene o combustivel apenas em recipientes aprovados.
Certifique-se de que o combustivel armazenado não é accesivel a crianças.






Método de funciona
- Utilize開放 com boa luz e visibiliadade. Durante a epoca de Inverno, tenha cuidado com和地区 escorregadas ou molhadas, gelo e neve (risco de escorregar). Certifique-se sempre de que tem um apoio seguro.
- Nunca corte acima da alta dos ombros.
Nunca suba para una escalada. - Nunca trepe árvores para efectuar una operação de corte.
- Nunca lavoro em superficies instaveis.
- Remova areia, pedras, pregos etc他们在都工作。
- Antes devenir acortar, certificque-se de que o implemento de corte atingiu a velocidade de funcaoamento completa.
- Oscile a Rocadeira A Gasolina de maneira uniforme.
Se relva ou ramos ficarem presos entre o implemento de corte e o resguardo, deslige sempre o motor antes da limpeza. Caso contrario, a rotação não intencional do implemento pode provocar ferimentos graves.
- Descanse para evitar a perda de controlo causada pela fatigia. E aconselhavel descansar 10 a 20 horas por cada hora.
Implementos de corte
- Nunca utilize láminas metálicas incluindo correntes oscilantes metálicas de varías peças e láminas tipo mangual. Caso contrário, o contacto com a lámina pode provocar ferimentos graves.
Vibração
- As pessoas com ma circulação que sejam expostas a vibrações excessivas podem sofrer ferimentos nos vasos sanguineos ou noSYSTEMA nervoso. As vibrações podem causar os segunte sintomas nos dedos, mados ou pulsos: "Adormecimento" (falta de sensação), formigueiro, dor, sensação de picadas, alteração da cor da pele ou da propria pele. Se ocorrER qualquer um destes sintomas, consulte um medico!
- Para reduzir o risco de "doença de Raynaud", mantenha as suas mês quentes durante a operação e tenha sempre o equipamento e os acessórios limpos.
Instruções de manutenção
- Solicite o"Ourso centro de assistencia autorizo para efectuar a manutenacao do equipoamento,utilizando sempre peças de reposicao genuinhas.Uma reparacao incorrecta e uma manutenacao refraca pode encurtar a vidautildo equipoamento e augmentar orisco de acidentes.
- O estado do equipamento, em particular doimplemento de corte dos dispositivos de protecao e tem de ser verificado antes de iniciai o trabalho.
- Desligue o motor e remove o conector da vela de ignicao ao substituir ou afiar os implementos de corte, e mesmo ao limpar a rocadeira ou implemento de corte.
- Tenha cuidado com o ambiente. Evite'utilizar desnecessariamente o acelerador para reduzir as emissções de poluição e ruido. Afine correctamente o carburador.
- Limpe o equipamento em intervalos regulares e certifique-se de que todos os parafusos está bem apertureados.
- Nunca efectue manutenção ou guarde o equipoamento perto de chamas.
- Guarde sempre o equipamento em salas fechadas e com um depessoito de combustível esvaziado.



Observe as instruções de prevenção de accidentes relevantes emittidas pelas assocações commerciais relevantes e companhias de seguros. Não efetue quaisquer modificações no equipamento, poi isto está a comprometer a sua segança.
O desempenho do trabalho de manutencao ou reparacao poe Utilizador e limitado as本次活动es descritas no manual de instruções. O resto do travailho devera ser efectuado por um Agente de Servico Autorizational.Use apenas partes sobressalentes genuinely e acessosios lançados e fornecidos pelada DOLMAR.
Utilizar acessórios e ferramentas não aprovados provocar um risco maior de acidentes.
A DOLMAR não aceitará qualquer responsabilização por acidentes ou danos provocados pela utilização de implementos de corte não aprovados e dispositivos de fixação de implementos de corte ou acessórios.
Primeiros-socorros
Em caso de acidente, certifique-se de que una caixa de primeiros socorros está disponible nas proximas das operações de corte. Substitua imeditamente qualquer item retirado da caixa de primeiros socorros.
Ao pedir ajuda, forneça a segunte informação:
- Local do acidente
- O que aconteceu?
-Numero de pessoas feridas - Tipo de ferimentos
- O seu nombre

Apenas para paises europeus
DECLARATION DE conformidade CE
A Makita declares que as máquinas:
Designação da区内: Rocha deira A Gasolina
Especificações: consulte aabela "DADOS TÉCNICOS"
Estao em conformidade com as direcitases europelas seguients:
São fabricadas de acordo com as normas e documents normalizados seguições:
EN ISO11806-1
A ficha的技术a em conformidade com a norma 2006/42/EC está disponivel a partir de:
Makita, Jan-Baptist Vinkstraat 2, 3070, Belgica
O procedimento de avaliacao da conformidade requisitado pela Direcva 2000/14/EC estava em conformidade com o anexo V.
| Modelo LT-27 | |||
| Tipo de pegu Pega fechada | |||
| Dimensoes: comprimento x largura x alta (sem a ferramenta de corte) mm 1.645 x | 220 x 510 | ||
| Peso llicoido kg 4,3 | |||
| Tipo de motor Refrigerado a ar, 2IOUS, um cilindro | |||
| Cilindrada do motor cm | 3 | 25,7 | |
| Desempenho máximo do motor kW 0,83 | |||
| Frequência de rotação(Maxima do veio min) -1 | 8.000 | ||
| Diámetro de corte com cabeca de corte em nylon mm φ 400 | |||
| Velocidade em marcha lenta /min | 3.000 | ||
| Velocidade da embraiagem | /min | 4.100 | |
| Combustivel | Gasolina mistura Gasolina: Óleo para motor adoes tempos = 50:1 | ||
| Volume (deposito de combustível) | L | 0,6 | |
| Carburador | WALBRO WYC | ||
| Vela de igniação | NGK BPMR7A | ||
| Separação de electrolytos | mm | 0,6 - 0,7 | |
| Vibração de acordo com ISO 22867 | Pega direita(Punho traseiro) | ahveq m/s2 | 5,074 |
| Incerteza K m/s2 | 1,5 | ||
| Pega esquerda(Punho dianteiro) | ahveq m/s2 | 3,853 | |
| Incerteza K m/s2 | 1,5 | ||
| Nível de pressão sonora de acordo com ISO 22868 | LPAAeq dB (A) | 91,30 | |
| Incerteza K dB (A) | 0,85 | ||
| Média doível de potência sonora de acordo com ISO 22868 | LwAeq dB (A) | 111,30 | |
| Incerteza K dB (A) | 0,85 | ||



| Nomes de peças | |
| 1 Cabo de controlo | |
| 2 Punho traseiro | |
| 3 Alavanca de controlo | |
| 4 Interruptor Arrancar-Parar | |
| 5 Pega | |
| 6 Eixo | |
| 7 | Protector (Resguardo da ferramenta de corte) |
| 8 Cabeça de corte em nylon | |
| 9 Tampa dorosso de ar | |
| 10 Caixa da embraialagem | |
| 11 Tampa do depessoito de combustível | |
| 12 Bomba de descarga | |
| 13 Depessoito de combustível | |
| 14 Vela de igniação | |
| 15 Alavanca do afogador | |
| 16 Silenciador de escape | |
| 17 Pega de arranque | |
| 18 Arranque por fio | |
MONTAGEM DA PEGA

PRECAUÇAO: Antes de efctuar qualquer lavoro no equipamento, deslige sempre o motor e retire o conector da vela de ignicao da vela de ignicao.
Use sempre luvas de proteção!

PRECAUÇA: Ligue o motor après a montagem estar conclusa.
Fixe a pegafechada (1) no eixo (2).
- Certifique-se de que o espatador no tubo do eixo se encontra entre o punho e o除外 punho. Não remove ou encolha o espatador.
NOTA: Em algunos País, o espatador não é fornecido com a ferramenta. Nesse caso, alinhe a pega com o lado mais distante da LINHA que é indicado pelas MARCAS de seta.

MONTAGEM DO PROTECTOR
Para obedecer as provisos de seguranga aplicaveis,apanas devem ser realizadas as combinacoes de ferramenta/protector indicadas na tabela.

PRECAUÇA: Não toque no cortador de fio (1) no protector (2). Tocar no cortador de fio com as mãos desprotegidas pode resultar em ferimentos.
O protector deve estar instalado para fazer o comprimento do fio de corte em nylon e proteger o operador contra a projeção de pedras e detritos. Instale o protector de acordo com os passos seguides.
- Coloque o protector de forma a que a saliência no eixo encaixe na ranhura no protector.
- Aperte doit parafusos (3).

MONTAGEM DA Cabeça DE CORTE EM NYLON

Certifique-se de que utilizes cabecas de corte em nylon da DOLMAR genuinas.
- Se aCESSa de corte em nylon for de encontrar a uma pedra durante o functiOnamento, pare o motor e verifique aCESSa de corte em nylon imeditamente.

PRECAUÇA: Não toque no cortador de fio (1) no protector. Tocar no cortador de fio com as mês desprotegidas pode resultar em ferimentos.
Cologne a cabaça de corte em nylon (2) de acordo com os passos seguintes.
- Introduza a chape de bloqueio (3) atraves do orificio no grampo. Rode-os quando prime a chape de bloqueio, até que tranquilem.
- Aperte aCESSA de corte em nylon no eixo rodando-a no sentido dos ponteiros do relógio. Certifique-se de que está bem fixa.
- Retire a chave de bloqueio.
Para remover a cabeca de corte em nylon, rode-a para a esquerda.

COMBUSTIVELIREABASTECIMENTO DE COMBUSTIVEL
Lidar com combustivel
É necessário muito cuidado ao lidar com combustível. O combustivel pode conter substâncias semelhantes a solventes. Reabasteça num espaço bem ventilado ou no exterior. Não inale vapes do combustível e evite qualquer contacto de combustível ou oleo com a sua pele.
Produtos de oleo mineral desengorduram a sua pele. O contacto prolongado da sua pele com theseiros fara com que a sua pele fique extremamente seca, o que pode resultar em varioustips de doenças de pele. Para lem disso, poderao ocorro reacoes alergicas.
Os olhos poder ser irritados atraves do contacto com oleo. Se entrada oleo nos seuis olhos, lave-os imeditamente com agua limpa. Se os seuos olhos ainda estiverem irritados, consulte imeditamente um medico.

Leia as instruções de segurarça na págnina 93.
Mistura de combustivel e oleo
O motor da rocadeira é um motor a dois tempos de eficiência elevada. Funciona à base de uma mistura de combustível e oleo no motor a dois tempos. O motor foi concebido para combustivel regular sem chumbo com um valor minimo de octano de 91 RON.
Para obter um desempenho do motor optimo e para proteger a sua salute e ambiente, utilize apenas combustivel sem chumbo!
Para lubrificar o motor, adicione oleo do motor a dois tempos (grau de qualidade: JASO FC ou ISO EGD) ao combustivel. O motor foi concebido para'utilizar oleo de motor a dois tempos a uma relationa de mistura de 50:1 para proteger o ambiente. Para lem disso, esta relationa de mistura garantue um longo e fiavel tempo de funcaoamento assim como emissoes minimas. Um functionamento fiavel da rocadeira não pode ser garantido a menos que esta relationa de mistura de 50:1 (oleo do motor a dois tempos especficado) sera estritamente observada.

Relação demistura correcta:
Gasolina: Óleo do motor ainous tempos específico 0 50 : 1 ou
Gasolina: Oleo do motor adoes tempos de outro fabricante = 25:1 recomendado
NOTA: Para preparar a mistura combustivel-oleo, misture primarya toda a quantidade de oleo com metade do combustivel necessario, deposite adicone o combustivel restante. Abane cuidadosamente a mistura antes de a deitar no deposito da rocadeira a gasolina. Para assegurar umFUNICIONamento seguro, não adicone mais oleo do motor do que a quantidade especified. Isso resultaruma maior producao de residuos de combustao que pouem o ambiente e entopem o canal de escape no cilindro assim ao silenciador. Para alern disso, o consumo de combustivel augmentarao e o desempenho diminuirá.

Gasolina 50:1 25:1

1.000cm^3 (1 litro)
5.000 cm³ (5 litre)
10.000 cm³ (10 litre)
20~cm^3
100cm^3
200cm^3
40~cm^3
200cm^3
400cm^3
Reabastecimento de combustivel
O motor deve ser desligado.
- Limpe rigorosamente a area em torno da tampa do abastecedor de combustivel (2) para evaporar que entre sujidade no deposito de combustivel (1).
- Desaperte a tampa do abastecedor de combustivel (2) e encha o deposito com combustivel.
- Aperte bem a tampa do abastecedor de combustivel (2).
- Limpe o parafuso da tampa do abastecedor de combustivel (2) e deposito après o reabastecimento.

Armazenamento de combustivel
O combustivel não pode ser guardado durante um periodo ilimitado de tempo. Adquira aspenas a quantidade necessária para um periodo deestrucimento de 4 semanas. Utilize aspenas recipientes de armazenamento de combustivel aprovados.
ARRANQUEIPARAGEM
Cumpra os regulamentos sobre prevenção de acidentes aplicáveis.
Arranque
Distancie-se 3 m da area onde reabasteceu o equipamento. Coloque a rocadeira num pedao limpo do chao certificando-se de que a ferramenta de corte nao entra em contacto com o chao ou com quaisquer outros objectos.
AVISO: Certificque-se de que a ferramenta de corte roda imeditamente après o arranque do motor.
Arranque a frio
- Coloque o interruptor Arrancar-Parar (1) na posicao de arranque, conforme ilustrado.
- Agarre a pega (a pressão manual activa a alavanca de bloqueio de segurarca (2)).
- Pressione continuamente a alavanca do acelerador (3).
- Regule o interruptor Arrancar-Parar (1) para a posicao de arranque e solte a alavanca de controlo e, de seguida, solte o interruptor Arrancar-Parar (o interruptor Arrancar-Parar mantem a alavanca do acelerador na posicao de arranque).

Arranque a quente
- Coloque o interruptor Arrancar-Parar (1) na posicao neutra, conforme ilustrado.

- Primeiro, colque o equipamento no chao.
- Prima suavamente a bomba de descarga (4) repetidamente (7 a 10 vezes) até que o combustivel entre na bomba de descarga.
-
Feche a alavanca do afogador (5). Abertura do afogador:
-
Complemente fechada em temperatas baixas ou quando o motor está frio
- Complemente ou parcialmente aberta quando o motor a third quente

- Secureamente a embraiagem com a sua maior esquerda, tal como ilustrado.
- Puxe lentamente a pega de arranque até sentido resistência edeois continua a puxar com forca.
- Não retire completely a corda de arranque e não permitta que a pega de arranque se recolha sozinha. Mantenha controlo da corda de arranque e certifique-se de que é recolhida lentamente.
- Repita o functiomento de arranque ate ouvir as ignicoes iniciais do motor.
- Baixe a alavanca do afogador (5) e puxe a corda de arranque de novo até o motor arrancar.
- Assim que o motor arrancar, feche e solte imeditamente o acelerador, para soltar o bloqueio do meio acelerador e permitir ao motor funcional em marcha lenta.
- Deixe o motor travaçar durante aproximadamente um minuto a velocidade moderada antes de aplicar a acceleration maior.


NOTA: - Se puxar a pega de arranque repetidamente quando a alavanca do afogador estiver na posicao 一 _ 一 ^ 一 , o motor não arrancará fácilmente devido a uma excessiva entrada de combustivel.
- Se ocorrre uma entrada de combustivel excessiva, remova a vela de ignicao e puxe a pega de arranque lentamente para remover o combustivel em excesso. Tatem devera limpar a secao dos electrolydos da vela de ignicao.
Precauções durante oestrutura:
Se a alavanca do acelerador estiver totalmente aberta durante um funcaoamento em vacio, as revoluo do motor augmentam em mais de 10.000 min-1. Nunca opere o motor a uma velocidade mais alta do que a necessaria e mantenha as revoluo a uma velocidade aproximada de 6.000 - 8.000 min-1.
PRECAUÇA: Reduza sempre as revoluções do motor quando o equipamento não estiver a serutilizzato para travaHAR.
Operar o equipamento a altas revoluções quando não estiver a ser realizado para travaço diminuiç o tempo de funcional do equipamento.
Paragem
- Solte totalmente a alavanca do acelerador (3) e quando as rpm do motor tiverem baixado, prima o Interruptor Arrancar-Parar (1) para a posicao "STOP" para parar o motor.
- Note que a cabaça de corte poderá não parar imeditamente e deixe sempre que ela abrande e pare completeness por sipropriaria.

CABECA DE CORTE EM NYLON
ACESS OPOLO A cabela de corte em nylon é uma cabela de aparador de LINHA dupla com mecanismo de ressalto e fornecimento.
ACESS OPO A Cabeça do aparador no chão.
Funcionamento
- A area de corte mais eficiente é muito boa para aarea sombreada.
- Para fornecer o fio de nylon,;aumente a velocidade da cabeca de corte em nylon para aprox. 6.000 min-1 e bata ligeiramente com a cabeca de corte em nylon no chao.
- Se aCESSÉ de corte em nylon não fornecer ao bater, rebobine/substitua o fio de nylon seguido os procedimentos descritos em "Substituir o fio de nylon".
Substituir o fio de nylon
-Parar o motor.
- Prima as linguetas do alojamento para dentro para levantar a tampa,(before remova a bobina.


- Engate o centro do novo fio de nylon no entalhe no centro da bobina, com uma extremidade do fio de circa de 80mm (3-1/8") maior que a outra. De seguida, enrole ambas as extremidades em torno da bobina na direção da rotação da casa (direção para a direira indicada por RH na parte lateral da bobina).

- Enrole todo excepto circa de 150 mm (6") dos fios em torno da bobina, deixando as extremidades temporariamente presas atraves do entalhe no lado da bobina.

- Passe os cabos atraves dos ihós para sairem do alojamento.
Instale a anilha, mola e bobina no alojamento.

-Alinhe os ganchos na tampa e na armacao. De seguida, pressione bem a tampa na armacao para a fixar.

INSTRUÇÉS DE SERVICO
Instruções de serviços
PRECAUÇA: Antes de efetuar qualquer tipo de trabalho de manutençao na roçadeira, deslige sempre o motor e separe a tampa da vela da vela de ignicão (ver "Verificar a vela de ignicão").
Use sometime luvas de proteção.
PRECAUÇA: Nunca remove o dispositivo de arranque de recuo sozinho. Isto poderá fazer um acidente. Este服务于你。你可以在各城市开设服务站,以提供服务。
Para garantir um longo tempo de funcionalmente para fazer quaisquer danos no equipamento, efectue as segunte operations de manutenao regularamente.
Inspecção e manutençao diarias
- Antes do funcionamento, verifique se existem parafusos soltos no equipamento ou se fallam peças. Preste especial atencao ao aperto da lamina de cortar ou da cabeca de corte em nylon.
-
Antes do functiamento, certifique-se sempre de que a passagem do ar de arrefecimento e as rebarbas do cilindro não está entupidas. Limpe-as se necessario.
-
Efectue as seguientes operacoes de manutencao diariamente apsoa autilização:
- Limpe a rocadeira a gasolina externamente e verifique se existem danos.
- Limpe o filtro de ar. Ao travañar em condições de muito po, limpe o filtro varías vezes por dia.
- Verifique se a lamina ou a cabeça de corte em nylon está danificadas e certifique-se de que está devidamente montadas.
- Verifique se existe dificuna sufficiente entre as velocidades de marcha lenta e de functiOnamento para se certificar de que a ferramenta de corte está num ponto de imobilizacao enquanto o motor está em marcha lenta (se necessario, reduza a velocidade de marcha lenta).
Se a ferramenta de corte continuar a rodar durante a marcha lenta do motor, consulte o seu Agente de Servico Autorizzato mais proximo.
- Certifique-se de que o interruptor Arrancar-Parar, a alavanca de bloqueio, a alavanca de controlo e o botao de bloqueio está a funciona correctamente.
Limpar o filtrode ar
- Rode a alavanca do afogador (4) para o lado totalmente fechado e mantenha o carburador longe de qualquer po ou suijidade.
Retire o parafuso (1)
Retire a tampa do filtrlo (3). - Retire o elemento da esponja (2), lave-o a agua morna e seque-o completeness.
- Após ter limpado, reponha a tampa do过滤 de ar (3) e aperte-a com o parafuso (1).
NOTA: Se existir po ou sujidade excessivos a aderir ao FILTER de ar, limpe-o todos os dias. Um FILTER de ar entupido pode dificuldar ou impossibilhar o arranque do motor ou o aumento da velocidade rotacional do motor.

Verificar a vela de ignicao
-
Utilize開放 a chave universal fornecida para remover ou instalar a vela de ignicao.
-
O espaço entre os dois elecrtados da vela de ignicao deformar estar a 0,6-0,7 mm. Se o espaço for demasiado longo ou estreito, regule-o. Se a vela de ignicao estiver entupida com carvao ou estiver sua, limpe-a rigorosamente ou substitua-a.
PRECAUÇA: Nunca toque no conector da vela de ignicão quando o motor estiver a trabalhar (perigo deCHOque eletrico de alta tensao).
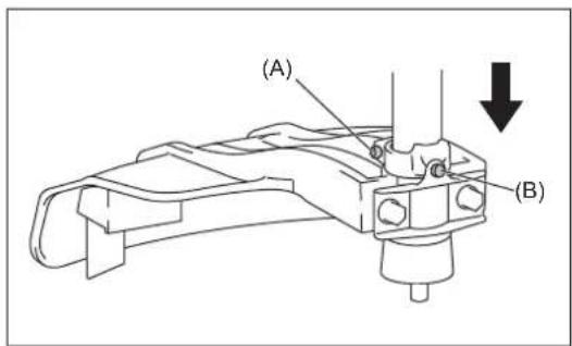
Fornecimento de massa lubricamente para o eixo flexivel
- Forneça massa lubricamente (Shell Alvania 3 ou equivalente) para o eixo flexível a cada 50 horas. (Lubrificação DOLMAR pode ser adquirida no seu revendedor DOLMAR.)
Para aplicar massa lubricidente, efectue os passos seguients:
- Retire os parafusos (A) e (B).
- Retire a cabeca do eixo.
- Retire o eixo flexivel manualmente e aplique massa lubricamente.



Cabeça de sução no deposito de combustível
- O FILTER de combustivel (1) da casa de succão é utilizado para fornecer o combustivel requirecido ao carburador.
- Inspeccione visualmente o filtro de combustivel com regularidade. Para inspeccionar o filtro, abra a tampa do abastecedor de combustivel, utilize um gancho metalico e retire a casa de succo pela abertura do deposito. Substitua o filtro se tiver endurecido, se estiver particulamente sujo ou entupido.
- Um fornecimento de combustível insufficiente pode resultar no excesso da velocidade Tmaxa permissivel. Logo, o filtrlo de combustivel deve ser substituido pelo menos trimestralmente para assegurar um fornecimento de combustivel satisfatório para o carburador.

Qualquer oto ralho de manutenao ou ajuste que nao esteja descrito neste manual deve ser efectuado apenas pelo centro de service autorizzato.
ARMAZENAMENTO
- Ao guardar o equipamento durante um longo periodo de tempo, drene todo o combustivel do deposito de combustivel e carburador. Para fazer isto, basta drenar todo o combustivel do deposito de combustivel. Elimine o combustivel dreno de acordo com as leis aplicáveis.
- Remova a vela de ignicao e adicione algumas gotas de oleo no orificio da vela de ignicao. Depois, puxe o dispositoivo de arranque suavamente para que o oleo revista o interior do motor, depos aperte a vela de ignicao.
- Limpe qualquer sujidade ou pó da lamina de corte e fora do motor, e limpe-os com um pano vergulhado em oleo. Guarde o equipamento num local seco.

Agenda de manutenção
| Geral Montagem do motor, parafusos e porcas Inspecção visual para detectação de | danos e aperto Verificque a condição geral e segurarva |
| Após cada reabastecimento Alavanca de controlo Interruptor Arrancar-Parar | Verificação functional Verificação functional |
| Diária Filtro de ar Conduça de ar de arrefecimento Ferramenta de corte Velocidade em marcha lenta | A limpar A limpar Verificque se existem danos e se está afiada Inspecção (a ferramenta de corte não deve mover-se) |
| Semanalmente Vela de igniação Silenciador | Inspecção, substitir se necessário Inspeçione, e limpe a abertura se necessário |
| Trimestralmente Cabeça de sucoção DepoSito de combustível | A substituir A limpar |
| Procedimento de encerramento | DepoSito de combustível Carburador DepoSito de combustível vazio Opere(até que o motor esgote o combustível |
Detecção de avarias
| Avaria Sistema Observação Causa | |||
| O motor não arranca ou tem dificuldade em arrancar | Sistema de igniação Ignicão | por vela O.K. Avaria no Sem ignião por vela Fun | fornecimento de combustível ouSYSTEMAdecompression, defeito mecâncio encionamento atraves do interruptor Arrancar-Parar, avaria na cablagem ou curto-circuito, vela de ignião ou conector defeituoso,&Móulo de ignião avariado |
| Fornecimento de combustível | Depósito de combustível enchido | Posicao do afogador Incorrecta, carburador defeituoso, linha de fornecimento do combustível dobrada ou bloqueada, combustível sujo | |
| Compressão Sem comprissão | quando parada | Junta inferior do cilindro defeituosa, vedantes da cambota danificados, anéis do pistão ou do cilindro defeituosos ouVEDação imprôpria da vela de ignião. | |
| Avaria mecânia Dispositivo | no engrenado | Mola do dispositivo de arranque partida, peças partidas dentro do motor | |
| Problemas no arranque a quente | Fornecimento de combustível | Depósito cheio. Ignião por vela O.K. | Carburador contaminado, deve ser limpo |
| O motor arranca mas morre For | Depósito cheio Ajuste da | macha lente Incorrecto, carburador contaminado | |
| Desempenho insufficiente | Vários sistemas poder estar afectados em simultâneo | Marcha lenta do motor fracá | Ventilaçao do defeçso de combustível defeituosa, linha de fornecimento de combustível interrompida, cabo ou interruptor Arrancar-Parar avariado |
| Filtro de ar contaminado, carburador contaminado, silenciador entupido, conduita de escape no cilindro entupida | |||
Notice-Facile