LT27 - Lawn mower DOLMAR - Free user manual and instructions
Find the device manual for free LT27 DOLMAR in PDF.
Download the instructions for your Lawn mower in PDF format for free! Find your manual LT27 - DOLMAR and take your electronic device back in hand. On this page are published all the documents necessary for the use of your device. LT27 by DOLMAR.
USER MANUAL LT27 DOLMAR
Read this instruction manual carefully before putting the Petrol String Trimmer into operation and strictly observe the safety regulations!
Preserve instruction manual carefully!
Important :
AiaTnpnote PPOOxN to EYXeipidio oBnyiw!
Önemli:
(Original instructions)
Thank you very much for purchasing the DOLMAR Outdoor Power Equipment. We are pleased to recommend to you the DOLMAR product which is the result of a long development program and many years of knowledge and experience. Please read this booklet which refers in detail to the various points that will demonstrate its outstanding performance. This will assist you to obtain the best possible result from your DOLMAR product.

Table of Contents Page
Symbols 2
Safety instructions 3
Technical data. 7
Designation of parts. 8
Mounting of handle. 9
Mounting of protector. 9
Mounting of nylon cutting head. 9
Fuel/refuelling. 10
Starting/stopping 11
Nylon cutting head. 13
Servicing instructions. 14
Storage 16
SYMBOLS
You will note the following symbols when reading the instructions manual.

Read instruction manual and follow the warnings and safety precautions!

Take particular care and attention!

Forbidden!

Keep distance!

Flying object hazard!

No smoking!

No open flame!

Protective gloves must be worn!

Wear sturdy boots with nonslip soles. Steeltoed safety boots are recommended!

Keep the area of operation clear of all persons and pets!

Wear protective helmet, eye and ear protection.

Top permissible tool speed

Fuel (Gasoline)

Engine-manual start

Emergency stop

First Aid

ON/START

OFF/STOP

Never use metal blades
SAFETY INSTRUCTIONS
General Instructions
- Read this instruction manual to become familiar with handling of the equipment. Users insufficiently informed will risk danger to themselves as well as others due to improper handling.
- It is recommended only to lend the equipment to people who have proven to be experienced.
Always hand over the instruction manual. - First users should ask the dealer for basic instructions to familiarize oneself with the handling of string trimmers.
- Children and young persons aged under 18 years must not be allowed to operate this equipment. Persons over the age of 16 years may however use the device for the purpose of being trained while under supervision of a qualified trainer.
- Use with the utmost care and attention.
- Operate only if you are in good physical condition. Perform all work calmly and carefully. The user has to accept liability for others.
- Never use this equipment after consumption of alcohol or drugs, or if feeling tired or ill.
- National regulation can restrict the use of the machine.
Intended use of the machine
- This equipment is only intended for cutting grass and light weeds. It should not be used for any other purpose such as edging or hedge cutting as this may cause injury.
Personal protective equipment
- The clothing worn should be functional and appropriate, i.e. it should be tight-fitting but not cause hindrance. Do not wear either jewelry or clothing which could become entangled with bushes or shrubs.
- In order to avoid either head-, eye-, hand- or foot injuries as well as to protect your hearing the following protective equipment and protective clothing must be used during operation.
- Always wear a helmet where there is a risk of falling objects. The protective helmet (1) is to be checked at regular intervals for damage and is to be replaced at the latest after 5 years. Use only approved protective helmets.
- The visor (2) of the helmet (or alternatively goggles) protects the face from flying debris and stones. During operation always wear goggles, or a visor to prevent eye injuries.
- Wear adequate noise protection equipment to avoid hearing impairment (ear muffs (3), ear plugs etc.).
- The work overalls (4) protect against flying stones and debris. We strongly recommend that the user wears work overalls.
- Gloves (5) are part of the prescribed equipment and must always be worn during operation.
- When using the equipment, always wear sturdy shoes (6) with a non-slip sole. This protects against injuries and ensures a good footing.
Starting up the Petrol String Trimmer
- Please make sure that there are no children or other people within a working range of 15 meters (50 ft), also pay attention to any animals in the working vicinity.
-
Before use always check the equipment is safe for operation: Check the security of the cutting attachment, the throttle lever for easy action and check for proper functioning of the throttle lever lock.
-
Rotation of the cutting attachment during idling speed is not allowed. Check with your dealer for adjustment if in doubt. Check for clean and dry handles and test the function of the start/stop switch.





(3)


(5)

(6)

Diagrammatic figure
- Start the Petrol String Trimmer only in accordance with the instructions.
- Do not use any other methods for starting the engine!
- Use the Petrol String Trimmer and the tools only for such applications as specified.
- Only start the engine, after the entire assembly is done. Operation of the device is only permitted after all the appropriate accessories are attached!
- Before starting make sure that the cutting attachment has no contact with hard objects such as branches, stones etc. as the cutting attachment will revolve when starting.
- The engine is to be switched off immediately in case of any engine problems.
- Should the cutting attachment hit stones or other hard objects, immediately switch off the engine and inspect the cutting attachment.
- Inspect the cutting attachment at short regular intervals for damage (detection of hairline cracks by means of tapping-noise test).
- If the equipment gets heavy impact or fall, check the condition before continuing work. Check the fuel system for fuel leakage and the controls and safety devices for malfunction. If there is any damage or doubt, ask our authorized service center for the inspection and repair.
- During operation always hold the Petrol String Trimmer with both hands.
Never hold the Petrol String Trimmer with one hand during use.
Always ensure a safe footing. - Operate the equipment in such a manner as to avoid inhalation of the exhaust gases. Never run the engine in enclosed rooms (risk of gas poisoning).
Carbon monoxide is an odorless gas. - Switch off the engine when resting and when leaving the equipment unattended, and place it in a safe location to prevent danger to others or damage to the machine.
- Never put the hot Petrol String Trimmer onto dry grass or onto any combustible materials.
- Always install the approved cutting attachment guard onto the equipment before starting the engine. Otherwise contact with the cutting attachment may cause serious injury.
- All protective installations and guards supplied with the machine must be used during operation.
- Never operate the engine with faulty exhaust muffler.
- Shut off the engine during transport.
- Ensure safe position of the equipment during car transportation to avoid fuel leakage.
- When transporting, ensure that the fuel tank is completely empty.
- When unloading the equipment from the truck, never drop the Engine to the ground or this may severely damage the fuel tank.
Except in case of emergency, never drop or cast the equipment to the ground or this may severely damage the equipment. - Remember to lift the entire equipment from the ground when moving the equipment. Dragging the fuel tank is highly dangerous and will cause damage and leakage of fuel, possibly causing fire.
Refuelling
- Shut off the engine during refuelling, keep away from open flames and do not smoke.
- Avoid skin contact with mineral oil products. Do not inhale fuel vapor. Always wear protective gloves during refuelling. Change and clean protective clothing at regular intervals.
- Take care not to spill either fuel or oil in order to prevent soil contamination (environmental protection). Clean the Petrol String Trimmer immediately after fuel has been spilt.
- Avoid any fuel contact with your clothing. Change your clothing instantly if fuel has been spilt on it (to prevent clothing catching fire).
- Inspect the fuel cap at regular intervals making sure that it can be securely fastened and does not leak.
- Carefully tighten the fuel tank cap. Change location to start the engine (at least 3 meters away from the place of refuelling).
- Never refuel in closed rooms. Fuel vapors accumulate at ground lever (risk of explosions).
- Only transport and store fuel in approved containers. Make sure the fuel stored is not accessible to children.






Method of operation
- Only use in good light and visibility. During the winter season, beware of slippery or wet areas, ice and snow (risk of slipping). Always ensure a safe footing.
- Never cut above waist height.
- Never stand on a ladder.
- Never climb up into trees to perform cutting operation.
- Never work on unstable surfaces.
- Remove sand, stones, nails etc. found within the working range.
- Before commencing cutting, the cutting attachment must have reached full working speed.
- Swing the Petrol String Trimmer evenly.
If grass or branches get caught between the cutting attachment and guard, always stop the engine before cleaning. Otherwise unintentional attachment rotation may cause serious injury. - Take a rest to prevent loss of control caused by fatigue. We recommend to take a 10 to 20-minute rest every hour.
Cutting attachments
- Never use metal blades including metal multi-piece pivoting chains and flail blades. Otherwise blade contact may cause serious injury.
Vibration
- People with poor circulation who are exposed to excessive vibration may experience injury to blood vessels or the nervous system. Vibration may cause the following symptoms to occur in the fingers, hands or wrists: "Falling asleep" (numbness), tingling, pain, stabbing sensation, alteration of skin color or of the skin. If any of these symptoms occur, see a physician!
- To reduce the risk of "white finger disease", keep your hands warm during operation and well maintain the equipment and accessories.
Maintenance instructions
- Have your equipment serviced by our authorized service center, always using only genuine replacement parts. Incorrect repair and poor maintenance can shorten the life of the equipment and increase the risk of accidents.
- The condition of the equipment, in particular of the cutting attachment of the protective devices must be checked before commencing work.
- Turn off the engine and remove spark plug connector when replacing cutting
- Attachments, and also when cleaning the cutter or cutting attachment.
- Pay attention to the environment. Avoid unnecessary throttle operations or less pollution and noise emissions. Adjust the carburetor correctly.
- Clean the equipment at regular intervals and check that all screws and nuts are well tightened.
- Never service or store the equipment in the vicinity of naked flames.
- Always store the equipment in locked rooms and with an emptied fuel tank.



Observe the relevant accident prevention instructions issued by the relevant trade associations and by the insurance companies.
Do not perform any modifications to the equipment as this will endanger your safety.
The performance of maintenance or repair work by the user is limited to those activities as described in the instruction manual. All other work is to be done by an Authorized Service Agent. Use only genuine spare parts and accessories released and supplied by DOLMAR.
Use of non-approved accessories and tools means increased risk of accidents.
DOLMAR will not accept any liability for accidents or damage caused by the use of non-approved cutting attachments and fixing devices of cutting attachments, or accessories.
First Aid
In case of accident make sure that a first-aid box is available in the vicinity of the cutting operations. Immediately replace any item taken from the first aid box.
When asking for help, please give the following information:
- Place of accident
- What happened
Number of injured persons - Kind of injuries
-Your name

For European countries only
EC Declaration of Conformity
Makita declares that the following Machine(s):
Designation of Machine: Petrol String Trimmer
Model No./ Type: LT-27
Specifications: see "TECHNICAL DATA" table
Conforms to the following European Directives:
2006/42/EC, 2000/14/EC
They are manufactured in accordance with the following standard or standardized documents:
EN ISO11806-1
The technical file in accordance with 2006/42/EC is available from:
Makita, Jan-Baptist Vinkstraat 2, 3070, Belgium
The conformity assessment procedure required by Directive 2000/14/EC was in accordance with annex V.
Measured Sound Power Level: 111.30 dB
Guaranteed Sound Power Level: 112 dB
-
- 2014

Yasushi Fukaya
Director
Makita, Jan-Baptist Vinkstraat 2, 3070, Belgium
TECHNICAL DATA
| Model LT-27 | |||
| Handle type Loop handle | |||
| Dimensions: length x width x height (without cutting tool) mm 1,645 x 220 x 510 | |||
| Net weight kg 4.3 | |||
| Engine type Air cooled, 2-stroke, single cylinder | |||
| Engine displacement cm3 | 25.7 | ||
| Maximum engine performance kW 0.83 | |||
| Maximum rotational frequency of the spindle min-1 | 8,000 | ||
| Cutting diameter with nylon cutting head mm φ 400 | |||
| Idling speed /min | 3,000 | ||
| Clutch engagement speed /min | 4,100 | ||
| Fuel | Mixed gasGasoline: Two-stroke Engine Oil = 50:1 | ||
| Volume (fuel tank)L | 0.6 | ||
| Carburetor | WALBRO WYC | ||
| Spark plug | NGK BPMR7A | ||
| Electrode gap mm | 0.6 - 0.7 | ||
| Vibration per ISO 22867 | Right handle(Rear grip) | ahv eq m/s2 | 5.074 |
| Uncertainty K m/s2 | 1.5 | ||
| Left handle(Front grip) | ahv eq m/s2 | 3.853 | |
| Uncertainty K m/s2 | 1.5 | ||
| Sound pressure level average to ISO 22868 | LPAeq dB (A) | 91.30 | |
| Uncertainty K dB (A) | 0.85 | ||
| Sound power level average to ISO 22868 | LwAeq dB (A) | 111.30 | |
| Uncertainty K dB (A) | 0.85 | ||



| Name of parts | |
| 1 Control cable | |
| 2 Rear grip | |
| 3 Control lever | |
| 4 Start-Stop switch | |
| 5 Handle | |
| 6 Shaft | |
| 7 Protector (Cutting tool guard) | |
| 8 Nylon cutting head | |
| 9 Air cleaner cover | |
| 10 Clutch case | |
| 11 Fuel tank cap | |
| 12 Primer pump | |
| 13 Fuel tank | |
| 14 Spark plug | |
| 15 Choke lever | |
| 16 Exhaust muffler | |
| 17 Starter handle | |
| 18 Recoil starter | |
MOUNTING OF HANDLE
CAUTION: Before doing any work on the equipment, always stop the engine and pull the spark plug connector off the spark plug. Always wear protective gloves!
CAUTION: Start the engine only after having assembled it completely.
For machines with loop handle
Fix the loop handle (1) on the shaft (2).
- Make sure that the spacer on the shaft pipe is located between the grip assembly and the other grip. Do not remove or shrink the spacer.
NOTE: In some countries, the spacer is not provided with the tool. In that case, align the handle to further side of the line which is indicated by the arrow marks.

MOUNTING OF PROTECTOR
To meet the applicable safety provisions, only the tool/protector combinations as indicated in the table must be used.
CAUTION: Do not touch the cord cutter (1) on the protector (2). Touching the cord cutter with bare hands may result in injury.
The protector must be installed to maintain the nylon-cutting-cord length and protect the operator from thrown stones and debris. Install the protector as the following steps.
- Set the protector so that the rib on the shaft fits into the groove on the protector.
- Tighten two bolts (3).

MOUNTING OF NYLON CUTTING HEAD
WARNING: Never use metal blades.
Be sure to use genuine DOLMAR nylon cutting head.
- If the nylon cutting head hits against a stone during operation, stop the engine and check the nylon cutting head immediately.
CAUTION: Do not touch the cord cutter (1) on the protector. Touching the cord cutter with bare hands may result in injury.
Mount a nylon cutting head (2) as the following steps.
- Insert the lock key (3) through the hole on the clamp. Rotate them with pushing the lock key in until they are locked.
- Screw a nylon cutting head onto the shaft by turning it clockwise. Make sure that it is mounted securely.
- Remove the lock key.
To remove the nylon cutting head, turn it counterclockwise.

FUELREFUELLING
Handling fuel
Utmost care is required when handling fuel. Fuel may contain substances similar to solvents. Refuel either in a well ventilated room or outdoors. Do not inhale fuel vapors, and avoid any contact of fuel or oil with your skin. Mineral oil products degrease your skin. Prolonged skin contact with these products will cause your skin to become extremely dry, which may result in various kinds of skin disease. In addition, allergic reactions may occur. Eyes can be irritated by contact with oil. If oil comes into your eyes, immediately wash them with clear water. If your eyes are still irritated, see a doctor immediately.

Observe the Safety Instructions on page 3.
Fuel and oil mixture
The string trimmer engine is a high-efficiency two-stroke engine. It runs on a mixture of fuel and two-stroke engine oil. The engine is designed for unleaded regular fuel with a min. octane value of 91 RON. To obtain optimum engine performance and to protect your health and the environment, use only unleaded fuel!
To lubricate the engine, add two-stroke engine oil (quality grade: JASO FC or ISO EGD) to the fuel. The engine has been designed to use the specified two-stroke engine oil at mixture ratio of 50:1 to protect the environment. Additionally, long service life accompanied by reliable operation and minimum emissions are guaranteed through the use of this mixture ratio. Reliable functioning of the string trimmer cannot be guaranteed unless this mixture ratio of 50:1 (specified 2-stroke engine oil) is strictly observed.

Correct mixture ratio:
Gasoline: Specified two-stroke engine oil = 50 : 1 or Gasoline: Other manufacturer's two-stroke engine oil = 25 : 1 recommended
NOTE: To prepare the fuel-oil mixture, first mix the entire oil quantity with half of the fuel required, then add the remaining fuel. Thoroughly shake the mixture before pouring it into the string trimmer tank. To ensure safe operation, do not add more engine oil than the specified amount. Doing so will only result in a higher production of combustion residues which pollute the environment and clog the exhaust channel in the cylinder as well as the muffler. In addition, the fuel consumption will rise and the performance will decrease.

Gasoline 50:1 25:

1,000 cm³ (1 liter)
5,000 cm³ (5 liter)
10,000 cm³ (10 liter)
The engine must be switched off.
- Thoroughly clean the area around the fuel filler cap (2) to prevent dirt from getting into the fuel tank (1).
- Unscrew the fuel filler cap (2) and fill the tank with fuel.
Tightly screw on the fuel filler cap (2). - Clean the screw fuel filler cap (2) and tank after refuelling.

Storage of Fuel
Fuel cannot be stored for an unlimited period of time. Purchase only the quantity required for a 4-week operating period. Only use approved fuel storage containers.
STARTING/STOPPING
Observe the applicable accident prevention regulations.
Starting
Move at least 3 m away from the area where you refuelled the equipment. Place the string trimmer on a clean piece of ground taking care that the cutting tool does not come into contact with the ground or any other objects.
WARNING: Pay attention that the cutting tool rotates immediately after the engine starts.
Cold start
- Set the Start-Stop Switch (1) to start position as illustrated.
- Grasp the handle (hand pressure activates the safety lock-off lever (2)).
- Press the throttle lever (3) and hold it down.
- Set the Start-Stop Switch (1) to start position and release the control lever, and then release the Start-Stop Switch (the Start-Stop Switch holds the throttle lever in the start-up position).

Warm start
- Set the Start-Stop Switch (1) to neutral position as illustrated.

- First, place the equipment on the ground.
- Gently press the primer pump (4) repeatedly (7-10 times) until fuel comes into the primer pump.
- Close the choke lever (5).
Choke opening:
- Fully closed in cold temperatures or when the engine is cold
- Fully or half open for restart while the engine is still warm

- Firmly hold the clutch case with your left hand, as illustrated.
- Slowly pull the starter handle until you feel resistance, and then continue to pull sharply.
- Do not pull out the starter rope to its full extent, and do not allow the starter handle to retract by itself. Maintain control of the starter rope and ensure it retracts slowly.
- Repeat the starting operation until you hear the engine's initial ignitions.
- Depress the choke lever (5) and pull the starter rope again until the engine starts.
- As soon as the engine starts, immediately tap and release the throttle, to release the half-throttle lock and allow the engine to idle.
- Run the engine for approximately one minute at a moderate speed before applying full throttle.


NOTE: - If you pull the starter handle repeatedly when the choke lever is in the at "▶" position, the engine will not start easily due to excessive fuel intake.
If excessive fuel intake occurs, remove the spark plug and pull the starter handle slowly to remove excess fuel. Also, dry the electrode section of the spark plug.
Caution during operation:
If the throttle lever is opened fully during a no-load operation, the engine revolutions increase over 10,000 min ^-1 . Never operate the engine at a higher speed than required, and keep the revolutions at an approximate speed of 6,000 - 8,000 min ^-1 .
CAUTION: Always reduce the engine revolutions when the equipment is not being used for work.
Operating the equipment at high revolutions when not being used for work will shorten the lifespan of the equipment.
Stopping
- Release the throttle lever (3) fully, and when the engine rpm has lowered, push the Start-Stop Switch (1) to "STOP" position to stop the engine.
- Be aware that the cutting head may not stop immediately, and always allow it to slow down and stop fully by itself.

NYLON CUTTING HEAD
The nylon cutting head is a dual line trimmer head that has bump & feed mechanism.
The nylon cutting head feeds out the nylon cord after tapping the trimmer head on the ground.
Operation
- The most effective cutting area is shown by the shaded area.
- To feed the nylon cord, increase the nylon cutting head speed to approx.
6,000 min ^-1 and tap the nylon cutting head lightly on the ground. - If the nylon cutting head does not feed out by tapping, rewind/replace the nylon cord by following the procedures described under "Replacing the nylon cord."
Replacing the nylon cord
- Stop the engine.
- Press the housing latches inward to lift off the cover, then remove the spool.


- Hook the center of new nylon cord into the notch in the center of the spool, with one end of the cord extending about 80mm (3-1/8") more than the other. Then wind both ends firmly around the spool in the direction of the head rotation (right-hand direction indicated by RH on the side of the spool).

- Wind all but about 150 mm (6") of the cords around the spool, leaving the ends temporarily hooked through the notch on the side of the spool.

- Feed the cords through the slits to come out of the housing. Mount the washer, spring, and spool in the housing.

- Align the hooks on the cover and the housing. Then push cover firmly onto the housing to secure it.

SERVICING INSTRUCTIONS
Servicing instructions
CAUTION: Before performing any type of maintenance work on the string trimmer, always switch off the motor and detach the plug cap from the spark plug (see "checking the spark plug").
Always wear protective gloves.
CAUTION: Never remove the recoil starter yourself. Doing so may cause an accident. This procedure should only be performed by an authorized service center.
To ensure a long service life and to avoid any damage to the equipment, perform the following maintenance operations regularly.
Daily inspection and maintenance
Before operation, check the equipment for loose screws or missing parts. Pay particular attention to the tightness of the cutter blade or nylon cutting head.
Before operation, always check to make sure that the cooling air passage and cylinder fins are not clogged. Clean them if necessary.
- Perform the following maintenance operations daily after use:
- Clean the string trimmer externally and inspect it for damage
- Clean the air filter. When working under extremely dusty conditions, clean the filter several times a day.
- Check the blade or the nylon cutting head for damage and make sure it is firmly mounted.
- Check that there is sufficient difference between the idling and operating speeds to ensure the cutting tool is at a standstill while the engine is idling (if necessary, reduce the idling speed).
If the cutting tool continues to rotate during engine idling, consult your nearest Authorized Service Agent.
- Check that the Start-Stop Switch, the lock-off lever, the control lever, and the lock button are all functioning correctly.
Cleaning the air cleaner (filter)
- Turn the choke lever (4) to the fully closed side, and keep the carburetor away from any dust or dirt.
- Remove the screw (1).
- Remove the air cleaner cover (3).
- Remove the sponge element (2), wash it in lukewarm water and dry it completely.
- After cleaning, put back the air cleaner cover (3) and fasten it with screw (1).
NOTE: If there is excessive dust or dirt adhering to the air cleaner, clean it every day. A clogged air cleaner may make it difficult or impossible to start the engine or increase the engine rotational speed.

Checking the spark plug
- Only use the supplied universal wrench to remove or to install the spark plug.
- The gap between the two electrodes of the spark plug should be 0.6 - 0.7 mm ( 0.024'' - 0.028'' ). If the gap is too wide or too narrow, adjust it. If the spark plug is clogged with carbon or dirty, clean it thoroughly or replace it.
CAUTION: Never touch the spark plug connector while the engine is running (danger of high voltage electric shock).
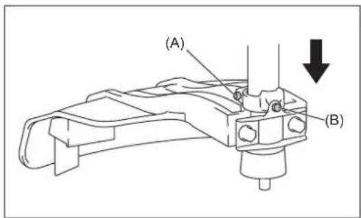
Supply of grease for the flexible shaft
Supply grease (Shell Alvania 3 or equivalent) to the flexible shaft every 50 hours.
(Genuine DOLMAR grease may be purchased from your DOLMAR dealer.)
To apply grease, perform the following steps:
- Remove the bolts (A) and (B).
- Remove the head unit from the shaft.
- Pull out the flexible shaft by hand and apply grease.



Suction head in the fuel tank
- The fuel filter (1) of the suction head is used to supply the fuel required by the carburetor.
- Visually inspect the fuel filter periodically. To inspect the filter, open the fuel filler cap, use a wire hook and pull out the suction head through the tank opening. Replace the filter if it has hardened, become particularly dirty, or clogged.
Insufficient fuel supply may result in the maximum permissible speed being exceeded. Therefore, the fuel filter must be replaced at least quarterly to ensure satisfactory fuel supply to the carburetor.

Any other maintenance or adjustment work that is not described in this manual must only be performed by authorized service center.
STORAGE
- When storing the equipment for a long period of time, drain all the fuel from the fuel tank and carburetor. To do this, simple drain all of the fuel from the fuel tank. Dispose of the drained fuel in accordance with local applicable laws.
- Remove the spark plug and add a few drops of oil into the spark plug hole. Then, pull the starter gently so that oil coats the inside of the engine, then tighten the spark plug.
- Clean any dirt or dust from the cutter blade and outside of the engine, and wipe them with a oil-immersed cloth. Store the equipment in a dry place.

Maintenance schedule
| General Engine assembly, screws and nuts Visual inspection for damage and tightness | ||
| Check for general condition and security | ||
| After each refuelling Control lever | Start-Stop Switch | Functional check Functional check |
| Daily Air filter | Cooling air duct | To be cleaned |
| Cutting tool | To be cleaned | |
| Idling speed | Check for damage and sharpness Inspection (cutting tool must not move) | |
| Weekly Spark plug | Muffler | Inspection, replace if necessary Inspect, and clean the opening if necessary |
| Quarterly Suction head | Fuel tank | To be replaced To be cleaned |
| Shutting down procedure Fuel | tank | Empty fuel tank |
| Carburetor | Operate until engine runs out of fuel | |
Troubleshooting
| Fault System Observation Cause | |||
| Engine doesn't start, or is difficult to start | Ignition system Ignition spark O.K. Fault in fuel supply No ignition spark Start-Stop Switch operated, wiring fault or short circuit, spark plug or connector defective, ignition module faulty | Fault in fuel supply | Defect |
| Fuel supply Fuel tank filled Incorrect choke position, carburetor defective, fuel supply line bent or blocked, fuel dirty | |||
| Compression | No compression when pulled over | Cylinder bottom gasket defective, crankshaft seals damaged, cylinder or piston rings defective or improper sealing of spark plug | |
| Mechanical fault | Starter not engaging | Broken starter spring, broken parts inside the engine | |
| Warm start problems | Tank filled. Ignition spark O.K. | Carburetor contaminated, must be cleaned | |
| Engine starts but dies | Fuel supply | Tank filled | Incorrect idling adjustment, carburetor contaminated |
| Fuel tank vent defective, fuel supply line interrupted, cable or Start-Stop Switch faulty | |||
| Insufficient performance | Several systems may simultaneously be affected | Engine idling poor | Air filter contaminated, carburetor contaminated, muffler clogged, exhaust duct in the cylinder clogged |
Français
(Instructions d'origine)
SOUS TENSION/DEMARRAGE

HORS TENSION/ARRET

MONTIEREN DES GRIFFS
2006/42/EC, 2000/14/EC
DE HANDGREEP MONTEREN
DE BESCHERMKAP MONTEREN
Zuigkop in brandstoftank
COMBUSTIBLE/REPOSTAJE
2006/42/EC, 2000/14/EC
2006/42/EF, 2000/14/EF
Nivakac TEPIEXOeWv Zaiia
Σuβoλa 122
Ooyniea oopaleiae 123
Texyika 8e0eva 127
KaOpiOoS EApTnMaTov 128
Tepeowon Tou xepouloiou 129
Tepeowon Tou Tpoupaaknpa 129
Tepeewon ts vaiov kottikns Kepaans 129
Kaouio/Aevopoiouc 130
Evapn/iaokotn nAetoupyiac 131
NaiovkOTTIK Kepaaln 133
Ooynieocuvtnpnnc 134
AttoeKeuon 136
ΣYMBOA
XeiaZai va TpooseTe Ta Tpaakatw ouoIaOtav biacTe To EYxepioDOnyiwv.

AiaBaoTe EeyEipidio odnyiw KAI aKoLouHnTe TIG PPOEIOTIOIeIC KAI ta mEtpa aOaaleiac!

Euupoppwovtai tis akolouthe Eupwtraikcs Onyies:
2006/42/EK, 2000/14/EK
KataaKeuaovtai oupwva e To Tnapakatw TpOtuTo hTuTOnIOeVA Eyypa: EN ISO11806-1
To texviko apxio ouuwova eyn 2006/42/EK iai diaeoi o afo:
Makita, Jan-Baptist Vinkstraat 2, 3070, Belgium
H diaikacia eKtiunong oumuoppwong nou aTnreitai ano tv Odyia 2000/14/EK eKTEAeotnke ouuwova te Tnpaptnma V.
MeTpnevo eTnEdo nNtIKnc ixuoc: 111,30 dB
Eyyunueo 2nntno xnnkns 1xuos: 112 dB
-
- 2014

Yasushi Fukaya
AIEUeBvTngs
Makita, Jan-Baptist Vinkstraat 2, 3070, Belgium
TEXNIKA ΔΕΔΟΜENA
| Movéio LT-27 | |||
| TÜtloç xerouliou Xerouli σχημatoc βρóxou | |||
| Δiaotáeic μíkoc x πλatos x ùμoc (xωpić to kottić o evyaleio) mm 1.645 x 220 x | 510 | ||
| Kaθapó bópoc kg 4,3 | |||
| TÜtloç kivnthpα Aερóuuktoç, 2-xpovoc, εvoc kuλivöpuou | |||
| Ektómpa kivntnpa cm3 | 25,7 | ||
| Méviatn atóoan kivntnpa kW 0,83 | |||
| Méviatn περiσtpoφikn ouxótna tou ágova min -1 | 8.000 | ||
| Δiáμetpoç koviçn με váilov kottić kεpañn mm φ 400 | |||
| Tauxiteta pελavti /min | 3.000 | ||
| Tauxiteta εμΠλoknç συμΠéktη /min | 4.100 | ||
| Kauoiμo | Méiyμa kaʊiμou Bεvçivη: Λáδi δíxpovou kivntnρa = 50:1 | ||
| Öykoç (peçερβouáρ kauoiμou) L | 0,6 | ||
| Kaputupatép | WALBRO WYC | ||
| Mttouzǐ | NGK BPMR7A | ||
| Δiakévo ηλeκtpodijw mm | 0,6 - 0,7 | ||
| Δóvnən avá ISO 22867 | Δεξió xερouλi (πιολαβή) | ahv eq m/s2 | 5,074 |
| Aβεβaiótnτa K m/s2 | 1,5 | ||
| Aρiσtepó xερouλi (Mπροθινn λαβή) | ahv eq m/s2 | 3,853 | |
| Aβεβaiótnτa K m/s2 | 1,5 | ||
| Σtāθμn xηtiknç πίeσης αντιροωτευικn tou ISO 22868 | Lpaweq dB (A) | 91,30 | |
| Aβεβaiótnτa K dB (A) | 0,85 | ||
| Σtāθμn xηtiknç iαxóos αντιροωτευικn tou ISO 22868 | Lwawq dB (A) | 111,30 | |
| Aβεβaiótnτa K dB (A) | 0,85 | ||



2006/42/EC, 2000/14/EC
ManualGo.com