LT27 - Plæneklipper DOLMAR - Gratis brugsanvisning og manual
Find enhedens vejledning gratis LT27 DOLMAR i PDF-format.
Download vejledningen til din Plæneklipper i PDF-format gratis! Find din vejledning LT27 - DOLMAR og tag din elektroniske enhed tilbage i hånden. På denne side er alle dokumenter nødvendige for brugen af din enhed offentliggjort. LT27 af mærket DOLMAR.
BRUGSANVISNING LT27 DOLMAR
Laes denne brugsanvising omhyggeligt igennem inden du anvender den benzindrevne tradtrimmer og overhold sikkerhedsregulativerne til mindste detailie!
Gem denne brugsanvising omhyggeligt!
Σημαντικό:
AiaBaoTe auto To EvyEpiio obnyiwv PPOeKTIKA TPIV θeOeTE OE λeIToupyia To BeVzivOKiNTO XlookOTNIKO KAI Tnpnote μe akpiieia Touc kavovioaouc aopaaia
Tak fordu har koot en DOLMAR udendorsmaskine. Vi er glade for at kinne anbefale dig dette DOLMAR-product, der er resultatet af et langt udviklingsprogram og mange ars viden og erfaring. Laes venligst dette hæfte der i detailer gennemgár de forskellige punkter, som demonstrerer maskinens fremragende ydeevne. Det vil gère dig i stand til at opna det bedst mulige risultat med dit DOLMAR-product.

Sikkerhedsanvisninger 108
Tekniske data. 112
Delenes betegnelser. 113
Montering af handtag. 114
Montering af skaerm 114
Montering af nylontrimmerhoved 114
Brændstof/pafyldning af brændstof 115
Start/stop 116
Nylontrimmerhoved 118
Vedligeholdsesinstruktioner 119
Opbevaring 121
SYMBOLER
Laes brugsanvisningen og overhold
adversels- og sikkerhedsforholdsreglener!

Vær saerlig forsigtig og opmaerkso!

Forbudt!

Hold afstand!

Risiko for flyvende genstande!

Ryngning forbudt!

Brug af aben ild forbudt!

Der skal anvendes beskyttelseshandsker!

Anvend kraftige støvler med skridsikresaler.
Sikkerhedssko med stalnaese anbefaes!

Hold arbejdsmraret fri for personer og dyr!

Baer hjelm, ojen- og horeværn.

Maksimal tilladelig hastighed for vaerktoj

Brændstof (Benzin)

Manuel start af motor

Nodstop

Førstehjaelp

TAENDT/START

SLUKKET/STOP

Anvend aldrig metalklinger
SIKKERHEDSANVISNINGER
-Laes denote brugsanvising sa du bilver fortrolig med handteringen af maskinen. Brugere, som ici kender tilstrakkeligt til anvendelsen, er til fare for dem selv og andre pga. forkert handtering af maskinen.
- Det anbefales kun at udlane maskinen til personer, som har erfaring med handtering af sadanne maskiner.
Overdrag altid brugsanvisingen.
-Forstegangsbrugere bor bede forhandleren om grundlaeggende instrukser for at fakendskab til handteringen af en tradtrimmer.
- Børn og personer under 18år maybe nicht anvende maskinen. Personer over 16år anvende maskinen til træningsformål under vejledning af en kvalificeret underviser.
- Anvend maskinen med allerstørste omhu og opmaerksohed.
- Anvend kun maskinen hvis du er ved godt helbred. Udfør alt arbejde roigt og forsigtigt. Brugeren har ansvaret for andre.
- Anvend aldrig donne maskine after indtagelse af alcohol aller medicin, aller hvis du faler dig traat aller darligt tilpas.
- Nationale bestemmelser kan begraanse brugen af maskinen.
Beregnet drug af maskinen
- Denne maskine er kun beregnet til klipning af græs og mindre ukrudt. Den ma ikke bruges til andre formal som f.ecs. kantafretning eller hækkeklipning, aftersom det kan medfrole persorskader.
Personligt sikkerhedsudstyr
- Der skal bæres Funktionelt og passende tøj, dvs. det bør sidde tæt, men/DDere til hindring. Bær ikke smykker erler tøj, der kan sidde fast i buske ellkrat.
- For at undgå skader på hoved, øjne, hænder eller fødder amat for at beskytte din harelse, skal du altid bare folgende sikkerhedsudstyr og beskyttelsesbeklaedning under anvendelsen.
- Bær altid en hjelm pa steder hvor der er risiko for, at ting falder ned. Beskyttelseshjelmen (1) skal med ævne mullemrum afterses for skader, og skal udskiftes mindst hvert 5 ár. Brug kun godkende beskyttelseshjelme.
Hjelmens visir (2) (eller alternativ beskyttelsessbriller) beskytter ansigtet mod flyvende afskarnde dele og sten. Der skal der altid anvendes beskyttelsessbriller erler et visir under anvendelsen for at forhindre ojenskader. - Anvend passende midler til beskyttelse mod stoj for at undga horenedsaettelse (horevaern (3) orepropper m.v.).
Arbejdsoveralls (4) beskytter mod flyvende sten og afskarne stykker. Vi anbefaler pa det kraftigste, at brugeren anvender arbejdsoveralls. - Handsker (5) er en del af det foreskrevne udstyr og skal altid bæres under anvendelsen.
- Nár du anvender maskinen, skal du alto have solide sko (6) med skridsikresaler pa. Dette beskytter mod skader og sikrer et godt fodfeste.
Start af den benzindrevne tradtrimmer
- Sorg venligst for, at der ici er nogen børn aller andre personer inden for et arbejdsomrade pa 15 meter, somt vaer opmaerksom pa eventuelle dyr i narheden af arbejdsomradr.
-For arbejdet pabegyndes, skal du altid kontrollere, at maskinen er klart til drift: Kontroller sikkerheden af skareudstyret, om gashandtaget glider nem, somt kontroller at gashandtagslasen virker. - Skaereudstyret mä ikke rotere i tomgang. Forhør dig hos din forhandler angæende justering, hvis du er i tvivl. Sørg for, at handtagene er rene og tøre og test Funktionen af start/stop-kontakten.





(3)


(5)

(6)

Skematisik figur
ematisk figur
·s ·s
360^
15 meter


- Start kun den benzindrevne tradtrimmer som beskret i brugsanvisingen.
- Benyt jegke andre metoder til at starte motoren med!
- Brug kun den benzindrevne tradtrimmer og værktjerner til de specificerede anvendelser.
- Start kun motoren, nar monteringen er fuldstændig udført. Det er kun tilladt at anvende maskinen, after alt tilbehoret er monteret!
- Inden du starter, skal du sikre dig, at skareudstyret ici er i kontakt med harde objekter som f.eks. grene, sten aller lignende, eftersom skareudstyret drejer rundt, nar du starter.
-Motoren skal ojeblikeligt slas fra i tilfaelde af motorproblemer. - Skulle skæeudstyret ramme sten aller andre hårde objekter, skal du straks slukke for motoren og efterse skæeudstyret.
Efterse skareudstyret for skader med korte jevne mellemrum (fterse for harridser vha. banke-stoj-testen).
Hvis maskinen bliver udsat for sterkt tryk ellert tabes, skal du kontrollere dens tilstand, inden du fortsetter arbejed. Kontroller brandstofsystemet for brandstoflakage samt betjenings- og sikkerhedsudstyr for funkionsfejl. Hvis der er nogen skader eiler tvivilssporgsmal, skal du bede vores autoriserede servicecenter om at foretag etfersyn og reparation.
Den benzindrevne tradrimmer skal altid holdes med begge hender under brug. Hold aldrig den benzindrevne tradrimmer med kun en hand under brug. Sarg altid for at have et godt fodfaeste. - Anvend maskinen pa en sadan made, at du undgär at indande udstødningsgasserne. Lad aldrig motoren køre i indelukkede rum (risiko for gasforgifting). Kullete er en lugtfri gas.
-Sluk for motoren under pauser og nar maskinen afterlades uden opsyn, og placer den pa et sikkert sted for at forhindre at den er til fare for andre, eller maskinen beskadiges.
-Laeg aldrig den varme benzindrevne tradtrimmer pa tort graes ell er andet letantaendeligt materiale. - Monter allid den godkendte skaern for skareudstyret pa maskinen, inden du starter motoren. Ellers kan Kontakt med skareudstyret muligvis medfore alvorlg personskade.
- Alle sikkerhedsinstallationer og skærme, der følger med maskinen, skal anvendes under betjeningen.
- Anvend aldrig motoren med en defekt lyddæmper.
- Sluk for motoren under transport.
- Sørg for at placere maskinen sikkert under biltransport for at undgå brændstoflækage.
- Sorg for at brændstoftanken er helt tom under transport.
- När maskinen tages af vognen, ma motoren aldrig tabes pa jorden, eftersom dette kan medføre alvorig beskadigelse af brændstoftanken.
- Undtagen i ndstilfaelde ma du aldrig tabe erler kaste maskinen ned pa jorden, ellers kan dette beskadige maskinen alvortigt.
-Husk altid at Iofte helemaskinen op fra jorden, nar du flytter den.Det er yderst farligt at trakke brændstoffanken hen over jorden, og det kan forarssage skader somt laekage af brandstof, der muligvis kan medfrole brandudivikling.
Pafyldning af brandstof
- Sluk for motoren under pafyldning af brændstof, hold maskinen væk fra aben ild, somt undlad ryge.
- Undgå hudkontakt med mineraliske olieprodukter. Indänd参加会议.
brændstofdampe. Baer altid beskyttelseshandskunder under pafyldning af brandestof. Skift ogrensbeskyttesebeklaednings med jegne mellemrum. - Pas pa ici spilde haverken brændstof erler olie for at forbindre forurening af jorden (miljøbeskyttelse). Rengør straks den benzindrevne trædtrimmer, after der er spildt brændstof.
- Undgä at fä brændstof pà tojet. Skift øjeblikeligt tøj, hvis derkommen brændstof pà (for at undgä at der gar ild i tojet).
-Efterse brændstofdaekslet med ævne mellemrum for at sikre, at det kan lukkes ordentlich, og der ikke lækker brændstof ud. - Stram omhyggeligt brændstofankens daeksel til. Skift sted inden motoren startes (mindst 3 meter vaek fra stedet for brandstofpafyldningen).
- Pafyld aldrig brændstof i lukkede rum. Der kan ophobes brændstofdampe i jordhøide (risiko for eksplosion).
- Foretag kun transport og opbevaring af brændstof i godkendte beholdere. Sorg for, at brændstof opbevares säledes, at børn ikke har adgang til det.






Betjeningsmetode
- Brug kun maskinen i god belysning og med godt udsyn. I vintersaessen skal du vare pa vagt overfor glatte ellre omrader, is og sne (der er risiko for at falde). Sorg altid for at have et godt fodfaeste.
- Skær aldrig over hoftehøjde.
- Stå aldrig pæ en stige med maskinen.
- Kravl aldrig op i traee fer at klipppe ellr skare.
- Arbejd aldrig pa ustabile overflader.
- Fjern sand, sten, som m.v. som findes inden for arbejdso MRdet.
- Inden foretagelse af skarearbejde skal skareudstyret have næt op på fuld arbejdshastighed.
- Foretag ensartet svingning af den benzindrevne tradtrimmer.
Hvis der saetter sig graes eller grene fast mellem skareudstyret og afskaernningen, skal du altid standse motoren inden rengoring. Ellers kan utilsigtet rotation af udstyr muligvis forarsage alvorlige persorskader. - Hold pauser for at forhindre tab af kontrol pga. traethed. Vi anbefaler, at du tager en 10 til 20 minutters pause hver time.
Skareudstyr
- Brug aldrig andre metalklinger, herunder pivoterende flerstykkede metalkader og taerskeklinger. Ellers kan kontakt med klinger forarsage alvorlige persorskader.
Vibration
- Personer med darligt blodomləb, der udsettes for kraftige vibrationner, risikerer beskadigelse af blodkar erer nervesystemet. Vibrationer kan medfere falgende symptomer i fingre, haender erler handled: Leddet "sover (foelselesloshed), priken, smerte, stikken, ændring af hudfarven erler af huden. Sog laje, hvis nogle af disse symptomer opstar!
- For at reducere risikoen for "hvide fingre" skal du holde dine hander varme under anvendelsen og vedligeholde maskinen og tilbehoret pa ordentlig vis.
Vedligeholdelsesvejledning
- Fa din maskine serviceret af dit autoriserede servicecenter og anvend altid kun originale resvedele. Forkert reparation og darelig vedligeholdelse kan forkorte maskinens levetid og forge risikoen for uheld.
- Maskinens tilstand, især beskyttelssenanordningerne for skareudstyret, skal kontrolleres inden brug.
- Sluk for motoren og fjern tændrørshaeten, nár du udskifter erler silber skæeudstyr, samt ögsa nár du rengrør kniven erller skæeudstyret.
- Vær opmærksom på omgivelsene. Undgå unodvendig aktivering af gashandtaget for minde luft- og stojforurening. Foretag korrekt justering af karburatoren.
Rengor maskinen med jevne mellemrum og kontroller, at alle skruer og mtrikker er strammet ordentligt til. - Foretag aldrig service aller opbevaring af maskinen i naerheden af aben ild.
- Opbevar altid maskinen pa et aflast sted og med en tom brandstoftank.



Overhold de relevante vejledninger angaende ulykkesforeyggelse som udgives af de pageldende brancheforeninger og forsikringsfirmaer. Af sikkerhedshensyn skal man ici foretage aendringer pa maskinen.
Udforslen af vedligeholdesasarbeje oder reparationer af brugeren er begrænsenet til de ting, der er beskrevt i brugsanvisingen. Alt andet arbeje skal udfores af en godkend serviceagent. Brug kun ægte reservedele og tilbehør som forhandles og leveres af DOLMAR. Brug af ikke-godkend tilbehør og værktjær kan forege risikoen for uheld.
DOLMAR patager sig intet ansvar for ulykker ell skader, der er opstaet pahrgrund af brug af icke-godkendt skereudstyr, fastgorelsemsidler til skareudstdy erer tilbehor.
Forstehjaelp
I tilfælde af en ulykke skal du sorge for at have en førsthjælpskasse i naerheden af det sted, hvor du udforer skæearbejde. Erstat straks de ting der benyttes fra førsthjælpskassen.
Ophys venligst fologende hvis du tilkalder hjaelp:
- Sted for ulykke
-Hvad der er sket - Antallet af tilskadekomne personer
-Hvilke skader det drejer sig om - Dit navn

Kun for lande i Europa
EF-overensstemmelseserklaering
Makita erklær at følgende Makita-maskine(r):
Maskinens betegnelse: Benzindreven tradtrimmer
Modelnummer/type:LT-27
Specificationer: se skemaet "TEKNISKE DATA"
Overholder falgende europaiske direktiver:
De er produceret i overensstemmelse med den falgende standard aller standardiserede dokumenter:
EN ISO11806-1
Den tekniske fil er i overensstemmelse med 2006/42/EF til radighed fra:
Makita, Jan-Baptist Vinkstraat 2, 3070, Belgien
Den konformitetsvurderingsprocedure, der kræves af Direktiv 2000/14/EF, brev udfør i henhold til appendiks V.
Malt lydeffektniveau: 111,30 dB
Garanteret lydeffektniveau: 112 dB
-
- 2014

Yasushi Fukaya
Direktør
Makita, Jan-Baptist Vinkstraat 2, 3070, Belgien
TEKNISKE DATA
| Model LT-27 | |||
| Händtagstype Bøjlehändtag | |||
| Mål: längde x bredde x højde (uden skæreværktøj) mm 1.645 x 220 x 510 | |||
| Nettovægt kg 4,3 | |||
| Motortype Luftafkølet, 2-takts enkeltcylinder | |||
| Motorvolumen cm3 | 25,7 | ||
| Maksimal motorydelse kW 0,83 | |||
| Maksimal spindelrotationsfrekvens min-1 | 8.000 | ||
| Skærediameter med nylontrimmerhoved mm φ 400 | |||
| Tomgangshastighed /min. | 3.000 | ||
| Omdrejningstal ved indkobling /min. | 4.100 | ||
| Brændstof | Benzinblanding Benzin: Totaksmotorolie = 50:1 | ||
| Volumen (brændstoftank) 10,6 | |||
| Karburator | WALBRO WYC | ||
| Tændrør | NGK BPMR7A | ||
| Elektrodeafstand mm | 0,6 - 0,7 | ||
| Vibration pr. ISO 22867 | Højre händtag (Bagerste greb) | ahy eq m/s2 | 5,074 |
| Usikkerhed K m/s2 | 1,5 | ||
| Venstre händtag (Forreste greb) | ahy eq m/s2 | 3,853 | |
| Usikkerhed K m/s2 | 1,5 | ||
| Gennemsnitigt lydtryksniveau iht. ISO 22868 | LPA eq dB (A) | 91,30 | |
| Usikkerhed K dB (A) | 0,85 | ||
| Gennemsnitigt lydstykseniveau iht. ISO 22868 | LwA eq dB (A) | 111,30 | |
| Usikkerhed K dB (A) | 0,85 | ||



| Delenes betegnelse | |
| 1 Styrekabel | |
| 2 Bagerste greb | |
| 3 Gashändtag | |
| 4 Start-stop-kontakt | |
| 5 Handtag | |
| 6 Skaft | |
| 7 | Skaerm (Afskærming for skareværktøj) |
| 8 Nylontrimmerhoved | |
| 9 Luftfilterdæksel | |
| 10 Koblingshus | |
| 11 Brændstoffankdæksel | |
| 12 Tipper | |
| 13 Brændstoffank | |
| 14 Taendrør | |
| 15 Chokerhändtag | |
| 16 Lyddæmpper | |
| 17 Starthändtag | |
| 18 Rekylstarter | |
MONTERING AF HändTAG
FORSIGTIG: Inden du udforer arbeje pa maskinen, skal du allid stoppe motoren og fjerne taendrørshaeten fra taendroret. Baer altid beskyttilseshandsker!
FORSIGTIG: Start kun motoren after den er helt samlet.
Til maskiner med bojlehandtag
- Fastgor bojlehandtaget (1) pa skafet (2).
- Sørg for at afstandsstykke pa skafte er placeret mellem grebets montering og det andet grep. Du ma hverken fjerne eller formindske afstandsstykke.
BEMERK: I visse lande ffolger afstandsstykket icike med maskinen. I det tilfaelde skal du rette handtaget ind med den fjerne side af linjen, der angives med pilemaerkerne.

MONTERING AF SKÄERM
For at leve op til de gaeldende sikkerhedsbestemmelse m der kun anvendes de kombinationer af vaerktj/skaerm, som er angivet i tabellen.
FORSIGTIG: Rør ikke ved snorkniven (1) på skærmen (2). Hvis du rører ved snorkniven med bare hænder, kan det medføre tilskadekomst.
Skaermen skal installereres for at bevec længden af nylontrimmernsøn og beskytte brugeren mod udkaste de sten og afskarne stykker. Installer skæmer vha. falgende trin.
- Placer skærmen sá stiveren på skafet passer ind i rillen på skærmen.
- Spænd to bolte (3).

MONTERING AF NYLONTRIMMERHOVED
ADVARSEL: Anvend aldrig metalklinger.
Sorg for, at du anvender et aegte DOLMAR-nylontrimmerhoved.
- Hvis nylontrimmerhovedet rammer mod en sten under arbejdet, skal du stoppe motoren og ojeblickeligt undersoge nylontrimmerhovedet.
FORSIGTIG: Ror icie ved snorkniven (1) pa skarmen. Hvis du rorer ved snorkniven med bare hender, kan det medfere tilskadekomst.
Monter et nylontrimmerhoved (2) vha. de folgende trin.
- Saet lasegnlen (3) ind gennem hullet i spendebojlen. Roter dem ved at trykke pa lasegnlen, indtil de er last.
- Skru et nylontrimmerhoved pa skafet ved at dreje det med urets retning. Sorg for, at det ordentligt monteret.
- Fjernasenoglen.
For at fjerne nylontrimmerhovedet skal du dreje det mod uret.

BRÄNDSTOFIPÄFYLDNING AF BRÄNDSTOF
Handtering af brandstof
Du skal vare yderst forsigtig, nár du handterer brændstof. Brændstof kan indeholde substanser, der minder om oplosningsmidler. Páfyld brændstof i et godt ventileret rum aller udendørs. Inhaler ikke brændstofdampe og undgå enhver kontakt mellem brandnstof aller olie og din hud.
Mineralske olieprodukter fjerner fertet fra din hud. Laengerevarende hudkontakt med disse produit kan gore din hud utrolig tør, hvikket kan resulttere i forskellige former for hudsygdomme. Endvidere kan der opsta allergiske reactioner. Ojnene kan blive irriterede ved Kontakt med olie. Hvis du fãr olie i øjnene, skal du straks vaske dem med rent vand. Hvis dine øjne stadig er irriterede, skal du straks opsoge en laege.

Overhold sikkerhedsanvisingerne pa side 108.
Blanding af benzin og olie
Tradtrimmerens motor er en hajeffektiv totaktsmotor. Den korer pa en blanding af brandstof og totaktsmotorolie. Motoren er designet til almindeligt blyfrit brandstof med en minimumoktanværdi pa 91 RON.
For at opnà optimal motorydeevne og for at beskytte dit helbred og miljøet, skal du kun anvende blyfrit braendstof!
Tilsæt totaksmotorolie for at smøre motoren (kvalitetsklasse: JASO FC aller ISO EGD) til brandstoffet. Motoren er designet til at anvende den specificerede totaksmotorie med et blandingsforhold på 50:1 for at beskytte miljeet. Endvidere garanteres lang brugslevetid samtidig med en pälidelig Funktion og minimale emissioner ved brug af dette blandingsforhold. Der kan ikke garanteres en pälidelig Funktion af tradtrimmeren medmindre, at dette blandingsforhold på 50:1 (specificeret 2-taktsmotorolie) strengt overholds.

BEMÄRK: For at lave blandingen af brændstof-olie skal du først blande hele oliemængden med halvdelen af det nødvendige brændstof, og derefter tilfoje det resterende brændstof. Ryst blandingen godt inden du hælder den ind i tanken på trædtrimmeren. Tilfoj af sikkerhedsmæssige arsager ikke mere olie end den specificerede mængde. Hvis du gør det, resulterer det blot i en hjere produktion af forbændingsrester, der forurener miljoet og tilstopper udstødningskanalen i cylinderten savel som lyddæmperen. Endvidere stiger brændstoffborruget og ydeevnen forringes.

Benzin 50:1 25:1

1.000 cm³ (1 liter)
5.000 cm³ (5 liter)
10.000 cm³ (10 liter)
20~cm^3
100 cm
200 cm
40 cm³
200 cm²
400 cm³
Páfyldning af brandstof
Motoren skal sukkes.
- Foretag grundig rennsning af området omkring brændstofdaekslet (2) for at forhindre at derkommen snavs i brændstoftankan (1).
- Skru brændstofdaekslet (2) af og fyld tanken op med brændstof.
- Skru brændstofdaekslet (2) ordentlich pa.
- Rengør brændstofdaekslet (2) og tanken after pafyldning af brændstof.

Opbevaring af brandstof
Braendstof kan ikke opbevarres i en ubegraenset tidssperiode.
Kob kun den maengde som er ndvendig for 4 ugers arbejde. Anvend kun godkendte opbevaringsbeholderne.
STARTSTOP
Overhold de gaelende bestemmelser for ulykkesforebyggelse.
Start af maskinen
Flyt mindst 3 m vaek fra det sted, hvor du fyldte olie pa maskinen. Placer tradrimmeren pa et rent jordunderlag, mens du passer pa, at skarevearktojet ici komer i kontakt med jorden aller andre genstande.
ADVARSEL: Vær opmaerkoms på at skærevaerktojet straks begynder at rotere, after motoren er startet.
Koldstart
-Indstil start-stop-kontakten (1) pa startuppositionen som illustreret.
- Tag fat i handtaget (trykket fra handen aktiverer sikkerhedslas-framekanismen (2)).
Tryk gasknappen (3) og hold den inde.
- Saat start-stop-kontakten (1) på startuppositionen og slip betjeningshandtaget, og frigør derefter start-stop-kontakten (start-stop-kontakten holder gasknappen i startuppositionen).

Varmstart
-
Placer Först maskinen på jorden.
-
Tryk forsigtigt flere gange (7-10 gange) pa tipperen (4) indtil derkommen brændstof ind i tipperen.
Luk chokerhandtaget (5). Chokerabning:
- Helt lukket ved kolde temperaturer, eller nar motoren er kold.
- Helt aller halvt aben ved genstart, mens motoren stadig er varm.

- Hold koblingshuset med din venstre hand som vist pæ tegningen.
- Træk langsom i starthandtaget indtil du foler modstand, og træk derefter hurtigt tilbage.
- Træk ikke starterhändtaget welt ud i dens fulde længe, og lad den ikke trække sig tilbage. Behold grebet på startsnoren og sorg for, at den trækker sig langsomt tilbage.
Gentag startprocedureen indtil du horer, at motoren begynder at tende. - Tryk chokerhandtaget (5) (1) ) ned og traek i startsnoren igen indtil motoren starter.
- Sá snart motoren starter, skal du straks trykke og slippe gasknappen, for at frigère halv-kraft-lasen og lade motoren gä i tomgang.
- Kör motoren i cirka et minut ved moderat hastighed, inden du gasser helt op.


BEMERK: - Hvis du trækker flere gange i starterhandtaget, mens chokerhandtaget er i " |-positionen, vil motoren have sveert ved at starte pa grund af for stort brandstofindtag.
- Hvis der er opstaet et for stort brændstofindtag, skal du fjernr taendroret og trække langsomt i starthandtaget for at fjerne det overskydende brændstof. Tø ogsa taendrorets elektrodeel af.
Vaeopmaerkosompafolegendeunderarbejdet:
Hvis gasknappen abnes helt op, uden der er nogen belastning, stiger motoromdrejningerne til over 10.000 min-1. Betjen aldrig motoren ved hoge hastighed end ndvendigt, og hold omdrejningerne pa en omrentlig hastighed af 6.000 - 8.000 min-1.
FORSIGTIG: Reducer altid motoromdrejningerme, nar udstyret ikke anvendes til arbeje.
Lader du maskinen kore ved hoge omdrejninger, nar den不信 anvendes til arbejde, forkortes maskinens brugslevetid.
Standsnning
- Slip gasknappen (3) welt, og när motorens omdrejninger er faldet, skal du skubbe start-stop-kontakten (1) over på positionen "STOP" for at standse motoren.
Vær opmaerkoms pa at trimmerhovedet ikke stopper med det samme, og du bør altid lade det sønke farten og stoppe helt af sig selv.

NYLONTRIMMERHOVED
Nylontrimmerhovedet er et trimmerhoved med to snore, som er udstyret med en bankfremf.orgingsmekanisme.
Nylontrimmerhovedet fremfører nylonsnoren, after trimmerhovedet er blevet banket let ned i jorden.
Betjening
Det mest effektive skareomrade er vist med det skraverede omrade.
- For at fremfere nylonsnoren skal du foroge nylontrimmerhovedets hastighed til ca. 6.000 min' og banke nylontrimmerhovedet let ned i jorden.
- Hvis nylontrimmerhovedet ikke fremføres vha. af lette bank, skal du oprulle/udskifte nylonsnoren ved at folge de procedurer, som er beskrevet under "Udskiftning af nylonsnoren".
Udskifting af nylonsnor
- Stands motoren.
- Tryk klemmemekanismerne indad for at tage daekslet af, og fjern derefter spolen.


- Hægt midten af den nye nylonsnor ind i indhakket pa midten af speløn med den ene snor cirka 80 mm længere end den,anden. Rul derefter begge erder stramt omkring speløn i hovedrotationens retning (højrehandsretning angivet med RH pa speløns side).

-Rul snorene helt op pa spolen pa nær cirka 150 mm, og lad midlertidigt.
dernde vare hægtet gennem indsnittet pa siden af spolen.

-For snorene gennem abningerne, sa dekommen ud af huset. Monter skiven, fjederen og spolen i huset.

- Juster krogene pa daekslet og huset ind. Tryk derefter daekslet ordentigt ind pa huset, sadan at det sidder fast.

VEDLIGEHOLDELSESINSTRUKTIONER
Vedligeholdsesinstruktioner
FORSIGTIG: Inden du udforer nogen form for vedligeholdesasarbejde pa tradrimeren, skal du altid slukke for motoren og fferne tendrørshaeten fra tendraret (se "Kontraf tendrør").
Bae altid beskyttelseshandsker.
FORSIGTIG: Fjern aldrig selv rekylstarteren. Hvis du gør det, kan der opsta en ulykke. Denne procedure bør kun udfores af en autorisert servicecenter.
Udfor flogende vedligeholdesarbejder jævnligt for at sikre en lang brugslevetid og for at undgaskader pa maskinen.
- Kontroller inden brug maskinen for lose skruer erer manglende dele. Vaer isae opmaerkso m a tilspendingen af klingen ell nylontrimmerhovedet.
- Kontroller altid inden brug at luftafkølingspassagen og cylinderribberne ikke er tilstopede.
Rengör dem om nödvendigt.
- Udfor dagligt falgende vedligeholdesesarbejder after brug:
- Rengør tradtrimmeren udvendigt og efterse den for skader.
- Rens luftfilteret. Rens filteret flere gange om denen, nár du arbejdet i ekstremt støvede omgivelser.
- Kontroller klingen og nylontrimmerhovedet for skader og sorg for, at den/det er ordentigt monteret.
- Kontroller om der er tilstrækkelig forskelem mellem tomgang- og arbejdshastigheder til at sikre, at skareveerktjet ikke bevæger sig, när motoren er i tomgang (hvis det er nødvendigt, skal du reducere tomgangshastigheden).
Hvis skareveerktoget med at rotere under motortomgang, skal du konsultere din naermeste autoriserede serviceagent.
- Kontroller at start-stop-kontaktlen, lás-fra-mekanismen, gashändtaget og laseknappen alle fungerer korrekt.
Rensning af luftfilteret
Drej chokerhandtaget (4)heit over til den lukkede side og hold karburatoren vaek fra stov og snavs.
-Fjernskruen (1).
-Fjern luftfilterdaekslet (3).
- Fjern svampestykket (2), vask det i lunkent vand og tør det fuldstændigt.
- Efter renssingen skal du sætte luftfilterdaekslet (3) tilbage pa plads og skrue det fast med en skrue (1).
BEMERK: Hvis der sidder meget stov erer snavs i luftfilteret, skal du rense det hver dag. Det kan vare svart erer umuligt at starte motoren, ell er foroge motorens omdrejningshastighed, hvis luftfilteret er tilstoppet.

Kontrol af taendroret
- Anvend kun den medfolgende skiftenogle til at afmontere og montere tændraret med.
- Afstanden mellem taendrorets to elektroder bør vaere pa 0,6-0,7 mm. Hvis afstanden er for stor aller for lille, skal du justere den. Hvis taendroret er sodet til uller beskidt, skal du rense det ordentligt uller udskifte det.
FORSIGTIG: Rør aldrig ved taendrørshaften, mens motoren kører (der er risiko for elektrisk stød med høj spænding).

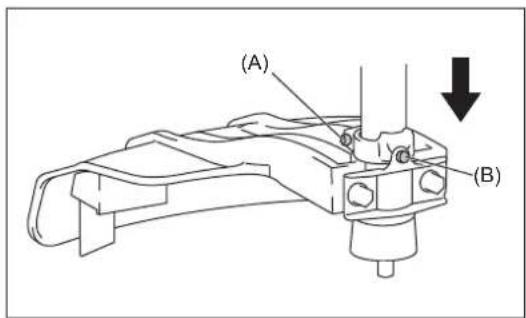
Tilfor smoremiddel til det fleksible skaft
-Tilfor smoreminder (Shell Alvania 3 ell er tilsvarende) til det fleksible skaft hver 50. time.
(AEgte DOLMAR-smoreminder kan anskaffes fra din DOLMAR-forhandler.)
Udfor de folgende trin for at tilfoe smoremiddel:
- Fjern boltene (A) og (B).
- Fjern hovedenheden fra skaatet.
- Træk det fleksible skaf ud med handen og tilfor smoremiddel.


Sugehoved i brandstoftanken
- Brændstofffilteret (1) i sugehovedet anvendes til at tilfore det nødvendige brændstof til karburatoren.
-Efterse (kig pa) braendstofffilteret med mellemrum. For at efterse filteret, skal du abne braendstoffdakslet og bruge en tradkrog til at treakke suehovedet ud gennem tankabningen. Udskift filteret his det er blevet hardt, meget beskidt eller tilstoppet. - Utilstrækkelig brændstoftilforsel kan medfere at den maksimalt tilladelige hastighed overstiges. Brændstoffilteret skal derfor udskifles mindst en gang i kvartalet for at sikre tilfredsstellende brændstoftilforsel til karburatoren.

Alt andet vedligeholdelses- eller justeringsarbejde, der icke er beskrevet i denne brugsanvisning, ma kun udfores af et autoriseret servicecenter.
OPBEVARING
- När maskinen skal opbevares i en længere期内e, skal du tømme alt brændstof fra brændstoftanken og karburatoren. For at gøre dette skal du blot tømme alt brændstof fra brændstoftanken. Afskaf det udtrømte brændstof i henhold til de gældende lokal love.
- Tag tændrøret ud og dryp et par dræber olie i tændrørhullet. Træk derefter forsigtigt i startsnoren sādan at olien dækker motorens indre, og saet derefter tændrøret paigen.
- Rengør klingen og udvendigt på motoren for støv og snavs og tør dem over med en klud med olie på. Opbevar maskinen på et tørsted.

Vedligeholdesssskema
| Generelt Motorenhed, skruer og møtrikker Efterse (visuelt) for skader og tilspænding | Kontroller generel tilstand og sikkerhed | |
| Efter påfyldning af brændstof G | GashändtagStart-stop-kontakt | FunktionscheckFunktionscheck |
| Dagligt Luftfilter | LuftafkølingskanalSkæreværktøjTomgangshastighed | Skal rengøresSkal rengøresKontroller for skader og skarphedEftersyn (skæreværktøjmå ikke bevæge sig) |
| Ugentligt Tændrør | Lyddæmpper | Eftersyn, udskift,hvis nødvendigtEfterse ogrens abningen,hvis nødvendigt |
| Kvartalsvis Sugehoved | Brændstoftank | Skal udskiftesSkal rengøres |
| Afslutningsprocedure Brændstof | Karburator | TømbrandstofflankenKør motoren indtil den lobeber tør for brændstof |
Fejlfinding
| Fejl System Observation Årsag | |||
| Motoren starter不解, deren er svær at starte | Tænding Tændingsgnist | OK Fejl i brændstoffilførslæn | eller kompressionssystemet, mekanisk fejl |
| Ingen tændingsgnist Betjening af start-stop-kontakten, fejl i ledningsnettet aller kortslutting, tændrørEller tændrørshaete defekt, fejl i tændmodul | |||
| Brændstoffilførsel | Brændstoffank fuld | Forkert chokerposition, karburator defekt, brændstoffslange bøjet aller blokeret, brændstoff beskidt | |
| Kompression | Ingen kompression ved træk | Cylinderbundpakning defekt, beskadigede krumtapakselpakninger, cylinderEller stempelringe beskadigede aller tændrørspakning ikke tæt | |
| Mekanism fejl | Starter griber不解 fat | Fjeder i starteren brækket, afbrækkede deli motoren | |
| Problemer ved varmstart | Brændstoff i tanken. Tændingsgnist OK | Karburator snavset, skal renses | |
| Motor starter, men dør | Brændstoffilførsel | Brændstoff i tanken | Forkert tomgangsjustering, karburator snavset Tankudluftning defekt, brændstoffslangen abrudt, kabelEller start-stop-kontakten defekt |
| Manglende ydeevene | Flere systemer kan vare samtidigt pvävirkede | Därelig motortomgang | Luftfilter snavset, karburator snavset, lyddæmpeter tilstoppet, udstødningskanal i cylinderten tilstoppet |
Za euxapiotoupe Tnou ayopaoate autn tn nynavokivtn oukeun
Egweptikou xwpou tnc DOLMAR. Bpiokmaote stnv euxapiotn eoan va aac
auotnooume auto to tpoiov tsDOLMAR, to oio io elai to atotetaeqa evoc
jakpoi npoypaatoc avattuengs kai tonawv xpovw yyoeewkai eptiag
Iapakawdiabatae auto to quaaaio to oio avapepetai aeTTOpeus cta
diapaopa onieia tno 0e tniiedeovu nv eiaepikou Tou atodooan. Auto 0a ac
Bonthetaia v atokthote ta kalutepa duvata atotetaeqmuata atto auto to
tpoiov tsDOLMAR.

Notice-Facile