LT27 - Grasmaaier DOLMAR - Gratis gebruiksaanwijzing en handleiding
Vind de handleiding van het apparaat gratis LT27 DOLMAR in PDF-formaat.
Download de handleiding voor uw Grasmaaier in PDF-formaat gratis! Vind uw handleiding LT27 - DOLMAR en neem uw elektronisch apparaat weer in handen. Op deze pagina staan alle documenten die nodig zijn voor het gebruik van uw apparaat. LT27 van het merk DOLMAR.
GEBRUIKSAANWIJZING LT27 DOLMAR
Lees deze gebruiksaanwijzing aandachtig door voordat u de benzinegraskantmaaier in gebruik neemt en houdt u te allen tjde aan de veiligheidsinstructies!
Bewaar deze gebruiksaanwijzing zorgvuldig!
Important:
(Originele instructies)
Hartelijk dank voor uw aankoop van dit gemotoriseerd tuingereedschap van DOLMAR. Met,trots bevelen wij u dit gereedschap van DOLMAR van harte aan alsresultaat van een langdurig ontwikkelingsprogramma en jarenlange kennis en ervaring.
Lees deze handleiding metkaarin nauwkeurige beschrijvingen van de diverse punten die zich hoogstaande prestaties demonstreren. Hierdoor bent u in staat de best möglichke resultaten te behalen die het gereedschap van DOLMAR u kan bieden.

Inhoudsopgave
Symbolen 62
Veiligheidsinstructies 63
Technische gegevens 67
Namen van onderdelen 68
De handgreep monteren.. 69
De beschemkap monteren 69
De nylordraad-snijkop monteren. 69
Brandstof en bijvullen 70
Starten en stoppen 71
Nylondraad-snijkop 73
Onderhoudsinstructies. 74
Opslag 76
SYMBOLEN
Let op de volgende symbolen wonneer u de gebruksaanwijzing leest.

Lees de gebruiksaanwijzing en volg de waarschuwingen en veiligheidsvoorzorgsmaatregelen op!

Besteed bijzondere zorg en aandacht!

Verboden!

Houd afstand!

Gevaar voor rondvliegende voorwerpen!

Verboden teroken!

Geen open vuur!

Draag stevige schoenen met antislipzolen.
Veiligheidsschoenen met stalen neuzen worden aanbevolen!

Houd mensen en huisdieren weg van het werkgebied!

Draag een veiligheidshelm, oog- en gehoorbescherming.

Toegestaan maximtoerental

Brandstof (benzine)

Motor handmatig starten

Noodstop

EHBO

AAN/START

UIT/STOP

Gebruik nooit een metalen snijblad
VEILIGHEIDSINSTRUCTIES
Algemene instructies
- Lees deze gebruiksaaanwijzing om ubekend te make n met de juiste manier van omgaan met het gereedschap. Gebruikers die onvoldoende geinformeerd zichen, lopen de kans zichelf en anderen in gevaar te brengen als gevolg van onjuist omgaan met het multifunctionele aandrijsystem.
- Het verdient aanbeveling het gereedschap uitsluitend uit te lenen aan mensen die bewezen hebben ervaren teijken. Geef altijd de gebruiksaanwijzing mee.
- Onervaren gebruikers dienen de dealer te vragen om basisinstrumenties om zichselfbekend te makes met het omgaan met een graskantmaier.
- Laat geen kinderen ofjonge mensen diejonger zichn dan 18aar met het gereedschap werken. Jongeren die ouder zichn dan 16aar mogenECHter het gereedschap gebruiken om te oefenen verwijl ze onder toezicht staan van een gekwalificeerde begeleider.
- Gebruik het gereedschap met de hoogst möglichke zorg en aandacht.
- Gebruik het gereedschap alleen als u in goede lichamelijke conditie bent. Werk.altijd rustig en voorzichtig. De gebruiker is aansprakelijkk ten opzichte van andereen.
- Gebruik dit gereedschap nooit na het gebruik van alcohol of drugs, of wanneer u zich moe of ziek voelt.
- Het gebruik van het gereedschap kan landelijk gereglementeerd zijn.
Bedoeld gebruik van het gereedschap
- Het gereedschap isuitsluitend bedoeld voor het maaien van gras enkleine onkruiden. Het mag Niet worden gebruikt voor enig ander doel, zoals randen bijwerken of heggen snoeien, aangezien dit tot letsel kan leiden.
Persoonlijke-veiligheidsuitrusting
- De te dragen kleding dient functioneel en geschikt te zich, d.w.z. nauwsluitend zonder te hinderen. Draag geen jewelen of kleding die in de struiken können verstrikt raken.
- Omijdens het gebruik letsels aan hoofd, ogen, handen of voeten te voorkomen en uw gehoor te beschermen, moeten de volgende veiligheidsuitrusting en beschermende kleding worden gebruikt verwijl u werkt.
- Draag altiijd een helm wonneer het risico bestaat op vallende objecten. U moet de veiligheidshelm (1) regelmatig controleren op schade en uiterlijk na 5 waar worden verrangen. Gebruik alleen goedgekeurde veiligheidsshelmen. - Het spatschemr (2) van de helm (of de veiligheidsbril) beschermt het gezicht gegen rondvliegend afval en opspringende stenen. Draag tijdens het gebruik altiijd een veiligheidsbril of een spatschemr om letsel aan de ogen te voorkomen.
- Draag geschikte uitrusting om u te beschermen gegen het lawaai en gehoorbeschadiging te voorkomen (corbeschemers (3), cordopjes, enz.).
- Een werkoverall (4) beschirmt gegen rondvliegend afval en opspringende stenen.
Wij raden u sterk aan een werkoverall te dragen.
- Handschoenen (5) make deel uit van de voorgeschreven uitrusting en要去en alsijd worden gedragenijdens het gebruik.
- Draag tijdens gelebruik van het gereedschap altijd stevige schoenen (6) met een antislipzool. Dit beschermt u tegen letsel en garandeert dat u stevig staat.
De benzinegraskantmaaier starten
- Controller of er geen kinderen of andere mensen aanwezig zijn bennen een werkbereik van 15 meter (50 feet) en let ook of er geen dieren in de werkomgeving�.
- Controller voor gebruik algijd of het gereedschap veilig is om te gebruiken. Controller de bevestiging van het snijgarnituur, controller of the gashendel gemakkelijk kan worden bediend, en controller of the gashendelvergrendeling goed werkt.
- Het snijgarnituur mag Niet draaien bij stationair motortoerental. Neem bij twijfel contact op met uw dealer voor afstelling. Controller of de handgrepen schoon en droog zich en test de werkung van de stopschakelaar.





(3)


(5)

(6)
Schematische voorstelling
360^

15 meter

-
Start de benzinegraskantmaaier alleen op de manier beschreiben in de instructies.
-
Gebruik geen enkele andere methode om de motor te starten!
-
Gebruik de benzinegraskantmaier en de gereedschappen uitsluitend voor de beschreiben toepassingen.
-
Start de motor van de benzinegraskantmaaier alleen nadat deze volledig is gemonteerd. Het gereedschap mag uitsluitend worden gebruikt nadat alle toepasselijk tebebohoren zijn gemonteerd!
-
Controller voor het starten of het snijgarnituur geen contact maakt met harde voorwerpen, zoals takken, stenen, enz., waar datijdens het starten het snijgarnituur za ronddraien.
-
De motor要去 onmiddelijk uitgeschakeld worden in geval van enige motorstoring.
-
Als het snijgarnituur stenen of andere objecten raakt, moet u de motor onmiddelijk uitschakelen en het snijgarnituur controleren.
-
Controller het snijgarnituur regelmatig op beschadiging (inspecteren op haarscheurtjes met de klopgeluidentest).
-
Nadat gegen het gereedschap is gestoten of het is gezallen, contrôleert u de conditie van het gereedschap voordat u de werkzaamheden hervat. Controller het brandstofsysteme op brandstofflekkage, en de bedieningselementen en veilgheidsvoorzieningen op een juiste werking. Als eenige beschadiging zichtaaar is of u twijfelt, vraagt u ons erkende servicecentrum om inspectie en reparatie.
-
Houd de benzinegraskantmaier alkijd met beiden handen vast tijdens het gebruik. Houd de benzinegraskantmaier nooit met slechts een hand vast tijdens het gebruik.
Zorg er altiijd voor dat u stevig staat.
-
Gebruik het gereedschap zo, dat u geen uitlaatgassen kutn inademen. Laat de motor nooit draaien in een gesloten vertrek (kans op gasverstikking). Koolmonoxide is een geurloos gaes.
-
Schakel de motor uit tijdens pauzes en wanner u het gereedschap onbeheerdchterlaat, en leg hem op een veilige plaats om gevaar voor
anderen en beschadiging van het gereedschap te voorkomen.
- Leg nooit een warme benzinegraskantmaaier op droog gras of enige andere ontvlambare materialen.
-Breng altijd een goedgekeurde beschemkap van het snijgarnituur aan op het gereedschap voordat u de motor start. Als u dat Niet doet, kan aanraking van het snijgarnituur leiden tot ernstig persoonlijk letsel.
-
De hele veiligheidsuitrusting en alle beschemkappen die bij het gereedschap zich geleverd,要去enijdens het werk worden gebruikt.
-
Gebruik het gereedschap nooit met een defecte uitaatdemper.
-
Schakel de motor uitijdens het vervoer.
-
Leg tijdens vervoer per auto het gereedschap op een veilige plaats om te voorkommen dat er brandstof uit lekt.
-
Wanner u het gereedschap vervoert, moet u ervoor zorgen dat de brandstoffank volledig leeg is.
-
Let erop dat bij het uitladen van het gereedschap uit de auto de motor nicht op de grond valt,ondat hierdoor de brandstoffank ernstig kan worden beschadigd.
-
Behalve in noodgevalten mag u het gereedschap nooit op de grond lately vallen of weggooien,ondat hierdoor het gereedschap zwaar beschadigd kan raken.
-
Let erop dat u het volledige gereedschap van de grond tielt wanneer u het verplaatst. Het is bijzonder gevaarlijk de brandstoftank over de grond te slepen en dit zal beschadiging en lekkage verroorzaken die kan leiden tot brand.
Brandstof bijvullen
- Schakel de motor uit alvorens brandstof bij te vullen, blijuit de buurt van open vuur en rook Niet.
Vermijd huidcontact met minerale-olieproducten. Adem de brandstofdampen nicht in. Draag altijd veiligheidshandschoenen tijdens het bijvullen van de brandstof. Zorg dat u de beschermende kleding regelmatig verwangt en reinigt.
-
Wees voorrichtig geen brandstof of olie te morsen om bodemverontreiniging te voorkomen (milieubescherming). Reinig de benzinegraskantmaier onmiddelijk nadat brandstof erop is gemorst.
-
Vermijd dat brandstof in aanraking komt met uw kleding. Kleed u onmiddelijk om als brandstof op uw kleding is gemorst (om te voorkomen dat de kleding vlam vat).
-
Inspecteer de brandstofvuldop regelmatig om zeker te zijn dat de dop stevig kan worden aangedraaid en Niet lekt.
Draai de brandstofvuldop stevig vast. Verplaats het gereedschap voordat u de motor start (tenminste 3 meters afstand tot deplaats waar brandstof is bijgevuld.)
Vul nooit brandstof bij in een gesloten vertrek. Brandstofdampen verzamelen zich vlak boven de vloer (risico van explosie.)
- Vervoer en bewaar brandstof alleen in goedgekeurde tanks. Zorg dat de opgeslagen brandstof Niet toegankelijk is voor kinderen.






Gebruiksmethode
- Gebruik het gereedschap alleen bij goed Licht en zich. Wees in de winter bedacht op gladde of natte plaatsen, ijs en sneeuw (gevaar voor uitglijden).
Zorg er altijd voor dat u stevig staat. - Maai nooit boven heuphoogte.
Werk nooit vanaf een ladder. - Klim nooit in een boom om waar met het gereedschap te werken.
Werk nooit op onstabile oppervlakken. - Verwijder zand, stenen, nagels, enz. die u binnen uw werkbereik vindt.
- Voordat u begint te maaien, moet het snijgamituur op maximaal toerental draaien.
-Beweeg de benzinegraskantmaier gelijkmatig heen en weer.
Als gras of takken bekneld raken tussen het snijgarnituur en de beschemkap, zet u altijd de motor uit voordat u ze verwijdert. Als u dat toch doet, kan door onbedoeld draaien van het snijgarnituur ernstig letsel ontstaan. - Neem een pauze om te voorkomen dat u door vermoeidheid de controle over het gereedschap verliest. Wij adviseren u ieder uu 10 tot 20 minuten te rusten.
Snijgarnituur
- Gebruik nooit metalen snijbladen, waaronder metalen meerdelige kettingen en vlegelmessen. Als u dat toch doet kan door aanraking van het snijblad ernstig letsel ontstaan.
Trillingen
- Personen met een slechte bloedsomloop die worden bloatgesteld aan sterke trillingen, können verwondingen aan bloedvaten of het zenuwstelsel oplopen. Trillingen kanne de volgende symptomen veroorzaken in de vingers, handen of polsen: "slapen" (ongevoeligheid), tintelingen, pijn, stekend gevoel, veranderen van huidskleur of van de huid. Als een van deze symptomen zich voordoet, raadpleegt u uwuisarts!
- Om de kans op deze "witte-vingerziekte" te verkleinen, houdt u uw handen warm tijdens het werk en onderhoudt u het gereedschap en de accessoires goed.
Onderhoudsinstructies
- Laat uw gereedschap onderhoven door ons erkende servicecentrum dat.altijduitsluitend gebruikmaakt van originele verrangingsonderdelen. Onjuiste reparatie en slecht onderhoud kan de levensduur van het gereedschap verkorten en de kans op ongevallen vergroten.
- De toestand van het gereedschap, met name van het snijgarnituur en de veiligheidsuitrusting,要去en worden gecontroleerd voor aanvang van de werkzaamheden.
- Schakel de motor uit en trek de bougiekap eraf wanner u het snijgarnituur verwangt, en wanner u de maaier of het snijgarnituur schoonmaakt.
Denk aan het milieu. Vermijd onnodig gebruik van de gashendel zatat minder uitlaatgassen en geluid worden geprodueerd. Stel de carburateur goed af. - Maak het gereedschap regelmatig schoon en controllerer of alle bouteen en moeren stevig zijn vastgedraaid.
- Onderhoud of bewaar het gereedschap Niet in de buurt van open vuur.
-Bewaar het gereedschap altijd in een afgesloten ruimte en met een lege brandstoftank.



Volg de relevante instructies voor het voorkomen van ongevallen die door de relevante beroepsverenigingen en verzekeringsmaatschappijen zijn uitgegeven.
Breng geen wijzigingen aan het gereedschap aan, waarhiermee uw veilighheid gevaar loopt.
Het uitvoeren van onderhoud of reparaties door de gebruiker is beperkt tot de activiteiten die in de gebruiksaanwijzing zijn beschreiben. Alle andere werkzaamheden moet worden uitgevoerd door een erkend servicecentrum. Gebruik uitsluitend originele verrangingsonderdelen en accessoires die zich vervaardigd en geleverd door DOLMAR.
Het gebruik van Niet-goedgekeurde accessoires en gereedschappen leidt tot een verhoogde kans op ongevallen.
DOLMAR aanvaardt geen enkele aansprakelijkheid voor ongevalen of schade veroorzaakt door het gebruik van een Niet-goedgekeurd snijgarnituur, bevestigingsmiddelen voor snijgarnituur of accessoires.
EHBO
Zorg dat er altiijd een EHBO-doos beschikbaar is in de buurt waar er worden gemaaid om eerste hulp te bieden bij eventuele ongevallen. Vervang onmiddelijk elk item dat ut de EHBO-doos is genomen.
Geef de volgende informatatie wanner u hulp inroegt:
- Plaats van het ongeval
- Beschrijving van het ongeval
Aantal gewonden
Soort letsels
-Uw naam

Alleen voor Europese landen
EU-verklaring van conformiteit
Makita verklaart dat de volgende machine(s):
Aanduiding van de machine: Benzinegraskantmaaier
Modelnr./Type: LT-27
Technische gegevens: zie de tabel "TECHNISCHE GEGEVENS".
Voldoen aan de volgende Europese richtlijnen:
2006/42/EG en 2000/14/EG
Deze zijn gefabriceerd in overeenstemming met de volgende normen of genormaliseerde documenten:
EN ISO11806-1
Het technische bestand volgens 2006/42/EG is verkrijgbaar bij:
Makita, Jan-Baptist Vinkstraat 2, 3070, Belgie
De conformiteitsbeoordelingsprocedure vereist door Richtlijn 2000/14/EG was in overeenstemming met annex V.
Gemeten geluidsvermogenniveau: 111,30 dB
Gegarandeerd geluidsvermogenniveau: 112 dB
-
- 2014

Yasushi Fukaya
Director
Makita, Jan-Baptist Vinkstraat 2, 3070, Belgie
TECHNISCHE GEGEVENS
| Model LT-27 | |||
| Type handgreep Beugelhandgreep | |||
| Afmetingen: lenghte x bredte x hoogte (zonder snijgarnituur) mm 1.645 x 220 x 510 | |||
| Nettogewicht kg 4,3 | |||
| Motortype Luchtgekoeld, tweetakt, éncilinder | |||
| Cylinderinhoud cm | 3 | 25,7 | |
| Maximaal motorvermögen kW 0,83 | |||
| Maximaal astroerental min | -1 | 8.000 | |
| Maaidiameter met nylordraad-snijkop mm φ 400 | |||
| Stationair toerental /min 3.000 | |||
| Toerental op aangrijppunt van koppeling | /min 4.100 | ||
| Brandstof | Mengsmering Benzine: Tweetaktmotorolie = 50:1 | ||
| Volume (brandstoffank) | L | 0,6 | |
| Carburateur | WALBRO WYC | ||
| Bougie | NGK BPMR7A | ||
| Elektrodenafstand | mm | 0,6 - 0,7 | |
| Trillingen volgens ISO 22867 | Rechterhandgreep (Achterhandgreep) | aPv eq m/s2 | 5,074 |
| Onzekerheid (K) m/s2 | 1,5 | ||
| Linkerhandgreep (Voorhandgreep) | aPv eq m/s2 | 3,853 | |
| Onzekerheid (K) m/s2 | 1,5 | ||
| Gemiddeld geluidsdrukniveau volgens ISO 22868 | LPA eq dB (A) 91,30 | ||
| Onzekerheid (K) dB (A) 0,85 | |||
| Gemiddeld geluidsvermogenniveau volgens ISO 22868 | LWA eq dB (A) | 111,30 | |
| Onzekerheid (K) dB (A) 0,85 | |||



| Naam van onderdeel | |
| 1 Gaskabel | |
| 2 Achterhandgreep | |
| 3 Gashendel | |
| 4 Start-stopschakelaar | |
| 5 Handgreep | |
| 6 Schacht | |
| 7 Beschermkap van snijgarnituur | |
| 8 Nylondraad-snijkop | |
| 9 Luchtfilterkap | |
| 10 Koppelingshuis | |
| 11 Brandstofvuldop | |
| 12 Brandstofhandpomp | |
| 13 Brandstoftank | |
| 14 Bougie | |
| 15 Chokehendel | |
| 16 Uitlaatdemper | |
| 17 Trekstarhandgreep | |
| 18 Trekstartinrichting | |
A LET OP: Voordat u werkzaamheden uitvoert aan het gereedschap, moet u alltijd de motor uitzetten en de bougiekap van de bougie aftrekken. Draag alltijd veiligeidshandschoenen!
A LET OP: Start de motor alleen nadat hij volledig is gemonteerd.
Voor gereedschappen met een beugelhandgreep
- Bevestig de beugelhandgreep (1) aan de schacht (2).
Zorg ervoor dat de afstandshoeder zich op de schacht bevindtussen de voorhandgreep en dechterhandgreep. Verwijder of verkort de afstandshoeder Niet.
OPMERKING: In sommige landen worden de afstandshoender Niet bij het gereedschap geleverd. Lijn in dat geval de handgreep uit met de verste lijn aangegeven door de pijlmarkeringen.

In naleving van de toepasselijkke veiligheidsregels mogen uitsluitend de gereedschap/beschemkap-combinations worden gebruikt die in de afbeelding worden aangegeven.

LET OP: Raak het mesje (1) in de beschemkap (2) Niet aan. Als u het mesje met blote handen aanraakt, kurz u zich verwonden.
De beschemkap moet worden aangebrachte om de nylondraad op de juiste lengte te houden en om de gebruiker te beschemmen gegen opgeworpen stenen en vuil. Breng de beschemkap aan volgens de onderstaande stappen.
- Plaats de beschemkap zodenig dat de rib op de schacht valt in de groef van de beschemkap.
- Draai de twee bouten (3) vast.

DE NYLONDRAAD-SNIJKOP MONTEREN

WAARSCHUWING: Gebruik nooit een metalen snijblad.
Gebruik.altijd een originele nylondraad-snijkop van DOLMAR.
- Als de nylondraad-snijkop een steen raaktijdens het gebruik, moet u de motor onmiddelijk uitzetten en de nylondraad-snijknop controleren.

LET OP: Raak het mesje (1) in de beschemkap Niet aan. Als u het mesje met blote handen aanraakt, kurz u zich verwonden.
Breng een nylondraad-snijkop (2) aan volgens de onderstaande stappen.
- Steek de vergrendelsleutel (3) in het gat in de klem. Draai hem rond verwijl u de vergrendelsleutel maar binnen duwt tot ze zijn vergrendeld.
- Schroef een nylondraad-snijkop op de Schacht door deze rechtsom te draaien. Controller of hij stevig is gemonteerd.
- Haal de vergrendelsleutel eruit.
Om de nylondraad-snijkop eraf te halen, draait u hem linksom.

BRANDSTOF EN BIJVULLEN
Omgaan met brandstof
Uiterste zorg is vereist bij het omgaan met brandstof. Brandstof kan stoffen bevatten die ook in oplosmiddelen voorkomen. Tank alleen bij in een goed geventileerde ruimte of buitenshuis. Zorg dat u de brandstoffdampen nicht inademt en vermijd contact van de brandstof of de olie met de huid.
Aardolieproducten ontvetten uw huid. Als uw huid langdurig in contact is geweest met deze producten, kan uw huid extreem droog worden. Dit kan leiden tot verschillende soorten huidaandoingen. Daarnaast+kunnen er ook allergische reacties optreden.
Uw ogen konnen geirriteerd raken door contact met olie. Als er olie in uw ogen terecht komt, moet u ze onmiddelijk spoelen met helder water. Als uw ogen dan nog steeds geirriteerd zich, moet u onmiddelijk een dokter raadplegen.
Benzine-oliemengsel
De motor van de graskantmaier is een zeer efficiente tweetaktmotor. Deze werkst op een mengsel van brandstof en tweetaktmotorolie. De motor is ontworpen voor gewone loodvrije benzine met een minimaal octaangehalte van 91 RON.
Voor optimale prestaties van de motor en om uw gezondheid en het milieu te beschermen, adviseren wij u alleen loodvrije brandstof te gebruiken!
Om de motor te smeren, voegt u tweetaktmotorolie (kwaliteitsnorm: JASO FC of ISO EGD) toe aan de brandstof. De motor is ontworpen voor gebruik met de opgegeven tweetaktmotorolie bij een mengverhouding van 50:1 om het milieu te beschermen.
Daarnaast garandeert het gebruik van deze mengverhouding een langere gebruiksduur, een betrouwbare werkung en minimale uitstoten. Er kan geen betrouwbare werkung van de graskantmaier worden gegardeerd, tenzij de mengverhouding van 50:1 (opgegeven tweetaktmotorolie) strikt worden nageleefd.
Correcte mengverholding:
Benzine: opgeveen tweetaktmotorolie = 50 : 1 of
Benzine: Tweetaktmotorolie van andere fabrikant = 25 : 1 aanbevolen
OPMERKING: Om het benzine-oliemengsel te makes, mengt u eerst de volledige hoeveelheid olie met de helft van de vereiste benzine en voegt u daarna de resterende benzine toe. Schud het meldsel stevig voordat u het in de tank van de graskantmaaier giet. Voor een veilig gebruik mag u nooit meer motorolie toevoegen dan de opgegeven hoeveelheid. Als u dat toch doet, worden meer verbrandingsresten geproduederd waardoor het milieu worden verruild en het uittlaatkanaal in de cilinder en de demper verstopt konnen raken. Daarnaast za het brandstofverbruik verhogen en zullen de prestaties afnemen.

Houdt u aan de veiligheidsinstructies op pagina 63.


Benzine 50:1 25:1
1.000cm^3 (1 liter)
5.000 cm³ (5 liter)
10.000cm^3 (10 liter)

20cm 40cm
100 cm³ 200 cm³
200cm^3 400 cm³
Brandstof bijvullen
De motor moet worden uit gezet.
- Maak het gebied rond de brandstofvuldop (2) grondig schoon om te vermijden dat er vuil in de brandstoffank (1) terechtkomt.
Draai de brandstofvuldop (2) los en vul brandstof bij in de tank.
Draai de brandstofvuldop (2) stevig vast. - Maak de brandstofvuldop (2) en de tank schoon na het bijtanken.

Opslag van brandstof
Brandstof kan nicht voor een onbeperkteijd worden opgeslagen.
Koop slechts de hoeveelheid die nodig is voor een gebruiksperiode van 4 weken.
Gebruik uitsluitend goedgekeurde brandstofopslagtanks.
STARTEN EN STOPPEN
Volg de toepasselijke voerschriften voor ongevalenpreventie.
Starten
Ga op minstens 3 m afstand staan van het gebied waar u het gereedschap hebt bijgetankt. Plaats de graskantmaier op een schoon stuk grond en zorg ervoor dat het snijgarnituur Niet in contact komt met de grond of andere objcten.
WAARSCHUWING: Denk eraan dat het snijgarnituur onmiddelijk gaat draaien zodra de motor aanslaat.
Koude start
- Zet de start-stopschakelaar (1) in de stand voor starten, zoals afgebeeld.
-Pak de handgreep vast (de druk van uw hand bedient de hendel voor de uitvergrendelhendel (2)). - Knijp de gashendel (3) in en houd deze ingeknepen.
- Zet de start-stopschakelaar (1) in de stand voor starten en LAST de gashendel los, en LAST daarna de start-stopschakelaar los (de start-stopschakelaar houdt de gashendel in de stand voor starten).

Warme start
Zet de start-stopschakelaar (1) in de middenstand, zoals afgebeeld.

- Plaats het gereedschap eerst op de grond.
- Druk herhaaldelijk (7-10 keer) op de brandstofhandpomp (4) tot de brandstof in de brandstofhandpomp loopt.
- Sluit de chokehendel (5).
Gaskleopening:
- Volledig besloten bij koude temperaturen of wanner de motor koud is
- Volledig of half open voor het opnieuw opstarten verwijl de motor nog warm is

- Houd de koppelingbehuzing met uw linkerhand vast, zoals weergegeven.
Trek langzaam de trekstarthandgreep tot u watstand voelt en trek
vervolgens met een steige ruk.
Trek de startkoord nicht volledig uit en laat de starthandgreep nicht vanzelf intrekken. Behoud de controle over de startkoord en zorg dat deze langzaam wordt ingetrokken. - Herhaal het starten tot u de eerste ontstekingen van de motor hoort.
- Duw de chokehendel (5) omlaag | |) en trek opnieuw aan de startkoord tot de motor start.
Zodra de motor start moet u de gashendel onmiddelijk inknijpen en weer loslaten zodate de halfasvergrendeling worden ontrendeld en de motor stationair gaat draaien. - Laat de motor ongeveer één minuut draaien op een gematigd toerental voordat u volgas geeft.


OPMERKING: - Als herhaaldelijk aan de trekstarhandgreep worden getrokken toenwijl de chokehendel in de stand "[-] staat, za de motor niet gemakkelijk starten vanwege een overmatige brandstoffevoer.
- Als een overmatige brandstoffevoer optreedt, verwijdert u de bougie en trekt u langzaam aan de trekstarhandgreep om overtollige brandstof te verwijdenen. Maak ook het elektrodegedeelte van de bougie droog.
Voorzichtig tijdens gebruik:
Als de gashend volledig wordt geopend tijdens onbelast draaien, neemt het motortoerental toe toteer dan 10.000 min'. Gebruik de motor nooit op een hoger toerental dan vereist is en beperk het toerental tot onceveer 6.000 tot 8.000 min'.
LET OP: Verlaag het aantal motortoerental alsijd wanneer het gereedschap Niet worden gebruikt voor het werk.
Als het gereedschap op een hoog toerental draait verwij het Niet voor het werk worden gebruikt, worden de levensduur van het gereedschap verkort.
Stoppen
-
Laat de gashendel (3) volledig los en, nadat het motortoerental is afgenomen duw de start-stopschakelaar (1) maar de stand "STOP" (uit) om de motor uit te zetten.
-
Houd ermee rekening dat de snijkop möglichn nicht onmiddelijk stopt. Wacht dus even tot de kop vertraagt en volledig stopt.

NYLONDRAAD-SNIJKOP
De nylondraad-snijkop is een dubbele-draadkop uitgerust met een stootaanvoermechanisme.
De nylondraad-snijkop voert de nylondraad UIT door met de kop van de spelop op de grond te tikken.
Bediening
-
Het meest effectieve maaigebied wordt weergegeven door het gearceerde deel.
-
Om de nylondraad aan te voeren, verhoegt u het toerental van de nylondraad-snijkop waar ongeveer 6.000 min ^-1 en tikt u met de nylondraad-snijkop voorzichtig op de grond.
-
Als de nylordraad-snijkop geen nylordraad aanvoert door ermee op de grond te tikken, volgt u de procedures die zich beschreiben onder "De nylordraad verwangen" om de nylordraad op te wikkelen/te verwangen.
De nylondraad verrangen
Schakel de motoruit.
- Druk de vergrendelnokken van de behuizingaar binnen om het deksel eraf te tillen en verwijderervolgens de draadspoel.


-Haak het midden van de totale lenghte van de neuey nylondraad in het midden van de draadspoel en zorg ervoor dat een uiteinde onceveeer 80 mm langer is dan het andere. Wikkel verwolgens得益raadhelften steig rond de draadspoel in de draairichting van de maaikop (de wikkelrichting rechtsom wordt aangegeven door de pijl RH op de zichkant van de draadspoel).

- Wikkel de volledige draad rond de draadspoel, maar houd 150mm over en laat de uiteindenijdelijk gehaakt in de inkeping op de zijkant van de spoel.

-Voer de nylondraden door de sleuven zodate ze uit de behuizing steken. Plaats de ring, veer en draadspoel in de behuizing.

Lijn de haken op het dekseluit met de vergrendelnokken van de behuizing. Duwa daarna het dekse stevig op de behuizing om hem te vergrendelen.

ONDERHOUDSINSTRUCTIES
Onderhouldsinstructies
LET OP: Voordat u enige onderhoudswerkzaamheden uitvoert aan de graskantmaaier, moet u altijd de motor uitzetten en de bougiekap van de bougie aftrekken (zie "De bougie controeren").
Draag allijd veiligheidshandschoenen.
LET OP: Verwijder nooit zich de terugslagsteller. Dit kan een ongeval veroorzaken. Deze procedure mag alleen worden uitgevoerd door een erkende servicecentrum.
Voer de volgende onderhoudswerkzaamheden regelmatiguit om een lange gebruksduur te garanderen en eventuele schade aan het gereedschap te voorkomen.
Dagelijkse inspectie en onderhoud
- Controller het gereedschap voor het gebruik op losse schroeven of ontbrekende onderdelen. Let vooral op of het snijblad of de nylondraadsnijkop stevig is bevestigd.
- Controlleroor het gebruik altd of de doorgang voor de koellucht en de koelribben van de cilinder niet verstopt zijn.
Maak dezeplaatsen zo nodschoon.
- Voer de volgende onderhoudswerkzaamheden dagelijks uit na het gebruik:
Maak de buitenkant van de graskantmaaier schoon en inspecteer hem op beschadigingen.
Maak het luchtfilter schoon. Maak het filter meerdere keren per dag schoon als u werkt in extreem stoffige omstandigheden. - Controller het snijblad of de nylondraad-snijkop op schade en controllerer of het snijblad of de nylondraad-snijkop steig bevestigd is.
- Controller of er voldoende verschil is tussen het stationair toerental en bedrijfstoerental om zeker te zich dat het snijgarnituur tot stilstand komt wanner de motor stationair draait (verminder zo nodig het stationair toerental).
Raadpleeg het dichtstbijzijnde, erkende servicecentrum als het snijgarnituur blijdt draaien terwijl de motor stationair draait.
- Controller of de start-stopschakelaar, de uit-vergrendelhendel, de gashendel en de vergrendelknop correct werken.
Het luchtfilter schoonmaken (filter)
-Draai de chokehendel (4) maar de volledig gesloten zijde en houd de carburatoruit de buurt van stof of vuil.
-Verwijder de schroef (1).
-Verwijder het deksel van het luchtfilter (3).
- Verwijder het sponselement (2), was het in lauw water en laat het volledig drogen.
- Plaats het deksel van het luchtfilter (3) na het reinigentering en maak het vast met de schroef (1).
OPMERKING: Als er overmatig stof of vuil aan het luchtfilter blijt plakken, moet u deze dagelijks schoonmaken. Een verstopt luchtfilter kan het moeilijk of onmogelijk makeen om de motor te starten of om het motortoerental te lately toenemen.

De bougie controleren
- Gebruik alleen de bijgeleverde moersleutel om de bougie te verwijderen of te monteren.
- De afstand:tussen de twee elektroden van de bougie moet 0,6 tot 0,7 mm zijn. Als de afstand te groot of te Klein is, moet u deze aanpassen. Als de bougie verstopt zit met koolafzetting of vuil, moet u deze grondig schoonmaken of verrangen.
LET OP: Raak de bougiekap nooit aan verwijl de motor draait (gevaar van elektrische schok door hoogspanning).
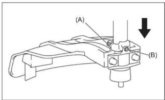
Smeervet aanbrengen op de flexibele as
-Breng elke 50 uur smeervet (Shell Alvania 3 of gelijkwaardig) aan op de flexibele as.
(Origineel DOLMAR-smeervet kan worden aangeschaft bij uw DOLMAR dealer.)
Om smeervet aan te brengen, voert u de volgende stappen UIT:
- Verwijder de bouteen (A) en (B).
- Verwijder de maaikop vanaf de schacht.
- Trek de flexibile as met de hand eruit en breng smeervet aan.



-Het brandstofffilter (1) op de zuigkop worden gebruikt om de brandstof die door de carburateur worden aangezogen, te filteren.
- Voer regelmatig een visuele inspectie uit van het brandstofffilter. Om het filter te inspecteren, draait u de brandstoffvuldop eraf en gebruikt u een draadhaak om de zuigkop uit de brandstoffvulopening te trekken. Vervang het filter als deutscheverhard, extream vuil of verstoet is.
- Onvoldoende brandstoffevoer kan ervoor zorgen dat de maximale toegelaten snelheid worden overschreden. Daarom要去 het brandstofffilter minstens elke drie maanden worden verrangen om voldoende brandstoffevoer maar de carburator te garanderen.

Alle andere onderhods- of aanpassingswerkzaamheden die niet in deze handleiding zijn beschreven, mogen uitsluitend worden uitgevoerd door een erkende servicecentrum.
OPSLAG
- Wanner u het gereedschap langeijd opslaat, moet u alle brandstof aflatenuit de brandstoffank en de carburator. Verwijder hiervoar alle brandstof uit debrandstoffank. Gooi de afgelaten brandstof weg in overeenstemming met delokale toepasselijke wetten.
- Verwijder de bougie en breng enkele druppels olie via het bougiegat in de cilinder. Trek cervolgens voorzichtig aan de trekstarhandgreep zodat de olie de binnenkant van de motor bedekt en monteer daarna de bougie wee.
- Verwijder al het vuil of stof van het snijblad en de buitenkant van de motor en wrijf alles in met een doek die in olie is gedompeld. Bewaar het gereedschap op een droge plaats.

Onderhoudsschema
| Algemeen Montage van de motor, bouteen en moeren Visuèle inspectie op beschad | ging en bevestigingen Controleer de algemene toestand eneilighheid |
| ledere keer na het bijvullen van brandstof | Gashendel Start-stopschakelaar |
| Dagelijks Hoofdfilter | Koelluchtinlaatkanaal Snijgarnituur Stationair toerental |
| Wekelijks Bougie | Uitlaatdemper |
| ledere 3 maanden Zuigkop | Brandstoftank |
| Uitschakelprocedure Brandstoftank | Carburateur |
| Laat de motor draaien tot de brandstof op is |
Problemen oplossen
| Probleem System Waarneiming Oorzaak | |||
| De motor start nicht of is moeilijk te starten | Ontstekingsystem Ontste | Kingsvonk OK Fout in brandstoftoevoer of compressiesystem, mechanisch defect Geen ontstekingsvonk aanwezig | Start-stopschakelaar ingeschakeld, bedravingsfaut of kortsluiting, bougie of bougiekap defect, storing in ontstekingsmodule stand van chokehendel, carburateur is defect, brandstofleiding is geknikt of verstopt, brandstof is vuil |
| Brandstoffevoersystem Brandstoffank is vol Onjuiste Compressie Geen compressie bij aantrekken | Gript het zien aan Gebroeken | Cilindervoetpakking is defect, krukasafdichtingen zijn beschadigd, cilinder of zuigerveren zijn defect, of slechte afdichting van bougie | |
| Mechanisch defect Starter | Tank gefuld. Ontstekingsvonk OK | startveer, gebroken onderdelen in de motor | |
| Problemen bij starten van warme motor | Brandstoffevoersystem | Brandstoffank is vol | Carburateur verwuild, moet worden schoongemaakt |
| Motor start, maar slaat af | Ontvoldoende prestaties Megtijkশn meerdere systemen tegelijk de oorzaak | Slecht stationair lopen | Verkeerde afstellung van stationair toenental of carburateur is verwuild Ontluchting van de brandstoffank is defect, brandstoffleiding is onderbroken, kabel of start-stopschakelaar is defect Luchtfilter is verwuild, carburateur is verwuild, uitlaattemper is verstopt, uitlaatkanaal in de cilinder is verstopt |
Espanol
AiatnpnoTe pia aantoTaon!

Kivovoc ektivaqn avikkeivw!

AATAOpeEETAI TO KATVIAIa!

Oxiyuves φλoγε!

PpTei va φopiouvai PPOOATeUTiká yavTi!

Opate aVbEeTIkeS MTOTc e AVTIOaOHTiKeSc OAs.
Suviotavtai mntotea aopaleiae ievixuon okaapawdakluw!

Kpatnoe jaepia ato nTv Tepiox npyaoic ola ta atoa kai ta 0a!

Na φopáte TTPOOATEUKO kpaVOC KI TPOOATEUKá μaIuv KAI aUTW.

AvwTepn EITIPTTT TaXUTnTa Tou epyaleiou

Kaúiμo (Bενζιν)

Kivntpaas-εipokivtn Ekkivnon

ΔiaKotnékTaktns avayknS

PnpTeBONeies

ENEPTONOIHSH/EKKINHSH

ANENEPTONIOIH/STAMATHMA

Notice-Facile