LT27 - çim biçme makinesi DOLMAR - Ücretsiz kullanım kılavuzu
Cihazın kılavuzunu ücretsiz bulun LT27 DOLMAR PDF formatında.
Cihazınız için talimatları indirin çim biçme makinesi PDF formatında ücretsiz! Kılavuzunuzu bulun LT27 - DOLMAR ve elektronik cihazınızı yeniden ele alın. Bu sayfada cihazınızın kullanımı için gerekli tüm belgeler yayınlanmaktadır. LT27 markasının DOLMAR.
KULLANIM KILAVUZU LT27 DOLMAR
Benzinli Misinali Yan Tirpani kullanmayascious be bu kulanim kilavuzunu dikkatli bir sekilde okuyun ve guvenlik talimatliri sikbir sekilde takip edin!
Kullanim kilavuzunu dikkatli sekilde saklayin!
LT-27

DOLMAR
English
DOLMAR Benzini Misinali Yan Tirpani satin aldiginiz icin teşekür ederiz. Uzun bir gelistirme programinin ve yllarin bilgi ve birikimin bir sonucu olarak ortaya cikan bu DOLMAR urununü sizlere sunmaktan mutluk duyuyoruz. Makinen üstun performanta kullanilmasi icin bircok konuya ilgili ayrintili bilgilerin bulundugu bu kilavuzu lufen dikkatice okuyun. Bu kilavuz, DOLMAR urununden mumkün alan en iyi sonumlari almaniza yardimci olacaktir.

Icindekiler Sayfa
Simgeler 137
Güvenlik talimatlari 138
Teknik veriler. 142
Parcalarin gosterimi. 143
Kolun takilmasi 144
Koruyucunun takilmasi 144
Misinali kesim basliginin takilmasi 144
Kullanilabilir yakitlar/yakit doldurma 145
Bastmatdurdumaa 146
Miscali kesim basligi 148
Servistalimatlari 149
Depolama 151
SIMGELER
Bu kullanim kilavuzunu okurken karilasaçaginiz simgeler asagida aqiklanmistir.

Kullanim kilavuzunu okuyun ve uyari vegüvenlik onlemlerini dikkate alin!

Gerekli onlemleri alin ve dikkatli olun!

Yasak!

Mesafe birakin!

Sicrayan yabanci madde tehlikesi!

Sigara icmek yasaktir!

Açık alev)yasaktı!

Mutlaka koruyucu eldiven takilmalidir!

Alti kaymayan saglam ayakkabilar giyin. Celik uclu koruyucu ayakkabilar tavsiye edilir!

Insanlari ve hayvanlari calisma alanindan uzak tutun!

Koruyucu baret, gozluk ve kulaklik kullanin.

Izin verilen maksimum makine devri

Yakit (Benzin)

Motorun manuel calistirilmasi

Acil durdurma

Ilik Yardim

ACIK/CALESIYOR

KAPALI/DURUYOR

Kesinlikle metal bicaklar kullanmayin
GÜVENLIK TALİMATLARI
Genel Talimatlar
- Makinenin :(as) calistirilacagini ogrenmek icn bu kullanim kilavuzunu okuyun. Yetersiz bilgiye sahip kullaniclar, yanlis kullanim neticesinde hem Kendilerini, hem de baskalarini tehlikeye atarlar.
-Bu makinenin yalnizca deneyimi olan kiselere verilmesi onerilir. Her zaman kullanim kulavuzunu da makineyle birlikte verin.
-Benzinl misinali yan tirpanilik defa kullanacak olanlar, tanitmasi ve nasil kullanilacag konusunda temel bilgiler vermesi icin satiscina danismaldir. - Cocuklar ve 18WAYIN altindaki genclerin bu makineyi kullanmasina
kesinlikle izin verilmemelidir. 16 WAYIN uzerindeki gencler bu makineyi
deneyimli bir egitimi gozetiminde yalnizca egitim amacyla kullanabilir.
-Bu makineyi cok dikkatli ve titiz bir sekilde kullanin. - Bu makineyi yalnizca fiziksel olarak iyi durumdayken calistirin. Tum islerinizi sakin ve dikkatli bir sekilde yurutün. Baskalarinin sorumluluğu da kullaniciya aittir.
-Bu makineyi kesinlikle alkol, uyusturucu veya ilac kullandiktan sonra veya kendinizi yorgun veya hasta hissediyorsaniz kullanmayin.
-Bazi ulusal yonetmelikler makinenin kullanimini kisitlayabilir.
Makinenin amaçlanan kullanimi
- Bu makine yalnizca qim ve kucuk dallarin kesilmesi icindir. Bu makine kesinlikle kenar kesimi veya cit budama gibi baska bir amacl a kullanlmamalidir, aksi takdirde yaralanmalar meydana gelebilir.
Kisisel koruyucu ekipmanlar
- Kullanim sirasinda giyilen kiyafetler islevsel ve uygun olmalidir, yani bol veya hareket kabiliyetini sinirlandiracak kadar dar olmamalidir. Calilara, fundilara ve makineye takilabileceginden takl kullanmayin ve bol kiyafetler giymeyin.
- Bas, goz, el ve ayak yaralanmalarini onlemek ve kulaklarinizi korumak icin, bu makinen calistirilmasi sirasinda asagidaki koruyucu ekipmanlar ve koruyucu kiyafetler kullanimaldir.
- Üzerinize birseyduşme riskivarsutlakakoruyucubaret takin.Koruyucubaret(1),olasihasarlararkusi duzennilaralklarkontrol edilmeli ve engeç
5 ylda bir degistirilmelidir. Yalnzca onayl koruyucu baretleri kullanin. - Koruyucu baretin siperligi (2) (veya alternatif olarak koruyucu gozlukkeri) yüzünuzı sigrayan yabanci madde ve taşlára karı koryacaktı. Calisma sirasinda mutlaka koruyucu gozlu kaya yüz koruyucu kullanin.
- Olasi duyma bozkuklarini onlemek icin koruyucu kulaklik (3), kulak tikacis vs. gibi gurultye karst koruyucu ekipmanlar kullanin.
- Is onlugu (4) sisi siçrayan taqlara ve yabanci maddelere karşi koruyacaktir.
Kullanin is onlugu giymesi onerilir.
-Eldivenler (5) koruyucu ekipmanlardan biridir ve calisma sirasinda mutlaka takilmaldir. - Makineyi kullanirken, daima alti kaymayan saglam ayakkabilar (6) giyin.
Boyle, yere saglam basabilir ve olasi yaralanmalari onleyebilirsiniz.
Benzinli Misinali Yan Tirpanin Çalıstırilmasi
- 15 metrelik (50 fit) calisma alaninda insanlarin ve ozellikde cocoslarin bulunmadigiindan emin olun. Ayrica, calisma alaninin cevesindeki
hayvanlara da dikkat edin. - Calismaya baslamadan once, makinenin guvenli calistigi kontrl edin: Kesici atasmanin guvenli oldugunu, kisma mandalinin kolay calistigi ve kisma mandali kilidinin islevini dokru sekilde yerine getirdigi kontrl edin.
- Kesici atasmanin rolanti hizda hareket etmesi kabul edilemeyeck bir durumdur. Suhelendiginiz ayarlar hakinda saticiniza danisin. Kollarin temiz ve kuru oldugunu kontrol edin ve baslatma/durdurma dugmesinin calismasini test edin.





(3)


(5)

(6)

Şematik;cizim
-Benzinli Misinali Yan Tirpani mutlaka talimatla uregun olarak calistirin.
-Motoru calistirmak icin baska bir yontem kullanmayin!
-Benzinli Misinali Yan Tirpani ve aletleri yalnizca belirtilen uygulamalarda kullanin.
-Motoru yalnizca montaj ve kurulum iglemleri eksiksis tamamlandiktan sonra calistirn. Makinen calistrilmasina yalnizca tum gerekli aksesuarlar takildiktan sonra izin verilimlidir!
- Kesici atasmani kullanmaya baslamadan once, kesici atasmanin dal, tas vb. gibi sert cisimlere temas etmediginden emin olun, akti takdirde calistirma sirasa不错的 kesisinci ataneektir.
- Herhangi bir motor probleinde motoru derhal durdurun.
-Kesici atasmanin taesa veya benzeri sert bir cisme carpmasi halinde, derhal motoru kapali konuma getirin ve kesici atasmani kontrl edin.
- Kesici atasmanda hasar olup olmadigi n ika araliclarla duzenli olarak konrol edin (tklatma-gurultu testi kullanlarak kalcalatlakterespit edilebir).
- Makine aigir bir darbe alirsa veya dusserse, calismaya devam etmeden once durumunu konrol edin. Yakit kagiri olup olmadigi ntespit etmek icin yakit sintemini ve ariza olup olmadigi ntespit etmek icin konrol ve guvenlik cihazlarini konrol edin. Herhangi bir hasar veya suplehendiginiz bir durum varsa, yetkili servis merkezimize konrol ve onanim taleinde bulunun.
- Calistirma sirasinda Benzini Misinali Yan Turpani her iki elinizle tutun.
Kullanim sirasinda Benzini Misinali Yan Turpani kesinlikle tek elinizle tutmayin.
Her zaman yere saglam ve dengeli basin.
- Makineyi egzoz gazlarini solumayacak sekilde calistirin. Motoru kesinlikle kapali ortamlada calistirmayin (gaz zehirlenmesi riski vardir). Karbon monoksit koklarga bir gazdir.
- Insanlarin veya makinenin zarar gormesini onlemek icin, dinlenirken veya makinenin basindan ayrilirken motoru durdurun ve guvenli bir yere kaldirin.
-Benzinli Misinali Yan Tirpani sicakken kseinlikle kuru otlarin veya tutusabilir maddelerin uzerine birakmayin.
Motoru calistirmadan once mutlaka makineye onayli kesici atasman muhafazasin takin. Aksi takdirde, kesici atasmana temas edilmesi durumunda ciddi yaralanmalar meydana gelebilir.
- Calistirma sirasinda, makineyle birlikte verilen tum koruyucu ekipmanlar v muhafazalar kullanilmaldir.
- Cikis susturcusu arizali bir motoru kesinlikle calistirmayin.
- Makineyi taɪrken motoru kapali konuma getirin.
-Araclataasirken,olasi yakit kacaklarini onlemek icin makinenin guvenli sekilde yerlestirildiginden emin olun.
- Nakliye oncesi, yakit deposunun tamamen bois oldugundan emin olun.
- Makineyi kamyondan indirirken, Motoru yere duşürmemeye calisin, aksi takdirde yakit deposu cidi sekilde hasar gorebilir.
-Aci durumlar disinda makineyi kesinlikle yere atmayin veya birakmayin; aksi takdirde makine ciddi sekilde hasar gorebilir.
- Makineyi taşirken kesinlikle sürümemeniz gerektigi unutmayın. Yakit deposunn yere sürtinmesiç tehlidilerık ve yakı depossun hasar görmesine, yakı kacağina ve hatta yangina yol acabilir.
Yakit doldururken
Yakit doldururken motoru kapatin, makineyi aik alevlerden uzaklastirin ve sigara icmeyin.
- Madeni yag urunlerinin cildinize temas etmesine izin vermeyin. Yakit buharini solumayin. Yakit doldururken daima koruyucu eldiven takin. Koruyucu kiyafeterrinizi duenzil araliklaria degistirin ve temizleyin.
- Topragin kirlenmesini onlemek (cevreyi korumak) için yakit veya yag dokülmemesine dikkat edin. Yakit dokülürse, Benzinli Misinali Yan Tirpani derhal temizleyin.
Yakitin kiyafetlerinize bulasmasina izin vermeyin. Yakit dokulurse (kiyafetlerinizin tutusmamasi icin) kiyafetlerinizi derhal degistirin.
Yakit kapağınin-SAglam sekilde kapandiğindan ve yakit kacirmadiğindan emin olmak icin duzeni aralklarla kontrl edin.
Yakit deposu kapagini dikkatli bir sekilde sikin. Motoru calistirmak icin yerinizi degistirin (yakit doldurdugunuz yerden en az 3 metre uzaga gimelisiniz).
- Kesinlikle kapali odalarda yakit doldurmayin. Yakit buhari zemin seiyesinde birikebilir (patlama riski).
-Yakllari yalnizca onayl kaplarda taigiin ve saklayin. Saklanan yakita cocuklarin erisemeyceginden emin olun.






Caliistirma yontemi
- Makineyi yalnizca iyaydinlatlan ve gorusun aik oldugu yerlerde kullanin. Kis mevsiminde kaygan veya islak alanlara, buz ve kara dikkat edin (kayma riski). Her zaman yere saglam ve dengeli basin.
- Asla bel hizanizin uzerinde kesim yapmayin.
- Kesinlikle merdiven üzerinde calismayin.
- Kesim yapmak üzere ağaca seksmayın.
Dengesiz zeminler uzerinde kesinlikle calismayin. - Calisma alani icerisinde bulunan kum, taş, civi vs. gibi yabanci maddeleri temizleyin.
- Kesim islemine beschamadan once, kesici atasmanin tam calisma hizina ulasmasini bekleyin.
-Benzinli Misinali Yan Tirpani dengeli bir sekilde ileletin.
Kesici atasman ile muhafaza arasina ot veya dal sikismasi durumunda, temizlemeye baslamadan once mutlaka motoru durdurun. Aksi takdirde, atasmanin kazara donmesi ciddi yaralanmalara neden olabilir. - Yorgunluk nedeniyle kontrlunuzi kaybetmemek icin duzenli olarak mola verin. Her staat begin 10 ila 20 dakika mola vermenizi oneririz.
Kesici ataşmanlar
-Birbirine bagli metal zincirlerden meydana gelen ve tek buçakl parçalar da dahil kesinlikle metal buçaklar kullanmayin. Aksi takdirde, buçak temasi neticesinde ciddi yaralanmalar meydana gelebilir.
Titreşim
- Kan dolasimi zayif孕期 kisilerin asiri titreime maruz kalmasi, damarlarin veya sinir sisteminin zarar gormesine yol acabilir. Titresim parmaklarda, ellere ve bileklerde s umptomlara neden olabilir: "Uyusma" (hissizlik), karincalmana, agri, batma hissi, cilt renginin veya cildin degismesi. Bu semptomlardan herhangi biri oraya cikarsa, doktera basvurun!
-Beyaz parmak hastaligi' riskini duusirmeik icin, calisma sirasinda ellerinizi sicak tutun ve makine ve aksesuarlarin bakimini gerektigi sekilde gerektelestirin.
Bakim talimatlari
- Makinenizin servisin daima yetkili servis merkezimizde yalnizca originalyedek parçalar kullanilarak yapilmasini saglayin. Yanlş onarimalve bakimakinen Ömrúnün kisalmasina ve kaza risklerinin artmasina yol acabilir.
- Calismaya baslanilmadan once makinenin, özellikle de kesme atasmanin
ve koruyucu cihazlarin durumu kontrl edilmelidir.
-Kesici atasmanlari degistirken veya bilerken ve ayrica kesici aleti veya atasmani temizlerken mutlaka motoru durdurun ve buji konektorun ickartin. - Çevreye duyarı olun. Kirllıgin ve gürultu emisyonunan azaltiması icin kismanmandalini gereksiz yere kullanmaktan kaçınin. Karbüratoru.Doğru sekildeayarlayin.
- Makineyi duzeni araliklarla temizleyin ve tum vidalarinin ve somunarinin saglam sekilde sikildigindan emin olun.
- Ciplak alevlerin yakininda kesinlikle makineyi calistirmayin vya servis calismasi yapmayin.
- Makineyi daima yakit deposu boşaltildiktan sonra killit odalarda muhafaza edin.



Igili ticaret birlikleri ve sigorta sirketleri tarafindan belirtilen kaza onleme talimatlarini dikkate alin.
Güvenliginizi riske atmamak icin, makinede kesinlikle herhangi birdehygiklik yapmayin.
Kullanici tarafindan gereklestirilecek bakim veya onarim calismalari yalinizca bu kullanim kilavuzunda aqiklanan islemlerle siniridir. Diger tum calismalar Yekili Servis Personeli tarafindan gereklestirilecektir. Yalinizca DOLMAR tarafindan uretilen ve tedarik edilen original yedek parcalari ve aksesuarlari kullanin.
Onaylanmamis aksesuar ve aletlerin kullanilmasi kaza riskini arturir.
DOLMAR, onaylanmami atasmanlarin kullanimindan ve cihaz, kesici ataşman vya aksesuarlarin takilmasindan kaynaklanabilecek kaza ve hasarllidan dolay sorumluluk kabul etmeyecekir.
Irk Yardim
Bir kaza durumuna karsi ilk yardim cantasinin kesim calismasinin yapildigi yere yakin oldugundan emin olun. Ik yardim kutusunden bir sey alindiginda derhal yerine yenisini koyun.
Yardim isterken, lufen 山 bilgileri verin:
-Kazanin yeri
- Ne oldugu
-Yarali kisi sayisi
Yaralanma tipi
-Adiniz

Yalnizca Avrupa ülkeleri icin
AT Uygunluk Beyani
Makita asagidaki Makine(ler) ile ilgili suhusumlari bayan eder:
Makinenin Adi: Benzinli Misinali Yan Tirpan
Model Numaras / Tipi: LT-27
Özellikler: bkz. "TEKNIK VERILER" tablosu
Su Avrupa Yonergelerine uygundur:
Su standartlara veya standarlaistirilmis belgelere uygun olarak uretilmiistir:
EN ISO11806-1
2006/42/EC'ye uygun Teknik dosyaya adresten ulasiabilir:
Makita, Jan-Baptist Vinkstraat 2, 3070, Belcika
2000/14/EC sayili Direktif tarafindan istenen uygunluk degerlendirme prosedur, Ek V'e uygundur.
Olculen Ses Gucu Duzeyi: 111,30 dB
Garanti Edilen Ses Gucu Düzeyi: 112 dB
-
- 2014

Yasushi Fukaya
Mudur
Makita, Jan-Baptist Vinkstraat 2, 3070, Belcika
TEKNIK VERILER
| Model LT-27 | |||
| Kol tipi Yuvarlak kol | |||
| Boyut: uzunluk x genişlik x)yükseklik (kesici parçà olmadan) mm 1.645 x 220 x 510 | |||
| Net ağırlik kg 4,3 | |||
| Motor tipi Hava soğutmali, 2 zamanlı, tek silindirli | |||
| Motor hacmi cm3 | 25,7 | ||
| Maksimum motor performansı kW 0,83 | |||
| Milin(Maximum)...önusz frekansı dak-1 | 8.000 | ||
| Misinalı kesim besteht ile kesim "...capi mm φ 400 | |||
| Rölanti devri /dak 3.000 | |||
| Kavrama devri/dak 4.100 | |||
| Yakit | Gazkıntsı Benzin:İki Zamanlı Motor Yarı = 50:1 | ||
| Hacim (yakit deposu)10,6 | |||
| Karbürató | WALBRO WYC | ||
| Buji | NGK BPMR7A | ||
| Elektrot boşluğu mm | 0,6 - 0,7 | ||
| ISO 22867 uyarınca titreşim | Saq kol(Árka sap) | ahy eq m/sn2 | 5,074 |
| Belirizlik K m/sn2 | 1,5 | ||
| Sol kol(Ön sap) | ahy sq m/sn2 | 3,853 | |
| Belirizlik K m/sn2 | 1,5 | ||
| ISO 22868'e güre ortalamasa bas中国特色 seviyesi | LPA eq dB (A)91,30 | ||
| Belirizlik K dB (A)0,85 | |||
| ISO 22868'e güre ortalamasa ses Güçü seviyesi | LWA eq dB (A) | 111,30 | |
| Belirizlik K dB (A)0,85 | |||



| Parçā adlari | |
| 1 Kontrol kablosu | |
| 2 Arka sap | |
| 3 Kontrol mandali | |
| 4 Başlatma-DurdurmaDMIğmesi | |
| 5 Kol | |
| 6 Şaft | |
| 7 Koruyucu (Kesici parçamuhafazasi) | |
| 8 Msinali kesim baslıkıng | |
| 9 Hava temizleyici kapaşa | |
| 10 Kavrama kutusu | |
| 11 Yakit deposu kapaşa | |
| 12 Ana pompa | |
| 13 Yakit deposu | |
| 14 Buji | |
| 15 Jikle kolu | |
| 16 Egzoz susturucusu | |
| 17 Marş kolu | |
| 18 Gerı sarmalı marş | |
KOLUN TAKILMASI
DIKKAT: Makine uzerinde herhangi bir calisma yapmadan once, mutlaka motoru durdurun ve buji uzerindeki buji konektoru cikartin. Daima koruyucu eldiven takin!
DIKKAT: Motoru yalinizca dogru sekilde monte ettikten sonra calistirn.
Yuvarlak kollu makinel icin
Yuvarlak kolu (1) saft (2) uzerine sabitleyin.
- Saft borusu uzerindeki ara parcanin sap tertibati ile diger saparasina geldiginden emin olun. Ara parcayi cikarmayin veya sikistirmayin.
NOT: Bazi ülkelerde makineyle birlke ara para verilmez. Bu durumda, kolu, ok isaretleriyle gosterilen hadn uzak tarafina hizalayin.

KORUYUCUNUN TAKILMASI
Igili güvenlik sartarinin saglanmasi icin, yalnizca tabloda belirtilen makine/ koruyucu kombinasayonlar kullanilmaldir.
DIKKAT: Koruyucu (2) uzerindeki misina kesiciye (1) dokunmayin. Misina kesiciye ciplak elle dokunlmasi yaralanmalara yol acabilir.
Koruyucu mutlaka misina uzunluğu sabit kalacak ve operatür firlayan taş ve yabancı maddelere karşi koruyabilecek sekilde takilmaldir. Koruyucu takmak icin asagida açiklanan adimi lari takip edin.
- Koruyucuyu, saft kenari, koruyucu uzerindeki yuvaya oturacak sekildeyerlestitir.
- iki civatayi (3) sikin.

MISINALI KESIM BASTLIGIN IN TAKILMASI
UYARI: Kesinlikle metal buçaklar kullanmayin.
Original DOLMAR misinali kasim basligi kullanildigindan emin olun.
-Misinali kesim basligi calisma sirasinda taasa carpara, derhal motoru durdurun ve misinali kesim basligini kontrl edin.
DIKKAT: Koruyucu uzerindeki misina kesiciye (1) dokunmayin. Misina kesiciye ciplak elle dokunlmasi yaralanmalaro yol acabilir.
Misinali kesim basligini (2) takmak icin asagl aciklanan adimlar tikip edin.
- Alyan anahtarini (3) kelepce uzerindeki delikten dokun. Alyan anahtarina bastirarak bu iki parcayi yerine kilitlenene kadar dondurun.
- Ardindan, misinali kesim basligini saat yonunde cevirerek safta vidalayin. Saqiam sekilde takildigindan emin olun.
- Alyan anahtarini cikartin.
Misinali kesim basligini cikartmak icin, saat yonunun tersine cevirin.

KULLANILABILIR YAKITLAR/YAKIT DOLDURMA
Yakitin taşınması
Yakit kullanimi sirasinda cok dikkatli olunmalidir. Yakitlar, czuculere benzer maddeler icerebilir. Yakit doldurma islemini iyi havalandirilan bir odada veya disarida gereklestirin. Yakit buharini solumayin ve yakitin vya yagin cildinize temas etmesine izin vermyin.
Madeni yag urunleri cildinizi tahris eder. Bu urunlerin cildinize uzun sure temas etmesi, cildinizin asiri sekilde kurumasina ve noticesinde Çesiti cilt hastalikarina neden olabilir. Ayrica, alerjik reaksiyonlar görulebilir.
Yag temas etmesi halinde gozte tahrish meydana gebleilir. Yagin gozlerinize temas etmesi halinde, gozlerinizi derhal temiz suyla yikayin. Gozlerinizdeki tahris devam ederse, derhal bir doktora basvurun.

138. sayfadaki Güvenlik Talimatları dikkate alin.
Yakit ve yag karişimi
Misinali yan tirpan motoru yuksek verimli iki zamanl bir motordur. Yakit ve iki zamanl motor yagi karsimi kullanilr. Motor, minimum oktan degeri 91 RON olan kurunsuz normal benzin icin tasarlanmistir.
Optimum motor performansi elde edilmesi ve sagliginizin ve cevrenin korunmasi icin, yalnizca kurunsuz yakit kullanilmalidir!
Motorun yaglanmasi icin, yakita iki zamanli motor yagi (kalite derecesi: JASO FC veya ISO EGD) ekleyin. Motor, cevrenin korunmasi icin yalinizca belirtilen iki zamanl motor yagi ve 50:1 kariqim oraniyla kullanim icin tasarlanmistir.
Ayrica, bu karism oranin n kullanlmasi durumnda uzun kullanim omrve guvenli calisma ve minimum emisyonlar garanti edilir. 50:1 (belirtlen 2 zamanl motor yagi) karism orana kat sekilde uyulmamasi durumnda, misinali yan tirpanin guvenli calismasi garanti edilemez.

Dogru kariqim orani:
Benzin: Belirtilen iki zamanl motor yagi = 50 : 1 veya
Benzin:Diger ureticilerin iki zamanl motor yaglar = 25:1 onerilir
NOT: Yakit-yag karişimün hazirlanması icin, yum yagi gerekli yakit miktarinin yarisiyla kariştin ve ardashan yakitın Dennis yarınsi ilave edin. Misinali yan tirpanin deposuna doldurmadan once karişimi lyice kariştin. Güvenlçalşmayi garanti etmek icin, belirtilen miktardan fazla motu yagi eklemeyin. Daha fazla motor yagi eklenmesi yalinizca cevrenin kirlenmesine olç anyanma artiklarini artirir ve silindirdeki egzoz kanalınin ve susturucunun tikanmasina yol acar. Ayrica, yakit;tuketimi artarken, performans duser.

Benzin 50:1 25:1

1.000cm^3 (1 litre)
5.000 cm³ (5 litre)
10.000 cm³ (10 litre)
20 cm³
100 cm³
200 cm³
40 cm3
200 cm3
400 cm³
Yakit doldururken
Motor mutlaka kapali durumda olmalidir.
Yakut deposuna (1) pislik girmesini onlemek icin, yakit doldurma kapaginin (2) etrafindaki alani iyice temizleyin.
Yakit doldurma kapaigin (2) cikartin ve depoya yakit doldurun.
Yakit doldurma kapagini (2) saglam sekilde sikin.
- Yakit doldurduktan sonra, yakit doldurma kapagini (2) ve depoyu distan temizleyin.

Yakitin Saklanmasi
Yakit sinirisz sure saklanamaz.
Yalinizca 4 haftalik calisma icin gerekli miktarda yakit satin alin. Yalinizca onayil yakit saklama kaplari kullanin.
BAŞLATMA/DURDURMA
Igili kaza onleme yonetmeliklerini dikkate aln.
Basilatma
Makineye yakit doldurdugunuz noktadan en az 3 metre uzaga gidin. Misinali yan tirpani temiz bir zemine yerleştin. Kesici parcanin zeminle veya diger nesnelerle temas etmediginden emin olun.
UYARI: Kesici parcanin motor calistirilir calistirilmaz donmeye baslayacagina dikkat edin.
Soguk baslatma
- Baslatma-Durdurma Düğmesini (1) sekilde gosterildigi gibi baslatma konumuna getirin.
- Kolu kavrayin (el basinciniz, kilit acma mandalini (2) etkinlestirir).
Gaz mandalina (3) bastirin ve asagida sabit tutun. - Baslatma-Durdurma Düğmesini (1) baslangı konumuna getirin ve kontrol mandalini birakin ve arindan Baslatma-Durdurma Düğmesini (Baslatma-Durdurma Düğmesi, gaz mandalini baslangı konumunda tutar) serbest birakin.

Sicak baslatma
- Baslatma-Durdurma dugmesini (1) sekilde gosterildigi gibi orta konuma getirin.

- Oncelikle makineyi yere koyun.
Yakit, ana pompaya gelene kadar ana pompayi (4) yavaça arka arkaya (7 ila 10 defa) calistirin. - Jikle kolunu (5) kapatin.
Jikle açıklıkı: - Düşuk sicutlkdarda veya motor soğukken tam kapali.
- Motor halo sicakken yeniden calistirildiginda tam veya yar ick.

- Kavrama kutusunu sekilde gosterildigi gibi sol elinizle sikica tutun.
-Mars kolunu hafif bir direnc hissedinceye kadar yavaşa cekin ve ardindan sertce cekin. - Mars ipini sonuna kadar cekmeyin ve mars kolunun kendi kendine geri cekilmesine izin vermeyin. Mars ipinin kontrolunu birakmayin ve yavaş sekilde geri cekilmesini saglayin.
- Baslatma calistirmasini motorda ilk ateslemeleri duyana kadar tekrarlayin.
- Jikle kolunu (5) (↓ | ) bastirin ve motor calisincaya kadar marş ipini cekin.
-Motor calisir calismaz gaz mandalina basarak birakin ve arindan yarim gaz mandali kilidini serbest birakin, boylece motor rolantide calisibilir. - Motoru tam devirde kullanmaya baslamadan once yaklaşik bir dakika boyunca orta devirde calistirin.


NOT: - Jikle kolu " konumundayken marş kolunun tekrar tekrar cekilmesi halinde, asir yakit cekilmesi nedeniyle motorun calistirilmasi zorlasir.
- Asiri yakit cekilmesi durumunda, bujiyi cikartin ve fazla yakiti boasilmak icin mars kolunu yavaça cekin. Ayrica, bujinin elektrot bolunun kurutun.
Calistirma sirasinda dikkat edin:
Gaz mandali yuksuz calisma sirasinda tamamen acilmazsa, motor devri 10.000 da degerin uzerine yukselir. Motoru kseinlikle gerekenden daha yuksek bir devirde calisturmayin ve devri yaklasik 6.000 - 8.000 da 1 aralignda tutun.
DIKKAT: Makine kullanilmiyorken daima motor devrini duusurun.
Makine kullanlmyorken yuksek devirlerde calistirilrsa, makinenin kullanim omrk ksalir.
Durdurma
-Gaz mandalin (3) tamamen birakin ve motor dvr/dak degeri dustugunde motoru durdurmak Bapatma-Durdurma Dugmesini (1) "STOP" konumuna getirin.
- Kesim basigiin hemen durmayilecegeine dikkat edin ve daima kendi kendine yavaşlamasini ve tamamen durmasini bekleyin.

MISINALI KESIM BAŞLIĞI
Misinali kesim basligi, carpma ve besleme mekanizmasina sahip bir cift hati yan tirpan basligidir.
Misinali kesim basligi, misinayi yan tirpan basligi yere carpildiginda besler.
Calistirma
- En etkili kesim alanı taralar olarak gosterilm壁纸.
- Misina beslemek icin, misinali kasim basliginin devrini yaklasik 6.000 dark
degerine yikseltin ve misinali kosim basligin haficce yere carpin.
-Misinali kesim basligi carma yontemiyle beslme yapmazsa, "Misinanin degistirlimesi bolumunde aqiklanan prosedurleri takip ederek misinayi ger sarin/deigistirin.
Misinanin degistirilmesi
Motoru durdurun.
- Kapaği kaldirmak icin muhafaza killlerini icce dokru bastirin ve ardindan makarayi qikartin.


- Yeni misinanin merkezini, misinanin bir ucu diger ucuna gore yaklaik 80 mm (3-1/8") daha uzun olacak sekilde makaranin merkezindeki tirnagaGPCIN. Ardindan, her iki ucu baslik donus yonunde makara etrafina sikica sarin (makaranin yanindaki RH isareti saga donusu gosterir).

- 150 mm (6") kalana kadar misinanin tamaminin makara etrafina sarin ve bu sirada misina uclarinin geci olarak makaranin kenarindaki tirnakta takili kalmasini saglayin.

-Misinayi muhafazadan cikacak sekilde boşluklardanGPCirn. Pulu, yayi ve makarayi muhafazaya takin.

-Kapak ve muhafaza uzerindeki kancelari hizalayin. Ardindan, kappa! sabitlemek uzere saglamca muhafaza uzerine bastirn.

SERVIS TALIMATLARI
Servis talimatlari
DIKKAT: Misinali yan tirpan uzerinde herhangi bir bakim calismasi yapmadan once, mutlaka motoru durdurun ve buji uzerindeki buji kapagini cikartin (bkz. "Bujinin kontrlu"). Daima koruyucu eldiven takin.
DIKKAT: Kesinlikle geri sarmali marsi kendiniz dokmeye calismayin. Aksi takdirde, kazalar meydana gelebilir. Bu prosedur yalinizca yetkili bir servis merkezi tarafindan uyguulanmalidir.
Uzun bir kulanim omrunun garanti edilmesi ve makine hasaralarin n onlenmesi icin, asagida aqiklanan bakim calismalarini duzenli olarak gerceklestirin.
Günlük kontrol ve bakimlar
- Calismaya baslamadan once, makinede gevsek vida veya eksik parca olup olmadigiin konrol edin. Ozellkle, kesici bicak vya misinali kasim basliginin dogrukilde siklmis olduguna dikkat edin.
-
Calistirmadan once, daima sogutma havasi gecisinin ve silindir kanatlarinin tikali olmadigini contro edin. Gerekirse, bu parcalari temizleyin.
-
Her gun kullanim sonrasi su bakim calismalarini gereklesteirin:
- Misinali yan tirpanin diq kismini temizleyin ve hasar olup olmadigi nktrol edin.
Hava filtresini temizleyin. Asiri tozlu ortamlarda calisiyorsaniz, filtreyi gunde birkaq defa temizleyin. - Bicakta veya misinali kesim basliginda hasar olmadigi ne bu parcalarin saglam sekilde takildigi konrol edin.
- Motor rolantideyken kesici parcanin duracagindan emin olmak icin, rolanti ile calisma devirleriarasinda yeterli fark oldugundan emin olun (gerekirse, rolanti devrini duurun).
Motor rolantideyken kesici parca donmeye devam ediyorsa, size en yakin Yetkili Servis Merkezine danisin.
- Baslatma-Durdurma Dugmesinin, kilit açma mandalinin, kontrl mandalinin ve kilit duggmesinin dokru calistigini kontrl edin.
Hava temizleyicinin (filtrenin) temizlenmesi
- Jikle kolunu (4) tamamen kapali konuma cevirin ve karbaturdeki toz ve pisklikleri temizleyin.
- Vidayi (1) sikun.
- Hava temizleyici kapagini (3) cikartin.
- Sünger titre elemanin (2) Çikartin, ilik pada yıkayın ve tamamen kuruması bekleyin.
-Temizledikten sonra, hava temizleyici kapaginci (3) geri takin ve vidasini (1) sikarak sabitleyin.
NOT: Hava temizleyicide cok fazla toz veya kir birikiyorsa, her gun temizleyin. Hava temizleyicin tikali olmasi halinde, motorun calismasi veya motor donus devrinin yuksetilmesi zorlaasibilir ve hatta imkansiz hale gelebilir.

Bujinin kontrlü
- Bujiyi sökmek ve takmak icin yalnizca urunle birlikte verilen standart anahtarı kullanin.
-Bujinin iki elektrroduarasindaki boşluk 0,6-0,7 mm (0,024"-0,028")arasinda olmaldir.Boşlukçok genis veya darsa,ayarlayin.Buji,karbonla tikanirsa veya kirlenirse, iyice temizleyin veya degistirin.
DIKKAT: Motor calisiyyorken buji konektorune kesinlikle dokunmayin (yuksek gerilimde elektrik carpmasi tehlikesi).

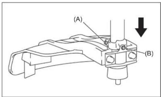
Esnek saft icin gres uygulama
-Esnek safta her 50 saatlik calisma sonrasinda gres (Shell Alvania 3 veya muadili) uygulayin. (DOLMAR saticinizdan original DOLMAR gresi satin alabilirsiniz.)
Gres uygulamak icin, su adimlari takip edin:
- Civatalari (A ve B) dokun.
- Baslik Üntitesini safttan ickarin.
- Esnek safti elinizle cekin ve gres uygulayin.


Yakit deposundaki emis basligi
- Emis basligrindaki yakit filtresi (1), karbatur tarafindan ihtiya duyulan yakitin filtrelenmesi icin kullanilir.
Yakit filtresini duzenli olarak gozte kontrl edin. Filtreyi kontrl etmek icin yakit doldurma kapagiri acin ve ardindan bir tel kanca yardimiyla emis basligini depo aikligrindan cekerek cikartin. Sertlemsse, asiri derecede kirlenmis veya tikanmissa filtreyi degisir. - Yetersiz yakit beslenmesi, kabul edilebilir maksimum devrin aslmasina neden olabilir. Bu nedenle, karbaturö yeterli miktarda yakit beslemesini saglamak icin, yakit filtresi en az üç ayda bir degistirlmelidir.

Bu kilavuzda belirtlmeyen ve aciiklanmayan diger tum bakim ve ayar calismalar mutlaka yalinizca yetkili servis merkezi tarafindan yapilmaldir.
DEPOLAMA
- Makineyi uzun bir sure kullanmayacaksaniz, yakit deposundaki ve karbaturdeki tum yakiti bosaltin. Bunun icin, yakiti yakit deposundan tahiye etmeniz gerekir. Bosaltilan yakiti ilgili kanumlara uygun olarak bertaraf edin.
- Bujiyi cikartin ve buji deligine birkaç damla yag damlatin. Ardindan, yag filminin motorun ic kismini kapladiqindan emin olmak icin marsi yavaçca cekin ve bujiyi sikin.
Kesici biçaktaki ve makinenin disindaki kirleri ve tozlar temizleyin ve ardindan yaga batirlmis bir bezle silin. Makineyi kuru bir yerde saklayin.

Bakim programi
| Genel Motor tertibati, vida ve sümunlar Hasar olmadiğını ve böglantiların siki oldugu.unu.Freekontrol edin Genel durumunu ve güvenligini kontrl edin | ||
| Her)yakı doldurma ileminin ardindan | Kontrol mandalı Başlatma-DurdurmaDMIğmesi | Çalıkın controlü Çalıkın controlü |
| Günlük Hava filtresi | Soğutucu hava kanalı Kesici parçar Rölanti devri | Temizlenmelidir Temizlenmelidir Hasar olup olmadiğını ve kesekinligini kontrl edin Kontrol edin (kesici parçar keseinlikle hareket etmemelidir) |
| Haftalık Buji | Susturucu | Kontrol edin ve gerekirse-degreein Açılıklı kontrl edin ve gerekirse temizleyin |
| Üç ayda bir Emiş baslıkı | Yakı deposu | Değilşirilmelidir Temizlenmelidir |
| Kapatma prosedürü Yakit deposu | su Karbürator | Yakı deposunu boşaltın Motorda)yakı kalmayana kadar calistırın |
Sorun Giderme
| Ariza Sistem Gözlem Nedeni | |||
| Motor calisma yeva zor calisma yer | Ateşleme sistemi Ateşleme kılıçimi Çıkıyor Yakı besel | Ateşleme kılıçimi Çıkıyor Yakı besel | Ateşleme vya calisma sistemi arizasi yeva mekanık bir ariza mevcuttur |
| Başlatma-Durdurma Düğmesine basilmalık, kabolama hatali veva kisa devre yapımalık, buji veya konektör anizalDIR, atesleme modülü anizalDIR | |||
| Yakı besleme | Yakı deposu doludur | Jikle konumu yanlıkı, karbūrator anizaldir, yakı besltemhatti bükülm萜 vya tikanmiş, yakı kirlidir | |
| Sıkırmı Çekildigiinde sikişi olmuyor | Sikma olmuyor | Silindirin alt contasi yipranmiş, krank mili contaları hasar gümkışür, silindir veva piston halkarı anizalDIR vya buji sizirmazkı hatalDIR | |
| Mekanik ariza | Marş basymiyor | Marş ipi kopymişur, motor icindeki parçalar bozulüncü | |
| Sıçak basfatma sorunlari | Mekanik ariza | Depo dolu. | Karbūrator kirlidir, mutlaka temizlenmelidir |
| Ateşleme kılıçimi Çıkıyor | |||
| Motor calisma yer, ancahemen duruyor | Yakı besleme Depo dolu | Rölanti ayari yanlıkı, karbūrator kirlenkı | |
| Yakı deposu hava alma tertibatı anizalDIR, yakı beseltemhatti kesilkışir, kablo veya Başfatma-Durdurma Düğmesi anizalDIR | |||
| Düzgünperformans | Aynıanda birkıçsystem etkilenmiş olabilir | Motor rolantide zichif calisma yer | Hava filtresi kılırneğintı, karbūrator kirlenkı, susturucu tikanmiş, silindirdeki Çıkkı kanalı tikankı |
Makita Jan-Baptist Vinkstraat 2, 3070, Belgium
Makita Corporation Anjo, Aichi, Japan
LT-27-10L-1014
www.dolmar.com
Notice-Facile