LT27 - Rasenmäher DOLMAR - Kostenlose Bedienungsanleitung
Finden Sie kostenlos die Bedienungsanleitung des Geräts LT27 DOLMAR als PDF.
Laden Sie die Anleitung für Ihr Rasenmäher kostenlos im PDF-Format! Finden Sie Ihr Handbuch LT27 - DOLMAR und nehmen Sie Ihr elektronisches Gerät wieder in die Hand. Auf dieser Seite sind alle Dokumente veröffentlicht, die für die Verwendung Ihres Geräts notwendig sind. LT27 von der Marke DOLMAR.
BEDIENUNGSANLEITUNG LT27 DOLMAR
Lesen Sie vor Verwendung des Motor-Rasentrimmers these Bedienungsanleitung aufmerksam durch und halten Sie die Sicherheitsregeln strukt ein! Bewahren Sie die sie Bedienungsanleitung sorgfältig auf!
Important:
20 cm³ 40 cm³
100 cm³ 200 cm³
200 cm³ 400 cm³
Refuelling
(Originalanweisungen)
Herzlichen Glückwunsch, dass Sie sich für den Kauf eines motorbetriebenen Werkzeugs von DOLMAR entschieden haben. Wir freuen uns, Ihnen den Motor-Rasentrimmer von DOLMAR anbieten zu können; diese Erzeugnisse sind das Ergebnis eines langen Entwicklungssprogramms und vieler Jahre an Erkenntnissen und Erfahrungen. Lesen Sie diese Broschüre mit detailierten Informationen zu den verschiedenen Punkten, die die Herausragende Leistung demonstrierten, aufmerksam durch. So konnen Sie die bestmöglichen Ergebnisse mit ihrem Produkt von DOLMAR erzielen.

Inhaltsverzeichnis
Symbole 32
Sicherheitsvorschriften 33
Technische Daten 37
Bezeichnung der Bauteile. 38
MontierendesGriffs 39
Montieren der Schutzhaube 39
Montieren des Nylon-Schneidkopfes 39
Kraftstoff/Betankung 40
Starten/Stoppen. 41
Nylon-Schneidkopf 43
Wartungsanweisungen 44
Aufbewährung 46
SYMBOLE
Beim Lesen der Bedienungsanleitung werden Ihnen die folgenden Symbole begegen:

Bitte lessen Sie die Bedienungsanleitung und befolgen Sie die Warnungen und Sicherheitshinweise!

Besondere Aufmerksamkeit erforderlich!

Verboten!

Halten Sie Abstand!

Gefahr durch herumfliegende Gegenstände!

Rauchen verboten!

Umgang mit offenen Flammen verboten!

Tragen Sie Schutzhandschuhe!

Tragen Sie festes Schuhwerk mit rutschfesten Sohlen. Empfohlen werden Arbeitsschutzschuhe mit Stahlkappen!

Im Arbeitsbereich dürfen sich keine anderen Personen und keine Tiere aufhalten!

Tragen Sie Schutzhelm, Schutzbrille und Gehorschutz.

Maximal zulässige Werkzeugdrehzahl

Kraftstoff (Benzin)

Manueller Motorstart

Not-Aus

ErsteHilfe

EIN/START

AUS/STOPP

Verwenden Sie niemals Schneidwerkzeuge aus Metall!
SICHERHEITSVORSCHRIFTEN
Allgemeine Sicherheitsregeln
- Lesen Sie diese Bedienungsanleitung durch und machen Sie sich mit dem Umgang mit diesen Werkzeug vertraut. Unzureichend informierte Benutzer konnen bei einem unsachgemäßigen Umgang mit dem Werkzeug sich und andere gefährden.
- Sie sollen das Werkzeug nur an Personen verleihen, die nachweislich über
Erfahrungen im Umgang mit derartigen Werkzeugen verfügbar.
Überreichen Sie stets auch diese Bedienungsanleitung. - Erstanwender sollenen sich von ihrem Handler grundlegende Anleitungen geben setzen, um im Umgang mit einem Rasentrimmer vertraut zu werden.
- Kindern und Jugendlichen unter 18 Jahren ist die Bedienung desses Werkzeugs untersagt. Personen über 16 Jahre dürfen das Werkzeug für Übungszwecke verwenden, jedoch nur unter Aufsicht eines entsprechend qualifizierten Anleiters.
- Verwenden Sie diese Werkzeug stets mit außerster Vorsicht und Aufmerksamkeit.
- Betreiben Sie diese Werkzeug nur, wenn Sie in gutter physischer Verfassung sind. Führten Sie alle Arbeiten ruhig und mit Vorsicht aus. Die Bedienperson ist gegenüber Dritten haftbar.
- Betreiben Sie diese Werkzeug nie unter dem Einfluss von Alkohol und/oder Medikamenten, oder wenn Sie mäde oder krank sind.
- Die Erlaubnis zur Verwendung theses Werkzeugs kann durch örtlich geltende Gesetze und Bestimmungen eingeschränkt sein.
Verwendungszweck des Werkzeugs
- Dieses Werkzeugarfasschließlich fur das Schneiden von Gras und leichtem Unkrautbewuchs verwendet werden. Das Werkzeugarf nicht fur andere Zwecke verwendet werden, beispisseweise zum Beschneiden von Einfassungen oder Hecken, da dies zu Verletzungen führen kann.
Persönliche Schutzausrüstung
- Tragen Sie zweckmäßige und geeignete Kleidung, d. h. die Kleidung sollte am Körper anliegen, ohne Behinderungen zu verursachen. Tragen Sie keinen Schmuck. Tragen Sie keine Kleidung, mit der Sie sich in Büssen oder Gestrüpp verfangen können.
- Zur Vermeidung von Verletzungen von Gehör, Augen, Händen und Füßen, aber auch um ihre Hörleistung während des Betriebs zu schützen, müssen Sie während der Bedienung des Werkzeugs die folgenden Schutzausrüstungen oder Schutzkleidungen/TRagen.
- Tragen Sie stets einen Helm, wenn die Gefahr herabfallender Gegenstände besteht. Der Schutzhelm (1) muss regelmäßig auf Beschäftigungen überprüft und spätestens alle 5 Jahre ausgelaucht werden. Verwenden Sie ausschließlich zugelassene Schutzhelme.
- Das Visier (2) des Helms (oder alternatively eine Schutzbrille) schützt das Gesicht vor herumfliegenden Fremdkörpersn und Steinen. Tragen Sie während des Betriebs des Werkzeugs eine Schutzbrille oder ein Visier, um Verletzungen der Augen zu vermeiden.
- Tragen Sie einen angemessenen Gehorschutz, um eine Schädigung des Gehörs zu vermeiden (Gehorschutzkapseln (3), Gehorschutzstöpsel usw.).
- Arbeitsanzüge (4) schützen gegen herumfliegende Steine und Fremdkörper.
Wir empfehlen dringend, dass der Bediener einen Arbeitsanzug ragt. - Handschuhe (5) sind Bestandteil der vorgeschriebenen Ausrüstung und müssen stets bei Bedienung these Werkeugs getragen werden.
- Tragen Sie beim Arbeiten mit dem Werkzeug stets feste Schuhe (6) mit rutschfesten Sohlen. Derartige Schuhe schützen vor Verletzungen und geben einen sicheren Halt.
Starten des Motor-Rasentrimmers
-Vergewissern Sie sich, dass sich in einem Arbeitsbereich von 15 m keine Kinder oder andere Personen aufhalten, achen Sie außerdem auf Tiere im Arbeitsbereich.
- Überprüfen Sie vor jeder Verwendung, dass das Werkzeug betriebssicher ist. Prufen Sie die Sicherheit des Schneidwerkzeugs, den Gashebel auf eine fache Bedienung und die Arretierung des Gashebels auf ordnungsgemäß Funktion. - Im Leerlaufarf sich das Schneidwerkzeug nicht drehen. Wenden Sie sich bei Bedenkten an ihren Handlcr, um die Einstellungen zu überprüfen.
Sorgen Sie damit, dass die Griffe sauber und trocken sind, und testen Sie die Funktion des Start-/Stoppschalters.





(3)


(5)

(6)

Schematische Darstellung
-
Starten Sie den Motor-Rasentrimmer ausschließlich wie in der Bedienungsanleitung vorgegeben.
-
Starten Sie den Motor auf keine andere Weise!
-
Verwenden Sie den Motor-Rasentrimmer und die Werkzeuge nur für die angegebenen Zwecke.
-
Starten Sie den Motor nur, wenn das Werkzeug vollständig zusammengebaut ist. Der Betrieb des Werkzeugs ist nur gestattet, wenn alles dazugehörige Zubehor anmontiert ist!
-
Stellen Sie vor dem Starten sicher, dass das Schneidwerkzeug keine harten Gegenstände (Geäst, Steine usw.) berührt, da sich das Schneidwerkzeug beim Starten dreht.
-
Bei Motorproblemen muss der Motor sofort ausgeschaltet werden.
-
Sollte das Schneidwerkzeug Steine oder andere harte Gegenstände treffen, schalten Sie族自治d Motor aus und überprüfen Sie das Schneidwerkzeug.
-
Überprüfen Sie das Schneidwerkzeug in regelmäßigen, kurzen Intervallen. Prufen Sie mit einem Klopftest auf Haarrisse.
-
Wenn das Werkzeug einem starken Stöß ausgesetzt wurde oder heruntergefallen ist, überprüfen Sie den Zustand des Werkzeugs, bevor Sie die Arbeiten fortsetzen. Überprüufen Sie das Kraftstoffsystem auf Leckagen und die Bedienelemente und Sicherheitseinrichtungen auf Fehlfunktionen. Wenn Sie einen Schaden bemerken oder sich nicht sichern sind, wenden Sie sich zur Inspektion und Reparatur an unser Ihr autorisiertes Servicecenter.
-
Halten Sie den Motor-Rasentrimmer während des Betriebs stets mit beiden Händen. Halten Sie den Motor-Rasentrimmer während des Betriebs niemals mit nur einer Hand.
Sorgen Sie immer für einen sicheren Stand.
-
Betreiben Sie das Werkzeug stets so, dass Sie keine Abgase einatmen. Betreiben Sie den Motor niemals in geschlossenen Räumen (Gefahr einer Gasvergifting). Kohlenmonoxid ist ein geruchloses Gas.
-
Schalten Sie den Motor aus, wenn Sie das Werkzeug ablegen, oder wenn Sie das Werkzeug unbaeufsichtigt setzen, und lagern Sie das Werkzeug immer an einem sicheren Ort, um Verletzungen anderer Personen und Beschädigungen des Werkzeugs zu vermeiden.
-
Legen Sie den heißen Motor-Rasentrimmer niemals auf trockenem Gras oder auf sonstigen brennbaren Materialien ab.
-
Bringen Sie stets den Schneidwerkzeugschutz am Werkzeug an, bevor Sie den Motor starten. Anderfalls kann der Kontakt mit dem Schneidwerkzeug schwere Verletzungen verursachen.
-
Wahrend des Betriebs mussen alle mit dem Werkzeug gelieferten Schutzvorrichtungen und Abdeckungen verwendet werden.
-Betreiben Sie den Motor niemals mit beschadigtem Auspuffschalldampfer.
-
Schalten Sie den Motor während des Transports aus.
-
Sorgen Sie bei Transport des Werkzeugs in einem Fahrzeug für eine sichere Ablage, um das Austreten von Kraftstoff zu vermeiden.
-
Sorgen Sie davon, dass beim Transport der Kraftstoffank des Werkzeugs vollständig leer ist.
-
Setzen Sie beim Abladen des Motor-Rasentrimmers von einem LKW den Motor niemals hart auf den Boden auf; dadurch kann der Kraftstofftank beschadigt werden.
-
Lassen Sie das Werkzeug nur in einem Notfall auf den Boden fallen, da dadurch das Werkzeug beschadigt werden kann.
-
Heben Sie beim Bewegen immer das gesamte Werkzeug vom Boden an. Ein Ziehen am Kraftstofftank ist außerst gefährlich und kann zu Beschädigung des Kraftstofftanks oder zum Auslaufen von Kraftstoff führen und ggf. einen Brand verursachen.
Auftanken
-
Schalten Sie den Motor aus, halten Sie den Motor von offenen Flammen fern und rauchen Sie während des Auftankens nicht.
-
Vermeiden Sie Hautkontakt mit Mineralölprodukten. Atmen Sie die Kraftstoffdampfe nicht ein. Tragen Sie zum Betanken immer Schutzhandschuhe. Wechseln und reinigen Sie Schutzkleidung regelmäßig.
-
Stellen Sie zur Vermeidung einer Kontaminierung des Erdbodens (Umweltschutz) sicher, dass kein Kraftstoff und kein Öl in das Erdreich eindringt. Wischen Sie verschütteten Kraftstoff unverzüglich vom Motor-Rasentrimmer ab.
-
Achten Sie darauf, dass ihre Kleidung nicht in Kontakt mit Kraftstoff kommt. Falls ihre Kleidung in Kontakt mit Kraftstoff kommt, wechseln Sie die Kleidungsofar (Brandgefahr!).
-
Überprüfen Sie den Tankdeckel regelmäß auf ordnungsgemänen Sitz und auf Dichtheit.
-
Schrauben Sie den Deckel des Kraftstofftanks ordnungsgemäß fest. Entfernen Sie sich mindesten 3 m vom Ort des Betankens, bevor Sie den Motor starten.
-
Betanken Sie das Werkzeug niemals in geschlossenen Räumen. Anderfalls kann es aufgrund der Ansammlung von Kraftstoffdampf auf dem Boden zu einer Explosion kommt.
-
Transportieren und lagern Sie Kraftstoff ausschließlich in darauf zugelassenen Behältern. Stellen Sie safer, dass Kinder keinen Zugang zu gelagertem Kraftstoff haben.






Handhabung
- Verwenden Sie das Werkzeug nur bei gute Licht- und Sichtverhältnissen. Achten Sie im Winter auf rutschige oder nasse Bereiche, z. B. auf vereiste oder schneebedeckte Flächen (Rutschgefahr). Sorgen Sie immer für einen sicheren Stand.
- Schneiden Sie niemals über Schulterhöhe.
- Schneiden Sie niemals auf einer Leiter stehend.
- Klettern Sie njemals auf Bäume, um mit dem Werkzeug zu schneiden.
- Arbeitsien Sie niemals auf nicht stabilen Flächen
- Entfernen Sie Sand, Steine, Nagel usw. aus dem Arbeitsbereich.
Vergewissern Sie sich vor Beginn des Schnitts, dass das Schneidwerkzeug
die volle Arbeitsdrehzahl erreicht hat. - Schwenken Sie den Motor-Rasentrimmer gleichmäßig.
Falls sich Gras oder Äste zwischen dem Schneidwerkzeug und dem Schutz verfangen, stoppen Sie vor dem Reinigen stets den Motor. Andernfalls kann der Kontakt mit dem Schneidwerkzeug schwere Verletzungen verursachen. - Legen Sie regelmäßig Pausen ein, damit es nicht zu einem Kontrollverlust aufgrund von Ermüldungserscheinungen kommt. Wir empfehlen, jeder Stunde eine Pause von 10 bis 20 Minuten einzulegen.
Schneidwerkzeuge
- Verwenden Sie niemals Metallblätter, auch keine metallischen, mehrteiligigen Pivotketten und Schlegelmesser. Andernfalls kann es bei Kontakt mit den Schneidwerkzeugen zu schweren Verletzungenkommen.
Schwingung
- Wenn sich Personen mit Durchblutungsstörungen zu starken mechanischen Schwingungen aussetzen, kann es zu Schädigungen von Blutgefaßen und/oder Nervensystem kommt. Folgende Symptome konnen durch Vibrationen an Fingern, Händen oder Handgelenken auftreten: „Einschlafen" von Korperteilen (Taubheit), Kribbeln, Schmerz, Stechen, Veränderung von Hautfarbe oder Haut. Falls eines dieser Symptome auftritt, suchen Sie einen Arzt auf!
- Um das Risiko der „Weißfingerkrankheit“ zu verringern, halten Sie ihre Höhe während des Arbeitsens warm und warten und pflegen Sie das Werkzeug und Zubehörteile gut.
Wartungsanweisungen
- Lassen Sie Ihr Werkzeug durch unser autorisiertes Servicecenter warten, verwenden Sie stets nur originale Ersatzteile. Unsachgemäß Reparatur- und Wartungsarbeiten können die Lebenszeit des Werkzeugs verkurzen und das Unfallrisiko erhöhen.
- Überprüfen Sie immer den Zustand des Werkzeugs, insbesondere des Schneidwerkzeugs und der Schutzvorrichtungen, bevor Sie mit der Arbeit beginnen.
- Schalten Sie den Motor aus und entfernen Sie den Zündkerzenstecker, bevor Sie das Schneidwerkzeug austauschen, aber auch bevor Sie den Rasentrimmer oder das Schneidwerkzeug reinigen.
- Nehmen Sie Rücksicht auf die Umwelt und auf ihre Nachbarn. Vermeiden Sie ein unnötgiges Betätigten des Gashebels, damit Umweltbelastung und Gerauschentwicklung so:gering wie möglich gehalten werden. Achten Sie auf eine korrekte Vergasereinstellung.
- Reinigen Sie das Werkzeug regelmäßig und überprüfen Sie, ob alle Schrauben und Muttern fest angezogen sind.
- Das Ausführren von Arbeiten am Werkzeug oder das Lager des Werkzeugs in der Nähe offener Flammen ist verboten.
Lagern Sie das Werkzeug in einem abgeschlossenen Raum und nur mit geleertem Kraftstofftank.



Beachten Sie die geltenden Bestimmungen zur Verhinderung von Unfällen, die von den zuständigen Berufsorganisationen und von Versicherungsunternehmen herausgebracht werden.
Nehmen Sie keinerlei technische Veränderungen am Werkzeug vor, da dies ihre Sicherheit gefährden wurde.
Der Bediener darf nur die in thiser Bedienungsanleitung beschrieben Wartungs- und Reparaturarbeiten durchfuhren. Alle anderen Arbeiten mullmamur freigegeben sind und geliefert werden.
Die Verwendung nicht freiigegebener Zubehorteile und Werkzeuge führt zu einem erhöhten Unfallrisiko.
DOLMAR übernimmt keine Haftung fur Unfälle oder Schaden, die durch die Verwendung nicht genehmigter Schneidwerkzeuge, Befestigung der Schneidwerkzeuge und Zubehörteile verursicht werden.
ErsteHilfe
Stellen Sie für den Fall eines Unfalls sicher, dass in der Höhe der
Schneidarbeiten ein Erste-Hilfe-Kasten verfügbar ist. Ersetzen Sie aus dem
Erste-Hilfe-Kasten entnommene Materialien sofort.
Machen Sie folgende Angaben, wenn Sie Hilfe anfordern:
- Ort des Unfalls
- Was ist passiert
- Anzahl der verletzten Personen
- Art der Verletzungen
- Ihr Name

Nur für europäische Länder
EG-Konformitätserklarung
Makita erklart, dass die nachfolgende(n) Maschine(n):
Bezeichnung der Maschine(n): Motor Rasentrimmer
Nummer / Typ des Modells: LT-27
Spezifikationen: siehe Tabelle „TECHNISCHE DATEN"
den folgenden Richtlinien der Europäischen Union genugt / genugen:
2006/42/EG, 2000/14/EG
Die Geräte werden gemäß den folgenden Standards oder Normen gefertigt:
EN ISO11806-1
Die technischen Unterlagen gemäß 2006/42/EG sind erhältlich von:
Makita, Jan-Baptist Vinkstraat 2, 3070, Belgien
Das Verfahren zur Konformitätsbewertung, vorgesehen in 2000/14/EG, erfolgte in Übereinstimmung mit Anhang V.
Gemessener Schalleistungspegel: 111,30 dB
Garantierer Schalleistungspegel: 112 dB
-
- 2014

Yasushi Fukaya
Direktor
Makita, Jan-Baptist Vinkstraat 2, 3070, Belgien
TECHNISCHE DATEN
| Model LT-27 | |||
| Typ des Griffs Bügelgriff | |||
| Abmessungen: Länge x Breite x Höhe (ohne Schneidwerkzeug) mm 1.645 x 220 x 510 | |||
| Nettogewicht kg 4,3 | |||
| Motortyp Luftgekühler Einzylinder-2-Takt-Motor | |||
| Motor-Hubraum cm3 | 25,7 | ||
| Maximale Motorleistung kW 0,83 | |||
| Maximale Drehzahl der Welle min-1 | 8.000 | ||
| Schneidurchmesser mit Nylon-Schneidkopf mm φ 400 | |||
| Leerlaufdrehzahl /min | 3.000 | ||
| Drehzahl Kupplungseingriff /min | 4.100 | ||
| Kraftstoff | Ottokraftstoff-Öl-Gemisch Motorenbenzin: 2-Takt-Motoröl = 50:1 | ||
| Fassungsvermögen (Kraftstofftank) L | 0,6 | ||
| Vergaser | WALBRO WYC | ||
| Zündkerze | NGK BPMR7A | ||
| Elektrodenabstand mm | 0,6 - 0,7 | ||
| Schwingungen nach ISO 22867 | Rechter Griff (Hinterer Griff) | ahv sq m/s2 | 5,074 |
| Abweichung K m/s2 | 1,5 | ||
| Linker Griff (Vorderer Griff) | ahv sq m/s2 | 3,853 | |
| Abweichung K m/s2 | 1,5 | ||
| Durchschnittlicher Schalldruckpegel nach ISO 22868 | LPAeq dB (A) | 91,30 | |
| Abweichung K dB (A) | 0,85 | ||
| Durchschnittlicher Schallleistungspegel entsprechend ISO 22868 | LWAeq dB (A) | 111,30 | |
| Abweichung K dB (A) | 0,85 | ||



| Bezeichnung der Bauteile | |
| 1 Gaszug | |
| 2 Hinterer Griff | |
| 3 Gashebel | |
| 4 Start-Stopp-Schalter | |
| 5 Griff | |
| 6 Schaftrohr | |
| 7 | Schutzhaube (Abdeckung für Schneidwerkzeug) |
| 8 Nylon-Schneidkopf | |
| 9 Luftfilterabdeckung | |
| 10 Kupplungsgehäuse | |
| 11 Kraftstoff-Tankdeckel | |
| 12 Anlasseinspritzpumpe | |
| 13 Kraftstofftank | |
| 14 Zündkerze | |
| 15 Choke-Hebel | |
| 16 Abgasschalldämpfer | |
| 17 Startergriff | |
| 18 Seilzugsterter | |
ACHTUNG: Stopen Sie vor allen Arbeiten am Werkzeug den Motor undziehen Sie den Zündkerzenstecker von der Zündkerze.
Tragen Sie immer Schutzhandschuhe!
ACHTUNG: Stellen Sie vor dem Starten sicher, dass das Werkzeug wieder vollständig zusammengebaut ist.
Für Modelle mit Bügelgriff
- Befestigen Sie den Bügelgriff (1) am Schaftrohr (2).
-Vergewissern Sie sich, dass sich das Distanzstück am Rohr zwischen dem Griff und dem anderen Griff befindet. Entfern den oder kürzen Sie das Distanzstück nicht.
HINWEIS: In einigen Ländern wird das Distanstück nicht mit dem Werkzeug geliefert. Richten Sie in thisem Fall den Handgriff weiter zur Seite aus, die durch Pfeilmarkierungen gekennzeichnet ist.

MONTIEREN DER SCHUTZHAUBE
Aufgrund der geltenden Sicherheitsvorschriften * dürfen nur die in dieser Übersicht aufgezeugten Werkzeug/Schutz-Kombinationen verwendet werden.

ACHTUNG: Achten Sie darauf, den Fadenschneider (1) an der Schutzhaube (2) nicht zu berühren. Durch das Berührendes Fadenschneiders mit bloßen händen können Sie sich verletzen.
Die Schutzhaube muss montiert werden, um die Länge des Nylon-Schneidfads zu halten und den Bediener gegen umherfliegende Steine und Gegenstände zu schützen. Führren Sie die folgenden Schritte aus, um den Schutz zu montieren:
- Setzen Sie die Schutzhaube so an, dass die Rippung am Schaftrohr in die Kerbe an der Schutzhaube passt.
- Ziehen Sie die beiden Schrauben (3) fest.

MONTIEREN DES NYLON-SCHNEIDKOPFES

WARNING: Verwenden Sie niemals Metallschneidblätter!
Vergewissern Sie sich, dass Sie einen originalen Nylon-Schneidkopf von DOLMAR verwenden.
- Falls der Nylon-Schneidkopf während des Betriebs gegen Steine schlägt, stoppen Sie den Motor und überprüfen Sie den Nylon-Schneidkopf sofort.

ACHTUNG: Achten Sie darauf, den Fadenschneider (1) an der Schutzhaube nicht zu berühren. Durch das Berühren des Fadenschieders mit bloßen händen können Sie sich verletzen.
Fuhren Sie die folgenden Schritte aus, um einen Nylon-Schneidkopf (2) zu montieren.
- Führn Sie den Sicherungsstift (3) durch das Loch in der Klemme ein. Drehen Sie diese und drucken Sie den Sicherungsstift hinein, bis die Klemme einrastet.
- Schrauben Sie den Nylon-Schneidkopf im Uhrzeigersinn auf den Schaft. Vergewissern Sie sich, dass der Schneidkopf bisher befestigt ist.
- Nehmen Sie den Sicherungsstift hersus.
Wenn Sie den Nylon-Schneidkopf entfernen möchten, drehen Sieihn gegen den Uhrzeigersinn.

KRAFTSTOFF/BETANKUNG
Umgang mit Kraftstoff
Beim Umgang mit Kraftstoffen ist außerste Vorsicht geboten. Kraftstoffe können Substanzen enthalten, die wie Lösungsmittel wirken. Tanken Sie nur in einem gut belufteten Raum oder im Freien auf. Atmen Sie die Kraftstoffdampfe nicht ein und vermeiden Sie jeglichen Kontakt des Kraftstoffs oder Ols mit ihrer Haut. Mineralölerzeugnisse wirken hautentfettend. Durch anhaltenden Hautkontakt mit diesen Erzeugnissen wird ihre Haut extrem trocken, was zu unterscheidlichen Hauterkrankungen führen kann. Außer dem konnen allergische Reaktionen auftreten.
Bei Kontakt mit Öl können Augenirritationen auftreten. Falls Öl in ihre Augen gelangt, spulen Sie die Augen sofort mit klarem Wasser. Falls die Augenirritationen anhalten, suchen Sie sofort einen Arzt auf.

Beachten Sie die Sicherheitsanweisungen auf Seite 33.
Kraftstoff-Öl-Gemisch
Der Rasentrimmer wird von einem Hochleistungs-Zweitaktmotor angetrieben.
Dieser wird mit einem Gemisch aus Kraftstoff und Zwei-Takt-Motorenöl betrieben.
Der Motor ist für bleifreies Normalbenzin mit einer Oktanzahl von RON 91 vorgesehen.
Verwenden Sie nur bleifreien Kraftstoff, um eine optimale Motorleistung zu erreichen und um ihre Gesundheit und die Umwelt zu schätzen!
Zur Schmierung des Motors ist 2-Takt-Motoröl (Qualität: JASO FC oder ISO EGD) als Kraftstoffzusatz zu verwenden. Der Motor ist für die Verwendung des speziellen Zwei-Takt-Motorenöls in einem Mischverhältnis von 50:1 ausgelegt. Außen dem werden eine lange Lebensdauer begleitet von einem zuverlässigen Betrieb und minimalen Emissionen durch die Verwendung dieser Mischungsverhältnisses garantiert. Die zuverlässige Funktionseste des Rasentrimmers kann nicht garantiert werden, wenn das Mischungsverhältnis 50:1 (mit dem speziellen 2-Takt-Motoröl) nicht strengstens eingehalten wird.

Korrektes Mischungsverhältnis
Motorenbenzin: vom Hersteller freiagegebenes 2-Takt-Motoröl = 50 : 1 oder Motorenbenzin: 2-Takt-Motoröl eines anderen Herstellers = 25 : 1 empfohlen
HINWEIS: Mischen Sie zur Vorbereitung des Kraftstoff-Öl-Gemischs zuerst die gesamte Ölmenge mit der Häufe des erforderlichen Kraftstoffs und fugen Sie anschließend den restlichen Kraftstoff hinzu. Mischen Sie das Gemisch gut durch, bevor Sie es in den Tank des Rasentrimmers einfluen. Geben Sie nicht mehr Motorenöl als angegeben hinzu, um einen sicheren Betrieb zu gewährleisten. Andernfalls werden mehr Verbrennungsrückstände produziert, die Umwelt verschmutzt und der Abluftkanal sowie der Schalldämpfer verstpf. Außen dem steigt der Kraftstoffverbrauch und die Leistung sinkt.

Motorenbenzin 50:1 25:1

1.000 cm³ (1 Liter)
5.000 cm³ (5 Liter)
10.000cm^3 (10 Liter)
20 cm³
100 cm
200 cm3
40~cm^3
200cm^3
400 cm³
Betanken
Der Motor muss ausgeschaltet sein.
- Reinigen Sie den Bereich um den Tankdeckel (2) gründlich, damit kein Schmutz in den Kraftstofftank (1) gelangt.
- Schrauben Sie den Tankdeckel (2) ab und fullen Sie den Kraftstoff ein.
- Schrauben Sie den Tankdeckel (2) wieder fest auf.
- Reinigen Sie den Tankdeckel (2) und den Tank nach dem Betanken.

Aufbewährung von Kraftstoffen
Kraftstoff kann nicht unbegrenzt gelagert werden.
Kaufen Sie nur die Menge, die Sie in einem Betriebszeitraum von 4 Wichen bestehtigten. Verwenden Sie ausschließlich zugelassene Kraftstoffbehälter.
STARTENISTOPPEN
Beachten Sie die geltenden Bestimmungen zur Unfallverhütung.
Starten
Bewegen Sie sich mindestens 3m von dem Bereich weg, wo Sie das Werkzeug betankt haben. Legen Sie den Rasentrimmer auf einem sauberen Untergrund ab und achen Sie darauf, dass das Schneidwerkzeug nicht in Kontakt mit dem Erdboden oder anderen Gegenständen steht.
WARNING: Beachen Sie, dass sich das Schneidwerkzeug sofort nach dem Motorstart zu drehen beginnt.
Kaltstart
- Stellen Sie den Start-Stopp-Schalter (1) wie abgebildet auf Startposition.
-Erfassen Sie den Griff (der Sicherheits-Entsperrhebel (2) wird durch Handdruck aktiviert). - Drucken Sie den Gashebel (3) und halten Sie ihn gedrückt.
- Setzen Sie den Start-Stopp-Schalter (1) in die Startposition und setzen Sie den Gashebel los und setzen Sie dann den Start-Stopp-Schalter los (Der Start-Stopp-Schalter halten den Gashebel in der Startposition).

Warmstart
- Stellen Sie den Start-Stopp-Schalter (1) wie abgebildet auf Neutralposition.

- Legen Sie zuerst das Werkzeug auf dem Boden ab.
-
Drücken Sie die Anlasseinspritzpumpe (4) mehrmals (7 bis 10 Mal)leitung, bis Kraftstoff in die Anlasseinspritzpumpe gelangt.
Schlieben Sie den Choke-Hebel (5). Offnen des Chokes: -
Bei kalten Temperaturen oder wenn der Motor kalt ist, ist der Choke vollig geschlossen.
- Bei einem erneuten Start bei noch warmen Motor ist der Choke vollig oder halb geöffnet.

- Halten Sie das Kupplungsgehäuse sicher mit der linken Hand fest (siehe Abbildung).
Ziehen Sie den Startergriff langsam, bis Sie einen Widerstand spuren, undziehen Sie ihn dann kräftig.
Ziehen Sie das Starterteil nicht bis zur vollen Länge heraus, und verhindern Sie, dass sich der Startergriff selbst einzieht. Halten Sie das Starterteil unter Kontrolle und gewährleisten Sie ein langsames Einziehen. - Wiederholen Sie den Startvorgang, bis Sie die ersten Zündungen des Motors horen.
- Drucken Sie auf den Choke-Hebel (5) und ziehen Sie das Starterseil erneut, bis der Motor startet.
- Tippen Sie sofort nach dem Start des Motors den Gashebel an und halten ihn los, dadurch wird die Halbdrossel-Verriegelung freiogegeben und der Motor lauft im Leerlauf.
- Lassen Sie den Motor für etwa eine Minute mit einer recht niedrigen Drehzahl laufen, bevor Sie den Motor voll belasten.


HINWEIS: - Wenn Sie den Startergriff wiederholtziehen und der Choke-Hebel sich in der Position + + befindet, wird der Motorstart aufgrund der übermaigen Kraftstoffaufnahme erschwert.
- Falls übermäßig Kraftstoff aufgenommen wird, entfern den Sie die Zündkerze undziehen Sie den Startergriff langsam, um den überschüssigen Kraftstoff zu entfern. Trocknen Sie außer dem die Elektroden der Zündkerze.
Vorsichtsmaßnahmen bei Betrieb:
Falls der Gashebel während des lastlosen Betriebs vollständig geöffnet ist, erhöht sich die Motordrehzahl auf 10.000 min ^-1 oder mehr. Betreiben Sie den Motor nie mit einer hohenen Drehzahl als erforderlich, und halten Sie die Drehzahl bei etwa 6.000 - 8.000 min ^-1 .
ACHTUNG: Reduzieren Sie die Motordrehzahl immer, wenn Sie gerade nicht mit dem Werkzeug arbeiten. Der Betrieb des Werkzeugs bei higheren Drehzahlen ohne Belastung verkürzt die Lebenszeit des Werkze
Stoppen
- Lassen Sie den Gashebel (3) vollkommen los und drücken Sie, wenn sich die Motordrehzahl verlangsam hat, den Start-Stopp-Schalter (1) in die Position "STOP", um den Motor zu stoppen.
- Beachen Sie, dass der Schneidkopf nicht那么简单 stoppt. Warten Sie stets, bis dieser langsamer wird und von selbst stoppt.

NYLON-SCHNEIDKOPF
Der Nylon-Schneidkopf ist ein Trimmerkopf mit zwei Nylonfaden, die durch das Aufstoßen des Schneidkopfs weiter aus dem Schneidkopf Heraustreten. Der Nylonfaden tritt weiter aus dem Nylon-Schneidkopf hersaus, nachdem der Schneidkopf bei niedriger Drehzahl auf den Boden aufgestoßen wird.
Betrieb
- Der effektivste Schnittbereich ist schraffiert dargestellt.
- Damit der Nylonfaden aus dem Schneidkopf heraustritt, erhöhen Sie die Drehzahl des Nylon-Schneidkopfes auf ca. 6.000 min ^-1 und stößen Sie den Nylon-Schneidkopf möglich auf den Boden auf.
- Falls der Nylonfaden nicht durch Aufstoßen des Nylon-Schneidkopfs auf den Boden herausgenuft werden kann, spulen Sie den Nylonfaden neu auf oder tauschen Sieihn aus, indem Sie die im Abschnitt „Austauschen des Nylonfaders" beschrieben Schritte durchführten.

Austauschen des Nylonfadens
- Stoppen Sie den Motor.
- Drücken Sie die Laschen nachinnen, um die Abdeckung anzuheben und die Spule zu entfern.

- Haken Sie die Mitte des Nylonfadens in die Kerbe in der Mitte der Spule ein, das eine Ende des Fadens muss etwa 80 mm länger als das andere sein. Winden Sie anschließend bereits Enden fest um die Spule in Richtung der Kopfdrehung (Rechtsdrehung durch „RH" an der Seite der Spule gekennzeichnet).

- Winden Sie etwa 150mm des Fadens um die Spule und{lassen Sie die Enden vorübergehend in der Einkerbung an der Seite der Spule eingehigt.

- Führn Sie die Faden durch die Ösen aus dem Gehäuse Heraus. Montieren Sie die Unterlegscheibe, Feder und Spule im Gehäuse.

- Richten Sie die Haken auf der Abdeckung mit dem Gehäuse aus.
Drücken Sie dann die Abdeckung fest auf das Gehäuse, um sie zu sichern.

WARTUNGSPANWEISUNGEN
Wartungsanweisungen
ACHTUNG: Schalten Sie vor allen Wartungsarbeiten am Rasentrimmer den Motor aus undziehen Sie den Zündkerzenstecker von der Zündkerze ab (siehe „Überprüfen der Zündkerze").
Tragen Sie immer Schutzhandschuhe.
ACHTUNG: Bauen Sie den Rückstoßarter niemals selbst aus. Zuwiderhandlungen konnen zu Unfallen führn. These Arbeiten sollenn nur von autorisierten Servicezentren durchgefuhrt werden.
Fuhren Sie die folgenden Wartungsarbeiten regelmäßig durch, um eine large Lebenszeit zur erzielen und Beschädigungen des Werkzeugs zu vermeiden.
Tägliche Inspektionen und Wartungsarbeiten
-
Überprüfen Sie vor dem Betrieb das Werkzeug auf lose Schrauben und fehlende Teile. Achten Siealanders auf den festen Sitz des Schneidmessers bzw. des Fadenkopfes.
-
Überprüfen Sie vor jedem Betrieb, dass die Kühlluftdurchgänge und Zylinderlamellen nicht verstopft sind.
Reinigen Sie diese gegebenenfalls.
- Führer Sie die folgenden Wartungsarbeiten tätiglich nach der Arbeit durch:
- Reinigen Sie den Rasentrimmer außerlich und überprüfen Sieihn auf Beschädigungen.
- Reinigen Sie den Luftfilter. Wenn Sie unter sehr staubigen Bedingungen arbeiten, reinigen Sie den Filter mehrmals am Tag.
- Überprüfen Sie das Schneidmesser bzw. den Nylon-Schneidkopf auf Beschädigungen und auf ordnungsgemäß Sitz.
- Prufen Sie, dass der Abstand zwischen Leerlauf- und Betriebsdrehzahlen ausreichend ist, damit das Werkzeug bei Leerlauf des Motors im Stillstand ist (reduzieren Sie bei Bedarf die Leerlaufdrehzahl).
Falls sich das Schneidwerkzeug während des Leerlaufs des Motors weiter dreht, wenden Sie sich an das{nachste autorisierte Servicezentrum.
- Prüfen Sie den Start-Stopp-Schalter, den Entriegelungshebel, den Regelungshebel und die Verriegelungstaste auf ordnungsgemäß Funktionswise.
Reinigen des Luftfilters
Drehen Sie den Choke-Hebel (4) vollständig zu, und halten Sie den Vergaser fern von Staub oder Schmutz.
- Entfernen Sie die Schraube (1).
- Nehmen Sie die Luftfilterabdeckung (3) ab.
- Entfernen Sie den Schwammeinsatz (2), waschen Sie diesen in lauwarmem Wasser und trocknen Sie diesen vollständig.
- Setzen Sie nach dem Reinigen den Luftfilterdeckel (3) wieder auf und befestigen Sieihn mit der Schraube (1).
HINWEIS: Sollen übermäßiger Staub und Schmutz am Luftfilter anhaften, reinigen Sie den Luftfilter tätig. Ein verstopfter Luftfilter kann dazu führen, dass der Motor nur schwer oder gar nicht gestartet werden kann, oder dass die Motordrehzahl nicht erhöht werden kann.

Überprüfen der Zündkerze
- Schrauben Sie die Zündkerze ausschließlich mit dem mitgelieferten Universalschluss hers aus und ein.
- Der Abstand zwischen den Elektroden der Zündkerze muss zwischen 0,6 und 0,7mm liegen. Wenn der Abstand zu Klein oder zu groß ist, korrigieren Sie den Abstand. Falls die Zündkerze durch Ruß oder Schmutz verunreinigt ist, saubern Sie diese gründlich oder ersetzen Sie sie.
ACHTUNG: Berühren Sie bei laufendem Motor niemals den Zündkerzenstecker (Gefahr eines Hochspannungsschlags).
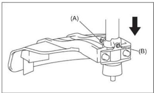
Schmieren der flexiblen Welle
- Schmieren Sie die flexible Welle alle 50 Betriebsstunden mit Schmierfett (Shell Alvania 3 bzw. gleichwertig).
(Originales DOLMAR-Schmierfett erhalten Sie bei Ihrem DOLMAR-Handler.)
Führn Sie zum Auftragen des Schmierfetts die folgenden Schritte durch:
- Entfemen Sie die Schrauben (A) und (B).
- Nehmen Sie die Kopfeinheit vom Schaftrohr ab.
- Ziehen Sie die flexible Welle von Hand heraus und tragen Sie Schmierfett auf.



Ansaugkopf im Kraftstofftank
- Mit dem Kraftstofffilter (1) des Ansaugkopfes wird der benötigte Kraftstoff in den Vergaser geleitet.
- Führn Sie regelmäßige eine Sichtprüfung des Kraftstofffilters durch. Für die Inspektion des Filters öffnen Sie den Deckel des Tankeinfullstutzens und ziehen Sie mit einem Drahthaken den Ansaugkopf durch die Tanköffnung. Ersetzen Sie den Filter, falls dieser verhartet, schmutzig oder verstopt ist.
- Eine unzureichende Kraftstoffzufuhr kann dazu führen, dass die maximal zulässige Drehzahl übersritten wird. Aus thisem Grund muss der Kraftstofffilter mindestens quartalsweise ersetzt werden, um eine zufriedenstellende Kraftstoffzufuhr zum Vergaser zu gewährleisten.

Alle weiteren Wartungsarbeiten oder Einstellungen, die in thisem Handbuch nicht beschrieben wurden, müssen von autorisierten Servicezentren durchgeführt werden.
AUFBEWAHRUNG
- Wenn Sie das Werkzeug über einen längeren Zeitraum lagern, setzen Sie den gesamten Kraftstoff aus den Tank und dem Vergaser ab. Lassen Sie dazu einfach den Kraftstoff aus dem Tank ab. Entsorgen Sie den abgelassenen Kraftstoff gemäß den ortlichen Bestimmungen.
- Entfern den Sie die Zündkerze und geben Sie einige weniger Tropfen Öl in die Zündkerzenöffnung. Ziehen Sie anschließend den Startericht, sodass das Öl die Innenseite des Motors bedeckt undziehen Sie dann die Zündkerze fest.
- Entfernen Sie Staub und Schmutz vom Schneidmesser und dem Außeren des Motors und reiben Sie diese mit einem ölgeträkten Tuch ein. Lagern Sie das Werkzeug an einem trockenem Platz.

Wartungsplan
| Allgemein Motorbaugruppe, Schrauben und Muttern Sichtefrüfung auf Beschädigungen | Gen und fester Sitz | |
| Überprüfen von allgemeinem Zustand und Sicherheit | ||
| Nach jedem Betanken Gashebel | Start-Stopp-Schalter | Funktionsprüfung |
| Funktionsprüfung | ||
| Täglich Luftfilter | Kühluftkanal | Reinigen |
| Schneidwerkzeug | Reinigen | |
| Leerlaufdrehzahl | Prüfen auf Beschädigungen und Schärfe | |
| Überprüfen (Schneidwerkzeug darf sich nicht bewegen) | ||
| Wöchentlich Zündkerze | Schalldämpfer | Inspektion, ggf. Austausch |
| Inspektion und Reinigung der Öffnung bei Bedarf | ||
| Quartalsweise Ansaugkopf | Kraftstofftank | Austauschen |
| Reinigen | ||
| Vorgehen für Stillegung Kraftstoff | Stofftank | Kraftstofftank leeren |
| Vergaser | Betrieben des Motors, bis der Kraftstoff vollständig verbraucht ist | |
Fehlersuche
| Problem System Beobachtung | Ursache | ||
| Motor startet nicht oder nur schwer | Zündsystem Zündfunke | OK Fehler in der Kraftstoffzufuhr oder im Verdichtungssystem, Mechanischer Defekt | |
| Kraftstoffzufuhr Kraftstoff | Kein Zündfunke Start-Stoff | Verpflichtungsfaktor betätig, Fehler oder Kurzschluss in Verbrauchtung, Zündkerze oder Zündkerzenstecker defekt, Zündmodul defekt | |
| Feldposition, Vergaser defekt, Kraftstoff-Zufahrleitung verbogen oder blockiert, Kraftstoffverschmutzt | |||
| Verpflichtung | Keine Verpflichtung beim Durchziehen | Zylinderkopfdichtung defekt, Kurbelwellendichtungen beschädigt, Zylinder oder Kolbenringe defekt oder ungeeignete Dichtung an der Zündkerze | |
| Mechanischer Fehler | Starter greift nicht ein | Gebrochene Starterfeder, gebrochenen Teile innerhalb des Motors | |
| Probleme bei Warmstart | Tank gefüllt | Vergaser verschmutzt, muss gereinigt werden | |
| Kraftstoffzufuhr | Zündfunke OK | ||
| Motor startet, Goes noch gleich wieder aus | Kraftstoffzufuhr | Tank gefüllt | Falsche Leerlaufeinstellung, Vergaser verschmutzt |
| Problem mit Lüftungsöffnung im Kraftstofftank, Kraftstoff-Zufahrleitung unterbrochen, Kabel oder Start-Stopp-Schalter defekt | |||
| Unzureichende Leistung | Möglicherweise sind mehrere Systeme gleichzeitig betroften. | Motorleerlaufdrehzahl zu niedrig | Luftfilter verschmutzt, Vergaser verschmutzt, Schalldämpfer verstopft, Auslasskanal im Zylinder verstoptf |
Italiano
Veiligheidshandschoenen vereist!

Du skal vare opmaerkso m pa folgende symboler, nar du laeser brugsanvisingen.

Korrekt blandingsforhold:
Benzin: Specicereret totaksmotorolie = 50:1 ell
Benzin: Anden producents totaksmotorolie = 25 : 1 anbefales
Notice-Facile