LT27 - Tosaerba DOLMAR - Manuale utente e istruzioni gratuiti
Trova gratuitamente il manuale del dispositivo LT27 DOLMAR in formato PDF.
Scarica le istruzioni per il tuo Tosaerba in formato PDF gratuitamente! Trova il tuo manuale LT27 - DOLMAR e riprendi in mano il tuo dispositivo elettronico. In questa pagina sono pubblicati tutti i documenti necessari per l'utilizzo del tuo dispositivo. LT27 del marchio DOLMAR.
MANUALE UTENTE LT27 DOLMAR
Leggere attentamente il presente manuale di istruzioni prima di mettere in funzione il tagliabordi a benzina e rispetto rigorosamente le normative sulla sicurezza.
Conservare con cura il manuale di istruzioni.
Belangrijk:
(Istruzioni originali)
Complimenti per l'acquisto del presente utensile DOLMAR per l'uso all'aperto. Siamo lieti di consigliare ai clienti quello prodotto DOLMAR, frutto di un lungo programmà di sviluppo e di numerousi anni di esperienza e conoscenza.
Si prega di leggere il presente opuscolo, contente riferimenti dettagliati alle diverse operazioni che ne dimostreranno le eccelleni prestazioni. In quello modo sare è possibile otteneri migliorari risultati possibili dal prodotto DOLMAR.

Summario
Simboli 47
Istruzioni per la sicurezza 48
Dati tecnici 52
Denominazione dei componenti 53
Montaggio dell'impugnatura 54
Montaggio della protezione 54
Montaggio della testina di taglio in nylon. 54
Carburante/rifornimento. 55
Avviamento/arresto. 56
Testina di taglio in nylon 58
Istruzioni per la manutenzione 59
Stoccaggio. 61
SIMBOLI
Nel manuale di istruzioni sono utilizzati i symboli riportati di seguito:

Leggere il manuale di istruzioni e attenerisi alle avventenze e alle precauzioni per la sicurezza!

Prestare particolare cura e attenzione!

Vietato!

Mantenere la distance di sicurezza!

Pericolo di oggetti scagliati!

Vietato fumare!

Divieto di fiamme libre!

Indossare quanti protezione!

Indossare calcature pesanti con suole antiscivolo.
Si consigliano scarpe di sicurezza compuntale in metallo!

Allontanare persone e animali dall'area di lavoro!

Indossare il casco di protezione e i dispositivi di protezione per occhi e orecchie.

Velocità massima ammessa dell'utensile

Carburante (benzina)

Avviamento manuale del motore

Arresto di emergenza

Pronto socorro

ACCENSIONE/AVVIAMENTO

SPEGNIMENTO/ARRESTO

Nonutilzzarelamein metallo
ISTRUZIONI PER LA SICUREZZA
Istruzioni generali
- É consigilabile leggere il presente manuale di istruzioni per acquisire familarità con l'utensile. Gli operatori non informati possonoMETTERE in pericolo se stessi e altre persona a seguito di un uso improprio.
- Si consiglia di condere in prestito l'utensile solo a persona di comprativa espersenza.
Consegnare sempreancheil manuale diistruzioni. - Gli operatori alle prime armi devono richiedere le istruzioni di base al rivenditore per familiarizzare con l'utilizzo dei tagliabordi.
-L'uso dell'utensile non deve essere consentito ai bambini o comunque alle persone di età inferiore a 18 anni. Alle persone con almeno 16 anni può tuttavia essere consentito l'uso dell'utensile per scopi di addestramento, sempre quello la supervisione di un struttore qualificato. - Utilizzare con la massima cura e attenzione.
-Lutensile delve essere azionato solo da persona in buone condizioni fisiche.
Eseguire tutto il lavoro con calma e attenzione. L'utente si assume la responsabilitàanche delle othere persone.
- Non utilizzato l'utensile dopo l'assunzione di alcool o droghe, né se ci si sente stanchi o indispositi.
- Le normative nazionali possono fissare limiti all'uso dell'utensile.
Uso previsto dell'utensile
-Lutensile e destinato esclusivamente al taglio di erba ed erbacce. Non deve essere utilizzato per alcun altro scopo, ad esempio la rifinitura di bordi o la potatura di siepi, in quanto potrebbero verificarsi danni alla persona.
Dispositivi di protezione personali
-L'abbagliamento deve essere funzionale e adeguato, vale a dire aderente ma non di ostacolo. Non indossare gioielli o abiti che possono rinanere impigliati in cespugli o arbusti.
- Per evitare danni al capo,agli occhi,alle mani o ai piedi,nonché per proteggere l'udito, è indispensableabile indossare i seguenti dispositivi e indumenti protettivi durante il lavoro.
- Indossare sempre un casco se esiste il pericolò di caduta di oggetti. Il casco di protezione (1) deve essere controllato periodicamente per verificare la presenza di dati e deve essere sostituito al più tardi anni. Utilizzare solo caschi di protezione omologati.
-La visiera (2) del casco (o gli occhiali di protezione) protege il molto da detriti e sassi scagliati. Per evitare danni alla vista è fondamentale indossare sempre gli occhiali di protezione o una visiera durante il lavoro.
- Indossare dispositivi di protezione acustica adeguati per evitare danni all'udito (cuffie isolanti (3), tappi per le orecchie e cosi via).
-La tutda da lavoro integrale (4) protege da pietre e detriti scagliati dall'utensile.
Si consiglia fortemente di indossare una tuta da lavoro integrale.
- I guanti (5) sono parte dell'equipaggiamento prescritto e devono sempre essere indossati durante il lavoro.
- Indossare sempre calzature pesanti (6) con suola antiscivolo durante l'uso dell'utensile. Consentono la protezione dagli infortuni e garantisco la corretta stabilità.
Avviamento del tagliabordi a benzina
-
Assicurarsi che non vi siano bambini o altre persone in un raggio di 15 m dal luogo di lavoro; prestare attenzioneanche alla presenza di animali.
-
Prima dell'uso, verificare sempre che l'apparecchio non presenti fattori di rischio per la sicurezza:
Verificare la sicurezza dell'accessorio di taglio, quando controllare che la leva dell'acceleratore possa essere azionata lavorante e che la relativa sicura funzioni correttamente.
- L'accessorio di taglio non deve ruotare quando il motore è al minimo. In caso di dubbi, rivolgersi al rivenditore per la regolazione. Controllare che le impugnature siano pulite e asciutte, quando verificare la funzionalità dell'interruttore di avviamento e arresto.





(3)


(5)

(6)

Figura schematica
-
Avviare il tagliabordi a benzina nel piano rispetto delle istruzioni.
-
Non utilizzato alltri metodi per avviare il motore.
-
Utilizzare il tagliabordi a benzina e gli utensili solo per le operazioni specificate.
-
Avviare il motre solo dopo aver montato interamente l'utensile. Il funzionamento del disposito è consentito solo dopo il montaggio di tutti gli accessori appropriati.
-
Prima dell'avviamento, assicurarsi che l'accessorio di taglio non sia a contatto con corpi rigidi quali rami, pietre e cosi via, in quanto l'accessorio inizIERA a ruotare subito dopo l'avviamento.
-
Il motore delve essere spento immediamente in caso di problemi del motore.
-
Nel caso in cui l'accessorio di taglio colpiscapietre o altriorconi rigidi, è necessario spongnere Immediatamente il motore e ispezionare l'accessorio. - Controllare regolarmente la presenza di danni sull'accessorio di taglio (per rilevare eventuali crepe e sufficiente picchiettare leggermente).
-
Se l'utensilecade o subsisce un impatto violento, verificare le condizioni prima di proseguire il lavoro. Verificare che l'impianto di alimentazione del carburante sa privo di perdite e che i dispositivi di sicurezza funzionino correttamente. In caso di danni o dubbi, richiedere l'ispezione e la riparazione presso il nostro centro di assistenza autorizzato.
-
Durante l'uso, tenere sempre il tagliabordi a benzina con entrambé le mani.
Non tenere mai il tagliabordi a benzina con una sola mano.
Assicurarsi sempre di avere una Buona presa a terra. -
Utilizzare l'utensile in maniera tale da evitare l'inalazione dei gas di scarico. Non azionare mai il motre in ambienti chiusi (pericolo di avvelamento da gas). Il monossido di carbonio è un gas inodore.
-
Specnere il motore durante le pause o quando si lascia incustodito l'utensile, riponendolo in un luogo sicuro per impedire danni ad altre personne o all'utensile stesso.
Non appoggiare il tagliaibordi a benzina ancora caldo sull'erba secca o su materiali combustibili.
-
Installare sempre la guardia dell'accessorio da taglio approvata sull'utensile stesso prima di avviare il motore. In caso contrario, il dato con l'accessorio da taglio può provocare gravi lesioni personali.
-
Durante il lavoro devono essere utilizzate tutti i dispositivi di protezione forniti con l'utensile.
Non avviare il motore se la marmitta è difettosa.
-
Spagnere il motore durante il trasporto.
-
Verificare che l'utensile rimanga in una posizione sicura durante il trasporto in auto, onde evitare perdite di carburante.
-
Durante il trasporto, assicurarsi che il serbatoio del carburante sia completenesse vuoto.
-
Durante l'opération di scarico dell'utensile dall'autocarro, non lasciar cadere a terra il motore onde evitare gravi danni al serbatoio del carburante.
Tranne che in caso di emergenza, non lasciar cadere o gettare l'utensile a terra: potrebbe danneggiarsi gravamente.
- Per spostare l'utensile è necessario sollevarlo sempre completeness dal suo. Il trascinamento del serbatoio del carburante è molto pericoloso e può causare danni o perdite di carburante, con seguente pericolo di incendio.
Rifornimento
-
Durante il rifornimento è fondamentale spegnere il motore, tenersi lontani dalle fiamme libere e non fumare.
-
Evitare il contatto dei prodotti a base di oli minerali con la cute. Non inalare i vapori del carburante. Indossare sempre i guanti di protezione durante il riformamento. Sostituire e pulire l'abbligamenti protettivo a intervalli regolari.
-
Prestare attenzione a non lasciar fuoriscire il carburante o l'olio, onde evitare la contaminazione del terreno (protezione dell'ambiente). Pulire immediamente il tagliabordi a benzina in caso di fuoriscite di carburante.
-
Evitare il contatto del carburante con i capi di vestiario. Cambiarsi immediatamente in caso di contatto con il carburante (per evitare che gli abiti perdano fuoco).
-
Controllare regolamente il tappo del serbatoio del carburante per assicurarsi che sua correttamente serrato e che non perda.
-
Serrare con cura il tappo del serbatoio del carburante. Cambiare luogo per avviare il motore (almeno 3 metri dal punto di rifornimento).
Non effettuare il rifornimento in ambienti chiusi. I vapori del carburante si accumulano a livello del terreno (pericololo di esplosioni).
- Trasportare e conservare il carburante solo in contenitori omologati. Assicurarsi che il carburante riposto non sia accessibile ai bambini.






Modalità di funzionamento
- Utilizzare l'utensile solo in buone condizioni di illuminazione e visibilità. Durante la stagione invernale prestare attenzione alle aree scivolose o umide, al ghiaccio e alla neve (pericolo di scivolamento). Verificare sempre di essere un buon equilibrio.
- Non eseguire tagli a un'altezza superiore a quella della vita.
Nonutilizzare l'utensile da unacala.
Non arrampicars sugli alberi per eseguire l'operazione di taglio.
Non lavorare su superfici instabili.
Rimuovere sabbia, pietre, chiodi, ecc. dall'area di lavoro. - Prima del taglio è necessario che l'accessorio di taglio abbia raggiunto la massima velocità operativa.
- Far oscillare il tagliabordi a benzina in maniera uniforme.
Se erba o sterpaglie restano impigliate tra l'accessorio da taglio e la guardia, arrestare sempre il motore prima di effettuare la pulizia. In caso contrario, una rotazione involontaria dell'accessorio cui cause gravi lesioni personali.
Riposarsi spesso per evitare la perdita di controllo causata dall'affaticamento. Si consiglia di fare una pausa di 10-20 minuti ogni ora.

Accessoridi taglio
- Non utilizzato altri tipi di lame metalliche, comprese catene metalliche componibili con perno e lame con flagelli. In caso contrario, il contatto con la lama cui poto causare gravi danni alla persona.
Vibrazione
- Se esposti a vibrazioni eccessive, gli operatori che soffrono di insufficientenza venosa posso sono riportare danni ai vasi sanguigni o alsystema nervoso. Le vibrazioni possono causare i seguenti sintomi alle dita, alle mani o ai polsi: sonnolenza (torpore), formicolio, dolore, fitte acute, alterazione della pelle o del colorito. Consultare un medico non appena si manifestano tali sintomi.
- Per ridurre il rischio di "sindrome delle dita bianche da vibrazione", tenere le mani al caldo durante l'uso dell'utensile e Maintainere l'utensile e gli accessori in buone condizioni.
Istruzioni per la manutenzione
- Per l'assistenza, rivolgersi al nostro centro servizi autorizzato utilizzando solo parti di ricambio originali. Una riparazione errata o una manutenzione insufficiente possono accorrisci la vita utile dell'utensile, augmentando il rischio di incidenti.
- Verificare le condizioni dell'utensile, in particolare dell'accessorio di taglio e dei dispositivi di protezione, prima di iniziare il lavoro.
- Spagnere il motore e staccare la candela per sostituire l'accessorio di taglio e per pulire l'utensile da taglio o l'accessorio di taglio stesso.
- Prestare attenzione all'ambiente. Evitare di azionare inutilmente
l'acceleratore al fine di ridurre l'inquinamento e le emissioni acustiche. Regolare correttamente il carburatore. - Pulire regolarmente l'utensile e controllare che tutte le viti e i dadi siano correttamente serrati.
- Non ripore l'utensile e non effettuarne la manutenzione in prossimità di fiamme libere.
- Conservare sempre l'utensile in ambienti chiusi a chiave e dopo aver svuotato il serbatoio del carburante.


Rispettare le istruzioni di prevenzione degli incidenti fornite dalles associazioni di categoria e delle compagnie di assicurazioni. Non apportare modifiche all'utensile, onde evitare di mettere a repentaglio la proprio sicurezza.
Le attività di manutenzione o di riparazione a carico dell'operaatore sono limitate a quelle descritte nel presente manuale di istruzioni. Qualsiassi altra operazione deve essere eseguita da un rappresentante autorizzato dell'assistenza. Utilizzare esclusivamente ricambi e accessori originali forniti da DOLMAR. L'uso di accessori e utensili non approvati poto augmentare il pericolo di incidenti. DOLMAR declina agli responsabilità per danni o incidenti causati dall'uso di accessori di taglio e relativi dispositivi di fissaggio non approvati.
Pronto socorro
Assicurarsi che nelle vicinanze del luogo di lavoro sia disponibile una cassetta di pronto socorro, necessaria qualora si verifichino infortuni. Sostituire immediatamente qualunque articolo prelevato alla cassetta di pronto socorro.
Nel momento in cui si richiede assistenza è indispensableere fornire le seguenti informazioni:
Luogo dell'incidente
- Che casa è accaduto
-Numero di persona coinvolte
- Tipo di infortuni
- Nome e cognome

Solo per i paesi europei
Dichiarazione di conformità CE
Makita dichiara che le machine seguenti:
Denominazione della macchina: Tagliabordi a benzina
N. modello/Tipo: LT-27
Caratteristiche tecniche:vedere la tabella "DATI TECHNICI"
Sono conformi alle seguenti direttive europee:
Sono prodotte in conformitàagli standard o ai documenti standardizzati riportati di seguito:
EN ISO11806-1
Il documento tecnico ai sensi della Direttiva europea 2006/42/EC è disponibile presso:
Makita, Jan-Baptist Vinkstraat 2, 3070, Belgio
La procedura di valutazione della conformità richiesta alla direttiva 2000/14/EC è stata effettuata secondo quando specificato
nell'allegato V.
Livello di potenza sonora misurato: 111,30 dB
Livello di potenza sonora garantito: 112 dB
-
- 2014

Yasushi Fukaya
Direttore
Makita, Jan-Baptist Vinkstraat 2, 3070, Belgio
DATI TECHNICI
| Modello LT-27 | |||
| Tipodi impugnatura Impugnatura ad anello | |||
| Dimensioni: lunghezza x larghezza x altezza (senza utensile da taglio) mm 1.645 x 220 x 510 | |||
| Peso netto kg 4,3 | |||
| Tipodi motore Monocilindrico a 2 tempi raffreddato ad aria | |||
| Cilindrata del motore cm | 3 | 25,7 | |
| Prestazioni massime del motore kW 0,83 | |||
| Frequenza di rotazione massima del mandrino min | -1 | 8.000 | |
| Diametro di taglio con testina di taglio in nylon mm φ 400 | |||
| Velocità al minimo | /min | 3.000 | |
| Velocità di innesto della frizione | /min | 4.100 | |
| Carburante | Gas misti Benzina: olio per motori a due tempi = 50:1 | ||
| Volume (serbatoio del carburante) | L | 0,6 | |
| Carburatore | WALBRO WYC | ||
| Candela | NGK BPMR7A | ||
| Distanza tra gli elettrodi | mm | 0,6 - 0,7 | |
| Vibrazioni secondo ISO 22867 | Impugnatura destra (impugnatura posteriore) | ahev eq m/s2 | 5,074 |
| Variazione K m/s2 | 1,5 | ||
| Impugnatura sinistra (impugnatura anteriore) | ahev eq m/s2 | 3,853 | |
| Variazione K m/s2 | 1,5 | ||
| Livello medio di pressione sonora secondo ISO 22868 | LPA eq dB (A) | 91,30 | |
| Variazione K dB (A) | 0,85 | ||
| Livello medio di potenza sonora secondo ISO 22868 | LwA eq dB (A) | 111,30 | |
| Variazione K dB (A) | 0,85 | ||



| Nomi dei componenti | |
| 1 Cavo di dato | |
| 2 Impugnatura posteriore | |
| 3 Leva di controllo | |
| 4 Interruttore di avviamento/arresto | |
| 5 Impugnatura | |
| 6 Albero | |
| 7 | Protezione (guardia dell'utensile da taglio) |
| 8 Testina di taglio in nylon | |
| 9 Coperchio del filtrio dell'aria | |
| 10 Scatola della frizione | |
| 11 Tappo del serbatoio del carburante | |
| 12 Pompà di innesco | |
| 13 Serbatoio del carburante | |
| 14 Candela | |
| 15 Levetta dell'aria | |
| 16 Marmitta di scarico | |
| 17 Impugnatura di avviamento | |
| 18 Avviamento a corda | |
MONTAGGIO DELL'IMPUGNATURA
ATTENZIONE: Prima di effettuare qualiasi intervento sull'utensile, spegnere il motore e staccare il connettore della candela. Indossare sempre i guanti di protezione.
ATTENZIONE: Avviare il motore solo dopo averne completato il montaggio.
Per gli utensili con impugnatura ad anello
- Fissare l'impugnatura ad anello (1) sull'albero (2).
- Assicurarsi che il distanziatore sul tubo dell'albero si trovi tra i due punti di presa. Non rimuovere o accorrisci il distanziatore.
NOTA: In alcuni paesi, il distanziatore non viene fornito in dotazione con l'utensile. In quello caso, allineare I'impugnatura all'alto lato della linea indicate dal segno di direzione.

MONTAGGIO DELLA PROTEZIONE
Per rispetto le vigenti normative sulla sicurezza, usare esclusivamente le combinazioni utensile/protezione indicate nella tabella.
ATTENZIONE: Non toccare il tagliafilo (1) sulla protezione (2). Il contatto delle mani nude con il tagliafilo potrebbe causare danni alla persona.
La protezione deve essere installata per mantenere la lunghezza del filo di taglio in nylon e per proteggere l'operaatore da pietre e detriti scagliati dall'utensile. Procedere come segue per montare la protezione.
- Posizione la protezione in modo che la costa sull'albero penetri nella scanalatura sulla protezione stessa.
- Serrare i due bulloni (3).

MONTAGGIO DELLA TESTINA DI TAGLIO IN NYLON
AVVERTENZA: Nonutilizzare lame in metallo.
Utilizzare esclusivamente testine di taglio in nylon originali DOLMAR.
- Se durante l'uso la testina di taglio in nylon colpisce una pietra, spegnere il motore e controllare subito la testina di taglio in nylon.
ATTENZIONE: Non toccare il tagliafilo (1) sulla protezione. Il contatto delle mani nude con il tagliafilo potrebbe causare danni alla persona.
Procedure come segue per montare una testina di taglio in nylon (2).
1. Inserire la chiave di blocco (3) atraverso il foro sul morsetto. Ruotare premendo la chiave di blocco fino a bloccarla.
2. Avvitare una testina di taglio in nylon sull'albero ruotandola in senso orario. Assicurarsi che sua montata in modo sicuro.
3. Rimuovere la chiave di blocco.
Per rimuovere la testina di taglio in nylon è sufficiente ruotarla in senso antiorario.

Trattamento del carburante
Durante la manipolazione del carburante, è necessario prestare la massima attenzione, Il carburante potrebbe contentere sostanze simili ai solventi. Rifornire in una stanza ben ventilata o all'esterno. Non inalare i vapori del carburante ed evitare il contatto di olio o carburante con la pelle.
I prodotti a base di olio minerale sgrassano la pelle. Un contatto prolongato della pelle con questi prodotti fa si che quest'ultima diventi estremamente asciutta, determinando vari tipi di malattie della pelle. Inoltre possono verificarsi reazioni allergiche.
Il contatto con l'olio più causare irritazioneagli occhi. In caso di contatto dell'olio con gli occhi, lavarli immediatamente con acqua fresca. Se l'irritazione permane, consultare immediatamente un medico.

Osservare le istruzioni per la sicurezza a pagina 48.
Miscela di olio e carburante
Il tagliabordi è dotato di un motore a due tempi ad alta efficienza. Funzione con una miscela di carburante e olio per motori a due tempi. Il motore è progettato per funzionare con normale carburante alla piombo, con un valore minimo di ottani pari a 91 RON.
Per ottimizzare il rendimento del motore e proteggere la propria salute e l'ambiente, usare solo carburante alla piombo!
Per lubricicare il motore, aggiungere al carburante olio per motori a due tempi (di tipo JASO FC o ISO EGD). Per proteggere l'ambiente, il motore è progettato per usare olio per motori a due tempi in una miscela di proportizione 50:1.
Questo rapporto garantisce inoltre lunga durata, funzionamento affidabile e minima quantità di emissioni. Il funzionamento affidabile del tagliabordi non è garantito qualora non venga rigidamente osservato il rapporto di miscela di 50:1 (con l'olio per motore a 2 tempi indicato).

Rapporto di miscela corretto:
Benzina: Olio per motori a due tempi indicato = 50:1 o
Benzina: Olio per motori a due tempi di altri produttori = 25 : 1 consigliato
NOTA: Per preparare la miscela olio-carburante, miscelare prima tutta la quantità d'olio con metà della quantità di carburante richiesta, quando aggungere il carburante rianente. Agitare enerlicamente la miscela prima di versarla nel serbatoio del tagliabordi. Per garantire un funzionamento sicuro, non aggungere più olio di quanto indicate. Questo avrebbe il solo risultato di;aumentare la produzione di residui di combustione che inquinano l'ambiente e ostruiscono il condotto di scarico del cilindro e il tubo di scarico. Inoltre, aumenta il consumo di carburante e diminuiscono le prestazioni.

Benzina 50:1 25:1

1.000 cm³ (1 litro)
5.000 cm³ (5 litri)
10.000cm^3 (10 litri)
20 cm³
100 cm³ 200 cm³
200cm^3 400 cm³
Rifornimento
Il motore delve essere spento.
- Pulire la superficie circostante il tappo del serbatoio (2) per evitare che nel serbatoio (1) possa cadere dello sporco.
- Svitare il tappo del serbatoio (2) e riempire il serbatoio con il carburante.
- Avvitre saldamente il tappo del serbatoio (2).
- Dopo il rifornimento, pulire il tappo del serbatoio (2) e il serbatoio.

Conservazione del carburante
Il carburante non può essere conservato per un tempo illimitato.
Acquistare solo la quantità necessaria per 4 settimane. Utilizzare escludamente contentitori omologati per lo stoccaggio del carburante.
AVVIAMENTOIARRESTO
Osservare le normative vigenti per la prevenzione degli incidenti.
Avviamento
Spostarsi di almeno 3 metri dal punto in cui si è effettuato il riformamento. Appoggiare il tagliabordi su una zona di terreno libera, avendo cura che l'utensile da taglio non sia a contatto con il terreno o con qualunque altri oggetto.
AVVERTENZA: fare attenzione all'immediata rotazione dell'utensile da taglio.
Avviamento a freddo
- Impostare l'interruttore di avviamento/arresto (1) in posizione di avviamento come molto.
- Afferrare l'impugnatura (la pressione della mano attiva la leva di sicurezza (2)).
- Tenere premuta la leva dell'acceleratore (3).
- Portare l'interruttore di avviamento/arresto (1) nella posizione di avviamento e rilasciare la leva di controllo, quando rilasciare l'interruttore di avviamento/ arresto (l'interruttore di avviamento/arresto mantiene la leva dell'acceleratore nella posizione di avviamento).
Avviamento a caldo
- Impostare l'interruttore di avviamento/arresto (1) in posizione neutra come molto.


- Appoggiare prima di tutto il disposativo a terra.
- Premere delicatamente più volte (7-10 volte) la pompa di innesco (4) finché il carburante non affluaisce al suo interno.
- Chiudere la levetta dell'aria (5).
Apertura dell'aria:
- Completamente chiusa aasse temperature o quando il motore è freddo.
- Parzialmente o completeness aperta per il riavvio quando il motore è ancora tiepido.

- Tenere saldamente la scatola della frizione con la mano sinistra, come molto.
- Tirare lentamente l'impugnatura di avviamento fino ad avvertire resistenza, quindi continuare a tirare con forza.
- Non tirare completeness la corda di avviamento e non permettere che l'impugnatura di avviamento si ritragga da sola. Mantenere il controlo della corda di avviamento e fare in modo che si riavvolga lentamente.
Ripetere la procedura fino alle prime accensioni del motore. - Premere la levetta dell'aria (5) | e tirare di nuovo la corda di avviamento fino alla partenza del motore.
- Appena il motore si avvia, colpire leggermente e rilasciare l'acceleratore, in modo da rilasciare il blocco di mezza potenza e permettere al motore di portarsi al minimo.
- Lasciar girare il motore per circa un minuto a velocità moderata prima di accelerare a fondo.


NOTA: - Tirando ripeturamente l'impugnatura di avviamento nelle le vetta dell'aria è in posizione " | ", il motore partira con più dificoltà a causa di unccessivo afflusso di carburante.
- In caso di excessivo afflusso di carburante, rimuovere la candela e tirare lentamente l'impugnatura di avviamento per eliminare il carburante in effesso. Asciugare quando la sezione degli elettro di della candela.
Precauzioni durante l'uso:
Se la leva dell'acceleratore è completamente aperta durante il funzionamento sulla carico, i giri del motore sonoumentare nelle 10.000min^-1 . Non azionare mai il motore a una velocità superiore a quella necessaria, mantenendo il numero di giri a un valore opportuno, fra i 6.000 e gli 8.000 min-1.
ATTENZIONE: Ridurre sempre il numero di giri quando il dispositorio è primo di carico.
Azionare il dispositorio a un alto numero di giri in assenza di carico ne diminuira la vita utile.
Arresto
-
Per spagnere il motore, rilasciare complemente la leva dell'acceleratore (3) e, quando il numero di giri al minuto si è ridotto, spingere l'interruttore di avviamento/arresto (1) nella posizione "STOP".
-
Occorre prestare attenzione al fatto che la testina di taglio potrebbe non fermarsi immedialamente: è necessario lasciarla rallentare e fermare da sola.

TESTINA DI TAGLIO IN NYLON
La testina di taglio in nylon è una testina tagliabordi a doppio filo con meccanismo "batti e vai".
La testina di taglio in nylon preleva il filo in nylon dopo aver battuto la testina tagliabordi sul suolo.
Funzionamento
- L'area di taglio più efficace è mostrata tratteggiata nella figura a fianco.
- Per inseire il filo in nylon, augmentare la velocità della testina di taglio in nylon a circa 6.000 min ^-1 e battere la testina di taglio in nylon leggermente sul suoolo.
- Se la testina di taglio in nylon non si estrae mediatinga battitur, riavvolgere o sostuire il filo in nylon seguendo le procedure descripte in "Sostituzione del filo in nylon".
Sostituzione del filo in nylon
- Arrestare il motore.
- Premere le chiusure dell'alloggiamento versus l'interno per sollevare il coperchio, quindi rimuovere il rocchetto.


- Agganciare il centro di un nuovo filo in nylon alla tacca posta al centro del rocchetto, in modo che una delle estremità del filo si più lunga dell'altra di circa 80~mm . Avvolgere quindi strettamente entrambare le estremità attorno al rocchetto nella direzione di rotazione della testina (l'indicazione RH sul bianco del rocchetto indica la rotazione a destra).

- Avvolgere circa 150 mm di filo attorno al rocchetto, lasciando temporaneamente le estremità agganciate alla taccà sul bianco del rocchetto.

- Inserire i fili atraverso le fessure per farli uscire dall'alloggiamento. Montare la rondella, la molla e il rocchetto sull'alloggiamento.

Allineare gancisul coperchio e sull'alloggiamento. Premere quindi il coperchio sull'alloggiamento per fissarlo.

ISTRUZIONI PER LA MANUTENZIONE
Istruzioni per la manutenzione
ATTENZIONE: Prima di effettuare qualunque operazione di manutenzione sul tagliabordi, spegnere sempre il motore e scollegare il coperchio alla candela (vedere "Controllo della candela").
Indossare sempre i quanti di protezione.
ATTENZIONE: Non sostuire mai da soli l'avviatore. Questo potrebbe essere causa di infortuni. Questa procedura deve essere effettuata solo da un centro di assistenza autorizzato.
Per garantire una lunga vita utile ed evitare danni al dispositivo, effettuare periodicamente le seguenti operazioni di manutenzione.
Controllo e manutenzione giornalieri
-
Prima dell'uso, controllare il dispositivo alla ricerca di viti allentate o parti mancanti. Prestare particolare attenzione alla tenuta della lama o della testina di taglio in nylon.
-
Prima dell'uso, verificare sempre che il condotto per l'aria di raffreddamento e le alette del cilindro non siano ostruiti. Effettuare la pulizia, se necessario.
-
Le seguenti operazioni di manutenzione devono essere effettuate giornalmente dopo l'uso:
- Pulire esternamente il tagliabordi e controllare la presenza di danni
- Pulire il filtrlo dell'aria. Se l'uso avviene in ambienti particolarmente polverosi, pulire il filtrlo più volte al giorno.
Controllare eventuali danni alla lama o alla testina di taglio in nylon e verificare che siano montali saldamente.
Controllare che vi sua differenza sufficiente fra il minimo e la velocità di lavoro per fare in modo che l'utensile da taglio sa fermo quando il motore è al minimo (se necessario ridurre la velocità di minimo).
Se l'tensile da taglio continua a girare quando il motore è al minimo, consultare il più vicino centro di assistenza autorizzato.
Controllare che l'interrutto di avviamento/arresto, la leva di sicurezza, quella di controllo e il pulsante di blocco funzionino correttamente.
Pulizia del filtro dell'aria
-
Ruotare la levetta dell'aria (4) in modo che sia complemente chiusa e
tenere il carburatore lontano da polvere o sporco.
Rimuovere la vite (1)
Rimuovere il coperchio del filtrlo dell'aria (3).
Rimuovere I'elemento a spugna (2), lavarlo in acqua tiepida e asciugarlo con
cura -
Dopo la pulizia, insere di nuovo il coperchio del filtro dell'aria (3) e fissarlo con la vite (1).
NOTA: Se sul filtro dell'aria si deposita una quantità eccessiva di polvere o di sporcizia, pulirlo quotidianamente. Il filtro dell'aria otturato può renderè difficile o impossibile avviare il motore o augmentare la velocità di rotazione del motore.

Controllo della candela
- Usare esclusivamente la chiave universale in dotazione per rimuovere o montare la candela.
- Lo spazio fra i due elettrodi della candela deve essere compreso tra 0,6-0,7 mm. Se la distance è superiore o inferiore a questo intervallo, è necessario regolarla. Se la candelà è ostruita da fuliggine o sporco, pulirla accuramente o sostituirla.
ATTENZIONE: Non toccare mai il connettore della candela nelle motore è in funzione (pericolò di scossa elettrica ad alta tensione).
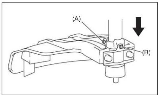
Inserimento di grasso per l'albero flessibile
- Inserire del grasso (Shell Alvania 3 o equivalente) sull'albero flessibile agli 50 ore.
Il grasso originale DOLMAR più essere acquistato dal rivenditore DOLMAR).
Per aplicare il grasso, adottare la segunte procedura:
- Rimuovere i bulloni (A) e (B).
- Rimuovere l'unità della testina dall'albero.
- Tirare l'albero flessibile con le mani e applicare il grasso.



Testina di aspirazione nel serbatoio del carburante
- Il filtro del carburante (1) della testa aspirante è utilizzato per fornire il carburante richiesto dal carburatore.
- Verificare vis vivamente il filtro del carburante a intervalli regolari. Per verificare il filtro, après il tappo del serbatoio del carburante e, usando un gancio metallico, estrarre la testa aspirante atraverso l'apertura. Sostituito il filtrone nel caso in cui si si adurito o sua particolarmente sporco oppure otturato.
- Un afflusso insufficiente di carburante potrebbe portare al superamento della velocità massima consentita. Di conseguenza, il filtrlo del carburante devese essere sostituito almeno agli trimestre per garantire un afflusso corretto di carburante al carburatore.

Ogni attività di manutenzione o di regolazione non descritta in quello manuale deve essere effettuata esclusivamente da un centro di assistenza autorizzato.
STOCCAGGIO
- Quando si ripone il disposativo per un lungo periodo di tempo, svuotare tutto il carburante dal serbatoio e dal carburatore. Per far quello, scaricare semplicitamente tutto il carburante contento nel serbatoio. Smaltire il carburante raccolto seconde le leggi locali.
- Rimuovere la candela e aggiungere alcune gobce d'olio nel foro della candela. Quindi tirare delicatamente l'avviamento in modo che l'olio ricopra l'internalo del motore e riavvitare la candela.
- Rimuovere agli traccia di sporco o di polvere nella lama e dall'esterno del motore, passando su di anni un panno cosparso d'olio. Riporre il dispositivo in un luogo asciutto.

Programma di manutenzione
| Generale Montaggio del motore | viti e dadi Verifica visiva dei anni e del fissaggio | Controllo delle condizioni generali e della sicurezza |
| Dopo agli rifornimento Leva di | controlloInterruttore di avviamento/arresto | Controllo funzionaleControllo funzionale |
| Ogni giorno Filtrò dell'aria | Condotto dell'aria di raffreddamentoUtensile da taglioVelocità al minimo | Da pulireDa pulireControllare dati e attivitàIspezione (l'utensile da taglio non si deve muovero) |
| Ogni settimana Candela | Marmitta | Ispezione, sostituire se necessarioIspezione, pulire l'apertura se necessario |
| Ogni tre mesi Testina di aspirazione | Serbatoio del carburante | Da sostituireDa pulire |
| Procedura di spegnimento Serbatoio del carburante | Carburatore | Svuotare il serbatoio del carburanteFarlo funzionare finché il motore non finisce il carburante |
Risoluzione dei problemi
| Guasto Sistema Osservazione | Causa | ||
| Il motore non parte o parte con dificoltà | Sistema di accensione Scintilla di accensione presenteNessuna scintilla di accensione | Guasto nell'alimentazione del carburante o nel sistema di compressione, difetto meccanicoAzionamento dell'interruttore di avviamento/arresto, problema di cavi o corto circuito, candela o connettore della candelafettosi, modulo di accensione guasto | |
| Alimentazione del carburante | Serbatoio del carburante pieno | Posizione della levetta dell'aria incorretta, carburatore difettoso, linea di alimentazione del carburante piegata o bloccata, carburante sporco | |
| Compressione Compressione assente all'avvio | Guanizione inferiore del cilindro difettosa, guarnizioni dell'albero motore danneggiate, anelli del cilindro o del pistone difettosi, tenuta difettosa della candela | ||
| Guasto meccanico Avviamento non innestato | Rottura della molla di avviamento, parti danneggiate all'interno del motore | ||
| Problemi nell'avviamento a caldo | Il serbatoio contiene carburante Scintilla di accensione presente | Carburatore sporco, occorre pulirlo | |
| Il motore si avvia ma spagne immediatamente | Alimentazione del carburante | Serbatoio pieno Regolazione del minimo errata, carburatore contaminatoApertura del serbatoio del carburante difettosa, linea di alimentazione del carburante interrotta, cavo o interruptatore di avviamento/arresto difettosi | |
| Prestazioni insufficienti | Posso sono essere interessati più sistemi contemporaneamente | Minimo del motore insolddisfacente | Filtro dell'aria contaminato, carburatore contaminato, marmitta intasata, condotto di scarico nel cilindro intasato |
Notice-Facile