HR2450X8 - Bohrhammer MAKITA - Kostenlose Bedienungsanleitung
Finden Sie kostenlos die Bedienungsanleitung des Geräts HR2450X8 MAKITA als PDF.
Laden Sie die Anleitung für Ihr Bohrhammer kostenlos im PDF-Format! Finden Sie Ihr Handbuch HR2450X8 - MAKITA und nehmen Sie Ihr elektronisches Gerät wieder in die Hand. Auf dieser Seite sind alle Dokumente veröffentlicht, die für die Verwendung Ihres Geräts notwendig sind. HR2450X8 von der Marke MAKITA.
BEDIENUNGSANLEITUNG HR2450X8 MAKITA
| GB | Rotary Hammer | Instruction Manual |
| F | Perforateur | Manuel d'instructions |
| D | Bohrhammer | Betriebsanleitung |
| I | Martello rotativo | Istruzioni per l'uso |
| NL | Boorhamer | Gebruiksaanwijzing |
| E | Martillo rotativo | Manual de instrucciones |
| P | Martelo misto | Manual de instruções |
| DK | Borehammer | Brugsanvisning |
| S | Borrhammare | Bruksanvisning |
| N | Borhammer | Bruksanvisning |
| SF | Poravasara | Käytöohje |
| GR | Περιστροφίκό σφύρι | Οδηγίες χρήσεως |
HR2450/T
HR2450X
HR2450F/FT



1

2

3

4

5

6

7

8

9

10

11

12

13

14

15

16

17

18

19

20
Symbols
Die folgenden Symbole werden für die Maschine verwendet. Machen Sie sich vor der Benutzung unbedingt mit ihrer Bedeutung vertraut.
Simboli
| 1 | Griffbasis | 12 | Schalteraretierung | 23 | Schlagbohren |
| 2 | Zusatzhandgriff (Seitengriff) | 13 | Tiefenanschlag | 24 | Schlagen |
| 3 | Innenverzahnung | 14 | Elektronikschalter | 25 | Bohren |
| 4 | Außenverzahnung | 15 | Schalteraretierung | 26 | Staubschutzkappe |
| 5 | LösEN | 16 | Lampe (nur für HR2450F) | 27 | Schlüsselloses Bohfutter |
| 6 | Festziehen | 17 | Drehrichtigungsumschalter | 28 | Bohrfutteradapter |
| 7 | Einsteckende | 18 | Werkzeugaufnahme | 29 | Werkzeugverriegelung |
| 8 | Bohrer/-Meißelfett | 19 | Wechselhülseinlinie | 30 | Festziehen |
| 9 | SDS-Plus-Bohrer | 20 | Wechselhülse | 31 | LösEN |
| 10 | Werkzeugverriegelung | 21 | Bohrfutereinheit | 32 | Klemmring |
| 11 | Betriebsartenschalter | 22 | Spindel |
TECHNISCHE DATEN
| Modell | HR2450/X/F | HR2450T/FT |
| Bohrleistung | ||
| Beton | 24 mm | 24 mm |
| Bohrkronen | 54 mm | 54 mm |
| Diamantbohrkrone | 65 mm | 65 mm |
| Holz | 32 mm | 32 mm |
| Stahl | 13 mm | 13 mm |
| Leerlaufdrehzahl (min-1) | 0-1 100 | 0-1 100 |
| Schlagzahl | 0-4 500 | 0-4 500 |
| Gesamtlänge | 360 mm | 384 mm |
| Nettogewicht | 2,4 kg | 3,6 kg |
- Wir behalten uns vor, Änderungen im Zuge der Entwicklung und des technischen Fortschnitts ohne vorherige Ankündigung vorzunehmen.
- Hinweis: Die technischen Daten können von Land zu Land abweichen.
Vorphene Verwendung
Die Maschine ist für Schlagbohren und Bohren in Ziegel, Beton und Stein sowie für MeiBelterheiten vorgesehen. Sie eignet sich auch für normales Bohren in Holz, Metall, Keramik und Kunststoff.
Stromversorgung
Die Maschinearf nur an die auf dem Typenschild angegebene Spannung angeschlossen werden und arbeitet nur mit Einphasen-Wechselspannung. Sie ist entsprechend den Europäischen Richtlinien doppelt schutzisoliert und kann davon auch an Steckdosen ohne Erdungskabel angeschlossen werden.
Sicherheitshinweise
Lesen und beachten Sie diese Hinweise, bevor Sie das Gerät benutzen.
ZUSÄTZLICHE
SICHERHEITSBESTIMMUNGEN
-
Halten Sie die Maschine nur an den isolierten Griffflächen, wenn Sie Arbeiten ausführren, bei denen die Gefahr besteht, dass verborgene Kabel oder das eigene Kabel angebohr werden. Bei Kontakt mit einem stromführungn Kabel werden die freiigenden Metallteile der Maschine ebenfalls stromführung, so dass der Benutzer einen elektrischen Schlag erleiden kann.
-
Tragen Sie Gehorschützer bei längerer Benutzung der Maschine. Lang anhaltende Lärmbelstung kann zu Gehorschädten führen.
- Tragen Sie Schutzhelm, Schutzbrille und/oder Geschittsschutz. Das Tragen einer Staubmaske und dick gepolsterter Handschuhe ist bereits zu empfehlen.
- Vergewissern Sie sich vor der Arbeit, dass der Bohrer sichern montiert ist.
- Die Maschine ist so ausgelegt, dass sie bei normalem Betrieb Vibrationen erzeugt. Durch Lokierung von Schrauben kann es zu einem Ausfall oder Unfallkommen. Überprüfen Sie sorgfältig die Festigkeit der Schrauben vor der Arbeit.
- Lassen Sie die Maschine bei niedrigen Tempera-turen oder nach längerer Nichtbenutzung eine Zeit lang im Leerlauf warmlaufen. Dadurch wird die Schmierung verbessert. Schlagbohren mit einer nicht richtig warmgelaufenen Maschine ist schwierig.
- Achten Sie stets auf sicheren Stand. Vergewissern Sie sich bei Einsatz der Maschine an hochgelegen den Arbeitsplatzen, dass sich keine Personen darunter aufhalten.
- Die Maschine sicher mit beiden Händen festhalten.
- Halten Sie die Hände von rotierenden Teilen fern.
- Lassen Sie die Maschine nicht unbeaufsichtigt laufen. Benutzen Sie die Maschine nur mit Handhaltung.
-
Richten Sie die Maschine während des Betriebs nicht auf umstehende Personen. Der Bohrer könnte Herausschnellen und schwere Verletzungen verursachen.
-
Vermeiden Sie eine Berührung des Bohrereinsatzes oder der umliegenden Teile unmittelbar nach der Bearbeitung; weil sie dann noch sehr heißt sind und Hautverbrennungen verursichen können.
DIESHE HINWEISE SORGFÄLTIG AUFBEWAHREN.
BEDIENUNGSHINWEISE
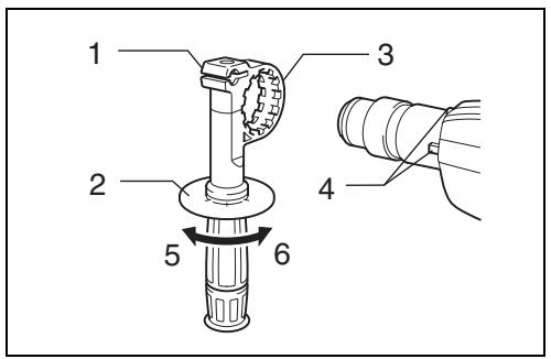
Seitengriff (Zusatzgriff) (Abb.1)
Den Griff in der gewünschten Arbeitsposition mit der Innerverzahlung auf die Außenverzahlung des Maschinengehäuses steken und durch Rechtsdrehung des Griffstücks festziehen. Der Zusammengriff kann um 360^ geschwenkt und in jeder beliebigen Stellung arretiert werden.
Montage bzw. Demontage von Einsatzwerkzeugen
VORSICHT:
Vergewissern Sie sich vor der Montage bzw. Demontage eines Einsatzwerkzeuges grundsatzlich, daß die Maschine abgeschättet und der Netzstecker gezogen ist.
Den Bohrserschaft vor der Montage des Bohrs reinigen und mit dem Bohrer-/MeiBelfett schmieren. (Abb. 2)
Einsatzwerkzeug drehend in die Werkzeugaufnahme einfahren und einschieben, bis es einrastet. (Abb. 3)
Prufen Sie nach jedem Montagevorgang den sicheren Sitz des Einsatzwerkzeugs durch Zugversuch.
Zur Demontage des Einsatzwerkzeugs die Werkzeugverregelung bis zum Anschlag in Richtung Maschinengehauseziehen und das Einsatzwerkzeug enthalten. (Abb.4)
Werkzeugwinkel
(zum MeiBeln, Entzundern oder Demolieren)
VORSICHT:
Vergewissern Sie sich vor dem Ändern des Werkzeugwinkels stets, dass die Maschine ausgeschalte und vom Stromnetz getrennt ist.
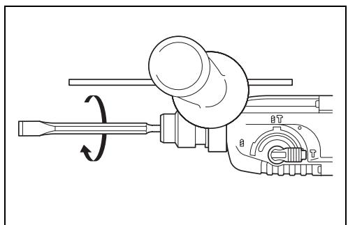
Das Einsatzwerkzeug kann im gewünschten Winkel gesichert werden. Um den Werkzeugwinkel zu ändern, drücken Sie den Arretierknopf und drehen den Betriebsartenschalter auf die Position . Drehen Sie das Einsatzwerkzeug auf den gewünschten Winkel. (Abb. 5)
Drucken Sie den Arretierknopf, und drehen Sie den Betriebsartenschalter auf die Position Vergewissen Sie sich dann durch leichtes Drehen, dass das Einsatzwerkzeug einwandfrei geschichert ist. (Abb. 6)
Bohrtiefenbegrenzung (Abb. 7)
Die Bohrtiefe kann über den Tiefenanschlag eingestellt werden. Dazu losen Sie den Zusatzhandgriff und führen den Tiefenanschlag in die Bohrung des Zusatzhandgriffes ein. Stellen Sie den Tiefenanschlag auf die gewünschte Bohrtiefe undziehen anschließlich den Zusatzhandgriff wieder fest.
HINWEIS:
Bei Positionierung des Tiefenanschlags gegen das Getriebegehäuse kann dieser nicht verwendet werden.
Schalterfunktion (Abb. 8)
VORSICHT:
Vor dem Anschlieben der Maschine an das Stromnetz stets überprüfen, ob der Elektronikschalter ordnungsgemäß faktioniert und beim Loslassen in die AUS- Stellung zurückkehrt.
Die Drehzahl erhöht sich durch verstärkte Druckausübung auf den Elektronikschalter. Zum Einsatzen drucken Sie den Elektronikschalter. Zum Ausschalten halten Sie den Schalter los. Für Dauerbetrieb drucken Sie den Elektronikschalter und gleichzeitig die Schalterarreierung. Zum Ausschalten des Dauerbetriebs den Elektronikschalter drucken und wieder loslassen.
Einschalten der Lampen (Abb. 8)
Für Modell HR2450F/HR2450FT
VORSICHT:
Blichen Sie nicht direkt in das Licht oder die Lichtquelle.
Betätigten Sie den Ein-Aus-Schalter zum Einsatzen der Lampe. Lassen Sie den Ein-Aus-Schalter zum Ausschalten der Lampe los.
HINWEIS:
Wischen Sie Schmutz auf der Linse der Lampe mit einem trockenen Tuch ab. Achten Sie sorgfällig darauf, dass Sie die Linse der Lampe nicht verkratzen, weil sich sonst die Lichtstärke verringgert.
Drehrichtungsumschalter (Abb. 9)
Dieses Werkzeug besitz einen Drehrrichtungsumschafter. Stellen Sie den Drehrrichtungsumschafthebel für Rechtsdrehung auf die Stellung (Seite A) oder für Linksdrehung auf die Stellung (Seite B).
VORSICHT:
- Prüfen Sie stets die Drehrichtung, bevor Sie mit dem Bohren beginnen.
- Wechseln Sie niemals die Drehrichtigung, bevor der Motor zum Stillstand gekommen ist. Anderenfalls kann die Maschine beschädigt werden.
- Wird das Werkzeug mit Linksdrehung betrieben,lässt sich der Ein-Aus-Schalter nuhal drücken,und das Werkzeug lauft nur mit halber Drehzahl. Bei Linksdrehung lasst sich der Arretierknopf nicht hineindrücken.
Auswechseln der Werkzeugaufnahme
Für Modell HR2450T/HR2450FT
Die Werkzeugaufnahme kann nicht durch die Bohrfutter-einheit ersetzt werden.
Entfernen der Werkzeugaufnahme (Abb. 10)
Entfernen Sie stets den Einsatz, bevor Sie die Werkzeugaufnahme abnehmer. Fassen Sie die Wechselhülse der Werkzeugaufnahme, und drehen Sie in Pfeilrichtung, um die Wechselhülsenlinie vom Symbol zum Symbol zu verstellen. Ziehen Sie kräftig in Pfeilrichtung.
Anbringen der Bohrfuttereinheit (Abb. 11)
Vergewissern Sie sich, dass die Linie der Bohrfluttereinheit auf das Symbol ausgerichtet ist. Fassen Sie die Wechselhülse der Bohrfluttereinheit, und richten Sie die Linie auf das Symbol aus.
Setzen Sie die Bohrflüttereinheit auf die Spindel der Maschine. Fassen Sie die Wechselhülse der Bohrflüttereinheit, und drehen Sie die Wechselhülsenlinie zum Symbol , bis ein deutliches Klicken zu hörn ist.
Wahl der Betriebsart
Schlagbohren (Abb. 12)
Zum Bohren in Beton, Mauerwerk usw. drucken Sie den Arretierknopf und rehen den Betriebsartenschalter auf die Position [27]. Verwenden Sie einen Bohrer mit Hartmetalspitze.
Schlagen (Abb. 13)
Zum Meißn, Entzundern oder Demolieren drücken Sie den Arretierknopf und drehen den Betriebsartenschalter auf die Position Y. Verwenden Sie einen Straßenaufrei-ber, Kaltmeßel, Abklopfmeßel usw.
Bohren (Abb. 14)
Zum Bohren in Holz, Metall oder Kunststoff drucken Sie den Arretierknopf und drehen den Betriebsartenschalter auf die Position. Verwenden Sie einen Spiral- oder Holzbohrer.
VORSICHT:
- Drehen Sie den Betriebsartenschalter nicht, wenn die Maschine unter Belastung lauft. Die Maschine kann sonst beschadigt werden.
Um vorzeitigen Verschleib des Betriebsart-Schaltmechanismus zu vermeiden, achten Sie stets darauf, dass der Betriebsartenschalter einwandfrei in einer der drei Betriebsartpositionen eingerastet ist.
Drehmomentbegrenzung
Die Rutschkupplung der Maschine begrenzt das Drehmoment auf einenwerkseitig eingestellten Maximalwert. Bei Auslösen trennt die Rutschkupplung den Antrieb von der Bohrsindel und das Einsatzwerkzeug kommt zum Stillstand.
VORSICHT:
- Bei Auslösen der Rutschkupplung Maschine sofort abschalten, um früherzeitigen Verschleib zu vermeiden.
- Lochsägen sind für den Einsatz in dieser Maschine nicht geeignet, da diese Einsatzwerkzeuge zu hohe Drehm对象abverlangen.
Betrieb: Hammerbohren (Abb. 15)
Stellen Sie den Betriebsartenschalter auf die Position [7]. Den Bohrer erst an die gewünschte Position setzen und den Bohrvorgang dann durch Drücken des Elektronikschalters beginnen.
Das Gerät im rechten Winkel zur Werkstückoberfläche sichere führen, um ein Abrutschen des Bohrs zu verhindern. Wahlend des Bohrbetriebs nur den erforderlichen Gegendruck halten, der unmittelbar der Schlagenergie des Gerätes entgegenwirkt.
Sollte die Bohrmehlabfuhr (z. B. durch feuchtes Gestein) gestört sein, ziehen Sie den Bohrer aus der Bohrung hersa und entfern den Das Bohrmel aus der Bohrung bzw. den Spiralnuten des Bohrs.
VORSICHT:
Beim Bohren in eisenbewehrtem Beton kann der Bohrer blockieren und so die Rutschkupplung der Maschine auslösen. Achten Sie davon auf sicheren Stand und benutzten Sie immer den Seitengriff, um die hohen Rückdrehm对象e aufzufangen.
Schmierung der Einsatzwerkzeuge
Den Aufnahmeschaft vor dem Einsetzen in das Gerät saubern und anschließend mit Bohrerrett schmieren (ca. 0,5-1,0 g).
Dies gewährleistet eine einwandfreie Funktion der Werkzeugaufnahme und einen minimalen Verschleib des Aufnahmeschafts.
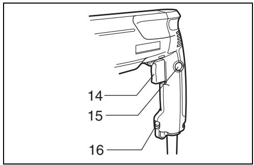
Ausblaser (Abb. 16)
Verwenden Sie den Ausblaser, um das Bohrloch von Spanen und Partikeln zu saubern.
Staubschutzkappe (Abb. 17)
Bei Überkopfarbeiten die Staubschutzkappe verwenden, um zu verhindern, daß Staub auf den Bedienenden und die Werkzeugaufnahme fällt. Die Staubschutzkappe, wie in Abb. 17 gezeigt, auf dem Bohrer befestigen. Die Staubschutzkappe kann für folgende Bohrgrößen verwendet werden.
| Bohrerdurchmesser | |
| Staubschutzkappe 5 | 6 – 14,5 mm |
| Staubschutzkappe 9 | 12 – 16 mm |
MeiBelbetrieb (Abb.18)
Stellen Sie den Betriebsartenschalter auf die Position. Die Maschine sicher mit beiden Händen festhalten. Die Maschine einschalten und mit leichtem Druck führen, damit sie nicht unkontrolliert springt. Übermäßige Druckausübung auf die Maschine bewirkt keine Erhöhung der Arbeitsleistung.
Bohren in Holz oder Metall
Fur Modell HR2450/HR2450F/HR2450X (Abb. 19)
Verwenden Sie den gesonderten Bohrfluttersatz. Nehmen Sie zur Montage auf den Abschnitt "Montage und Demontage des Bohrs" auf der vorhergehenden Seite Bezug.
Für Modell HR2450T/HR2450FT (Abb. 11)
Verwenden Sie die Bohrfuttereinheit als Standardausstattung. Nehmen Sie zur Montage auf den Abschnitt "Auswechseln der Werkzeugaufnahme" auf der vorhergehenden Seite Bezug.
Halten Sie den Klemmring fest, und drehen Sie die Werkzeugaufnahme entgegen dem Uhrzeigersinn, um die Bohrflutterbacken zu öffnen. Führn Sie das Einsatzwerkzeug bis zum Anschlag in das Spannflutter ein. Halten Sie den Klemmring fest, und drehen Sie die Werkzeugaufnahme im Uhrzeigersinn, um das Bohrflutter festzühehen. Zum Entfernen des Einsatzwerkzeugs halten Sie den Klemmring und drehen die Werkzeugaufnahme entgegen dem Uhrzeigersinn. (Abb. 20)
Stellen Sie den Betriebsartenschalter auf die Position. Si konnen Locher von bis zu 13mm Durchmesser in Metall und von bis zu 32mm Durchmesser in Holz bohren.
VORSICHT:
- Bei montiertem Bohrflutteradapter mit dem Bohrflutter dar feinesfalls die Betriebsart "Hammerbohren" gewählt werden.
Bohrfutter und Bohrflutteradapter konnen andernfalls beschädigt werden bzw. das Bohrflutter kann sich bei Linkslauf öffnen. - Ein zu starker Druck auf die Maschine bewirkt keine Beschleunigung der Bohrleitung. Ein zu hoher Schnittdruck führt zu einer Beschädigung der Bohrerspitze und damit zu Verringerung der Bohrstandzeit und Überanspruchung der Maschine.
-
Beim Austritt des Bohrs aus dem Werkstück wirkt ein hohes Rückdrehmoment auf die Maschine. Deshalb die Maschine gut festhalten und den Vorschub verrin-gern, wenn der Bohrer durch das Werkstück dringt.
-
Ein festsitzender Bohrer laßt sich durch Umschalten der Drehrichtigung auf Linkslauf wieder herausdrehen. Die Maschine ist gut festzuhalten, da im Linkslauf ein hohes Rückdrehmoment auf die Maschine auftritt.
- Kleine Werkstücke stets in einem Schraubstock einspannen oder mit einer Schraubzwinge sichern.
Bohren mit Diamantbohrkrone
Stellen Sie den Betriebsartumschalter beim Bohren mit Diamantbohrkrone immer auf die Position für "Bohren".
VORSICHT:
Werden Arbeitsen mit der Diamantbohrkrone in der Betriebsart "Schlagbohren" ausgeführten, kann die Diamantbohrkrone beschädigt werden.
WARTUNG
VORSICHT:
Vor Arbeiten an der Maschine vergewissern Sie sich, daß der Schalter in der Position OFF und der Netzstecker gezogen ist.
Zur Gewährleistung der Produktssicherheit und -zuverwässigkeit sind Reparaturen, Wartungsarbeiten und Einstellungen von einer Makita-Service-Station auszuführen.
Visione generale
Sidohandtag (extrahandtag) (Fig. 1)
Rotationsomkopplarens Funktion (Fig. 9)
Das mitgelieferte Zubehör ist speziell für den Gebrauch mit dem in dieser Betriebsanleitung angegebenen Makita-Elektrowerkeug vorgesehen. Bei Verwendung von Fremdzubehör in Verbindung mit dieser Maschine besteht Verletzungsgefahr.
I ACCESSORI
ATTENZIONE:
CE-KONFORMITÄTSERKLÄRUNG
Hiermit erklart wir unter unserer alleinigen Verantwortung, daß die gesamtkem den Ratsdirektiven 73/23/EWG, 89/336/EWG und 98/37/EG mit den folgenden Normen bzw. Normendokumenten übereinstimmten:
Gerausch- und Vibrationsentwicklung
Die typischen A-bewerteten Gerauschpegel betragen:
Schaldruckpegel: 89 dB (A)
Schalleistungspegel: 102 dB (A)
- Gehorschutz tragen. -
Der gewichtete Effektivwert der Beschleunigung beträgt 9,0m / s^2
Notice-Facile