GRIT GXR - Schleifmaschine Fein - Kostenlose Bedienungsanleitung
Finden Sie kostenlos die Bedienungsanleitung des Geräts GRIT GXR Fein als PDF.
Benutzerfragen zu GRIT GXR Fein
0 Frage zu diesem Gerät. Beantworten Sie die, die Sie kennen, oder stellen Sie Ihre eigene.
Eine neue Frage zu diesem Gerät stellen
Laden Sie die Anleitung für Ihr Schleifmaschine kostenlos im PDF-Format! Finden Sie Ihr Handbuch GRIT GXR - Fein und nehmen Sie Ihr elektronisches Gerät wieder in die Hand. Auf dieser Seite sind alle Dokumente veröffentlicht, die für die Verwendung Ihres Geräts notwendig sind. GRIT GXR von der Marke Fein.
BEDIENUNGSANLEITUNG GRIT GXR Fein
GXR (^**) 9 90 01
GXR (^**)
9 90 01
kg 45
1
mm 2 250
12
mm 150




3
Originalbetriebsanleitung.
Verwendete Symbole, Abkürzungen und Begriffe.
Die in dieser Betriebsanleitung und ggf. auf der Maschine verwendeten Symbole dienen dazu, ihre Aufmerksamkeit auf mögliche Gefährdungen bei der Arbeit mit dieser Maschine zu lenken.
| Symbol, Zeichen Erklärung | |
| Rotierende Teile der Maschine nicht berühren. | |
| Den Anweisungen im nebenstehenden Text oder Grafik folgen! | |
| Die beiliegenden Dokumente wie Betriebsanleitung und Allgemeine Sicherheitshinweise unbedingtlesen. | |
| Vor thisem Arbeitsschritt den Netzstecker aus der Netzsteckdoseziehen. Sonst besteht Verletzungsgefahr durch unbeabsichtigtes Anlaufen der Maschine. | |
| Beim Arbeiten Augenschutz benutzen. | |
| Beim Arbeiten Gehörschutz benutzen. | |
| Beim Arbeiten Staubschutz benutzen. | |
| Beim Arbeiten Handschutz benutzen. | |
| Warnung vor Gefahr | |
| € | Bestätigt die Konformität des Elektrowerkzeugs mit den Richtlinien der Europäischen Gemeinschaft. |
| UKCA | Bestätigt die Konformität des Elektrowerkzeugs mit den Richtlinien von Großbritannien (England, Wales, Schottland). |
| Ausgemusterte Maschinen und andere elektrotechnische und elektrische Erzeugnisse getrennt sammeln und einer umweltgerechten Wiederverwertung zuführren. | |
| ↓ | Drehrichtung |
| (**) Kann Ziffern oder Buchstaben enthalten | |
| Zeichen Einheit international Einheit national Erklärung | ||
| l1 | mm mm Schleifbandlänge | |
| l2 | mm mm Schleifbandbreite | |
| kg kg Gewicht entsprechend EPTA-Procedure 01 | ||
| m, s, kg, A, mm, V, W, Hz, N, °C, dB, min, m/s2 | m, s, kg, A, mm, V, W, Hz, N, °C, dB, min, m/s2 Basis- und abgeleitete Einheiten aus dem Inter- nationalen Einheitsystem SI. | |
Zu Ihrer Sicherheit.

Verwenden Sie das Radienschleifmodul nicht, bevor Sie diese Betriebsanleitung gründlich gelesen und vollständig verstanden haben, einschließlich der Abbildungen, Spezifikationen und Sicherheitsregeln.

Lesen und beachten Sie die Betriebsanleitung des Bandschleifers GX75/GX752H, an den diese Maschine montiert werden sollen.
These Betriebsanleitung zum späteren Gebrauch aufbewahren und bei einer Weitergabe oder Veräußerung der Maschine überreichen.
Verwenden Sie zur Montage des Radienschleifmoduls am Bandschleifer nur das mitgelieferte Befestigungsmaterial. Eine fehlerhafte Montage kann dazu führen, dass sich das Radienschleifmodul während des Arbeitsvorganges vom Bandschleifer lost und schwere Unfälle verursacht.
Bestimmung der Maschine.
Das Radienschleifmodul GXR ist in Verbindung mit dem Bandschleifer GX75/GX752H ausschließlich für das Ausschleifen von Rohrenden mit einem Durchmesser von 16-75 mm verwendbar mit dem von Fein zugelassenen Einsatzwerkzeugen und Zubehör in wettergeschützter Umgebung.
Werkstücke mit einem Durchmesser kleiner als 35mm dürfen mit dem Bandschleifer GX75 nicht beareritet werden!
Spezielle Sicherheitshinweise.
Tragen Sie persönliche Schutzausrüstung. Verwenden Sie je nach Anwendung Vollgesichtsschutz, Augenschutz oder Schutzbrille. Soweit angemessen,/TRagen Sie Staubmaske, Gehorschutz, Schutzhandschuhe oder Spezialschürze, die klinche Schleif- und Materialpartikel von Ihnen fernhalt. Die Augen sollen vor herumflie-genden Fremdkörpern geschützt werden, die bei verschieden Anwendungen entstehen. Staub- oder Atemschutzmaske müssen den bei der Anwendung entstehenden Staub filtern. Wenn Sie lange lautem Lärm ausgesetzt sind, konnen Sie einen Hörverlust erleiden.
Stellen Sie vor dem Einschalten sicher, dass alle Spannhebel und Spannvorrichtungen gut festgezogen sind. Senkt sich die Maschine plottlich ab oder lost sich das Werkstück während des Arbeitsvorganges, kann dies zu schweren Unfallen führen.
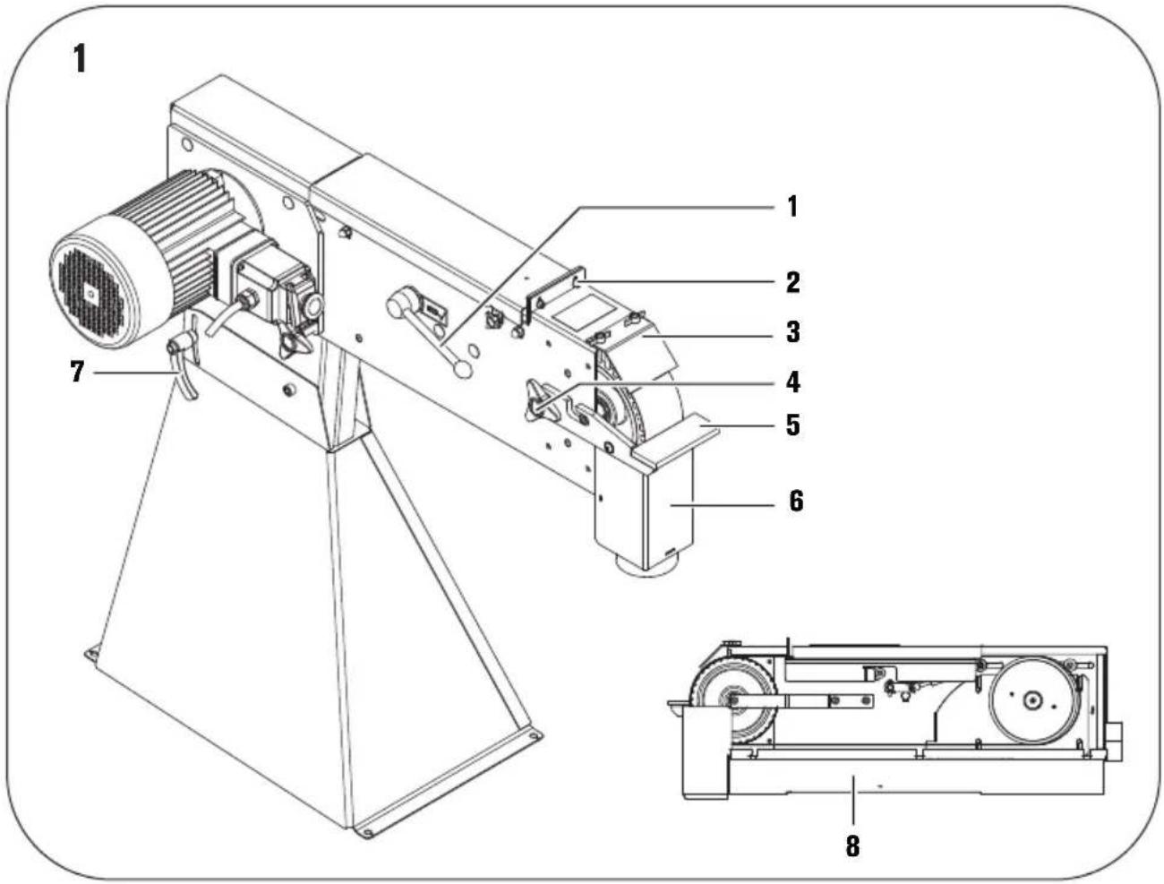
Auf einen Blick.
1 Schleifband-Spannvorrichtung (GX75)
2 Abdeckung/Anschlag (GX75)
3 Funkenschutz (GX75)
4 Sterndrehschraube, Spänekasten (GX75)
5 Schleifauflage (GX75)
6 Spänekasten (GX75)
7 Hebel für Kippvorrichtung (GX75)
8 Seitendeckel (GX75)
9 Montageschrauben, Muttern Ausrichtung Radienschleifmodul/Bandschleifmaschine
10 Funkenschutz
11 Flügelschrauben, Funkenschutz
12 Vorschubhebel
13 Montagehebel
14 Einstellung „Centerhöhe“ (Rohrmitte)
15 Spannhebel, Einstellung „Centerhöhe“
16 Einstellung „Schleiftiefe“/Tiefenanschlag
17 Kurbel, Schleiftischverstellung
18 Auffangbehälter
19 Schutzvorrichtungen/Seitendeckel
20 Sicherungsschrauben, Kontaktrolle
21 Kontaktrolle
22 Handrad
23 Schnellspannhebel, Werkstück festspannen
24 Spannhebel, Winkeleinstellung
25 Winkelskala
26 Spannbacken, starr
27 Halterung/Magazin für Kontaktrolten
28 Rollen
Montageanweisungen (Bilder 1-3).
Bandschleifer GX75.
Ziehen Sie vor allen Arbeiten an der Maschine den Netzstecker aus der Steckdose.
Demontieren Sie den Funkenschutz (3).
Demontieren Sie die Schleifauflage (5),den Spänekasten (6) und die Sterngriffschraube (4).
Öffnen Sie den Seitendeckel (8).
Lösen Sie die Spannvorrichtung (1) und entfernen Sie das Schleifband.
SchlieBen Sie den Seitendeckel.
Lösen Sie den Hebel für die Kippeinrichtung (7) und stellen Sie den Bandschleifer ungefahr waagrecht.
Radienschleifmodul GXR.
Nehmen Sie das Gerät aus der Verpackung und montieren Sie das Zubehör, wie im Beilageblatt beschrieben.
Schieben Sie das Radienschleifmodul gegen den Bandschleifer undrichten Sie die Bohrungen der Schrauben aus.
Verbinden Sie beiden Geräte (13) mit den zwei Montaghebel.
Ziehen Sie den Hebel für die Kippvorrichtung (7) fest.
Füllen Sie den Auffangbehälter (18) bis zur Hälfte mit Wasser. Stellen Sie den Auffangbehälter zwischen die Stützen des Radienschleifmodulus.
Bei Betrieb des Gerätes ohne Wasserbefüllten Auffangbehälter besteht Brandgefahr!
Kontaktrolle montieren.
Ziehen Sie vor allen Arbeiten an der Maschine den Netzstecker aus der Steckdose.
Lösen Sie die beiden Flügelschrauben (11) und schiben Sie den Funkenschutz (10) ganz nach oben.
Setzen Sie eine Kontaktrolle (21) mit dem gewünschem Durchmesser in die Führungsgabel ein und sichern Sie diese mit den beiden Schrauben (20).
Justieren Sie nach jedem Wechsel der Kontaktrolle den Bandlauf.
Nicht benutzte Kontaktrollen sollen den Schutz vor Beschädigung immer in der Halterung (27) aufbewahrt werden.
Schleifband montieren/wechseln
Ziehen Sie vor allen Arbeiten an der Maschine den Netzstecker aus der Steckdose.
Öffnen Sie den Seitendeckel (8+19).
Lösen Sie die Spannvorrichtung (1) und legen Sie ein Schleifband mit der Länge 75 × 2250 mm ein.
Die Laufrichtungskennzeichnung des Schleifbandes muss mit der Drehrichtigung übereinstimm.
Spannen Sie das Schleifband mit der Spannvorrichtung (1).
Bewegen Sie das Schleifband mit der Hand und beobachten Sie, ob es nach links oder rechts von der Kontaktrolle auswandert.
Stellen Sie am Bandschleifer die Führung des Antriebsrades so ein, dass das Schleifband mittig lauft. Die exakte Justierung erfolgt bei eingeschalteter Maschine.
SchlieBen Sie den Seitendeckel (8+19).
Betriebsanweisungen.
Schlieben Sie die Seitedeckel (19)/(8). Das Schleifband kann bei nicht montierten Schutzvorrichtungen die Kleidung erfassen und Sie schwer verletzen.
GX75/GX752H*
Einschalten:
Sicherheits-Aus-Taste (15^) entriegeln und aufklappen. Taste, I^ (17^) drucken.
Ausschalten:
Sicherheits-Aus-Taste (15) aufklappen. Taste „0" (17) drücken.

Die Maschine lauft nach dem Ausschalten ca. 50 sek. nach.
(^* in der Betriebsanleiung der Maschine zu finden)
Sicherheits-Aus-Taste:
Drücken Sie in Gefahrensituationalen die rote Sicherheits-Aus-Taste um die Maschine auszuschalten.
Schleifband justieren.
Schalten Sie den Bandschleifer nur kurz ein.
Beobachten Sie, in welcher Richtung das Schleifband auswandert.
Justieren Sie am Bandschleifer den Bandlauf, bis das Schleifband mittig auf der Kontaktrolle (21) lauft.
Wenn sich der Bandlauf nicht mittig justieren lasst, muss die Parallelität der GXR nachgestellt werden (Bild 2+3):
Lösen Sie die zwei Muttern (9).
Stellen Sie die Schrauben (9) mit einem 4 mm Innensechskantschluss nach. Wechseln Sie kurz auf den Bandschleifer.
Ziehen Sie die zwei Muttern (9) wieder fest.
Prufen Sie die Parallelität des Bandlaufes. Wiederholen Sie die vorhergehenden Schritte bei nicht zufriedenstellendem Ergebnis.
HINWEIS: Die Führungseinrichtung für die Kontaktrolle der GXR ist ab Werk parallel eingestellt. Eine Justierung ist nur erforderlich, wenn bei der Einrichtung des Antriebsrades kein zentrischer Bandlauf erreicht wird.
Centerhheinstellen.
Die Höhe der Kontaktrolle wird normalerweise auf Rohrmitte eingestellt. Die Einstellung kann jedoch verändert werden:
Lösen Sie den Spannhebel (15).
Stellen Sie mit dem Hebel (14) die Kontaktrolle auf die gewünschte Höhe ein.
Ziehen Sie den Spannhebel wieder fest.
Überprüfen Sie die Einstellung durch einen Probeschlliff.
Arbeitshinweise.
Justieren Sie den Bandlauf.
Stellen Sie die Centerhöhe ein.
Benutzen Sie, falls erforderlich, einen Längenanschlag (Zubehör), um das Werkstück maßgenau einzuspannen.
Stellen Sie sichiben die Maschine undziehen mit der linken Hand am Vorschubhebel (12).
Drehen Sie mit der rechten Hand an der Kurbel (17), um den Arbeitsstisch seitlich zu bewegen und das
Schleifband gleichmäßig abzunutzen. Das Werkstückarfdar bei nicht über die Kanten des Schleifbandes geraten.
Arbeiten Sie immer mit gleichmäßigem Anpressdruck.
Gerausch-Emissionswerte.
Leerlauf Schleifen
Gemessener A-bewerteter Emissions-Schalldruckpegel am
Arbeitsplatz L_pA (re
20 Pa), in Dezibel 90,5 99
Unsicherheit K_pA in Dezibel 4 4
Gemessener A-bewerteter Schalleistungspegel
L_wA (re 1 pW), in Dezibel 101 108
Unsicherheit K_wA in Dezibel 2,5 2,5
Betriebsbedingungen
Drehzahl (/min) 3000 3000
Material - rostfreier Stahl
Abmessung
Rohr, Durch- messer 42,4 mm
Schleifband
- GRIT by Fein 36R
ANMERKUNG: Die Summe aus gemessenem Emissionswert und zugehöriger Unsicherheit stellt die obere Grenze der Werte dar, die bei Messungen auftreten können.


Gehorschutz benutzen!
Messwerte ermittelt nach zutreffender Produktnorm (siehe die letzte Seite dieser Betriebsanleitung).
Instandhaltung und Kundendienst.

Ziehen Sie vor allen Arbeiten an der Maschine den Netzstecker aus der Steckdose.
Eine Instandsetzungarf nur durch eine Fachkraft nach den gultigen Vorschriften durchgefuhrt werden.
Zur Instandsetzung empfehlen wir den FEIN-Kunden-dienst, die FEIN-Vertragswerkstätte und die FEIN-Ver-tretungen.
Die aktuelle Ersatzteilliste dieser Maschine finden Sie im Internet unter www.fein.com.
Führer Sie die folgenden Wartungsarbeiten regelmäßig durch:
Tägliche Wartungsarbeiten
Leeren Sie den Aufgangbehälter. Trennen und entsorgen Sie Wasser und Metallstaub.
Offnen Sie die Abdeckung (19) und den Seitendeckel (8) und entfern den Sie den Metallstaub.
Der Metallstaub muß ausreichend abgekühlt sein und scarf nur über geeignete Behälter entsorgt werden.
Bringen Sie die Abdeckung (19) und den Seitendeckel (8) wieder an.
Reinigen Sie die Maschine außen mit Druckluft.
Folgende Teile konnen Sie bei Bedarf selbst austauschen: Schleifband, Kontaktrolle (21), Funkenschutz (10)
Gewährleistung und Garantie.
Die Gewährleistung auf das Erzeugnis gilt gemäß den gesetzlichen Regelungen im Lande des Inverkehrbrin-gens. Darüber hinaus leistet FEIN Garantie entsprechend der FEIN-Hersteller-Garantieerklarung. Im Lieferumfang ihrer Maschine kann auch nur ein Teil des in dieser Betriebsanleitung beschrieben oder abgebildeten Zubehörs enthalten sein.
Konformitätserklärgung.
Die CE-Erklärung gilt nur für Länder der Europäischen Union und der EFTA (European Free Trade Association) und nur für Produkte, die für den EU- oder EFTA-Markt bestimmt sind. Nach dem Inverkehrbringen des Produkttes auf dem EU-Markt, verliert das UKCA Zeichen seine Gültigkeit.
Die UKCA-Erklärung gilt nur für den britischen Markt (England, Wales und Schottland) und nur für Produkte, die für den britischen Markt bestimmt sind. Nach dem Inverkehrbringen des Produkts auf dem britischen Markt verliert das CE-Zeichen seine Gültigkeit. Die Firma FEIN erklärt in alleiniger Verantwortung, dass diesen Produkt den auf der letzten Seite dieser Betriebsanleitung angegebenen einschlagigen Bestimmungen entspricht.
Technische Unterlagen bei:
C. & E. Fein GmbH
Hans-Fein-StraBe 81
73529 Schwabisch Gmund-Bargau, Germany
Umweltschutz, Entsorgung.
Verpackungen, ausgemusterte Maschinen und Zubehör einer umweltgerechten Wiederverwertung zuführen.
Tendortforbandpudseren.
(* hittas i driftinstruktionen)
Nödstopp-knapp:
Sateishiomamoduuli GXR.
Die CE-Erklärung gilt nur für Länder der Europäischen Union und der EFTA (European Free Trade Association) und nur für Produkte, die für den EU- oder EFTA-Markt bestimmt sind. Nach dem Inverkehrbringen des Produktes auf dem EU Markt, verliert das UKCA Zeichen seine Gültigkeit.
Schwabisch Gmund-Bargau, 04.02.2022
C. & E. Fein GmbH
Hans-Fein-StraBe 81
73529 Schwabisch Gmund-Bargau, Germany
www.fein.com
Die UKCA-Erklärung gilt nur für den britischen Markt (England, Wales und Schottland) und nur für Produkte, die für den britischen Markt bestimmt sind. Nach dem Inverkehrbringen des Produkts auf dem britischen Markt verliert das CE-Zeichen seine Gültigkeit.
Schwabisch Gmund-Bargau, 04.02.2022
EinfachAnleitung