KD-55XE8096 - Телевізор SONY - Безкоштовний посібник користувача
Знайдіть посібник до пристрою безкоштовно KD-55XE8096 SONY у форматі PDF.
Завантажте інструкції для вашого Телевізор у форматі PDF безкоштовно! Знайдіть свій посібник KD-55XE8096 - SONY і поверніть собі контроль над електронним пристроєм. На цій сторінці опубліковані всі документи, необхідні для використання вашого пристрою. KD-55XE8096 бренду SONY.
ПОСІБНИК КОРИСТУВАЧА KD-55XE8096 SONY
Для зхисту виюбу Та 3 міркувань бeзnéкі компанія Sony国有资产о pekomeндус, lo6 BCTaHOBJIeHЯ TelebeI3Opa 3diiCHIOBaJIOCS dInIePam n abo liueH3OBaHIMn pIprdHnKamn Sony. He HAMaRaTecra BCTaHOBHTn Ioro CamOCTiHNo.
IhOpmaia InIeIuIepiB i nIpaIaNkIB Sony
PniiJrTe MaKcImMaJIbHy yBary 6e3nei NiI qac BCTaHOBHeHH, nepioDmUHOrO o6ClyROvBaHHra TanepebipKn Bvpo6y.
Для BCTaHOBJIeHЯ ΒьOrO Bnpo6y, OCo6JIbNO ДЯВи3HaueHЯ MlCHoCTi CTInH,Як ПОВИнHA BnTPmYBaTN BaTy TeJeBi3Opa, Heo6XiJNo MaTи DoCTaTHiN DoCBiD.ДOBiprYe ВИКоHЯНЯ MOТАЖу TIlbKN DIIJIePamЧи ЛIeH3OBAHIM ПIDРЯДнИКam Sony Ta приділайе наlexЖуУbary 6e3NeCi пДчac BCTaHOBJIeHЯ.КOMпаHЯ Sony He Hece ЖODHOI BiДПОВIDAльноCTI 3a 3бNTKи N TpaBMn, BИКЛИКаHI He npaBUNlbHOIO ЕКСПЛУATAciEQU Ch BCTaHOBJIeHЯМ.
IhOpMaciio 0oDo npaBnHOrO n6e3neuHOro BCTaHOBHeHH nDiBiTbC8 B IHCtpKcii 3 ekcnnyataci KPOHtTeiHa dJa hAcTIHHOrO KpInJIeHHy, y Noci6Hnky 3 NoaTkY pO6OTn 3 TeJeBIOpOM i B cBomy Noci6Hnky.
BiDomocti 36e3neKn
ГВИNTи,за ДОПOMOROюякnx Кронштейн ДдЯ Habстинoro Кріплень Кріпntься на CTiHi, He BXODЯтБdo KOMПЕКТУ NOCTaЧанн.
Пд час MOТУВАнHA KрОИшTeиHA ДЯ НастIHorno KрДЛЕпань ВИКОПСТУВуTe ВгИNTM BiДЮВИДно Do CTРКТуРи CTINu Ta МaTepeIANY,ЯкIM BOVA BKNITA.
36epiraiTe BnpoBn BA KAPTOHNI KOPOBU, y TEMHOmy,CYXOMY,NUCTOMY PnMIiueHNI 3 doBOPOBBeBHTINJIaCIO,OKPEmo BIvMciBc 36epirAHnHaKnCNOT iNyrB.Tempepatyra 36epirAHn:BIv-20do +60^. Bonorictb 36epirAHn: < 80%
| Назва моделi KD- | Габаши дисп leя | Габаши центра ekранa | Розмір дія мо ntху | |||
| a | b | c | d | e | ||
| Стоандарто не кріпленné» | Тонke крірленné» | |||||
| 65X850☐C | 1453 | 844 | 21 | 450 | 133 | |
| 55X850☐C | 1236 | 722 | 116 | 485 | 115 | |
| 49X830☐C | 1093 | 643 | 206 | 536 | 107 | |
| 43X830☐C | 961 | 568 | 191 | 483 | 107 | |
Ppumitka
- Lüfpi n B Habe dehi Tablui MoKyTb Deo Bo iDp3HrTncB 3aJexKHOCTi BiM MoHTaxy.
3aIINuTe IOCTaTHi InpocBt MIX TeJIeBi3OpOM i CTEJIeTO Ta BnCTyNaIOUHMu YactuHaMn CTiHn, Jk NOKa3aHO Ha pncyHKy HNxKye.
OdHnUy BVMIpIOBaHH:MM

-
3a6e3neuHTn HaneKHy BENTnlaHIO Ta 3anobirn HakonuueHHo 6pyd n nnly:
-
He Knaɪdɪt b TeleBɪsəp RopɪzɔHTaɪbHo, He BCTaHOBJIHOte NOrO HnXhNbOIO CTOpOHO IO DOrOpN, 3aɪOM hʌnepeɪ a60 Ha 6ik.
- He CTaBTe TeJIeBi3Op Ha NOLIuO, KJINIM, NOCTIb a6o B IuaΦy.
- He hakpnbai Te TeleBizop TkauHIOU (3aHaBICKToO) a6o iHsMn peaAMn, HapnKnaIra3eTAMn.
- He BCTaHOBJIIOI Te TEJIeBI3Op TaK,ЯК nOKa3aHO HIXKHe.
Popyseho cnpkylaicno nobitpr.

Pnpmitka
- KaKIO pIaHcybCn npoknactn kaBcJI y cTIHI, 3pO6iTb OTBIP y CTiHI, Uo6 BCTaBnTn KaBcNI nepeN noaTkOM YCTaHOBHeHH.
Lio6 3a06iTn 3aTncKaHIO Ka6eNIB, 3po6iTb OTBip y CTiHi 3a MexAmn nepimetpa 6a3n (20) A, nepexiDnK nIg 6a3n 1 Ta npoklaKn (20) E, npoknaKn (60) K.
2 O6epiB cnoci6 BCTaHOBJIeHHHa CTiHi. Bi6epiB BiIcTaHb BiJ3aIhboI paHeJI TeJeBi3Opa Do CTiHi JIK POKa3aHo HIXKYe.
2-a CtaHdapTHe KpinJIeHHa
2-b ToHke KpInJIeHHa
ДиВ. tabлцюв кроцi 1.
3ACTEPEKEHH
- Y paazi Bn6bopy 2-b doctyn do rhi3d Ha 3aadHni naHeni 6bye o6mxeHni.


3 Miche BCTaHOBJIeHnaIaNTepa OCHOBn DnBiTbCra B Ta6NIci HnKHe. JaKIo Bn6paHo 2-b, npOnyctITb cei KpOK.
| №3ba mojeni KD- | РоЗташуванners raков |
| 65X850□C | a |
| 55X850□C | b |
| 49X830□C | |
| 43X830□C | c |

Прикпіпіть заллтетр ① за Доюмогою Гиntа (PSW 4x10) Jdo ochobn (20) A (якso Вибрано ВAPIANT 2-a).

4 Bn3NaUTe PNOJoxeHnRABnHTiBДЯ BCTaHOBJIeHn86a3n (20)A.
ДиВ.ТexHiЧиХаразКтepиСТИКиHa cTOp.12.
Як soo Вибрано ВAPIANT 2-a, BИКОПСТОВУЛТЕ OTBOPИ Ha aДАNTePI OCHOBNI ①.
3ACTEPEKEHH
- CtiHa, Ha kIyCTaHOBIOETbCra TeJIeBI3Op, Ma6 6ytu 3daTHOBO BHTPIMATn BAry, IIO pINHaMHi B YoTnp pa3n peBUNyE Bary TeJIeBI3Opa (Bary TeJIeBI3Opa MOXHa Di3HaTnCS B DoiHNky).
Bn3HaTeMiHicTb CTiHn,Ha kY6yDe BCTaHOBLeHo TeBei3Op.3a Heo6xIHocTi 3MiHITb CTiHy HaleXHM YINOM.
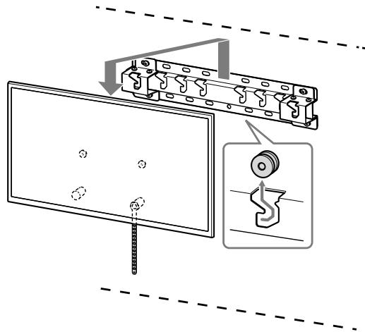
UctaHOBJIeHHBa3nHa ctiHi
BnKOpNCToByTe npHaMHi YoTnpu rBnHTn DiameTpom 8 MM a6o eKBiBaIeHTHi (He BXOJaTB Do KOMPNeKTy NocTaaHNN).
BkpyTitb QOTnp BBUHTN BO TBOPn Ha aadantepi OCHOBN ① 3 OCHOBOIO (20) A (tibkn 2-a).
BCTaHOBJIHoiTe 6a3y (20) A ropuN3oHTaIbHo Ha cTIHi.


Плготовka доВBSTановленners Teilebi3opa
1 BnKpyTiTb rBnHTn i3 3aHbOi naneI TeJeBi3Opa (TiJbKn KD-65X850□C).

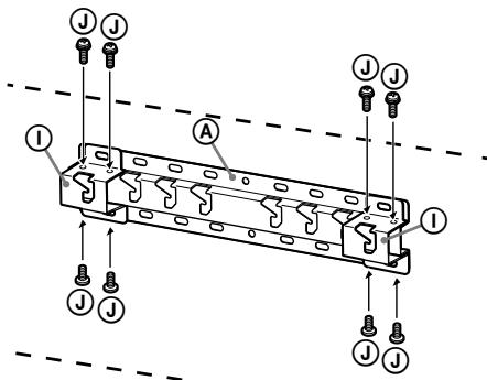
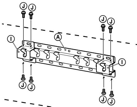
2 3aφíkcyuTe KpɪnJIbHi eIemEnTn KpOHJTeŋHa dIЯ NaCTiHHOrO KpɪnJIeHŋ. IpeBipTe HαRbHicTh ycix KpɪnJIbHnx eIemEHTiB, KOpNCTyUOChc CπιCKOM «ПocTauaεTbc3SU-WL450» y po3diI«IpeBipKa DeTaJIeŋ» Ha cSTOP.5.
Pnpmitka
HaJiHNo 3aikcyTe KpiNJIbHi eIeMeHTn 3a DOnOMOrHO rBnHTiB.
Дляеелктуни Викун Bстановпь морентобертанн рпблзно 1,5H-M{15Kc-cm}.
36epiraIte deTani, IIO He BnKOpNCTOByIOTBcY, y 6e3neHOMy MlCJI. 36epexITb cei noci6Hnk dIra BnKOpNCTaHHB MaIbTyTHbOMy.

Ctahdapthe KpinlenHHa (2-a)
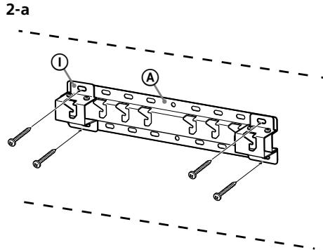
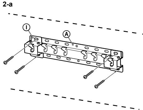
-ДиВITbcra Ta6nIu Ho KpoCi 3B po3diJI «Bn3HaueHnMaCzBaTahOBLeHHra» Ha cTOp.7,io6 Bn3HaunTu Micce 6JokIB Ba3a.
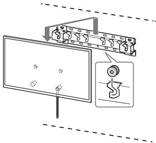
- HaDiHNO TpIMaIte TeJIeBi3Op IbOMa pyKaMn Ta ObepeXHo NObICbTe 6JNoKU B, PnIKpIInLeHi Ha 3aDnHO uactINHy TeJIeBi3Opa, Ha 6a3y, NepeBipNBUn φOpMy OTbOpIb.
-Пись Встановленья телевизора на стініпескогайтеся,шо бл_OKи ⑧ Надійно зафikсobаговьба забіаобьпесхідніку діябаши.

2-a

2-b
3ACTEPEKEHHJ
-Пиберпь повиску чатуни ременя (F) Ta надійно піркpinіть НOrо д CTIN.


BukopncToByTe rBnHT diAmetpom 5 MM a6o ekBbIaJIeHTHn (He BXOДNTb Do KOMPJIeKTy NOCTaUHaHH).
Ppimrka
CnpobyTe IerKo NtaryHn HxHcH qactHy Tebei30pa Ha Ce6e, uOb NepekoHaTncs, uO BOHa He pyxaetcbnpeed. KaTO Tebei30p yxaetcbsc, noTo 3akpiInHo HnepaunBho i ho o6xidno pa3 haDiinHO 3akpinTu peimh F
Ipebipka nicla 3aBepWeHnBCTaHOBJIeHHJ
IpebeipTe 3a3NaeHi HxKc neyHKTn.
-БлOkи ⑧ NaДиИно BCTaВЛeНо В 6a3y a60ВперexiДнИК ДЯ 6a3n.
- Lhup i ka6eIb He nepekepyeHi I He 3aTncHeHi.
- Pemihb F miHo 3akpInIeHo 6e3 npOBuCaHHa.
3ACTEPEXEHH
- HenpaBnIbHe po3MiueHnIhUypa KJMBLeHn 3MInHoro CTpyMy TOIO MOKe CTATN pNnuHNO IOXeKi a6O yApkeHn EJIeKTPNHm CTpyMOM YHaCNIoK KOpOTKO 3AmNKAHn. 3 MeTOIO 6e3neKn OOB'3KOBo NepeBiPte BCE NcIg 3AbePeHHN BCTAHOBnEHn.
Iишi BiIDOMOCTi
Плд淘汰Зиманг TeJIeBI3OpaДOTpIMyItecR BkazHOI ПОцЕДури BCTaHOBJIeHHY Y 3BOPOTHOMY NOPJDKY.

3ACTEPEXEHH
- 3HIMATU TENEBI3OP MAJTOB pInHaMHI DBI OcO6N.
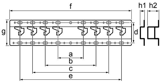
TexhihixapaKtepncnkn

Pozmipn: (npns.) [MM]
a :100
b : 200
c :300
d : 80
e :400
f :480
g :100
h1:20(BvnaIOK2-b)
h2:60(Buipaok2-a)
Bara (tinbkn 6a3a): (npn6JI.) [Kr]
0,8
KoHCTpykui Ta texHiChi xapaKTePncTnKn MoKytb 6ytN 3mHehi 6e3 nonepdKeHHa.
| Улгий Немірі KD- | Илмек орны |
| 65X850☐C | a |
| 55X850☐C | b |
| 49X830☐C | |
| 43X830☐C | c |
![SONY KD-55XE8096 - Bara (tinbkn 6a3a): (npn6JI.) [Kr] - 1](/content/2024/12/187132/images/93d6c7c3b08a22343aeefc6098f4249796d3172d8f3ceae9e5eaf7669030cffd.jpg)
AДаNTop ① heri3iH (PSW 4x10)
① BypaHdaJIapbIMeH 2-a
TaHdIaJIFaH Ke3Je (20) A heri3iHe
6eKITy.
![SONY KD-55XE8096 - Bara (tinbkn 6a3a): (npn6JI.) [Kr] - 2](/content/2024/12/187132/images/7380fd6827f5de1cc51f9bbc1e48f4889c1a73765dc6d1070e36c703e2efca7c.jpg)
4 Tyfblpbl (20) @ opHaTy ywiH 6ypaHdaJapblH opHbIH aHbIKTaHbI3.
12-6eTTeri cinnattamajapdbi kappaHbI3.
2-a TaHdaIraH Ke3Je, ① AaIaTOp Heri3iHiH Tecik OphbIH naJaIaHbIbI3.
ECKEPTY
- TeneiIap opHaTbIaTbIH Ka6bIpa TeneiIap caImaTbIH aTe ece aybip cAncaKtB KeTepe anybi Tnic (CaImaTbIH TeKcepey yiwH TeneiIapdbIH AblkTaMaIbIK Hcckay 6nIMin KapaH3.).
- Teneiap 6ekitinen KaibipfahbH 6epikiri anhItaHbI. KaKet 6oNca, KaibipFaHb JxetkiNikTi Typde KyweTih3.
Ka6bIpFaTa TyfbIpIbI OPhaTy
-Диаметри 8 MMболаын He укас Tept
Hemece ODAнда КEN 6урандаНь
naiДаланыньИЗ (берлmereH).
- ① АдамТорьИньН Heri3Ihe Tept
6ураздалары (20) A Heri3imeH 6eKITiH3 (Tek 2-a).
TbyipdbI (20) A KaabipraFa KeJdeHeH etin opHaTbIHbI3.


TeJIeIuIapIbI opHaTyf aIbIHday
1 TepeiIapdbIH apTbIHdafbI 6ypaHdaIapdbI aIbIn TaCTaHbI3 (KD-65X850CfHa).

2 Ka6bIpfara opHaTaTbIn KPOHsTeH yWIn TIPkey 6eIWeKTePiN TIPKeHi3. 5-6eTTeri «BolweKTePi TeKcepY» 6eIIMiHderi «SU-WL450 KypblfbcImeH 6epiJIeI» TapMaftbH Kapay apKbIbMoHTaJdAy 6eIWeKTePiN TeKcepIi3.
Hyckay
- BékiTy bēnIeKTePiH bγpaHdIaIap apkblbMbIKTaN 6ekitih3.
3NeKtpbaybIbTb naIaIaNHaFaHa,aiHany 15 KKcM opHaTbHbI3. - PaniDanaHbIMaHaN 6eIWeKTeepi 6oJaWakTa naDanaHy yuH kayinci 0pBuHa cKaTah3. Byn HcKayblkTb 6oJaWakTa Kapay yuH cKaTah3.

CtahapTbI opHaTy (2-a)
XaKbIH opHaTy (2-b)
Hyckay
- OcbI opHaty CTNIH naiIaIaNy KeziHne TД-Дын apTKbI KaftbIHaIbI Kei6bp TepMNHaIapdIbI naIaIaNHy MmKIn EMec.


3 KaKeTTi KaBeJIbI (KaBeJIbIepeI) TeNeIuIapFa Jxanfay.
TeJeIaapbI Ka6bIpraF aOpHaTnac 6pybIH Ka6eIbIepiH XaIraHaFaHbIH TEKcepiH3.
TeJeIuapdbOpHaTkaHHaN KeiH Ka6eIbIepdiXaIrray MyMkiH 6oImaIbI. TeJeIuapMeH 6epJIeTIH AnbIKTaMaIbIK Hcckay 6eJIIMH KapaHbI3.
4 Ka6eJIb yCTaftbIshbIH (TeIeIiIapMeH 6ipre 6epiIrrHe) 6ocatbIbI3. (KD-55X850□C/ 49X830□C/43X830□C rHa)

5 Ka6eJIbIePdi 6yblHbI3.
KD-55X850□C/49X830□C/43X830□C yuin Kaebj ycTaBbIbH iki yanapdbH biiphe bekirihi3.

Eckey
Kabeldi Ka6bipra iimimen Kyypr3y KymblctapBH JInuH3n8cBb 6ap Meepirep KacaybKepek.
KaebIbIepDi Ka6bIpara 6ekITnc 6byhOnapdb6acbln KETnec yuH JauFaHaTbH Ka6bIepeDi XINHaB3.
6 TД-дан Yстел TуfbipbIH aXbipaTbIHbl3.

Ka6bipraFa TeIeIaIapIbI ophaty
1 TeNeiIapIbI Tyfblpfa opHaTy.
- ⅢKnBtepiH ⑧ Tyfblpda 6eKtiIenIh opHbI aHbIKay yuH 7-6eTteri «OpHaTbJaTbIH opbIHdbI aHbIKay» 6eJIIMiHderi 3-KaJaAMHbIH KeCTecIH KapaHbI3.
TeNeiIapBbEki KOnbHb36eH MbIKtan yCTan TeNeiIapDbH apTbHa 6ekITiIreH WKNBTEpDi caHbIaynapDbH KeckHiHe cKecTeHdipe OTbIPBn B Tyfblpa aKbIPbH 6ekITiH3.
TД-ды ka6bIpfaFa opHaTkaHHaн KeiH terepsiikTepeHerizre Hemece Herizri anaantepre 6ekem iinHreHdirih TeKcepini3.

2-a

2-b
ECKEPTY
KMybic ictey Ke3iHne eki Hemece OaH da Kaen aam Tepeuapbl YCTan Typybl KepeK.
2 TepeiIapdbIn TemeHri 6eJIirIH KblKbIn KeTyin 6oJbIpMay.
- BeNdiKti F anbIn, OHbl Ka6blpraFa MblkTan 6ekitih3.


-Диаметри5MMболатун HeMeceУКсac 6уразданыпайдалалыньз (БерIMergeH).
Eckepty
TeJeDnapdbIn anfapaKapai KblJbMaIbTHbIHbTekcepy yuH TeJeDnapdbIn TEmeHI6bnirH 33H3re Kaap aKbIPbH TaBPbN KePiH3. KblNtBbH bONca, dYpbic 6BeKITINMeR e BonFaHb XeHe 6enDiKi (F) kaTa b 6eKITIH3.
OpHaTydbIH aЯКТаЛFaHДbIfbIH Tekcepy
Keileceineperdi Tekcepini3.
Terepuiktep 8 Heri3re Hemece Herizri anaantepre anaantepihe 6ekem iinii.
-
CbIM MeH KaBebIb opaJImaFaH Hemece KbICbJIIMaFaH.
-
Beñidík F Mbiktan 6ekitirreH.
ECKEPTY
AinbImblTOKcbIMbHbHHeMeceT.6.KaTeOpHaIacybl KbcKa TynblTany caJapBbHaH eptTIH naJaDa bOnyblHa He mece TOKcFOy Kaynihe Ekenyi MymkiH.Ophaty XMybCTapbHbH Kayincidik TaanTapbHa cai OpbHdAnfahbHaKe3XeTki3iHj3.
BacaaknapaT
TeJeIaIapIaJIFaH Ke3Ie aeJIbIHfblOpHaTy npOeIypacbIH KepicHwe opbIHdaHbI3.

ECKEPTY
TepeuapbI aIfAH Ke3e eki HeMece OaH da KcI aam TeepuapbI yCTan TypyI KepeK.
TexHnkaIbIK cHaTaMaJaIapbl

Θηωεmθερε: (ωaMaMeH) [MM]
a :100
b : 200
c : 300
d : 80
e :400
f : 480
g : 100
h1:20(2-b typi)
h2:60(2-aTpyi)
ПростаІнструкція