KD-55XE8096 - Televisio SONY - Ilmainen käyttöohje ja opas
Löydä laitteen käyttöohje ilmaiseksi KD-55XE8096 SONY PDF-muodossa.
Lataa ohjeet laitteellesi Televisio PDF-muodossa ilmaiseksi! Löydä käyttöohjeesi KD-55XE8096 - SONY ja ota elektroninen laitteesi takaisin hallintaan. Tällä sivulla julkaistaan kaikki laitteidesi käyttöön tarvittavat asiakirjat. KD-55XE8096 merkiltä SONY.
KÄYTTÖOHJE KD-55XE8096 SONY
Asennustiedot Sonyn seinäasennuskiinnittimen (SU-WL450) käytämiseksi
Tuetut mallit:
KD-65X850*C/55X850*C/49X830*C/43X830*C
- Kyseisissä mallinimissä "□" tarkoittaa kunkin mallin numeroita ja/tai merkkejä.
Asiakkaille
Tuotteen suojelemiseksi ja turvallisuuden vuoksi Sony suosittelee, etta television asennus annetaan Sonyn jalleenmyyjän tai asiantuntevan huoltoliikkeen tehtäväksi. Ålå yritä asentaa sitä itse.
Sony-jällenmyyjille ja huoltolikkeille
Kiinnitä erityistä huomiota turvallisuuteen tämän tuotteen asennuksen, huollon ja tarkastuksen aikana.
Tämän tuotteen asentaminen edellyttä riittävä ammattitaitoa erityisesti sen märättemiseksi, kestaäkö seinä television painon. Tämän tuotteen seinäan asentaminen on jatettäv Sonyn jälleenmyyjän tai huoltolikkeen tehtäväksi ja asennuksen turvallisuuteen on kiinnitettä v riittävästi huomiota. Sony ei ole vastuussa mistään vahingosta tai vammoista, jotka johtuvat tuotteen väärastä käsittelystä tai asennuksesta.
Noudata turvallisuuden ja oikean asennuksen varmistamiseksi seinäasennuskiinnittimen käytöohjeita, television aloitusopasta ja tämän oppaan ohjeita.
Turvallisuus
Kiitos,ettaatostaa taman tuotteen.
Asiakkaille
Tāmān tuotteen asentaminen edellyttä
riittāvāa ammattaitoia. Asennus on
annettava Sony-jalleenmyyjān tai
valtuutetut ansentajan tehtavaksi, ja
turvallisuuteen to kinnitettāv erityistā
huomiota asennuksen aikana. Sony ei
ole vastuussa mistaān vahingosta tai
vammoista, jotka johtuvat tuotteen
vaarastä kāsittelysta tai asennuksesta tai
muun kuin māärītetyn tuotteen
asennuksta. Tāmā e vaikuta
(mahdollisīn) lakisaāteisiin oikeuksiis.
Sony-jalleenmyyjille
Tämän tuotteen asentaminen edellyttä
riittävää ammattitaitoa. Lue nämä käytööhje tuholeilesti, jotta asennus
voidaan suorittaa turvalliseti. Sony eie
ole vastuussa mistaan vahingosta tai
vammoista, jotka johtuvat tuotteen
vaärastä käsittelysta tai asennukseta.
Anna tämä käytööhje asiakkaale
asennksen jälkeen.
Tassä kāytööhjeessa kuvataan tuotteen oikeopainen kättielly sékä tärkeit varotoimet onnettoumuksien estamiseksi. Muista lukea tämö hejhe huollliseti ja kāyttaa tuotetaa oisein. Säyltä tämä kāytööhje tulevaa kāytöta varten.
Sonyn tuotteet on suunniltetu turvallusuutta ajatellen.Jos tuotteita kaytetaa värarin, seuraksena vo olla tulipalon, sahköskun, tuotteen kaatumisen tai putoamisen aiheuttama vakava henkilovavhinko. Huomioi turvallusuutta koskevat varotoimet tallaisten onnettutomuksien estamiseki.
VAROTOIMET
Märitetyt tuotteet
Tämä seinaasennuskiinnit on tarkoitettu käytetäväksi sille märätetytjen televisioniorden kanssa. Tarkista television viiteoppaasta, etta seinaasennuskiininita voidaan käytää.
Asiakkaille
VAROITUS
Jos seuraavia varotoimia ei noudateta, seurauktena voi olla tulipalon, sahköiskun tai tuotteenutoamisen aiheuttama vakava henkilovahinko tai kuolema.
Asennuksen saa suorittaa vain valtuutetty asentaja. Pidä lapset poissa asennusalueelta asennuksen aikana.
Jos seinaasennuskiinnitanta tai tevisiota ei asenneta oikein, seuraiksena voi ola seuraavat onnettomuudet. Muista jattaa asennus valtuutetun asentajan tehtavaki.
- Televisio saatta pudota ja aiheuttaa mustelmia, murtumia tai muunvakavan henkilovahingon.
- Jos seinā, johon.SEaennuskiinnit asennetaan, on epavakaa, epatasainen tai se ei ole kohtisuorassa lattiaan nahedyksikkə saattaa pudota ja alheuttaa henkilo-tai omaisuvsahingon. Seinān on pystyttāvā kantamaan vahintaan neljarkerta television poin. (Katso television poin sen viiteoppaasta.)
Josseinasennuskiininita e i ole asennettu seinalle tarpeksi teukevsti, yksikk saattaa pudota ja aiheuttta henkilo- tai omaisuhsvahingon.
Muista antaa television siirtäminen tai irrottaminen valtuutetun asentajan tehtäväksi.
Jos muut kuin valtuutetut asentavat kuljettavat tai irrottavat television, se saattaa pudota ja aiheuttta henkilö - tai omaisuusvahingon. Varmista, etta tevisiota kantamassa tai irrottamassa on vähintään kaksi henkilö.
Alä irrota ruuveja tms. television kiinnityksen jälkeen.
Jos nain tehdään, tevisio saattaa pudota ja aiheuttaa henkilö- tai omaisuusvahingon.
Älä tee muutoksia seinäasennuskiinnittimen osin.
Jos nain tehdaa,seinaaessnuskiinnit saattaa pudota ja aiheuttaa henkilio-tai omaisuvsahingon.
Alä asenna muita laitteita kuin märitelty tuote.
Tämä seinasennuskiinnin on tarkoitettu kaytettavaksi ainoastaan sille märiritetyn tuotteen kanssa. Jos asennat muun kuin märiritetyn laitteen, se saattaa pudota ja rikkoutua ja aiheuttaa henkilö- tai omaisuusvahingen.
Alä kohdista seinäsennuskiinnittimeen television lisäksi muuta kuormaa.
Alä ravista televisiota vasemmalle/oikealle tai ylos/alias.
Jos nain tehdään, televisio saattaa pudota ja aiheuttaa henkilö- tai omaisuusvahingon.
Alä nojaa tai riipu televisiosta.
Ala nojaa tai riipu televisionista, sillā se saattaa pudota ja aiheuttaa vakavan henkilovahingon.
VAROTOIMET
Jos seuraavia varotoimia e noudateta,
ausuksena voi olla henkilö- tai
omaisuusvahinko.
Älä käytä liikaa voimaa tuotteen puhdistuksen tai huollon yhteydessä.
Aïla paina television liäsvulta liialla voimalla. Jos nain tehdān, telesa saatta pudota ja aiheuttta henkilo- tai omaisuvshingon.
Varotoimet
- Jos.SEinasennuskiinnittimean asennettua televisionista kátetaa nptkaa,television takana tai ylapuolela oleva seinapinta voi varjäntyai tapetti irrota seinamateriaialista rippen.
- Jos seinaasennuskiinnit irrotetaan sensein ana ansentamisen jaldeen, seinaa ja ruuvirei.
Alä kaytayeinaseanusennuksiinittia paikkasa, johon kohdistuu mekaanista tärinnä.
Seinaasennuskiinnittimen asentaminen
Sony-jällenmyyjille
VAROITUS
Seuraavat ojheet ovat ainaostaan
Sony-jalleenmyjyille. Muista lukea edella
olev taurviliususvartoiemjt ka kiinnta
erityista huomiota taurvillisuuteen tamän
tuotteen asennuksen, houlton ja
tarkastukens aikana.
Älä asenna seinäsennuskiinnitintä seinäpintoihin, joissa television kulmat tai sivut ulkonevat seinäpinnasta.
Ala asenna seinasennuskiinnitanta
pylvaae seen tai vastaaviin seinpintoihin,
joissa television kulmat tai sivut ulkonevat
seinpinnasta. Jos henkiltoi esine osusu
television ulkonevaan kulmaan tai sivuun,
seurauktena vo iolla henkiltoi
omaisuusvahinko.

Alä asenna televisiota ilmastointilaitteen ylä- tai alapuolle.
Jos tevisio altistuu lmastointilaitteen venisvuodoille tai ilmaviralle pitkia aikoja, seurauktena voi olla tulipolo, sahkoksu tai television toimintahairio.
Muista asentaasinaasennuskiinnitintukevasti seinään tassä käyttohjeessaannettujen ohjeidenmukaisesti.
Jos jokin ruuveista on lóysälla tai pudonnut, meinasennuskiinnit saattaa pudota ja aiehuttaa henkilo- tai omaisuusvahong. Muista käyttae ainamateriaalille sopia ruuveja ja asenna yksikkö tekevasti vähintaan neljälla 8 mm:n ruuvilla (tai vastaavala).

Muista kayttä
toimitettuja ruuveja ja
kiinnitsosia oikein ja
noudata tassä
kayttöohjeessa
annettuja ohjeita. Jos
kaytät korvaavia osia,
televisio saattaa
pudota ja aiheuttaa
henkilovahingon tai
vahingoittaa
televisiota.
Muista koita kiinnitin oikein noudattamalla tassä käyttohjeessa selitettyä menetelmää.
Jos jokin ruuveista on lóysāllā tai pudonnut,
televisiona saattaa pudota ja aiheuttaa
henkilōvahingon tai vahingoitta telesiota.
Muista kiristää ruuvit kunnolla tarkoitettuihin kohtiin.
Jos nain ei tehdā, television saattaa pudota ja rikkoutua seka aiheuttaa henkilō-tai omaisuvsahingon.
Varo kohdistamasta television iskuja asennuksen aikana.
Jos televisionoon kohdistuuk isku,televisio saattaa pudota ja rikkoutukaSeattle aiheuttaa henkilo- tai omaisuvasvahong.
Televisio on asennettava seinään, joka on sekkohtisuora etta tasainen.
Jos nain ei tehdä, television saattaa pudota ja rikkoutua seksa aiheuttaa henkilö- tai omaisuvsahingon.
Kun tevisio on asennettu oikein, kiinnitä kaapelit kunnolla.
Jos henkilöitä tai esineita sotkeutuu
kaapeleihin, seurauktena saattaa olla
henkilövahinken tai television
vahingoittuminen.
Alä anna virtajohdon ja liitäntäkaapelin jäädä puristuksiin.
Jos virtajto tai liitantäkaapeli jā puristuksi iatteen ja seän vali tai niita taitetaan tai kierretäa voimalla, sisäiset johtimet voivat tulla nakyviin ja seurauksena on oikosuklu tai katkos. Tāma voi aiheuttaa tulipalon tai sahköiskun.

Seinäasennuskiinnittimen seinäiinnitykseen tarvittavat ruuvit eivatsisally toimitukseen.
Kätyseinamateriaalille ja -rakenteelle sopivia ruuveja, kun kiinnität seinässennusknitttinen.
Television asennus seinään
Asennusmenetelma vaihtelee eri teilevisioilla.
Käytä seinäasennuskiinnitintä SU-WL450 television asentamiseksi seinälle.
Huomautus
- Pane irrotetut ruuvit talteen turvalliseen paikkaan poislasten ulottuvila.
Asennuksen valmistelu
- Television viiteoppaan on oltava käsillä ennen asennusta.
- Hanki ennen kokoonpanoa valmiksi ruuveihin sopiva ristipääruv vitalta.
- Tarkista television asennuskohta.
- Pida valmiina vahintaan neljahalkaisijaltaan 8 mm:n ja yksi 5 mm:n ruvi tai vastaava (lisavaruste). Valitse seinamateriaalille sopivat ruuvit.
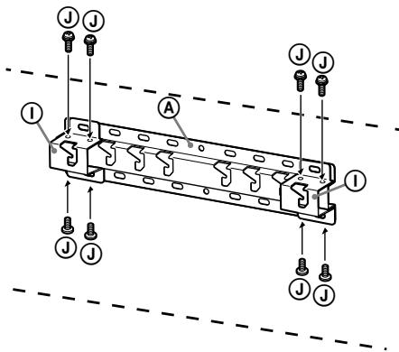
Osien tarkistaminen
Toimitetaan SU-WL450:n mukana
- Tarkista, etta kaikki osat on toimitettu.
| A Jalusta (20) (1) | B Hihnapyörä (2) |
| C PSW 6x20 (4) | D PSW 4x20 ja holkki (2) |
| E Välike (20) (2) | F Hihna (1) |
| G Holkki (20) (M4) (2) | H PSW 4x20 (2) |
| I Jalustan sovitin (2) | I PSW 4x10 (8) |
| K Välike (60) (2) | L PSW 6x50 (2) |
| M Holkki (M4) (2) | N PSW 4x50 (2) |
| O Seinäasennuskiinnike (S) (2) | P Välike (2) |
| Q Aluslevy (1) | R PSW 5x12 (1) |
Toimitetaan television mukana (kiinnitety taakse)

Asennuspaikan määrittäminen
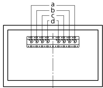
1 Määrität asennuspaikka.
Varmista, etcä seinä on riittävän iso teilevisiolle ja pystyy Kantamaan vähintään neljä kertaa television painon.
Katso seuraava taulukko television asentamiseksi seinälle. Katso television paino television viiteoppaasta.

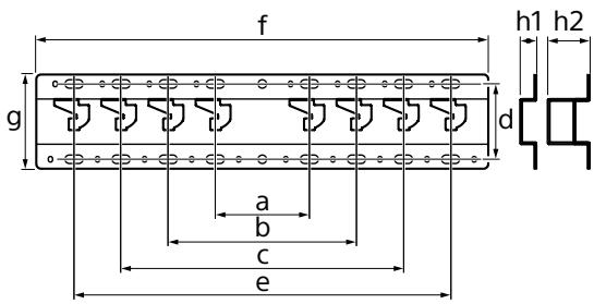
Yksikko: mm
| Mallinimi KD- | Näytönn mitat | Ruudun keskikohdan mitta | Asennuspituus | |||
| a | b | c | d | e | ||
| Normaali asennus | Kapea asennus | |||||
| 65X850□C | 1453 | 844 | 21 | 450 | 133 | 91 |
| 55X850□C | 1236 | 722 | 116 | 485 | 115 | 73 |
| 49X830□C | 1093 | 643 | 206 | 536 | 107 | 65 |
| 43X830□C | 961 | 568 | 191 | 483 | 107 | 65 |
Huomautus
- Taulukon arvot voivat vaihdella hieman asennuksen mukaan.
Jatā sopiva vāli television ja katon sekä** seinān esiintyontvien osien vāllä seuraavan kuvan mukaisesti.
Yksikkö: mm

-
Noudata seuraavia ohjeita asianmukaisen ilmanvaiahdon varmistamiseksi ja lian tai polyn keräntymisen estämiseksi:
-
Alä asenna televisiota takaosan varaan, ylosalaisin, takaperin tai sivuttain.
- Älä sijoita televisiota hylyn, maton tai vuoteen päälle tai kaappiin.
- Älä peitta telesiviota millään tekstiillä tai muilla vastaavilla, esimerkiki verhoilla tai sanomalehdillä jne.
- Alä asenna televisiota alla olevien kuvien mukaisesti.
Ilmankiero estynyt.

Huomautus
- Jos kaapeli on tarkoitus vetäa seinän sisälle, tee seinään reikä kaapeleille ennen asennuksen aloittamista.
Estäa kaapeleiden jäminen puristuksiin tekemällä seinaän reikä jalustan (20) A, Jalustan sovit ① ja valikkeen (20) E, valikkeen (60) K kehanulkopuolelle.
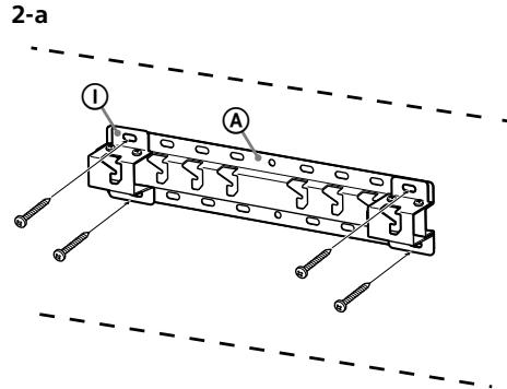
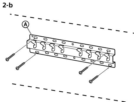
2 Valitse seinäasennustapa. Etäisyys TV:n takasivulta seinään voidaan valita seuraavasti.
2-a Vakiokiinnike
2-b Ohut kiinnike
Katso kohdan 1 taulukko.
VAROITUS
- Kun valitaan 2-b, pääsy takana olevin liittimiin on rajallinen.


3 Katso jalustan sovittimen kiinnityspaikka alla olevasta taulukosta. Jos valitaan 2-b, ohita tamä相关政策
| Mallinimi KD- | Koukun sijainti |
| 65X850☐C | a |
| 55X850☐C | b |
| 49X830☐C | |
| 43X830☐C | c |

Asenna jalustan sovitin ① ruuvilla (PSW 4x10) ① jalustaan (20) ④ , kun valitaan 2-a.

4 Määritätä ruuvien paikat jalustan (20) (A) asentamiseksi.
Katso tiedot sivulta 12.
Kun valitaan 2-a, käytä reikien paikkoja jalustan sovittimessa ①.
VAROITUS
- Seinän, johon tevisio asennetaan, on pystytävā kantamaan vähintään neljä kertaa television poin (Katso television poin sen viiteoppaasta.).
- Määrität seinänkestävyys, johon tevisio asennetaan.
Vahvista seinätarvittaessa riittävästi.
Jalustan asennus seinään
- Käytä vähintaan neljää halkaisijaltaan 8 mm:n tai vastaavaa ruuvia (lisävaruste).
- Asenna neljä ruuvia jalustan sovittimeen ① ja jalustaan (20) A (vain 2-a).
- Asenna jalusta (20) © seinään vaakasuorassa.


Television asennuksenvalmistelu
1 Irrota ruuvit television takaa (vain KD-65X850□C).

2 Kiinnitä seinäasennuskiinnittimen kiinnityssat. Tarkista kiinnityssat sivun 5 kappaleen "Osientarkistaminen" kohdan "Toimitetaan SU-WL450:n mukana" mukaisesti.
Huomautus
Kiinnitta kiinnityssosat tukevasti kayttamallruuveja.
- Jos kaytät sahköimista ruuvinvaanninta, valitse kiristysvoiman asetukseksi noin 1,5 Nm {15 kgf-cm}.
- Säilytä käytämättomät osat varmassa paikassa tulevaa käyttoä varten. Säilytä tamä käyttoöhje tulevaa käyttoä varten.

Normaali asennus (2-a)
Kapea asennus (2-b)
Huomautus
- Joitakin television takana olevia liitantöja ei voida käyttaa, kun käytetaan tata asennustapaa.


3 Liitä tarvittava(t) kaapeli(t) television.
Muista liittä kaapelit ennen television asennusta seinään. Kaapeleita ei voi liittä sen jälkeen, kun tevisio on asennettu. Katso television mukana toimitetu viiteopas.
4 Irrota johtopidike (toimitetaan television mukana). (vain KD-55X850□C/49X830□C/ 43X830□C)

5 Niputa kaapelit.
Kiinnitä malleissa KD-55X850□C/ 49X830□C/43X830□C johtopidike toiseen sisemmistä rei'istä.

Huomautus
- Jäta kaepelien vetäminen valtuutetun asentajan tehtäväksi.
- Niputa kaapelit ennen seinälle asennusta, ettei niiden pälä astuta.
6 Irrota poytajalusta televisiosta.

Television asenns seinaan
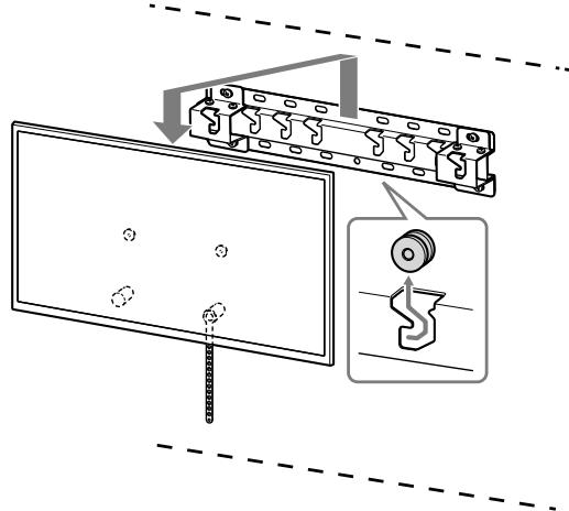
1 Asenna televisio jalustaan.
- Hihnapyörien (B) ripustuspaikka jalustassa, ks. vaiheen 3 tauukko "Asennuspaikan märittäminen" sivulla 7.
- Pidä tevisiosta tukevasti kiinn molemmilla käsillä ja ripusta television taakse kiinnitetyt hihnapyörät ⑧ jalustaan reikien muodon mukaisesti.
- Kun tevisio on asennettu seinään, tarkista, etta hihnapyörät ⑧ ovat kunnolla kiinni jalustassa tai jalustan sovittimessa.

2-a

2-b
VAROITUS
- Varmista, etta vahintaan kaksi henkilöä pitä kiinni televisiosta sen kantamisen aikana.
2 Television alaosan liikkumisen estäminen.
- Poista lóysat hihnasta (F) ja kiinnitā se tukevasti seinään.


- Käytä halkaisijaltaan 5 mm:n ruuvia tai vastaavaa (lisävaruste).
Huomautus
- Varmista yrittāmällä vetä television alaosaa hieman itseasi kohti, ettei se liiku uteenpään. Jos liikettā havaitaan, sitä ei ole kiinnitetty oikein ja hihna F on kiinnitettāvā tukevasti uudelseen.
Asennuksen tarkistaminen
Tarkista seuraavat kohdat.
- Hihnapyörät ⑧ on ripustetty kunnolla jalustaan tai jalustan sovittimeen.
- Johto ja kaapeli eivät ole kiartyeneenä tai puristuksissa.
- Hihna F on tiukalla eikä siinä ole lóysää.
VAROITUS
Virtajohdon jne. virheellinen sijoitus saattaa aiheuttaa tulipalon tai sahkoiskun oikosulun vuksi. Muista tarkistaa valmis asennus turvallisuuden vuksi.
Muuta tietoa
Televisio irrotetaan asennukseen nahden painvastaisessa järrestyksessä.

VAROITUS
- Varmista, etta vahintaan kaksi henkilöa pitä kiinni tevisiosta sen irrotuksen aikana.
Tekniset tiedot

Mitat: (noin) [mm]
a :100
b : 200
c :300
d :80
e :400
f :480
g :100
h1 : 20 (tapaus 2-b)
h2 : 60 (tapaus 2-a)
Paino (vain jalusta): (noin) [kg]
0,8
Rakennetta ja teknisä ominaisuksia voidaan muuttaa ilman ennakoilmoitusta.
Mnv tonotheite tnv tnaopao n enavw n katao ooukeuec klaatioou.
Eav n tLeopao npapaeivekTeeEvn
o diappo nevo np Eaepa aepa aio
oukeun kuaatouo ia yevalo xovik
biatnua, evexetal na pokanthei
tpukayia, nKetponlnei nduoletupvia
tnc, tnLeopao.
EykataoTnOte Tnv
Enitoixia bao n oTaeP
otov toixo,
akolouwvtac tic
oNyie c nou npexovtal
tO npov Evxelipidio
oNiywv.
Se nepiTTwON eepiknC n nnpouc
xaapwn cTuv Bi6uv, ev6exetva
tpoknthei Twn Tnc EIntoixiaBacn C
ouveTeia tpaunatiooN uukiec Znueic
Xpaoutonoiote kataaAnae Bilec
avaloya ME TO ULKO KATAOKEUNC TO
touk AkyAATAOTNE Tnvovadae M
oafaleia XnpoiIOWvTAC Teoepeic n
peipooTepec Bi6e diuEpou 8 mm (n
10oobvamec).

Xpnoiopoionte tic
biocnou npexovtai
oTn ouokceuaia,
kaowc kai ta
ouvdeikac eapntmuata
oumuomega a e Tc
odnyiec nou
npexovtaoiTO npov
eyxipidio.Eav
XpnoiopoioneTe
UOKaTaoTata
Eapntmuata, evexetai
va pokkNthei TTWO
tns tnLepaonC ME
ouvENEIA
tpauatiooouc n
ulikec Znmuic stnv
tnLepaon.
Sigma 0ooynt owt a ta eapntnata tou otnpiymuotc, akolouwvtac tn diakia nou npypaefetai oTo npov evxepidio odnyiw.
EeepiTwnmepiknncnpiPouc
Xaaapownctnoosphiencn e kantoia ano
ticBic,evdexetai vnpoknthetai Ptwn
tns nleopaocneuoveneia
tpauatiooucn c nmua stny tnleopoaon.
Seda tehes voib teler kukkuda ja tekitada vigastusi voi varalist kahu.
Argethek seinakinnituse osadele muudatusi.
Seda tehes voib seinakinnitus kukkuda ja tekitada vigastusi voi varalist kahu.
Vaadake teleriga komplektis olevat viitejuhti.
4 Eemaldage kaablihoidja (komplektis teleriga).
(Ainult KD-55X850□C/49X830□C/43X830□C)

5 Siduge kaablid klambriga kokku. KD-55X850□C/49X830□C/43X830□C korral kinnitage kaablihoidja ühte siseaukudest.

Markus.
- Kasutage 5 mm labimöðduga kruvi vöi samavärset (ei kuulu komplekti).
Markus.
Disaini ja tehnilisi andmeid voidakse muuta ilma etteateamata.
yhy ynnn,ynyn on .yhyy nynny
nnuuunnuuunnuuunnuuunnuuunnuuuu
nyn by nnnbON
,
.0y
nppnnn
wyn nn nwn ynt, npnnn 0
P
.
.
8 8 8 8
5 1
y
1

y:n
HelppoOhje