SB435HD - Aspirateur STIGA - Notice d'utilisation et mode d'emploi gratuit
Retrouvez gratuitement la notice de l'appareil SB435HD STIGA au format PDF.
| Type d'appareil | Aspirateur robot |
| Alimentation | Rechargeable, batterie intégrée |
| Autonomie | Non précisé |
| Temps de charge | Non précisé |
| Capacité du réservoir | Non précisé |
| Modes de nettoyage | Automatique, spot, bordure |
| Navigation | Non précisé |
| Détection d'obstacles | Oui |
| Détection de vide | Oui |
| Filtration | Filtre HEPA ou équivalent |
| Niveau sonore | Non précisé |
| Commandes | Manuelles et télécommande |
| Dimensions | Non précisé |
| Poids | Non précisé |
| Accessoires inclus | Brosses latérales, station de charge |
| Garantie | Non précisé |
FOIRE AUX QUESTIONS - SB435HD STIGA
Questions des utilisateurs sur SB435HD STIGA
0 question sur cet appareil. Repondez a celles que vous connaissez ou posez la votre.
Poser une nouvelle question sur cet appareil
Téléchargez la notice de votre Aspirateur au format PDF gratuitement ! Retrouvez votre notice SB435HD - STIGA et reprennez votre appareil électronique en main. Sur cette page sont publiés tous les documents nécessaires à l'utilisation de votre appareil SB435HD de la marque STIGA.
MODE D'EMPLOI SB435HD STIGA
EB Débroussailleuse - MANUEL D'UTILISATION
ATTENTION:IRE attentivement le manuel avant d'utiliser cette machine.
Modèle “MONO” od 5,3 do 7,1 kg
Modèle "DUPLEX" od 5,5 do 8,2 kg
Nous tenons avant tout à vous remercier de la préférence que vous avez accordée à nos produits, et nous souhaiont que votre machine vous réserve de grandes satisfactions et réponde pleinement à vos attentes. Ce manuel a été rédigé dans le but de vous permettre de bien connaître toute machine et de l'utiliser en toutes conditions de sécurité et d'efficacité; n'oubliez pas qu'il fait partie intégrante de la machine, tenez-le à portée de main pour le consulter à tout moment, et le jour où vous devriez céder ou préter la machine à quelqu'un, rappelez-vous de lui donner aussi ce manuel.
Cette nouvelle machine a ete conque et fabriquee conformement aux normes en vigueur, et elle ne sera fiable et sure que si yous lutilsez dans le plein respect des indications contenues dans ce manuel (usage prevu); toute autre utilisation, ou le non respect des normes de securite lors de l'utilisation, de I'entretien et de la reparation qui sont indiquees dans le manuel, sont considere s comme un "employ imprope": dans ce cas, la garantie perd tout effet et le fabricant decline toute responsabilité, en laissant a la charge de I'utiliseur les conséquences des dommages ou des lésions causés a lui-meme ou a autreui.
Si vous deviez trouver de légères différences entre la description donnée et la machine en votre possession, tenez compte du fait que, dans le cadre de l'amélioration continuelle du produit, les informations contenues dans ce manuel sont sujettes à des modifications sans aucun préavis ni obligation de mise à jour, sans toute fois que soient remises en cause les caractéristiques essentielles de sécurité et de fonctionnement. En cas de doute, contactez votre revendeur. Bon travail!
SOMMAIRE
- Identification des pieces principales 2
- Symboles 3
- Prescriptions de sécurité 4
- Montage de la machine 6
- Préparation au travail 8
- Demarrage - Utilisation- Arrêt du moteur 9
- Utilisation de la machine 11
- Entretien et conservation 14
- Localisation de pannes 16
- Données techniques 17
1. IDENTIFICATION DES PIECES PRINCIPALES
PIECES PRINCIPALES
- Ensemble moteur
- Tube de transmission
- Dispositif de coupe
a. Lame à 3 ou 4 pointes
b. Tête à fil
- Protection du dispositif de coupe
- Poignée avant
- Protection
- Guidon
- Poignée arrête
- Point d'attache (du harnais)
- Étiquette matricule
- Harnais
a. à une seule sangle
b. à deux sangles
- Renvoi angulaire
- Protection lame (pour le transport)
- Bougie
COMMANDES ET PLEIN DE CARBURANT
- Interrupteur d'arrêt du moteur
- Commande d'accelérateur
- Blocage de l'accéléateur
- Lanceur
- Commande du starter (s'il y en a un)
-
Commande du dispositif d'amorçage (Primer) (s'il y en a un)
-
Bouchon du réservoir de carburant
- Bouchon de l'huile
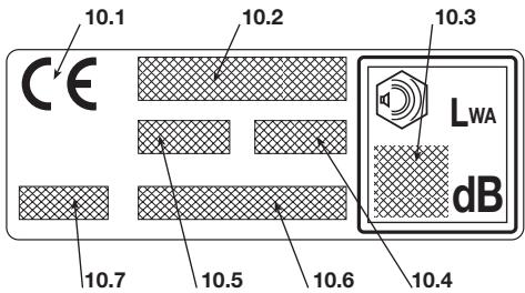
ÉTIQUETTE MATRICULE
10.1) Marquage de conformité, selon la directive 98/37/CE
10.2) Nom et adresse du fabricant
10.3) Niveau de puissance acoustique LWA selon la directive 2000/14/CE
10.4) Modèle de référence du fabricant
10.5) Modèle de machine
10.6) Numéro de série
10.7) Année de construction



“MONO”

"DOUBLEX"

2. SYMBOLS









1) Attention! Danger. Cette machine, si elle n'est pas utilisée correctement, peut être dangereuse pour vous-même et pour les autres.
2) Lire le manuel d'instructions avant d'utiliser la machine.
3) L'opérateur préposé à cette machine, si elle est utilisée en conditions normales pour un usage quotidien continu, peut être exposé à un niveau de bruit égal ou supérieur à 85 dB (A). Utiliser des protections acoustiques et porter le casque de protection.
4) Porter des gants et des chaussures de sécurité!
5) Danger de projections! Pendant l'emploi de la machine, éloigner toute personne ou tout animal domestique d'au moins 15 mètres!
6) Ne pas employer de lames en scie circulaire. Danger: L'utilisation de lames en scie circulaire avec des machines qui portent ce symbole expose leur utilisateur à un risque de léasons très graves ou même mortelles.
7) Vitesse maximum du dispositif de coupe. N'utiliser que de dispositifs de coupe adequats.
8) Indication de niveau de puissance acoustique LWA selon la directive 2000/14/CE.
SYMBOLES EXPLICATIFS SUR LA MACHINE (si présents)

11) Reservoir carburant
12) Positions de l'interru pteur d'arrêt du moteur a = arrêt b = marche

16) Position correcte de la poignee sur le tube de transmission
SYMBOLES EXPLICATIFS SUR LES PROTECTIONS (si Presents)



21) Dispositifs de coupé pour les-quels la protection est ajustée
22) À employer avec la tête à fil
23) Sens de rotation du dispositif de coupe
3. PRESCRIPATIONS DE SECURITÉ
A) FORMATION
1) Lire attentivement les instructions. Se familiariser avec les commandes et avec l'utilisation appropriée de la machine. Apprende à arrer le moteur rapidement.
2) Utiliser la machine dans le but auquel elle est destinée, c'est-à-dire
- la coupe de l'herbe et de la végétation non ligneuse, au moyen d'un fil de nylon (ex. aux bords des parterres, des plantations, des murs, des clôtres, ou des espaces verts ayant une surface limitée, pour parachéver la coupe effectué par une faucheuse);
- la coupe d'herbes hautes, de broussailles, de petites branches et d'arbustes ligneux ayant un diamètre inférieur à 2 cm, avec des lames en métal ou en plastique.
Toute autre utilisation peut s'avérer dangereuse et entrainer une détiération de la machine.
3) Ne jamais permettre d'utiliser la machine à des enfants ou à des personnes qui n'ont pas la connaissance nécessaire des instructions d'emploi. La reglementation locale peut fixer un âge minimum pour l'utiliser.
4) La machine ne doit pas etre utiliser par plus d'une personne.
5) Ne jamais utiliser la machine:
- si des personnes, particulièrement des enfants, ou des animaux se trouvent à proximité;
- si l'utilisateur est en conditions de fatigue ou de malaise, ou s'll a pris des médicaments, des drogues, de l'alcool ou des substances nocives pour les capacités de réflexes et d'attention;
- si l'utiliseur n'est pas en mesure de tener fermement la machine avec deux mains, et/ou de rester solidement en équilibre sur ses jambes pendant le travail.
6) Gardner à l'esprit que l'opérateur ou l'utilisateur est responsable des accidents et des risques encourus par autreu ou par ses biens.
B) PREPARATIONS
1) Pendant le travail, il faut porter des vêtements adaptations, qui ne constituent aucune gène pour l'utilisateur.
- Porter des habits de protection adhérents, équipés de protections contre les coupures.
- Porter un casque, des gants, des lunettes de protection, des demi-masques antipoussière, et des chaus-sures de protection contre les coupures, avec une semelle antidérapante.
- Utiliser le serre-tête pour protéger l'ouïe.
- Ne porter aucune écharpe, aucune blouse, colliers ni accessoires pendants ou larges qui pourrait se prendre dans la machine ou dans des objets ou des matérieliaux qui se trouvent sur l'endetroit où l'on travaillée.
- Serrer ajustement les cheveux longs.
2) ATTENTION: DANGER! L'essence est hautement inflammable:
- conserver le carburant dans des recipients spécialement prévus et homologues pour cet usage;
- ne jamais fumer quand on manipule le carburant;
- ouvrir lentement le bouchon du réservoir, en laissant diminuer progressivement la pression interne;
- ne replir de carburant qu'en plein air, et en utilisant un entonnoir;
- ajouter de l'essence avant de démarrer le moteur et ne jamais enlever le bouchon du réserve de carburant ou faire le plein lorsque le moteur est en fonctionnement ou tant qu'il est encore chaud;
- ne pas faire demarrer le moteur si de l'essence a eté répandue; éloigner la machine de la zone où le carburant a eté renversé, et éviter de creator toute possibilité d'incendie tant que le carburant ne s'est pas evaporé et que les vapeurs d'essence ne se sont pas dissipées;
- nettoyer immediatement toute trace d'essence eventuellement versée sur la machine ou sur le terrain;
- ne jamais remetre la machine en marche à l'endroit où l'on a fait le plein de carburant;
- éviter tout contact du carburant avec les vêtements; si les vêtements ont été tachés il faut les changer avant de faire demarrer le moteur;
- remetre et serrer correctement les bouchons du réservoir et du recipient.
4) Remplacer les silencieux défectueux ou endommas. gés.
5) Avant l'emploi, proceder à un contrôle général de la machine, et en particulier: - le levier de l'accelérer et le levier de sécurité doit bouger librement, sans besoin de force, et au relachement ils doivent returner automatiquement et rapidement dans la position neutre;
- le levier de l'accelérateur doit rester bloqué tant qu'on n'appuie pas sur le levier de sécurité;
- l'interrupteur d'arrêt du moteur doit passer facilement d'une position à l'autre;
- les cables électriques, et en particulier le fil de la bougie, doivent être intacts, pour éviter de faire des étincelles, et le capuchon doit être monté correctement sur la bougie;
- les poignées et les protecteurs de la machine doivent être propres et secs, et solidement fixés à la machine;
- les dispositifs de coupe et les protections ne doivent jamais être endommagés.
6) Vérifier que les poignées et le point d'attache du barnais sont correctement positionnés, et que la machine est bien équilibrée.
7) Avant de commencer le travail, vérifier que toutes les protections sont adequates pour l'util de coupe utilisé, et qu'elles sont correctement montées.
8) Inspector minutieusement toute la zone de travail, et eliminer tout objet externe qui pourrait être projeté par la machine ou endommager le groupe de coupe et le moteur (cailloux, branches, fils de fer, os, etc..).
C) PENDANT L'UTILISATION
1) Ne pas faire fonctionner le moteur dans un endroit confiné où les gaz nocifs contenant du monoxyde de carbone peuvent s'accumulier.
2) Travailler uniquement à la lumière du jour ou avec une luzière artificielle ajuste.
3) Prendre une position ferme et stable:
- autant que possible, éviter de travailler sur le sol mouillé ou glissant, ou de toute façon sur des terrains
trop accidentés ou en pente, qui ne garantiraient pas la stabilité de l'opérateur pendant son travail;
-
ne jamais couir, mais marcher et faire attention aux irrégularités du terrain ainsi qu'à la présence d'obstactes évventuels;
-
évaluer les risques potentiels du terrain à travailler et prendre toutes les précautions nécessaires pour assurer sa sécurité en particulier dans les pentes, sur les sols accidentés, glissants ou instables.
-
Sur les côtes, travailler transversalement à la pente, jamais en montant ou en descendant; se tener jusqu'à deux jours en aval du dispositif de coupe.
4) Vérifier que la machine est solidement bloquée avant de faire démarrer le moteur:
-
faire demarrer le moteur à au moins 3 mètres de l'endroit où l'on a fait le plein d'essence;
-
vérifier que les autres personnes se trouvent à au moins 15 mètres du rayon d'action de la machine, ou à au moins 30 mètres pour les travaux de fauchage les plus gros;
-
ne pas diriger le silencieux, et donc les gaz d'éché-pement, vers des matières inflammables:
5) Ne jamais modifier les réglages du moteur, ni ne mesure le moteur en surégime.
6) Ne pas soumettre la machine à des efforts excessifs, et ne pas utiliser une petite machine pour exécuter de gros travaux; le fait d'utiliser une machine de dimensions adéquates réduit les risques, et améliore la qualité du travail.
7) Contröler que le régime de minimum de la machine est tel qu'il ne permet aucun mouvement du dispositif de coupe, et que, après une accelération, le moteur returne rapidement au régime minimum.
8) Faire attention à ne pas hourter violament la lame contre des corps étrangers et aux projections possibles de matériel, causées par le glissement des lames.
9) Pendant le travail tenir toujours la machine accroche au harnais.
10) Arrêter le moteur:
- toutes les fois que la machine doit être laissée sans surveillance.
- avant de faire le plein de carburant.
- pendant les déplacements d'une zone de travail à une autre.
11) Arrête le moteur et débrancher le fil de la bougie: - avant toute opération de vérification, de nettoyage ou de réparation de la machine;
- duprés avoir heures un objet étranger. Vérifier si la machine est endommagée, et effectuer les réparations nécessaires avant de l'utiliser à nouveau;
- si la machine commence à vigorer de manière anomale: dans ce cas, rechercher immédiatement la cause des vibrations, et y remédier;
- quand on n'utilise pas la machine.
D) ENTRETIEN ET STOCKAGE
1) Maintenir tous les écrous et vis serrés afin d'assurer des conditions d'utilisation sûres. Un entretien régulier est essentiel pour la sécurité et le maintain du niveau des performances.
2) Ne jamais entreposer la machine avec du carburant dans le réserve dans un local où les vapeurs d'essence pouraient atteindre une flamine, une étincelle ou une forte source de chaleur.
3) Laisser le moteur refroidir avant de ranger la machine dans un local quelconque
4) Pour réduire les risques d'incendie, maintainir le moteur, le silencieux d'échévement, et la zone de stockage de l'essence absolument propres de tous résidus de sciage, de brindilles, feuilles ou graisses en excès; ne pas laisser les conteneurs à l'intérieur d'un local avec les déchets de la coupe.
5) Si le réserve de carburant doit être vidange, effectuer cette opération à l'extérieur et lorsque le moteur est froid.
6) Pour toute opération sur le dispositif de coupe, porter des gants de travail.
7) Ne pas utiliser la machine avec des pieces endommagées ou usées, pour des raisons de sécurité. Les pieces endommagées doivent être replacées, jamais réparées. N'utiliser que des pieces de rechange d'origine. Des pieces de qualité non équivalente peuvent endommager la machine et nuir à votre sécurité. Les outils de coupe doivent toujours porter la marque du producteur, ainsi que la différence à la vitesse d'utilisation maximum.
8) Avant d'entreposer la machine, vérifier qu'on a enlevé les clés ou les outils utilisés pour l'entretien.
9) Entreposer la machine hors de la portée des enfants
1) Chaque fois qu'il est nécessaire de déplacer la machine ou de la transporter, il faut:
- éteindre le moteur, attendre l'arrêt du dispositif de coupe, et démonter le capuchon de la bougie;
appliquer la protection du dispositif de coupe;
- saisir la machine uniquement par les poignées, et orienter le dispositif de coupe dans la direction contraire au sens de la marche.
2) Quand on transporte la machine dans un camion, il faut la positionner de façon qu'elle ne constitue aucun danger pour personne, et la bloquer solidement pour éviter qu'elle ne se reversse, ce qui pourrait l'abimer ou provoquer une fuite de carburant.
F) COMMENT LIRE LE MANUEL
Dans le texte de ce manuel, certains paragraphs qui contiennent des renseignements particulièrement importants sont mis en evidence par différentes par-les; voici leur signification:
REMARQUE
ou
IMPORTANT
Ajoute des précisions ou d'aut-
res éléments à ce qui vient d'être indiqué afin d'éviter d'endommager la machine ou de causeurs des dommages.
ATTENTION!
Possibilité de lésions à l'utili
sateur ou à autreui en cas de non respect des consignes.
DANGER!
Possibilité de lesions graves à
l'utilisateur ou à autreui, et danger de mort, en cas de non respect des consignes.
4. MONTAGE DE LA MACHINE
IMPORTANT
La machine est fournie avec
certaines pieces démontées, et avec le réservoir du carburant vide
ATTEMPTION!
Il faut toujours porter des
gants de travail résistants pour manipuler les dispositifs de coupe. Faire le maximum d'attention quand on monte les pieces, pour ne pas comprometter la sécurité ni l'efficacité de la machine; en cas de doutes, contacter le revendeur.
1. MONTAGE COMPLET DE LA MACHINE
1a. Modèles “MONO”
- Modèle 28 (Fig. 1)
ATTENTION!
L'écarteur (1) a pour but de
garantir une distance minimale entre la poignée arrêté et la poignée avant, cela pour garantir la sécurité. Cét ecarteur doit tout jours être present ; il ne faut jamais le modifier, de chaque façon que ce soit.
- Devant l'écarteur (1) monter la poignée avant (2) sur le tube de transmission (3), en utilisant les vis (4) et les écrous (5) insérés dans les logements prévus.
- Avant de serrer les vis (4), orienter correctement la poignée par rapport au tube de transmission.
- Serrer à fond les vis (4).
- Modèle 38 (Fig. 2)
- Monter la poignée avant avec la protection (1) sur le carénage en plastique (2), en serrant les vis à fond (3).
1b. Modèle "DUPLEX"
- Modèle 28 (Fig. 3)
- Insérer le guidon (1) dans le logement prévu dans le support (2), qui se trouve sur le tube de transmission (3), en veillant à ce que les commandes soient à droite.
-
Monter le couvercle supérieur (4), en serrant à fond les vis (5).
-
Le support (2) est déjà prémonté sur le tube de transmission (3), de façon que le bord soit positionné en correspondance avec la flèche (6) de l'étiquette; cette position ne doit jamais être modifiée.
- Modèle 38 (Fig. 4)
- Dévisser le pommeau central (1) et enlever le couvercle supérieur (2).
- Insérer le guidon (3), en veillant à ce que les commandes se trouvent à droite.
- Orienter le guidon dans la position de travail la plus comfortable, et le bloquer avec le couvercle supérieur (2) et le pommeau (1).
2. MONTAGE DES PROTECTIONS
ATTENTION!
Chaque dispositif de
coupe est muni d'une protection spécifique. Ne jamais utiliser de protections différentes de celles qui sont indiquées pour chaque dispositif de coupe.
Lame à 3 ou 4 pointes (Fig. 5)
ATTENTION!
Porter des gants de sécurité protection de la lame.
- Démoner la lame (si montée) comme indiqué au paragraph 3.
-La protection (1) est fixe sur le renvoi angu laire (2) par deux vis (3).
- Tête à fil (Fig. 6)
ATTENTION!
Quand on utilise la tete à
fil, il faut toujours que la protection supplémentaire, avec couteau coupe-fil, soit montée.
- Démonter la lame (si montée) comme indiqué au paragraph 3
-La protection (1) est fixe sur le renvoi angu laire (2) par deux vis (3). - Monter la protection supplémentaire (4) en insérant les accrochages dans les logements respectifs de la protection (1) et en appuyant jusqu'au déclic.
3. DEMONTAGE ET MONTAGE DES DISPOSITIONTIFS DE COUPE
ATTENTION!
ATENTION! N'utiliser que des dispos- tifs de coupe originaux ou homologues par le Fabricant.
Lame à 3 ou 4 pointes
ATTENTION!
ATTENTION! Porter des gants de sécurité et appliquer la protection de la lame.
a) Modèle 28 (Fig. 7)
REMARQUE
L'ecrou du bac (4) a un filet
tournant à gauche, il faut donc le dévisser dans le sens des aiguilles d'une montre et le visser dans le sens contraire aux aiguilles d'une montre.
- Insérer la clé fournie (2) dans le trou prévu du renvoi angulaire (3), et faire tourner la lame (1) à la main jusqu'à ce que la clé s'engage dans le trou interieur, ce qui bloque la rotation.
- Enlever le bac (4), en dévisant l'écrou dans le sens des aiguilles d'une montre.
- Enlever la bague externe (5) et enlever la lame (1).
Au moment du montage:
- Vérifier que les rainures de la bague interne (6) s'accouplent parfaitement avec le renvoi angulaire (3).
- Monter la lame (1) et la bague externe (5).
- Remonter le bac (4), en le serrer à fond dans le sens contraire aux aiguilles d'une montre.
- Enlever la clé (2) pour rétablit la rotation de la lame.
b) Modèle 38 (Fig. 8)
REMARQUE
La vis du bac (4) a un filet
tournant à gauche, il faut donc la dévisser dans le sens des aiguilles d'une montre et la visser dans le sens contraire aux aiguilles d'une montre.
- Insérer la clé fournie (2) dans le trou prévu du renvoi angulaire (3), et faire tourner la lame (1) à la main jusqu'à ce que la clé s'engage dans le trou interieur, ce qui bloque la rotation.
- Enlever le bac (4), en dévissant la vis centrale
Dans le sens des aiguilles d'une montre.
- Enlever la bague externe (5) et enlever la lame (1).
Au moment du montage:
- Vérifier que les rainures de la bague interne (6) s'accouplent parfaitement avec le renvoi angulaire (3).
- Monter la lame (1) et la bague externe (5).
- Remonter le bac (4), en le serrer à fond dans le sens contraire aux aiguilles d'une montre.
-
Enlever la clé (2) pour rétablit la rotation de la lame.
-
Tête à fil (Fig. 9)
REMARQUE
La tete à fil a un filet tournant
à gauche, il faut donc la dévisser dans le sens des aiguilles d'une montre et la visser dans le sens contraire aux aiguilles d'une montre.
- Insérer la clé fournie (2) dans le trou prévu du renvoi angulaire (3), et faire tourner la tête à fil (1) à la main jusqu'à ce que la clé s'engage dans le trou interieur, ce qui bloque la rotation.
- Enlever la tête à fil (1 ou 1a) en la dévisant dans le sens des aiguilles d'une montre.
Au moment du montage:
- Vérifier que les rainures de la bague interne (4) s'accouplent parfaitement avec le renvoi angulaire (3).
- Monter la tete à fil (1) en la vissant dans le sens contraire aux aiguilles d'une montre.
-
Enlever la clé (2) pour rétablit la rotation de l'arbre.
-
Lame en scie (si autorisée)
ATTENTION!
Il est interdit d'utiliser des
lames en scie sur les machines marquées par le symbole prévu (voir chap. 2 n^6 ).
Pour monter la protection et la lame en scie, suivre les instructions qui sont fournies avec cet accessoire.
5. PREPARATION AU TRAVAIL
VERIFICATION DE LA MACHINE
Avant de commencer le travail il faut:
- contrôle qu'il n'y ait sur la machine et sur le dispositif de coupe aucune vis desserrée;
- contrôle que le dispositif de coupe n'est pas endommagé, et que les lames métalliques à 3 ou 4 pointes (si montées) sont bien affuétées;
- contrôler que le filtré de l'air est bien propre;
- contrôle que les protecteurs sont bien fixés et efficaces;
- contrôler la fixation des poignées.
CARBURANTS ET LUBRIFIANTS
Cette machine est équipée d'un moteur à quatre temps qui N'a besoin d'AUCUN ajust d'huile dans l'essence.
IMPORTANT
Ajouter de I'huile à l'essence
abîme le moteur et compte la déchéance de la garantie.
IMPORTANT
Il ne faut utiliser que des car
burants et des lubrifiants de qualité, pour maintainir les performances et pour garantir la durabilité des organes mécaniques.
- Caracteristiques de l'essence
Utiliser exclusivement de l'essence sans plomb (essence verte), ayant un nombre d'octane non inférieur à 90 N.O.
IMPORTANT
L'essence verte a tendance à
créer des dépôts dans le réservoir si on la conserve pendant plus de 2 mois. Utiliser jours de l'essence fraîche!
DANGER!
L'essence est inflammable!
- Conserver l'essence dans des recipients homologues pour carburants, dans des endroits surs, loin de toute source de chaleur ou de flames libres.
- Ne jamais laisser les conteneurs à la portée des enfants.
- Caracteristiques de l'huile
Employer uniquement de l'huile d'excellente qualite, specifie pour les moteurs a quatre temps, hautement detergente, avec classification SF-SG et viscosite SAE10W30.
IMPORTANT
Utiliser une huile non déter
gente, inadéquate ou ayant des caractéristiques différentes de celles qui sont indiquées, abîme le moteur et entraîne la déchéance de la garantie.
Chez votre revendeur sont disponibles des hui-les spécialement étudiées pour ce type de moteur, en mesure de garantir une haute protection et une efficacité durable du moteur.
APPROVISIONNEMENT EN CARBURANT
DANGER!
Ne pas fumer pendant le
plein, et éviter d'inhaler des vapeurs d'essence.
ATTENTION!
Ouvrir avec précaution le
bidon, car il pourrait s'être formé de la pression à l'intérieur du bidon.
Avant d'exécuter le replissage:
- Placer la machine à niveau, dans une position stable, avec le bouchon du réservoir vers le haut.
- Nettoyer le bouchon du réservoir et la zone autour, pour éviter d'introduire des saletés pendant le remplissage.
- Ouvrir avec précaution le bouchon du réservoir pour décharger progressivement la pression. Executer le replissage avec un entonnoir, en évitant de replir le réservoir jusqu'à ras bord.
ATTENTION!
Refermer tous le bou
chondu réservoir,enleserrantafond.
ATTENTION!
Nettoyer tout de suite
toute trace d'essence eventuèlement versée sur la machine ou sur le terrain, et ne pasmettre en marche le moteur tant que les vapeurs d'essence ne se sont pas dissoutes.
REMLISSAGE DE L'HUILE (Fig.10)
IMPORTANT
Ne pas faire demarrer le
mateur et ne pas utiliser la machine si le niveau de l'huile n'est pas suffisant.
Pour contrôle le niveau d'huile:
- Placer la machine à niveau, dans une position stable, avec le bouchon du réservoir vers le haut.
- Dévisser le bouchon du réservoir et vérifier que le niveau de l'huile arrive au fil du goulot de replissage.
La capacité du réservoir de l'huile est de 80 cc (Modèle 28) ou bien de 100 cc (Modèle 38).
6. DEMARRAGE - UTILISATION - ARRET DU MOTEUR
DÉMARRAGE DU MOTEUR
ATTENTION!
Le démarrage du moteur
doit se faire à une distance d'au moins 3 metres de l'endroit où l'on a effectué le replissage de carburant.
Avant de démarrer le moteur:
- Disposer la machine en position stable sur le terrain.
- Enlever la protection de la lame (si employee).
- Vérifier que la lame (si employée) ne touche ni le terrain ni d'autres objets.
- Demarrage à froid
REMARQUE
Par démarrage à “ froid ” on
entend le démarrage que l'on effectue au moins
5 minutes après l'arrêt du moteur, ou bien après un plein de carburant.
Pour démarrer le moteur (Fig. 11):
- Pousser l'interrupteur (1) dans la position «START».
- Actionner le starter, en tournant le levier (5) en position «CLOSE».
- Presser le poussoir du dispositif d'amorçage (primer) (6) 3-4 fois pour facilititer la mise en fonctionnement du carburateur.
- Tenir fortement la machine sur le terrain avec une main sur l'ensemble moteur, pour ne pas perdre le contrôle pendant le démarrage (Fig. 12).
IMPORTANT
Pour éviter des déforma-
tions, il ne faut jamais utiliser le tube de transmission pour y appuyer la main ou le genou pendant le démarrage.
- Tirer lentement le lanceur de 10 - 15 cm, jusqu'à ce qu'on sente une certaine résistance,
et puis tirer résolument plusieurs fois jusqu'à ce qu'on entende les premiers éclatements.
IMPORTANT
Pour éviter des cassures, ne
pas tirer le cable sur toute sa longueur, et ne pas le faire frottier le long du bord du trou de passage du cable; relacher graduellement le lanceur, en évitant de le faire rentrer de façon incontrôlée.
- Tirer à nouveau le lanceur, jusqu'à ce qu'on obtienne l'allumage régulier du moteur.
ATTENTION!
Le démarrage du moteur
avec le starter mis provoque le mouvement du dispositif de coupe, qui ne s'arrête que quand on désactive le starter.
- Dès que le moteur est lancé, déconnecter le starter en tournant le levier (2) en position "OPEN".
- Laisser tourner le moteur au régime minimum pendant au moins 1 minute avant d'utiliser la machine.
IMPORTANT
Si I'on actionne trop de fois
la poignée du cable de démarrage (lanceur) alors que le starter est inséré, le moteur peut se noyer, ce qui rendra le démarrage plus difficile.
En cas de noyage du moteur, il faut démonter la bougie et tirer doucement la poignée du cable de démarriage, pour éliminer l'excess de carburant; puis essuyer les electrodes de la bougie, et la remonter sur le moteur.
- Demarrage à chaud
Pour le démarrage à chaud (tout de suite après l'arrêt du moteur), suivre les points 1 - 4 - 5 - 6 de la procédure précédente.
UTILISATION DU MOTEUR (Fig. 11)
La vitesse du dispositif de coupe est reglee par la commande de l'accelerateur (2) qui se trouve sur la poignee arriere (4) ou sur la poignee droite (4a) du guidon.
On ne peut actionner l'accelérer que si I'on appuie en même temps sur le levier de blocage (3).
Le mouvement est transmis du moteur à l'arbre de transmission grâce à un embrayage à masses centrifuges qui empêche le mouvement des lames quand le moteur est au minimum.
ATTEMPTION!
Ne pas utiliser la machine
si le dispositif de coupe rouge quand le moteur est au minimum; dans ce cas il faut faire le réglage du minimum (voir chap. 8) et si le problème persististe il faut contacter le revendeur.
La vitesse de travail correcte s'obtient avec la commande de l'accéléateur (2) à fond de course.
IMPORTANT
Pendant les 6-8 premières
heures de fonctionnement de la machine, il faut éviter d'utiliser le moteur au maximum de tours.
ARRÉT DU MOTEUR (Fig. 11)
Pour arrête le moteur:
- Relâcher la commande de l'accelérateur (2) et laisser tourner le moteur au régime minimumpendant quelques secondes.
- Pousser l'interrupteur (1) dans la position "STOP".
ATTENTION!
Après qu'on a mis l'accélé-
rateur au minimum, quelques secondes sont nécessaires avant que le dispositif de coup ne s'arrête.
7. UTILISATION DE LA MACHINE
Pour le respect des autres et de l'environnement:
- Eviter d'être une cause de nuisance.
- Suivre scrupuleusement les normes locales pour l'élimination des déchets après la coupe.
- Suivre scrupuleusement les normes locales pour l'élimination des huiles, de l'essence, des parties déteriorées ou de tout élément ayant un fort impact environnemental.
ATTENTION!
L'exposition prolongée aux
vibrations peut cause des léasons et des troubles neuro-vasculaires (connus aussi comme "phénomène de Raynaud" ou "main blanche"), spécialement aux personnes qui souffrent de troubles de la circulation. Les symptômes peuvent concerner les mains, les poignets et les doigs, ils se manifestent par une perte de sensibilité, engourdissement, démangeaison, douleur, décoloration, ou modifications structurées de la peau. Ces effets peuvent être amplifiés par les basses températures de l'environnement et/ou par une prise excessive sur les poignées. Quand ces symptômes seprésentent, il faut réduire les temps d'utilisation de la machine et consulter un médecin.
ATTENTION!
Pendant le travail, porter
des vêtements ajustés. Notre Revendeur est en mesure de vous fournir les informations sur les dispositifs de protection contre les accidents les最好的 adaptations à garantir votre sécurité de travail.
UTILISATION DU HARNAIS (Fig. 13)
ATTENTION!
Il faut utiliser la machine
toujours accrochée au harnais correctement porté. Verifier féquèment que le décrochage rapide fonctionne bien, pour permettre de libérer rapidement la machine des sangles en cas de danger.
On doit d'abordmettreleharnaisavantd'accrocher lamachinau point d'attache prevu,et les sanglesdoiventetreienbienreglieessuivantla hau
teur et la grosseur de l'opérateur.
Si la machine est poursue de plusieurs troudd'accrochage, utiliser le point le plusfavorable pourmaintenir l'équilibrage de la machine pendant le travail.
Utiliser toujours un harnais ajustat au poids de la machine et au dispositif de coupe utilisé:
-
avec des machines pesant moins de 7,5 kg, munies de têtes à fil ou de lames à 3 ou 4 pointes, on peut utiliser les modèles de harnais à une seule ou à deux sangles.
-
avec des machines pesant plus de 7,5kg , munies de lame en scie (si autorisée), on ne peut utiliser que le modele de harmais à deux sangles.
- Modèles “ MONO ” à une seule sangle
La sangle (1) doit passer au dessus de l'épaule gauche, vers le côté droit.
- Modèles à deux sangles
La sangle (2) doit être portée avec:
- la partie rembourree et le mousqueton d'accrochage sur le cote droit;
- le décrochage sur le devant;
- le croissement des sangles au dos de l'opérateur.
Les sangles doivent être bien tendues de façon à distribuer la charge uniformément sur les épaules.
MODALITÉS D'UTILISATION DE LA MACHINE
ATTENTION!
Pendant le travail, il faut
toujours tenir fortement la machine, à deux mains, en tenant l'ensemble moteur sur le cote croit du corps, et le groupe de coupe audessous de la ligne de la ceinture.
A ATTENTION!
Si la lame se blogue pen
dont le travail il faut tout de suite arreter le moteur. Faire toujours attention au rebond (kickback) qui peut se produit si une lame rencontre un obstacle important (troncs, racines, branches, cailloux etc.). Eviter que la lame ne touche le terrain. Les rebonds provoquent des mouvements rapides de la lame vers le haut ou vers l'arrière qui sont difficultement contrôlables, et qui peuvent provoquer
la perte de contrôle de la machine, promo- mettre la sécurité de l'opérateur, et cause des dommages à la machine.
Avant d'affronter pour la première fois un travail de fauchage, il est recommendé d'acquerir la connaissance nécessaire de la machine et des valeurs techniques de coupe, en faisant des essais pour porter correctement le harnais, empoirner fermement la machine, et effectuer les mouvements requis pour le travail.
- Choix du dispositif de coupe
Selectionner le dispositif de coupe le mistré
adapté au travail que l'on doit faire, en suivant
les indications générales suivantes:
- la lame à 3 pointes est adaptée pour couper les broussailles et les petits arbustes ayant jusqu'à 2 cm. de diamètre;
- la lame à 4 pointes est adaptée pour couper l'herbe résistante, sur des surfaces étendues;
- la tête à fil peut éliminer les hautes herbes et la végétation non ligneuse à proximité de clôtures, murs, fondations, trottoirs, autour des arbres etc., ou bien pour faire le nettoyage complet d'une surface particulière de jardin;
- la lame en scie (si permise) est adaptée pour couper les buissons résistant, les arbustes et les petits arbres ayant un tronc jusqu'à 6 cm.
TECHNIQUES DE TRAVAIL
a) Lame à 3 pointes (Fig. 14)
Commencer à couper au-dessus de la végétation, puis descendre avec la lame de fauche de façon à couper les branches en les réduisant en petits morceaux.
b) Lame à 4 pointes (Fig. 15)
Procedure en utilisant la machine comme une faux traditionnelle, en effectuant un mouvement en arc d'environ 60 - 90^ , puis en sortant de la vegétation, et ainsi de suite.
c) Tete à fil
ATTENTION!
Utiliser SEULEMENT des
fils de nylon. L'emploi de fils métalliques, fils métalliques plastifiés et/ou non adaptés à la tête, peut cause des blessures et des lésions graves.
Pendant l'utilisation, il faut périodiquement arrêté le moteur et enlever les herbes qui entourent la machine, pour éviter que le tube de transmission ne se surchauffe, à cause de l'herbe coïncée sous la protection.
Enlever l'herbe coincée avec un tournevis, pour permettre à la tige de se refroidir correctement.
ATTENTION!
Ne pas utiliser la machine
pour balayer, en inclinant la tête à fil. La puissance du moteur peut projeter des objets et des petits cailloux jusqu'à 15 mètres ou plus, en causant des dommages ou en provoquant des léasons aux personnes.
- Coupe en mouvement (Fauchage) (Fig. 16)
Procedure régulierement, avec un mouvement en arc, similaire au mouvement de la faux traditionnelle, sans incliner la tête à fil pendant l'opération.
Essayer tout d'abord de couper une petite surface à la juste hauteur, et obtenir ensuite une hauteur de coupe uniforme, en Maintenant la tête à fil à une distance constante du terrain.
Pour les coupes plus difficiles, il peut être utile d'incliner la tête à fil vers la gauche d'environ 30^ .
ATTENTION!
Ne pas travailler de cette
facon s'il existe la possibilité de provoquer la projection d'objets qui pourrait blesser des personnes, des animaux, ou cause des dommages.
- Coupe de précision (Rognage)
Tenir la machine légèrement inclinée de façon que la partie inférieure de la tête à fil ne touche pas le terrain, et que la ligne de coupe se trouve au point désire, toujours en tenant le dispositif de coupe loin de l'opérateur.
- Coupe à proximé de clôtres / fondations (Fig.17)
Approcher lentement la tete à fil des clôtres, piquets, roches, murs, etc., sans frapper avec force.
Si le fil heurte un obstacle consistant, il peut se
casser ou s'user ; s'il reste coincide dans une clôture, il peut se trancher brusquement.
Dans tous les cas, la coupe autour des troitoirs, fondations, murs, etc., peut causeur une usure du fil supérieure à la normale.
- Coupe autour des arbres (Fig.18)
Marcher autour de l'arbre de gauche a droite, en approchant lentement des trons de façon a ne pas heurter le fil contre l'arbre, et en maintainant la tete a fil légèrement inclinee vers l'avant.
Il faut se rappeler que le fil de nylon peut trancher ou endommager les petits arbustes, et que le chocol du fil de nylon contre le tronc d'arbustes ou d'arbres ayant une écorce tendre peut les endommager gravement.
- Réglage de la longueur du fil pendant le travail (Fig. 19)
Cette machine est équipée d'une tête "Tap & Go".
Pour dérouler le fil, batre la tête à fil contre le terrain avec le moteur à la vitesse maximum; le fil se déroule automatiquement et le couteau coupe la longueur en excès.
d) Lame en scie (si autorisée) (Fig. 20)
ATTENTION!
Il est interdit d'utiliser des
lames en scie sur les machines marquées par le symbole prévu (voir chap. 2 n^6 ). Pour utiliser, quand c'est autorisé, la lame en scie, il faut toujours monter la protection spécifique. La lame doit toujours être bien affuitede pour réduire le risque de rebond.
A ATTENTION!
Au cas où l'on doit abattre
des petits arbres, il faut prévoir la direction de chute de l'arbre coupé, en considérant aussi la direction du vent.
Pour obtenir un bon résultat dans l'abattage de petits arbres, il est nécessaire d'effectuer la coupe avec un mouvement rapide vers la branche ou le tronc à couper, avec le moteur au maximum de tours.
Eviter d'utiliser la partie droite de la lame, car dans cette zone il y a un risque élevé de rebond ou d'arrêt de la lame, dû au sens de rotation.
FIN DU TRAVAIL
Lorsque le travail est terminé:
- Arrête le moteur comme indiqué précédemment (Chap.6).
- Attendre l'arrêt du dispositif de coupe et monter la protection de la lame (si l'on emploie des lames à 3 ou 4 pointes ou des lames en scie).
8. ENTRETIEN ET CONSERVATION
Il est fondamental d'effectuer correctement l'entretien pour pouvoirmaintenirpendant longtemps l'efficacité et la sécurité d'emploi originelles de la machine.
ATTENTION!
Pendant les opérations
d'entretien:
- Detacher le capuchon de la bougie.
- Attendre que le moteur se soit ajustement refroidi.
- Utiliser des gants de sécurité pour effectuer les opérations sur les lames.
- Tenir la protection de lame montée sur la lame, sauf dans les cas d'interventions sur la lame elle-même.
- Ne jamais repandre dans l'environnement les huiles usées, l'essence, ou tout autre produit polluant.
CYLINDRE ET SILENCIEUX
Pour réduire le risque d'incendie, il faut nettoyer féquèment les ailettes du cylindre avec de l'air compré, et libérer la zone du silencieux des scïures, brindilles, feuilles ou autres débris.
GROUPE DE DEMARRAGE
Pour éviter que le moteur ne se surchauffe et s'abîme, il faut toujours tener les grilles de l'air de refroidissement bien propres et débarrassées des scïures et des débris.
Le cable de démarriage doit être remplace par un cable neuf des les premiers signes de détérioration.
FIXATIONS
Contrôler périodiquement que toutes les vis et les écrous sont bien serrés et que les poignées sont solidément fixées.
NETTOYAGE DU FILTRE A AIR (Fig. 21)
IMPORTANT Il est essentiel de nettoyer le filtré à air pour garantir le bon fonctionnement et la durabilité de la machine. Ne jamais travailler sans filtré ou avec un filtré endommagé, pour ne pas provoquer de dommages irréparables au moteur
Il faut nettoyer le filtrte toutes les 8-10 heures de travail.
Pour nettoyer le filtré:
- Presser la languette (3), enlever le couvercle (1) et l'élément filtrant (2).
- Laver l'élément filtrant (2) avec de l'eau et du savon. Ne pas utiliser d'essence ni d'autres solvants.
- Laisser sécher le filtré à l'air.
- Remonter l'élement filtrant (2) et le couvercle (1).
CONTRÔLE DE LA BOUGIE (Fig. 22)
Périodiquement, démonter et nettoyer la bougie en enlevant les évventuels dépôts, avec une Brosse métallique.
Pour arrivé à la bougie, il faut dévisser la vis avec la clé fournie, et enlever la grille supérieure.
Contrôler et rétablit une distance correcte entre les electrodes.
Remonter la bougie et la serrer à fond avec la clé comprise dans la fourniture.
Dans le cas d'électrodes brûlées ou d'isolant détiroyé, et de toute façon toutes les 100 heures de fonctionnement, il faut replacer la bougie par une bougie ayant des caractéristiques analogues.
REEMPLACEMENT DE L'HUILE MOTEUR
Pour assurer une vidange rapide et complète, vider le réservoir de l'huile quand le moteur est encore tiède.
- Vérifier que le bouchon du réservoir du carburant est bien fermé.
- Enlever le bouchon du réservoir de l'huile, et vider l'huile dans un conteur, en inclinant le moteur de la partie du goulot de replissage du réservoir de l'huile.
- Remplir le réserve avec l'huile conseillée, et controler le niveau.
- Replacer le bouchon du réservoir d'huile.
RéGLAGE DU CARBURATEUR
Le carburateur est reglé en usine, pour obtenir les mêleurs performances dans toutes les situations d'emploi, et la moindre émission possible de gaz nocifs, dans le respect des réglementations en vigueur.
En cas de performances réduites, s'adresser au revendeur pour faire vérifier la carburation et le moteur.
- Réglage du minimum
ATTENTION!
Le réglage du minimum ne
doit etre executé qu'au cas ou le dispositif rouge quand le moteur est au minimum.
On obtient une réduction de la vitesse en tournant la vis marquee par «MIN» dans le sens contraire aux aiguilles d'une montre, jusqu'à obtenir l'arrêt du dispositif de coupe avec une régularité du fonctionnement du moteur suffisante.
Si le moteur au minimum a un fonctionnement irregulier, tourner la vis dans le sens des aiguilles d'une montre pour augmenter la vitesse.
ATTEMPTION!
Le dispositif de coupe ne
doit pas bouger quand le moteur est au minimum: si vous n'arrivez pas a Obtir un reglage satisfaisant, contactez votre revendeur.
RENVOI ANGULAIRE (Fig. 22)
Lubrifier avec de laGRAISSA à base de lithium.
Enlever la vis (1) et introduire laGRAISSEN faisant tourner l'arbre manuellesment jusqu'à ce que laGRAISSESorte;puis remonter la vis (1).
AFFUTAGE DE LA LAME À 3 OU 4 POINTES (Fig. 24)
ATTEMPTION!
Porter des gants de sécuri
te. Si I'on exécute l'affutage sans démonter la lame, détacher le capuchon de la bougie.
Pour effectuer l'affutage, tener compte de la typologie de la lame et des tranchants, en utilisant une lime plate et en agissant de la même maniere sur toutes les pointes.
Les points de referencia pour exécuter correctement l'affutage sont indiqués sur la Fig. 24:
A = Affutage incorrect
B = Limits d'affutage
C = Angles incorrectly et inégaux
Il est important de conserver un équilibrage correct également après l'affutage.
Les lames à 3 ou 4 pointes peuvent être utilisées des deux côts. Quand un côté des pointes est used, on peut tournier la lame et utiliser l'autre côté des pointes.
ATTENTION!
Il ne faut jamais réparer la
lame, mais il est nécessaire de la replacer des que l'on note des débuts de rupture ou quand la limite d'affutage est dépassee.
REEMPLACEMENT DU FIL DE LA Tête
Pour remplaçer le fil de nylon, suivre les instructions jointes à la tête.
AFFUTAGE DU COUTEAU COUPE-FIL (Fig. 25)
- Enlever le couteau coupe-fil (1) de la protection (2), en dévisant la vis (3).
- Fixer le couteau coupe-fil dans un etau et procéder à l'affutage en utilisant une lime plate et en faisant attention à maintainir l'angle de coupe originel.
- Remonter le couteau sur la protection.
AFFUTAGE DE LA LAME EN SCIE AVEC 24 DENTS (Fig.26)
ATTENTION!
Porter des gants de sécuri
te. Si I'on exécute l'affutage sans démonter la lame, détacher le capuchon de la bougie.
Contrôler que l'avoyage de la lame est d'environ 1 mm., et si nécessaire le régler avec une pince.
Affuter uniformément toutes les dents avec une lime ronde (1) de 5,5mm . de diamètre, en l'utilisant comme indiqué sur la figure, et en agissant alternatively sur les dents de gauche et de droite.
Le profil de la dent ne doit pas etre modifie.
ATTENTION!
La lame en scie n'est pas
réversible, il faut donc l'utiliser seulement d'un côté
Il ne faut jamais réparer la lame, mais il est nécessaire de la replacer lors que l'on note des débuts de rupture ou quand la limite d'affutage est dépassée.
INTERVENTIONS EXTRAORDINAIRS
Toutes les opérations d'entretien qui ne sont pas inclues dans ce manuel doivent être exécutées exclusivement par votre revendeur.
Les opérations executées dans des structures inadéquates ou par des personnes non qualifiées comportent la déchéance de toutes les formes de garantie
CONSERVATION
A la fin de chaque session de travail, nettoyer soigneusement la machine de la poussière et des débris, réparer ou replacer les parties défectueuses.
La machine doit être conservée dans un endroit sec, à l'abri des intempéries, avec le protecteur correctement monté.
INACTIVITE PROLONGEE
IMPORTANT Si I'on prévoit une période d'inactivité de la machine de plus de 2 - 3 mois, il faut prendre certaines precautions pour éviter des difficultés au moment de la reprise du travail, ou même des dommages permanents au moteur.
- Emmagasinage
Avant d'entreposer la machine:
Vider le réservoir du carburant.
- Faire démarrer le moteur et le tenir allumé au régime minimum jusqu'à ce qu'il s'arrête, de façon à consommer tout le carburant resté dans le carburateur.
- Laisser le moteur refroidir et démonter la bougie.
- Verser dans le trou de la bougie une petite cuiller d'huile neue.
- Tirer plusieurs fois le lanceur pour distribuer l'huile dans le cylindre.
- Remonter la bougie avec le piston au point mort supérieur (visible du trou de la bougie quand le piston est au maximum de sa course).
- Reprise de l'activité
Au moment de remettre la machine en fonction:
| PROBLÈME | CAUSE PROBABLE | SOLUTION |
| 1) Le moteur ne démarre pas ou ne reste pas en mouvement | - Procédure de démarrage pas correcte | - Suivre les instructions (voir chap. 6) |
| - Bougie sale, ou distance entre les électrodes pas correcte | - Contrôler la bougie (voir chap.8) | |
| - Filtre de l'air bouché | - Nettoyer et/ou remplaçer le filtré (voir chap.8) | |
| - Problèmes de carburation | - Contacter votre Revendeur | |
| 2) Le moteur démarre mais il a peu de puissance | - Filtre de l'air bouché | - Nettoyer et/ou remplacer le filtré (voir chap.8) |
| - Problèmes de carburation | - Contacter votre Revendeur | |
| 3) Le moteur a un fonctionnement irrégulier ou il n'a pas de puissance sous charge | - Bougie sale, ou distance entre les électrodes pas correcte | - Contrôler la bougie (voir chap.8) |
| - Problèmes de carburation | - Contacter votre Revendeur |
10. DONNÉES TECHNIQUES
Moteur 4 temps refroidissement a air
Cyclindree / Puissance
Mod. 28H - 28HD 25 cm³ / 0,81 kW
Mod. 38H - 38HD 35 cm³ / 1,2 kW
Vitesse de rotation du moteur au minimum
Mod. 28H - 28HD............ 2900-3300 tours/1'
Mod. 38H - 38HD............ 2900-3300 tours/1'
Vitesse maximum de rotation du moteur
Mod. 28H - 28HD...... 10500-11000 tours/1'
Mod. 38H - 38HD...... 10500-11000 tours/1'
Vitesse maximum de rotation de l'outil
Mod. 28H - 28HD 8500 tours/1'
Mod. 38H - 38HD 8500 tours/1'
Bougie....... NGK CM5H (ou équivalente)
Carburant: Essence sans plomb (essence
verte), - minimum 90 N.O.
Capacité du réservoir du carburant
Mod. 28H - 28HD 550 cm3
Mod. 38H - 38HD 650 cm3
Capacité du réservoir de l'huile
Mod. 28H - 28HD 80 cm3
Mod. 38H - 38HD 100 cm3
Diamètre maximum autorisé des lames
Lame à 3 pointes 255 mm
Lame à 4 pointes 255 mm
Lame en scie (escluso Mod. 28H - 28HD -
38H) 255 mm
Masse 1)
Modèles “MONO” de 5,3 à 7,1 kg
Modèles “DUPLEX” de 5,5 à 8,2 kg
1) Masse conforme à la norme ISO 11806 (sans carburant, dispositifs de coupe et protection)
Relevés Phono métriques et Vibrations
| Modèle...................... | 28H | 28HD | 38H | 38HD |
| Niveau de bruit relevé (ISO 10884) dB(A) | ||||
| avec tête à fil......... | 108,1 | 107,9 | 106,3 | 109,7 |
| avec lame à 4 pointes.......... | 106,0 | 106,1 | 103,5 | 106,5 |
| Niveau de bruit à l'oreille de l'opérateur (EN 27917) dB(A) | ||||
| avec tête à fil......... | 94,6 | 95,1 | 92,1 | 94,7 |
| avec lame à 4 pointes.......... | 94,3 | 91,2 | 93,2 | 93,7 |
| Vibrations transmises à la main sur la poignée antérieure ("MONO") (ISO 7916) m/sec2 | ||||
| au minimum......... | 2,4 | - | 2,2 | - |
| avec tête à fil......... | 8,3 | - | 5,9 | - |
| avec lame à 4 pointes.......... | 7,8 | - | 2,8 | - |
| Vibrations transmises à la main sur la poignée postérieure ("MONO") (ISO 7916) m/sec2 | ||||
| au minimum......... | 2,0 | - | 2,9 | - |
| avec tête à fil......... | 8,1 | - | 6,7 | - |
| avec lame à 4 pointes.......... | 9,2 | - | 4,7 | - |
| Vibrations transmises à la main sur la poignée gauche ("DUPLEX") (ISO 7916) m/sec2 | ||||
| au minimum......... | - | 1,3 | - | 1,3 |
| avec tête à fil......... | - | 7,2 | - | 2,1 |
| avec lame à 4 pointes.......... | - | 5,4 | - | 2,0 |
| Vibrations transmises à la main sur la poignée droite ("DUPLEX") (ISO 7916) m/sec2 | ||||
| au minimum......... | - | 1,9 | - | 1,4 |
| avec tête à fil......... | - | 7,7 | - | 3,3 |
| avec lame à 4 pointes.......... | - | 5,3 | - | 3,7 |
Notice Facile