SB435HD - Odkurzacz STIGA - Bezpłatna instrukcja obsługi
Znajdź bezpłatnie instrukcję urządzenia SB435HD STIGA w formacie PDF.
Questions des utilisateurs sur SB435HD STIGA
0 question sur cet appareil. Repondez a celles que vous connaissez ou posez la votre.
Poser une nouvelle question sur cet appareil
Pobierz instrukcję dla swojego Odkurzacz w formacie PDF za darmo! Znajdź swoją instrukcję SB435HD - STIGA i weź swoje urządzenie elektroniczne z powrotem w ręce. Na tej stronie opublikowane są wszystkie dokumenty niezbędne do korzystania z urządzenia. SB435HD marki STIGA.
INSTRUKCJA OBSŁUGI SB435HD STIGA
DI Wykaszarki - INSTRUKCE OBSLUGI
UWAGA: Przed uzyciem urzadzenia przy空气质量 nimiejsza instrukcję.
Kyctope3 - PYKOBOIDCTBO NO 3KCNJYATALIN
BHIMAHHE: PpexKe Yem NoIb3ObaTbc8 O6OpydoBaHMeBHHMaTeIbHO npOHTe 3TO pyKOBoCTBO NO 3KcNlyataaM.
V pripadé zablokováni
Volba rezacho zaizeni
Tento stroj je vybaven hlavou „Uder a Jed" (Tap & Go).
Za ucelem uvolneni noveho dratu uderte upinacihlavou dratu o teren s motorem na maximalni rychlosti; drat bude automaticky uvolneni a nuz odreze precnivajici drat.
d) Nuz ve tvaru pily (je-li povolen) (Obr. 20)
UPOZORNENI!
Szanowny Uzytkowniku,
chcemy przydede wzystkim podzickowac Ci za zaufanie okazane nam przy wyborze naszych produktow i wyrzamy nadzieje, iz uzywanie tego urzadzenia dostarczy Ci zarowywo wiele satyfaskci jak rornynej spelni Twowe wsztkie oczekiwnian. Niniejsza instrukja zostala opracowan w celu umozliwienia dokladnego zapoznania sie z urzadzeniem i stosowania go w warunkach bezpieczentstwa przy penejwydajnosci; miej na uwadze fakt, iz instrukca stanow integralna czeci wypowsazenia urzadzenia, z tego wzgledu nały przypechowywać ja zawsze w zasięgu reki, by moc w kaźdejchwili zasięgnac porady, a przy odstapieniuczy wypoźyceniu urzadzenia prosimy o przykazanie instrukci nowym uzytkownikom.
Niniejsze urzadzenie zostalo zaprojectowane i skonstruowane zgodnie z obowiazujacymi obecnie wymogami, jest onoWie bezpieczne i niedawodne, jestuzywane jest przy scislym prszestrzeganiu wskazowek zawartych w niniejszej instrukci (przewidywny sposb uzytkOWANIA); jakolwiek inny sposb stosowania lub nieprzestrzeganie opisanych norm bezpiecznego uzytkOWANIA konserwacji napraw uwaZANE jest jako"uzytkOWANIE niewlasciwe"ipowoduje utrata gwaranci oraz zwalnia Wykonawce z jakiejkolwiek odpowiedzialnosci obciazajauc uzytkownika wszelkimi zobowiazaniami wynikajacymi ze szkód lub strat spowodowyanch wobec osob trzechich.
Jesli z tekstu niniejszej instrukcjiwynikna pewne robiegneosci miedzy zawartym opisem i zakupiona maszyna, prosimyMIC na uwadze fakt, iz w zwiazku z ciagle trwajacym procesem ulepszania urzadzenia, informacezawarte w niniejszymopracowaniu moga uleczmianom bez obowiazku informwomania lub uaktualnienia instrkcji, przy czym robiegneci nie majorzadneo wpywu na podstawowe dane dotyczace bezpiecznego uzytkowania ani teasazasad poprawngo fungcjonowania urzadzenia. W przypadku waptliwocki skonsultuj sie ze sprzedawca. Przyjemnej prac!
SPIS TRESCI
- Identfikacja czzsche skłodowych 2
- Symbole 3
- Przewisy bezpieczne自主 4
- Montaz urzadzenia 6
- Przygotowanie do pracy 8
- Uruchomienie - Uzytkowanie - Zatrzymanie silnika 9
7.Uzytkowanie urzadzenia 11 - Konserwacja i przechowywanie 14
- Lokalizacja uszkodzen 16
10.Dane techniczne 17
1. IDENTYFIKACJA GŁÖWNYCH CZEŚCI SKłADOWYCH
GŁÖWNE CZ SCI SKŁADOWE
- Silnik
- Walek obrotowy
- Urzadzenie tnace
a. Ostrze z 3 lub 4 koncami
b. Głowica z drutem nylonowym
- Zabepieczenie urzadzenia tnacego
- Uchwyt przydni
- Ochrona
- Uchwyt
- Uchwyt tylny
- Miejsce zaczepienia (systemu zawieszenia)
- Tabliczka znamionowa
- Zawieszenie
a. na pojedynczym pasie
b. na podwojnym pasie
- Przekladnia katowa
- Zabepieczenie ostrza (przy transporcie)
- Swieca zaplonowa
STEROWANIE I NAPEŁNIANIE
- Wylacznik zatrzymania silnika
- Przycisk przyspiesznika (gazu)
- Blokada przyspiesznika
- Uchwyt rozruchu
- Przycisk rozrusznika (Starter), (jezeli obecny)
-
Przycisk pompki paliwa, (Primer) (jeżeli obecny)
-
Korek zbiornika paliwa
- Korek oleju



“MONO”

"DOUBLEX"
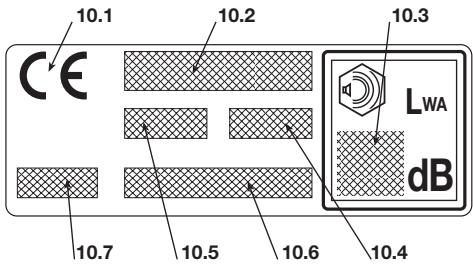
TABLICZKA ZNAMIONOWA
10.1) Znak zgodnosci z dyrektywa 98/37/CE
10.2) Nazwa i adres producenta
10.3) Poziom nateżenia dźwięku LWA zgodny z norma 2000/14/CE
10.4) Model referencingjny producenta
10.5) Model urzadzenia
10.6) Numer fabryczny
10.7) Rok produktci

2. SYMBOL










1) Uwaga! Zagrozenie. To urzadzenie, jetzt uzywane nieprawidlowo, möglich być zagrozeniem dla siebie i dla innych.
2) Przed uzyciem urzadzenia przyczytaj instrukcje obstugi.
3) Operator obslugujacy to urzadzenie, uzywane w warunkach normalnych, codziennie i w spośob ciągly,MZe byc naraźony na hałas o poziomie rownym lub wyzszm 85 dB (A).Uzywać ochron akustycznych i kasku ochronnégo.
4) Stosowac obuwie ochonne oraz rekawice!
5) Zagrozenia wyrzutem! Oddalic jakakolwiek osobel lub zwierze domowe na odlegostoć co najmiej 15 m podczas uzytkowania maszyny!
6) Nie uzywać ostrza w ksztalcie pily obrotowej. Niebezpieczencstwo: Uzywanie ostrza w ksztalcie pily obrotowej w maszynach posiadajych ten symbol narza uzytkownika na niebezpieczencstwo bardzo groźnych lub smiertelnych zranien.
7) Maksymalna szybkość urzadzenia tącego. Używać tylko odpwiednie przyrzady tącze.
8) Wspólczynnik poziomu mocy akustycznej LWA zgodnia z dyrektywa 2000/14/CE
SYMBOLE OBJASNIAJAÇE NA URZÄDZENIU, (ježeli obecne)

11
11) Zbiornik paliwa

12
12) Pozycje wyłacznika zatrzymania silnika
a = zatrzymanie
b = ruch

13
O MIN
14
13) Regulacja minimalnych obrotów
14) Przycisk rozrusznika (Starter)

15
16) Własciwa pozycja uchwytu na walku napedaywym
SYMBOLE OBJASNIAJACE NA OSLONACH, (jezeli obecne)

21

22
23

21) Przyradytnace, dla ktorch ochronajest odpowiednia
22) Do wykorzystania z glowica tnaca z drutem nylonowym
23) Kierunek obrotów przyrzadu scinajacego
3. PRZEPISY BEZPIECZENSTWA
A) PRZYUCZENIE
1) Przeczyta uważnie instrukcj obstrugi. Zapoznać sie dokladniz z systemem sterowania i wlasciwym spośobem uzytkowania urzadzenia. Nauczyc sie natychmiastowo zatrzymywoć silnik.
2) Uzywac maszyny do celu, do ktorego zostala przyznaczona, to znaczy;
- cięcie trawy i roślinnosci nie drewnopodobnej przy pomocy drutu nylonowej (np. na bokach rabat, plantaci, murków, ogrodzeń, lub zielonych przystrzenci oogranożnej powierzchni, dla wykończenia cięcia wykonanego przy pomocy kosiarki);
- ciècie traw wysokich, suchychPEDow, gałę zi krzewów drewnopodobnych o srednicy do 2 cm, przy pomocy ostrzy metalowych i plastykowych. Jakiekolwiekinne zastosowanie要去 okazac sie bezpieczne i spowodownik uzskodzenia piły.
3) W zadnym wypadku nie nalezy pozwalać na uzytkowanie urzadzenia daneciom, ani osobom nie obeznanim wystarczejaco z instrukcja obstugi. Miejscowe przyopsis prowne moga okreslicaNajnizsza granice wieku dla uzytkowników.
4) Narzędzie nie są boć uzywane przy czemuść niz jejdna osobe.
5) Nigdy nie uzywać urzadzenia:
- kiedy osoby, zwaszcza daneci lub zwierzeta znajduja sie w povlizu;
- ježeli uzytkownik jest zmieczony lubźie sie czuju, lub kiedy zaźyl lekarstwa, narkotyki, spoźty alkohol czy内在substancje mogace zaburzychego refleks czy uwage;
- jezeli uzytkownik nie jest w stanie utrzymac pewnie urzadzenia oburecznia i/lub nie moze utrzymac równowagi stojac na dwoch nogach podczas wykonywania pracy.
6) Nie zapominac, iz operator lub uzytkownik jest oppowiedzialny za wypadki lub nieprzewidziane okolicznosci w stosunku do osob postronnych lub ich stanu posiadania.
1) Podczas pracy nalezy zalożyc odpowiednie ubranie, któ nie stanowy przyszkody dla uzytkownika.
Zakladać odpwiednia odzież ochronna wyposzażona w zabezmieczenia przyciw ciȩu.
- Zakladać kask, rrekawice, okulary ochronne, maske przechiw plyna i obuwie zabepiczone przechiw cięciu z antposilzgowa podeszwa.
-Uzywac sluchawek w celu ochrony sluchu.
- Nie zakładać szali, koszul, naszyzników i innych akcesiorów wiszcych lub luźnych, któ mogłyby zapłatać sie w urzadzenia lub w innie przyȩmiy znażduje są w mięsću przy%.
- Zebrać odpowiednio dslugie wósy.
2) UWAGA: ZAGROZENIE! Benzyna jest plynem katwopalnym.
- przechowyac paliwo w odpowiednich pojemnikach homologowanych do takiego uzycia;
- nie palić papierosów podczas operwoman przy paliwie;
- otworzyc powoli korek zbiornika pozwalajac na stopniowe uwolnienie sie wewnetrzné ciśniena;
- nalewać paliwo tylko na wolnym powietrzy przy uzyciu lejka;
- nalewać paliwo przydruchomieniem silnika; niedodawac paliwa i nie wyjmownikka korka zbiornika, gdy silnik jest w ruchu lub, kiedy jest nagrzany;
- w przypadku Rozmania są benzyny nie uruchamiać silnika, lecz przytenieść urzadzenia wie czyste.mijscie iaby uniknac rzyka pozaru, odczekać aż rozlane paliwo odparuje;
-oczyscić natychmiast káźdy slad benzyny wylanej na urzadzeniu lub na zieme; - nie uruchamiać urzadzenia w mistręc ugdzie dokona-no wlewania paliwa;
- unikać kontaktu paliwa z odzież, a w takim przypadku, zmienić odzież przyzed uruchomieniem silnika;
- zakrcac zawsze dobrze zakrtki zbiornika i pojemnika benzyny.
4) Wymienic thumiki wadliwe lub uszkodzone.
5) Przed uzyciem przypegowadzic ogólna kontrôle urzadzenia, a w szczególnosci: - przycisk przyspieszneika i blokada przyspieszneika musza poruszać sie swobodnie, bez wysilku, a przy ich zwolnienu musza automatycznie i szybkowporać do swojej neutralnej pozycji;
- przycisk przyspieszneika musi pozostac zablokowy, jejeli nizostaje nacijsnieta (odblokowana) blokada przyspieszneika;
- wyłacznik zatrzymania silnika musi byc swobodnia przystawiany z jedernej pozycji na druga;
- przewody elektryczne, a w szczególnosci przywośd świecy zaplonowej musi byc niedaruszony celem unikniecia generwomanie są iskier, a kołpak musi byc poprawnie załoźny na świecy;
- uchwty i ochry urzadzenia musza byc czyste iSuche oraz mocno przytwierdzone do urzadzenia;
- przyrzady tnace i obudowy nie mogą byc nigdy uz-kodzone.
6) Sprawdzic prawidowe ustawuminium uchwyów i.), zaceczepienia systemu zawieszenia oraz dobre wyważenie maszyny.
7) Przed Rozpoczeciem pracy upewnic sie,czy zastosowano ochry odpowiedne do przyrzadu tnaiego i czy zostaly wlasciwie zamontowane.
8) Sprawdzic dokladnie cala przystrzen do pracy i usnac to wszystko, co mogloby zostac odrucone przyszne maszyne lub spowodowauszkodzenie czesci tnacej maszyny lub silnika. (kamienie, gałezie, druty stalowe, kosci itp.).
1) Nie uruchamiać silnika w pomieszczeniach zamkiŋtych, gdzie moga sie zbierać niebezmieczne spaliny tlenku węgla.
2) Wykonywać prace węącznie przy swietle Dziennym lub dobrym oświetleniu sztucznym.
3) Przyjac hieruchomą i stabilność poźycje:
-
unikać o ile toMZIwe pracowania w obuwiu o podeszwhach mokrych lub sliskich lub na terenach hierównych i stromych, ktore nie gwarantuja stabilnosci operatora podczas praczy;
-
nigdy nie biegac, tylko chodzic i zwracać uwage na nierōwnosci terenu i obecnosc ewentualnych przeszkód.
- oceni potencjalne ryzyko zwiazane z terenem i zastosowac wzystkieNiezedne zabezpieczenia gwarantujace wlasne bezpieczentwo, w szccepholnosci na zboczach, terenach trudnych do przywidzenia, sliskich lub ruchomych.
- Na zboczach gracstaw w kierunku prostopadym do spadku, nigdy ne wchodzac lub ne schodzac, utrzyzmujac są zawszje kad najdajej od przyrzadyu tracego.
4) Uruchamiać silnik trzymajac mocno urzadzenia: - uruchamiać silnik, co najmiej 3 metry od.), w ktoplym dokonano wlemania paliwa;
- sprawdzićczyinneosobyznajduja sie w promieniu, co najmniej 15 metrow od milejsca pracymaszyni co najmniej w odlegósci 30 metrow przy cięszychPokosach;
- nie kierowac tumlika,czyli gazu wydechowego w strone materialow lathopalnych;
5) Nie zmieniać regulacijsilnika i nie doprowadzacsilnika do zbyt wysokich obrotow.
6) Nie przyȩzać urzadzenia i nie uzywać urzadzenia malego do wykonania czekkich prac; uzycie odpowiedniego urzadzenia obnişa ryzyko i polepsza jakość prac.
7) Skontrolowaczyminimala prędkość obrotowa uradzenia jest tak,重点领域 gozao zie po czwolni na obracanie sie przyrzadytnacego oraz, zie po dodaniu gazu, silnik powróci natachmiast do minimum.
8) Zwracac uwage, aby nie uderzać mocno ostrzem w ciala obce oraz na opadajacy materialuciety przyez ostrze.
9) Trzymać zawsze podczas pracy maszyny zacepiona do zawieszenia.
10) Wyętaczyc silnik: - za kaźdym razem, kiedy urzadzenia jest pozostawione bez nadzoru.
- przed wlewaniem paliwa.
podczas przyemieszczania sie pomiedzy strefami pracy.
11) Zatrzymac silnik i odłaczyc przywośd swiecy zaplonowej: - przyzed kontrola, czyszczemen lub dokonaniem prac na maszynie;
- po uderzeniu o jakis twardy przydekmiot. Sprawdzić ewentualne uszkodzenia i dokonac potrzebnych napraw przyęd podwornym uzytkowaniem urzadzenia;
- jesti urzadzenie zacznja drgać w nieprawidów spośob: w takim wypadku natychmiast znaleźczyczne drgań u吞unać ja;
- kiedy urzadzenie nie jest uzywane.
1) Utrzymywać dokrecone s Ruby i nakrtek, aby byc pewnym, iz maszyna znajduje sie zawsze w stanie gotowym do bezpiecznej eksploatacji. Regularna kontrola stanu technicznego jest podstawowy warunkiem dla bezpiecznych za oraz zachowania wydajnosci urzadzenia.
2) Nie przechowywać urzadzenia z benzyn w zbiorniku w pomieszczeniu, gdzie opary benzyny moglyby przyzdostaco są do plomienia, iskry lub zródla wysokiej temperatury.
3) Przed odpradowazieniem urzadzenia do jakiegokol
4) W celu obnizenia ryzyka pozaru, utrzymywać siknik, tulumy wydechowiy i.),不错se przechowywnia benzyny w stanie wolnym od resztek trocin, gałzi, liści czy nadmiar smaru; nie pozostawiac zbiorników ze scieṭym materialem wewnatrz pomieszczenia.
5) Jesli zaistnejie potrzeba oprznienia zbiornika, nalezy dokonać tego na otwartej przy strzeni oraz przy zimnym silniku.
6) Zalozyc rekawice robocz de do kazdej pracy przy urzadzeniu tnacym.
7) Ze wźględów bezpiecznychstwa nigdy nie uzywać uradzdenia, gdy为其ego czymi składowe są zuzyte lub uszkodzone. Czeki uszkodzone musza byc wymieżnione, nigdyNie naprawiane. Naleź stosowac wylącznia oryginalne czymi屏蔽. Czeki zamienne o niedop战略布局 jakosci moga uszkodzic uradzdenie lub stanowic zagrozenia bezpiecznychstwa uzytkownika. Czeki trące musza zawsze posiadac oznaczenia marki producenta jak,rownej odniście do maksymalnej predkości uzytkowej.
8) Przed odstawieniem urzadzenia, upewnic sie czy wyjoe sie kluczene lub narędzia uzyte do konserwacja.
9) Utrzymywać urzadzenia z dala od dostepu przycie!
E) TRANSPORT I PRZEMIESZCZANIE
1) Za kāzdym razem, gdy potrzebne jest przystawienie lub przenoszenia urzadzenia, nalezy:
- węłaczyć silnik, odczekAAC zatrzyma są przyrzadtnący oraz odłowczyk olpak szwiecy zaplonowej;
- zaloźyc ochronone przyrzadu tnacego;
- chwycic urzadzenie jegynie za uchwyty i skierowac przyrzad tnacy w kierunku przyciwnym do kierunku przesuwania sie.
2) Kiedy urzadzenie jest przewozone pojazdem samochodwym, nalezy ustawic je w taki sposob, aby nie stanowilo zadnego zagrozzenia dla nikogo oraz zablokowae je celem unikniecia是我的 przyworocenia z mayliwym uszkodzeniem i rozlaniem sie paliwa.
F) W JAKI SPOSOB POSUGIWAC SIE INSTRUKCJA
W tekscie instrukcj obslugi, niedtrore paragrafy zawierajace informacao szczegolnie waze, zaznaczone sa roznym stopniem wyrazistiosci, przy czym znaczenia jest高新技术.
UWAGA
lub
WAZNE Dostarcza dokladyjszego omówenia lub dodatkowych elementów do podanych poprzednio wskazowej w celu zapobiezenia uszkodzenia maszyny lub spowodania strat.
OSTRZEZENIE!
W przypadku nieprestrzega-tówek mozliwość zranienia sōb trzechich.
ZAGROZENIE!
W przypadku nieprzestrzega
nia danchy wskazowek mozliwość cięzkiego zranienia obsluguçęego lub odob trzechic a nawet zagrożenie spowodOWania smierci.
4. MONTAZ URZADZENIA
WAZNE
Maszyna jest dostarczona z
niektórymi skladnikami zdemontowanymi i z pustym zbiornikiem paliwa.
OSTRZEZENIE!
Zawsze zakladac mocne
rěkawice robocze przy pracy z przyrzędami tynyymi. Zwracć szczególna uwage na montaz skliadników, aby nowe zmiejsza bezpieczenia i sprawnosci urzadzenia; w wypadku wąpliwość skontaktowej są z waszym Sprzedawca.
1. UZUPEŁNIENIA MASZYNY
1a. Modele "MONO"
Model 28 (Rys.1)
OSTRZEZENIE!
Rozpórk (1) ma za zadanie,
ze węgłowów bezpieczenersstwa, zagwarantowaćminimalny odstep pomiedź uchwytem tylnym i przemnim. Ta roźpórká musi byc zawsze zalożona i nie要去c zmieżniana wźeden sposob.
- Przed roźpórką (1), zamontowej uchwyt przytedni (2) na walku obrotowym (3) za pomoczą srb (4) i nakrzytek (5) wstawionych w odpwiednie otwory.
- Przed dokreceniem szub (4), ustawic wlasciwie uchyty w stosunku do walka obrotowej.
Dokrecić Sruby (4) do konca.
Model 38 (Rys.2)
Zamontowac uchwyt przydni z oslonq (1) na opwywowej plastybowej obudowie (2), dokrcajc s Ruby (3) do konca.
1b. Modele "DUPLEX"
Model 28 (Rys.3)
-Wlozyc uchwyt (1) do gniazda wykonanego w podstawce (2), umieszczonego na walku obrotowym (3), pamietajac, aby dzwignie kierujaceznajdowaly sie po prawej stronie.
-Zamontowac koIpak (4), dokrcajac do konca srbami (5).
- Podporka (2) jest juices wstepnie zamontowane na waiku obrotowym (3) w taki sposob, ze bok bedzie
ustawiony zgodnie ze strzalka (6) na tablicze oznaczeniowiej; pozycja ta nie maye byc nigdyzmieniana.
Model 38(Rys.4)
- Odkrecić galiče centraln (1) i zdajć kołpak (2).
-Wozycuchwyt (3),pamietajac,aby dzwignie kierujazeznajdowaly sie po prawej stronie.
-Ustawic uchwyt w najodpowedniejszej pozycjri roboczej, i zablokowa c go przy pomocy koIpaka (2) i galki (1).
2. MONTAZABEZPIECZEN
OSTRZEZENIE!
Kazdy przyrzadtnacy ma
swoje specyficne zabezmiecenie. Nie uzywac nigdy zabezmiecen odmiennych od tych zalecanych dla kazdego przyrzadu tacego.
- Ostrze z 3 lub 4 koncami (Rys. 5)
OSTRZEZENIE!
Zalozyc rrekawice ochonne i
zalozyc zabezpieczenia ostrza.
-Zdemontowac ostrze, (jezeli jest zamontowane)
zgodnie ze wskazaniami w paragrafie 3.
-Zabezpieczenia (1) jest przymocOWANE do przekladynki katowej (2) za pomocagdwoch srb (3).
Glowica trzymajaca drut (Rys. 6)
OSTRZEZENIE!
Gdy wykorzystuhe sie glowice
trzymajęcadrut,nalezy,abyzabepieczenia dodatkowebylozawszezamontowaneznozem przechinajczydmdrut.
-Zdemontowac ostrze, (jezeli jest zamontowane) zgodnie ze wskazaniami w paragraphe 3.
-Zabezpieczenia (1) jest przymocOWANE do przykstadni katowej (2) za pomocdwoch srb (3).
Zamontowac dodatkowe zabezmieczenie (4) wkladajc zaczepy w odpowiednie owry w zabezmieczeni (1) i dociskajc, a z do momentu zauwazenia zatrzasniece.
3. DEMONTAZ I MONTAZ PRZYRZADOW DO CIE CIA
OSTRZEZENIE!
Uzywac tylko oryginalnych lub
homologowanych przyrzadow do cipecia.
Ostrze z 3 lub 4 końcami
OSTRZEZENIE!
Zalozyc rrekawice ochonne i
založyc zabezpiegzenie ostrza.
a) Model 28 (Rys. 7)
UWAGA
Nakrtka do czaszy (4) ma gwint
lewostronny i w zwiazku z tym musi byc odkreca nawierunku zgodnym z ruchem wskazowek zegara idokreca n wierunku przyciwnym do ruchwskazowek zegara.
- Włoźcy klucz otrzymany wrz z dostawa (2) do oddpowieznego otworu przyekladni katowej (3) i obracć recznie ostrze (1) aż do dostania sie kluczdo wewétrnzego otworu, blokujac tym sposobem rotacja.
-Zdjac czasz (4) odkrcejacnakrtke w kierunku zgodnym z ruchem wskazowek zegara. - Sciagnac tulejke zewnetrznag (5) i zaolzyc ponownie ostrze (1).
Przy montaźu,
- Upewnić sie, czy rowki pierścienia wewétrznego (6) pasuja ideañnie do przyȩkładni kątowej (3).
- Zamontowac ostrze (1) i pierscien zewnetrzny (5).
-Zafozyc ponownie czasz (4), dokrecajac do konca nakrtek w kierunku przeciwnym do ruchwskazowek zegara.
-Wyjac klucz, (2)aby przywrocić rotacje ostrza.
b) Model 38 (Rys. 8)
UWAGA
Śruba do czaszy (4) ma gwint
lewostronny i w zwiazku z tym musi byc odkrecana w kierunku zgodnym z ruchem wskazowek zegara i dokrecana w kierunku przyciwnym do ruchu wskazowek zegara.
- Włoźcy klucz otrzymany wrz z dostawa (2) do oddpowiedniego otworu przyekladni katowej (3) i obracć recznie ostrze (1) aż do dostania sie klucz do wewétrnzego otworu, blokujac tym sposobem rotacja.
Zamontowac ponownie czasze (4) odkrecajac sbrce centralna w kierunku zgodnym z ruchem wskazowek zegara.
- Sciagnac tulejke zewnetrznag (5) i zaolzyc ponownie ostrze (1).
Przy montaźu,
- Upewnicie,czy rowki pieroscienia wewnetrznego (6) pasuja idealnie do przyekladni kątowej (3).
Zamontowac ostrze (1) i pierscien zewnetrzny (5). - Zaloźyc ponownie czaszę (4), dokrecajć są do konca w kierunku przyciwnym do ruchu wskazowej zegara.
- Wyjać klucz, (2) aby przyworcie rotacja ostrza.
Glowica tnaca z drutem nylonowym (Rys. 9)
UWAGA
Glowica trzymajaca drut ma
gwint lewostrony i w zwiazku z tym musi byc odkrecana w kierunku zgodnym z ruchem wskazowek zagara i dokrecana w kierunku przyciwny do ruchu wskazowek zagara.
- Włoźcy klucz otrzymany wrz z dostawa (2) do odpowiedniego otworu przydekni katowej (3) i obracć ręczne glowie trzymajność drut (1 lub 1a) aż do dostania są kluczdo wewétrnzego otworu, blokujac tym sposobem rotacja.
-Zdjaç glowicetrzymajacdrut1)odkracjac ja w kierunku zgodnym z ruchem wskazowek zegara.
Przy montaźu,
-
Upewnicie,czy rowki pieroscienia wewnetrznego (6) pasuja idealnie do przyekladni kątowej (3).
Zamontowac ponownie glowice trzymajacdrut (1) dokrecajac ja w kierunku przyciwnym do ruchu wskazowek zegara.
-Wyjac klucz, (2)aby przywroci rotace waIka. -
Ostrze w formie pily (jezel dozwolone)
OSTRZEZENIE!
Uzycie ostrza w formie pily
jest zabronione w maszynach posiadajych odpowiedni symbol (zobacz rozdiaz 2 nr 6).
Aby zamontowac zabeziecenie i ostrze w formie piy, nalezy przystrzegac zalecenia zwarte w instrukcji dostarczonej wraz tym przyrzadem.
5. PRZYGOTOWANIE DO PRACY
KONTROLA URZADZENIA
Przed Rozpoczeciem pracy nalezy:
- sprawdzićczyw urzadzeniu i na przyrzadzie tnacym nie ma poluzowanych srb;
- sprawdzićczy przyrzaddo cięcia nie jest uszkodzony i czy ostrza metaliczne o 3 lub 4 koncach, (jeżeli zamontowane) besteht dobrze zaostrzone;
- sprawdzićczyfiltrypowietrzaśczyste;
- sprawdzićczy zabeziepieczenia sā wystarczȩcze i dobrze przyzmocowane;
- sprawdzić przymocowanie uchwyź.
PALIWO I SMARY
Ta maszyna jest wyposzażona w silnik czterosuwowy, kóry NIE wymaga zadnégo dodawania oleju do benzyny.
WAZNE
Dodawanie oleju do benzyny
niszczy silnik i powoduje utrata gwarancji.
WAZNE
Uzywac tylko paliwa i smarow
dobrajakoSci,abyutrzymacdobreresultatypracyi zagwarantowactrwalosci elementowmechaniznych.
- Cechy benzyny
Uzywac tylko benzyny bezolowywiej (benzyna Zielona) z liczba oktanow nie nizsza niz 90 N.O.
WAZNE
Benzyna zielona powoduje
tworzenia sie osadów w zbiorniku, jejeli jest przychowywna w nim powyzej 2 miesiecy. Zawsze uzywać benzyny swiezej!
ZAGROZENIE!
Benzyna jest latwopalna!
-Przechowywać benzyne w homologowanych zbiornikach na paliwa, w mistręsch cach bezpiecznych i odlegych odźrodetciepta czy ognia.
- Nie pozostawić zbiorníków w zasięgu dostepu daneci.
- Cechy oleju
Uzywac oleju tylko dobrey jakosci, specyficznego do silników czterosuwowych, wysoko oczyszczonego, klasy SF-SG i stopniu lepkosci SAE10W30.
WAZNE
Užycie oleju nie oczyszczonego,
nieodpwiedniego lub o cechach odmiennych od tych zalecanych, niszczy silnik i powoduje utrata gwarancji.
U waszego Sprzedawcy mayna nabyc oleje specjalnie zaprojectowane do tego typu silników, mogace zapewnic majwyźsy poziom ochrony i dluga efektywnosc silnika.
WLEWANIE PALIWA

ZAGROZENIE!
Nie palić papierosów podczas
wlewania paliwa i unikać wdychania oparów benzyny.

OSTRZEZENIE!
Otwierac ostroznie korek
kanistra, gdyż wewnatrz są wytyworzyc są podciasnienie.
Przed przystapieniem do wlemania paliwa:
- Ustawic urzadzenie na plaskim, stabilnym terenie z korkiem zbiornika skierowanym do góry.
- Oczyszcie korek zbiornika i.), celem unikniecia przyedostania sie zanieczyszczcen podzas wlewania paliwa.
- Otwierać ostrożnie korek zbiornika, aby stopniowo uwolnić podcijsnienie. Przejrowadzic wlewanie paliwa przy pomocy lejka i unikać napelniania zbiornika do koça.

OSTRZEZENIE!
Zamknac zawsze korek zbior
nika, dokrecajc go do konca.

OSTRZEZENIE!
Oczysć natychmiast káźdy
slad benzyny ewentualnie wylanej na maszyne lub teren i ne uruchamiac silnika tak dlugo, az opary benzyny Nie znikna.
NALANIE OLEJU DO PEŁNA (Rys. 10)
WAZNE
Nie właczać silnika i nie uzywać
maszyny, jejeli poziom oleju jest niewystarczajacy.
Dla sprawdzenia pozom oleju:
-Ustawic urzadzenie na plaskim, stabilnym terenie z korkiem zbiornika skierowanym do gory.
- Odkrecić korek zbiornika i sprawdžić przy poziom oleju dosiega drut otworu wlewowyego.
Pojemnosć zbiornika olejuwynosi 80 cm3 (Model 28) albo 100 cm3 (Model 38).
6. URUCHOMIENIE - UZYTKOWANIE-ZATRZYMANIE SILNIKA
URUCHOMIENIE SILNIKA
OSTRZEZENIE!
Uruchomienie silnika musi
byc dokonywane w odlegosto ci przyznajmnej 3 metrow od.), w ktorym dokonano wlewania paliwa.
Przed uruchomieniem silnika:
- Połozyc urzadzenia w poźycji stabilnej na ziemi.
-Zdjac zabeepieczenie ostrza, (jezeli jest zastosowane). - Upewnić sie, ze ostrze (jeżeli jest zastosowane) niedotyka ziemi lub innych przychodmiotów.
- Uruchomienie na zimno
UWAGA
Przez uruchomienie na "zimno"
rozumie sie uruchomienie przypegowadzone, co najm
niej po 5 minutach od zatrzymania silnika lub po wlaniu paliwa.
W celu Rozruchu silnika (Rys. 11):
- Ustawic przyȩclaznik (1) na poźycji «START».
- Właczyc starter, obracajć dzwignie (5) w pozycji «CLOSE».
- Nacisnac przycisk przyspieszacja (primer) (6) przyez 3-4 razy, aby ułatwoć zapłon gaznika.
- Utrzymywać mocno maszyny na ziemi z jeder reka na silniku, tak, aby nie utracić kontroli podczas uruchomienia (Rys. 12).
WAZNE
Abyuniknac wykrzywień naleź
przestręgać, aby rura przykaźnikowa nie była uzywna do opierania ręki lub kolana podczas uruchamiania maszyny.
- Pociagnac powoli raczke rozrusznika na 10 - 15 cm, aż do wyczucia pewnego oporu, po czym pociagnac zdecydOWANIE kilka razy do uslyszenia pierwszych odgosow zapłonu.
WAZNE
Aby uniknac zerwania, nie
wciagac linki na cala jej dlugosc,nie ciagnac jej po brzegu otworu prowadzacego i zwalnia raczke powoli,unikajac loro niekontrolowanego powrotu.
- Pociąnac powtórnie raczke rozrusznika, az do uzyskania regularnego zapalenia sie silnika.
OSTRZEZENIE!
Uruchomienie silnika z
właczonym starterem prowoku ruch przyrzȩdu tTRACEGO, ktoś y Sie zatrzymuje Jedynie po wylączeni startup.
- Zaraz po wączeniu silnika, wyłaczy rozrusznik obracaj dzwignie (2) na pozycje «OPEN».
- Pozostawic w ruchu silnik na minimalnych obrotach, przyze co najmiej 1 minute przyrozprés <<< uzywania urzadzenia.
WAZNE
Ježeli raczka linki rozrusznika
bedzie pociagana czesto przy wączonym starterze, silnik要去 ulec zalandiu paliwem i spowodstawć utrudnienie zapalenia.
W przypadku zalania sie silnika, rozebrac吞噬e zaplonowa i pociąnac delikatnie sączke linki Rozusz-na k w celu wyeliminawia nadmiaru paliwa; po czym osuszyc elektrodoynycie zaplonowej i zamontowac ja z powrotem w silniku.
- Uruchomienie na ciepło
W celu uruchomienia na cieplo (natachmiast po zatrzymaniu silnika), sledzic punkty 1 - 4 - 5 - 6 poprzedniaj procedury.
UZYWANIE SILNIKA (Rys. 11)
Szybkosc przyrzadu tnacego jest regulowana przyez naped przyspieszznika (2), umieszczony na uchwycie tylnym (4) lub na sprawym uchwycie (4a) tulei.
Uruchomienie przyspieszneika möglich jest tylkowtedy, gdy"Justoczenia naciskana jest dzwignia blockady (3).
Ruch przeniesiony jest z silnika na walek obrotowy za pomocapręgla masy odśrodkowej, ktore uniemoziWiia obrót walka, kiedy silnik pracje na minimum.
OSTRZEZENIE!
Nie uzywać urzadzenia, jeźeliaca sie przy silniku na miniow tym wypadku, wyregulawc z.8) a jejelizi probleme sie utrzyęsć do waszego Sprzedawycy.
Poprawna prędkość pracy otrzymuje są naciskajc do konca przycisk przyspiesznychka (2).
WAZNE
Podczas pierwszych 6-8 godzin
uzytkowania urzadzenia, unikać pracy silnika na najwyźyszych obrotach.
ZATRZYMANIE SILNIKA (Rys. 11)
W celu zatrzymania silnika:
Zwolnic przycisk przyspieszznika (2) i pozostawic silnik pracuju na minimum przyze kilka sekund.
- Przenieść przyłącznik (1) do poźycji «STOP».
OSTRZEZENIE!
Po
doprowadzeniu
przyspiesznika do minimum, potrzeba kilku sekund zanim przyrzad tracy sie zatrzyma.
7. UZYTKOWANIE URZADZENIA
Dla poszanowania innych somebody natalnego nalezy:
- Unikać sytuacci, w ktorych staje sie elementem zaklocajacym.
- Przestręgać skrupulatnie lokalnych przypeśw dotycznych usuwania materiały pożostajego pocieciu.
- Przestręgać skrupulatnie lokalnych przypeśw dotycznych usuniecia olejów, benzyny, zniszczych czeci przy jakichkolwiek innych elementów zanieczyszczajych siodowisko.
OSTRZEZENIE!
Przedluzone poddawanie sie
wibracjom要去powodaczranieniaizaburzenia neurologicno-naczyniowe (znane rowniez jakoefenomen Raynauda"lub "bialea reka")przede wszymkimu cierpiacych na zaburzenia krazenia. Oznaki moga dotycyrcrak, nadgarstkow oraz palcowicharkterzyuju sigrutczucia,mrowieniem,swierzbieniem,bolem,utrata barwy lubzmieniona struktura skory.Efekty te moga ulec wzmozeniu wskutek niskiej temperature otoczenia i/lub zbyt mocny usciskuchwytu.Przy povajieniu sie tychoznakezzyrezdukowac czas uzytkowania maszynyiskonsultowacsezlekarzem.
OSTRZEZENIE!
Zakladać odpowiednia odzież
podczas pracy. Wasz Sprzedawca要去 dostarczyc wam informacji dotyczych najbardziej odpowiedniego sprzetu ochrnoop w celu zapewnieniem bezpieczentwa podczas pracy.
WYKORZYSTANIE SYSTEMOW ZAWIESZENIA (Rys. 13)
OSTRZEZENIE!
Maszyna podczas uzytkowa
nia musi byc caly czas zaczepiona do wlasciwie załozonego zawieszenia. Nalezy czesto sprawdzac efektywnosć szybkiego roz污染物, aby uzgliwość uwoLNIONIA maszymy z podtrzymujycch ja pasów w przypadku zagrozenia.
Zawieszenie musi byc zalozone przedzaczepieniem maszyny na odpowiednich zacepach i pasy musza byc wyregulowane odpowiednio do wzrostu i budowy operora.
Jeźeli maszyna wyposzażona jest wość punktow zaczepienia,NSEZY wykorzystwocnejodpowiedniejsze.), ustrzymania wyważenia maszyny podczas przyc.
Uzywać zawsze systemu zacepiezenia odpwiedniego do ciezaru maszyny i zastosowanego przyrzȩdu dociecia:
- przy maszynach o cięzarze mniejszym niz 7,5 kg, wyposzażnych w glowice trzymajść drut lub ostrze z 3 lub 4 koncami, musza byc uzywane modele zawieszenia z pasem pojedynczym lub podwojmny;
- przy maszynach o cięzarze powyȩjej 7,5 kg, wypasązonych w ostrza w formie pły, (jeżeli są dozwolzone), musi być uzywany tylko model z podwojmnym pasem.
- Modele "MONO" z podwojnym pasem
Pas (1) musi przechodzic nad lewa lopatka, w kierunku prawego boku.
Modele z pasem podwojnym
Pas (2) musi byc zalozony z:
- z czȩcią wyściejano i zaczechem spreźynowym po prawej stronie;
- zaczepem z przodu;
- ze skrzyżowaniem pasów na plecach operatora.
Pasy musza byc napiete, aby moc rownomiernie rozkladać cięzar na plecy operadora.
SPOSOBY UZYTKOWANIA MASZNY
OSTRZEZENIE!
Podczas pracy, maszyna musi
byc zawsze trzymana mocno w dwoch rekach, z silnikiem po prawej stronie ciata i czescia tnacu utrzymywana ponizej poziomu.pasa.
OSTRZEZENIE!
Natychmiast zatrzymać silnik,
zyma podczas pracy. Zwracć
mociłwość odbiacia (kickback),
ć wówczas, gdy ostrze sągne
przeszkode (klocki, korzenie,
tp.). Unikać dotykania terenu
Odbcia powoduja odrzucenia
panowania, moga powodowej
maszyna, moga zagrozic beziora i spowodowej uszkodze
Przed Rozpoczeciem po raz pierwszy pracy koszenia, wlasciwym jest niebezde naozanie maszyny i zaoznanie sie z najodpowiedniejszymi technikami cięcia, przybjac załość odpowiednio system zawieszenia, trzymać mocono maszyny i powtorzyc ruchy wymagane podczas pracy.
- Wybó przyrzȩdu do;ciecia
Wyseleckcjonowac najodpowiedniejszy przyrzad do ciecia biorac pod uwage rodzaj pracy do wykonania, zgodnie z tymi generalnymi zaIozeniami:
- lostrze z 3 koncami jest odpowiednie do cięcia krzaków i małych krzewów o srednicy ponijej 2 cm;
- lostrze z 4 koncami jest odpowiednie do cięcia silnej trawy, na duzych przyestrzeniach;
- glowica trzymajca drutUNCTA wysokaiporosty niedrewnopochodne woblizu ogrodzen,murów,fundamentów,chodników,wokot drzewtp.,lub przy kompletnym czyszczeniujedianj specjalnejczeci ogrodu;
- ostrze w formie pily, (jezeli dozwolone) jest odpo-wiednie do cięcia opornych krzewów, krzaków i mazych drzewek z trzonem o srednicy ponijej 6 cm.
TECHNIKI PRACY
a) Ostrze z 3 koicami (Rys. 14)
Rozpoczynać cięcie z górgy roślinnosci, schodzac potem z ostrzem w ruchu sierpwym w taki sposob, aby scinać gałęzie tnac je na male czȩsci.
b) Ostrze z 4 koicami (Rys. 15)
Pracowac wykorzystujac maszyny jak tradicyjna kose, wykonujac ruchy pod katem oko 60-90, przychodzac poźniaj poza pokos w nastepny porost i tak dalej.
c) Glowica trzymajaca drut
OSTRZEZENIE Uzywać TYLKO drutu nylonowe. Uzymie drutów metalowych, drutów metalowych w otulinie plastykowej i/lub nieodpwiednich do glowicy, moga powodowej pożawe skelezenia i zranienia.
Podczas uzytkowania jest wskazane wylączyć silnik i usṇć periodycznie resztki trawy, kró opłataja maszyny, aby unikné przyegrzania walka obrotowej spowodowanego przytz trawę zakleszczejność są pod zabeźpieczeniem.
Zakleszczona trawe nalezy usunac srbokrtem, aby uzlowić wąsuciwe chłodzenia walkska.
OSTRZEZENIE!
zamiatania, nachylajac glowice trzymajac drut. Moc silnika moze spowodawac wyrzucanie odlamkow i matych kamieni na odlegosci 15 metrow lub wiecej, powodujac szkody i prowokujac zranenia osob.
- Scinanie w ruchu (Koszenie) (Rys. 16)
Postpowac do przyodu regularnie, wykonujac ruchy kątowe podobne do tradcyjnégo koszenia kosa, bez nachylania glowicy trzymajacej drut podczas pracy.
Próbowac napijerw scinać na odpowiednej wyso-kosci na malej powierzchni, aby poźniaj uzyskać jegnakowa wyso-kosci scinania poprzej trzymanie glowicy trzymajacej drut w stalej odleglosci od terenu. Przy koszeniu trudniejszym,MZEbyc przydatne nachylenie o okoto 30^ w lewo glowicy tnaçej z drutem nylonowym.
OSTRZEZENIE!
AOSTRZEZENIE Nie pracstaw tym sposobem, jezeli istnieje moziwość wyrzucania przyzemiotów, któ moga zranic osoby, zwierzenia lub spowodowa szkody.
- Scinanie preczyjne (Wyrównywanie)
Trzymać maszyny lekko nachyloną w taki sposob, aby czȩść dolna glowicy trzymajacej drut nie dotykatal terenu i linia koszenia znajdowa są w wymaganym punkcie, utrzymujac zawsze przyrzadtnąc dalek od operadora.
- Scinanie w poplizu ogrodzen/fundamentów (Rys.17)
Przyblżć powol glówne trzymajęca drut do ogrodzemu, palików, ska, mułow itp., unikacja silné goederzenia.
Ježeli drut uderzy w znaczcă przeszkode moze ulec zerwaniu lub zniszczeniu; ježeli pozostanie zapłatany w ogrodzeniu moze gwaltownie sie przerwać.
W kazdym razie, scinanie w problizu chodników, fundamentów, mułow itp.,MZe powodowa szybsze zniszczenia drutu od zuzychia normalné.
- Scinanie wokóf drzew (Rys.18)
Przechodzic wokó drzew z lewej strony na prawo, zblżajac sie powoli do pni w taki sposob, abyNie uderzyc drutem o drzewo, utrzymujac glowece trzymajaca drut lekko nachylona do przyodu.
Pamiętac, ze nylonowy drutMZe przechinać lub uzzkadzac mole krzaki i ze uderzenie nylonowej drutu w pnie krzakow lub drzew z miękka koraMZe spowodacowa powazne uszkodzenia rośliny.
- Regulacja dlugosci drutu podczas przy (Rys. 19)
Maszyna ta wyposzażona jest w glowice „Uderzaj i Idź" (Tap & Go).
Dla wydania nowego kawalka drutu nalezy uderzyc glowica w zieme przy silniku na maksymalnych obrotach; drut wydobedzie sie automatycznie, a noź obetenie drut bedęcy w nadmiarze.
d) Ostrze w formie pily (jezeli dozwolone) (Rys. 20)
OSTRZEZENIE!
Uzycie ostrza w formie pity
jest zabronione w maszynach posiadajych opdowiedni symbol (zobacz rodziaf 2 nr 6). Aby uzytkowac, tam gdzie to jest dozwolone, ostrze w formie pily, nalezy zawsze zamontowac spejalne zabezpiekzenia. Ostrze musi byc zawsze dorbe naostrzone, aby zredukowac ryzyko odbicia.
OSTRZEZENIE!
W przypadku przewracania
sie malych drzew, nalezy przywidziec kierunek upadku scinanego drzewa, biorac pod uwage takze kierunek wiatru.
Aby uzyskac dobry rezultat, przy obalaniu malych drzew, jest konieczne wykonac cięcie szybkim ruchem wykonanym w kierunku gałęzi lub pnia dośćca, z silnikiem na maksymalnych obrotach.
Unikać uzywania prawej strony ostrza, ponieważ w tej strefie istnieje wysokie ryzyko odbicia lub zatrzymania sie ostrza, spowodOWane kierunkiem rotacji.
ZAKONCZENIE PRACY
Po zakończeniu pracy:
Zatrzymać silnik jak wskazanowczesnej (Rozdz. 6).
- Zacekac do zatrzymania sie przyrzadu tnacego i zamontowac zabezpieczencie ostrza, (jezeli korzystamy z ostrza o 3 lub 4 koncach lub ostrza w formie pily).
8. KONSERWACJA I PRZECHOWYWANIE
Własciwa konserwacja jest podstawowy elementem dla zachowania z uplywem czasu wydajnosci i bezpieczność uzytkowych urzadzenia.
OSTRZEZENIE!
Podczas zabiegów konser
wacyjnych:
- Ołączycki zwoje zapłonowej.
- Odczekać aż silnik;będzie dostatecznia ochłodzony.
-Uzywac rrekawic ochronnych przy pracy z nozami.
-Utrzymywać zamontowane zabepezeczenia ostrza, za wyjatkiem przypadków pracy na samym ostrzu. - Nie pozostawiac wŚrodowisku olejów, benzyny czy innych materiały zanieczyszczajycych.
CYLINDER I TÜUMIK
W celu zmniejszenia ryzyka pozaru,czysci regularnie lopatki cylindra sprezonymgowietzem i ocyszczacmeizesdoodoka tumlika z trocin, gaizek, liSci cziny innych resztek.
ZESPóL ROZRUCHU
Aby uniknac przyegrzania sie i uszkodzenia silnika, katki zasysajace powietrze do ochladyznia musza byc zawsze utrzymane w czystosci i wolne od trocin i opadkow.
Linka rozruchowa musi byc wymioniona przy pierwszych odznakach zniszczenia.
UMOCOWANIA
Okresowo kontrłowac dokrecenie wszystkich szrub i nakreetek oraz czy uchwyty są pewnie przymocowane.
CZYSZCZENIE FILTRA POWIETRZA (Rys. 21)
WAZNE
zasadnicza kwestia dla dobrego funkcionOWANIA i trwaLo ci urzadzenia. Nie pracowac bez filtra lub z filtrem uszkodzonym, aby nie spowodowac niedodwra-calnych szk od w silniku.
Czyszczenie musi byc przypegowadzane, co 8-10 godzin pracy.
W celu oczyszczenia filtra:
- Nacisnac dzwignie (3) i zdjacPokrywke (1) oraz element filtrujacy (2).
- Umyc element filtrujacy (2) woda i mydlem. Nie uzywać benzyny lub innych Rozpuszczalników.
- Pozostawic filtr oleju do wysuszenia.
- Zamontowac z powrotem element filtrujucy (3) i poukrywe (2).
KONTROLA SWEICCY (Rys. 22)
Okresowo, rozebrać i oczyScić swiece usuwajc ewentualne osady metalowa szczoteczka.
Dla dostania sie do swiecy, nalezy odkrćić招投标 przy pomocy klucza otrzymane wraz z dostaw i czȩć obudowe górna.
Kontrolować i przywróci prawidłowosc odlegosci między elektrodami.
Zamontowac z powrotem swiece zakrcajc ja do konca kluczem zwypasaZenia.
Swieca powinna byc wymieniana w przypadku spalonych elektrod lub znisczzonego izolatora, lub mimo wszystko, co 100 godzin pracy, na rownorzedna o analogicznych checach.
WYMIANA OLEJU SILNIKOWEGO
Opróznic zbiornik z jestecz cieplego oleju silnikowej dla umożliwnia kompletné i szybkiego wyproznienia.
- Sprawdzićczykorek zbiornika paliwa jest wąsciwie zamkiety.
- Odkrećć korek zbiornika oleju i wypuść olej do pojemnika, nachylijac silnik w kierunku otworu wlewowygo zbiornika oleju.
- Napelnic zbiornikazolecanym olejem i sprawdzic)--jego poziom.
- Ponownie załość korek zbiornika oleju.
REGULACJA GAZNIKA
Gaznik jest wyregulowany w fabryce w sposob pozwalajcy na oryzmywanie najeplieszych winików w kaźdej sytuacji uzytkowania, przyminimalnej emisi gazów szkodliwych i w zgodzie z obłowiazujczymi(normami.
W przypadku niewaSciwo go dzialaniaNSEzy zwroci. sie do waszego Sprzedawcy dla sprawdzenia paliwa i silnika.
- Regulacja minimalnych obrotów
OSTRZEZENIE!
Regulacjaminimalnych
obrotów musi byc przyrzadtnacy obracsi przy silniku na minimalnych obrotach.
Zmielejsenie prędkosci otrzymuju sie obracaj strube oznaczona litera «MIN» przyciewnie do ruch wskazowej zegara,避孕 do uzyskania zatrzymania obrotów przyrzadu na三点 go, przy dostatecznej regularnosci pracy silnika.
Ježeli silnik na minimalnych obrotach pracije nieregularnie, przykrećić招投标 w kierunku zgodnym do ruchwskazówek zagara w celu zwiekszenia predkosci.
OSTRZEZENIE!
Przyradiansnicynie moze sie
porusza przy silniku na minimnych obrotach;
poradzić sie z waszego Sprzedawcy, jejeli nie mayna osiagnć zadowalajęcej regulaci.
PRZEKLADNIA KATOWA (Rys. 23)
Nasmarowac przy pomocy smaru na bazie litu.
OdkreciSrube(1) i wpwadzic smar obracajac recznie wa, az do momentu, gdy smar wydostanie sie na zewnatrz; wtedy wkreci ponownie Srube (1).
OSTRZENIE OSTRZA Z 3 LUB 4 KONCAMI (Rys. 24)
OSTRZEZENIE!
Uzywac rrekawice ochonne.
Ježeli ostrzenia zostanie wykonana bez demontowania ostrza, naleź odlączyć kolpak swiecy.
Ostrzenie musi byc wykonane biorac pod uwage rozaj noza i typ ostry, przy wykorzystaniu pilnika plaskiego, dzialajac jegnakow na wzystkie konce.
Zalecenia dotyczne wlasciwego ostrzenia są podane na Rys. 24:
A = Ostrzenie nieprawidowej
B = Granice ostrzenia
C = Katy nieprawidowej i hierówne
Wañne jest, aby po ostrzeniu bylo zachowane wólsciwe wyważenie.
Ostrza z 3 lub 4 koncami są wykorzystwyane obustronnie. Gdy jejna strona konca jest zuzyta, przyna obrócić ostrze i uzywać.goje drugiej strony.
OSTRZEZENIE!
Ostrza nie mayna nigdy
naprawiać, naleź je natychmiast wymiNIC jak
tylko zostano zauwazone poczakti peknięcia lub, gdy zostanie przyzekroczenia granica ostrzenia.
Aby wymienic nylonowy drut, nalezy postepoweak zgodnie z zaleceniami instrukcji przykazanej wraz z glowica.
OSTRZENIE NOZA PRZECINAJAÇEIGO DRUT (Rys. 25)
-Wyjac noz przycecinajcy drut (1) z zabezmieczenia 2),odkrcacaj srube (3).
Zamocawa noz przy pomocy plaskiego pilnika starajuac sie zachowac oryginaly kat cięcia.
- Ponownie zamontowac noź do zabezmieczenia.
OSTRZENIE NOZA W FORMIE PIŁY Z 24 ZEBAMI (Rys. 26)
OSTRZEZENIE!
Uzywac rrekawice ochonne.
Jeżeli ostrzenia zostanie wykonana bez demontowania ostrza, naleź odlączyć kolpak swiecy.
Sprawdzićczypowierzchnia ostrzenia ostrza bedziewynosita oko1 mm i wyregulować ja, jezeli toniezbędne, za pomocsa szczypcov.
Naostrzy jegnakowo wszystkie zęby za pomoczaokraglonego pilnika (1) o srednicy powozje 5,5 mm, uzywajc go zgodnie ze wskazaniami na rysunku dzialjacn a przyzemian na zȩby z lewej i sprawej strony. Profil zȩbow nie maye byc zmODYfikowany.
OSTRZEZENIE!
Ostrze w formie pily nie jest
odwracalne iz tego powodu musi byc uzytkowane tylko z jegnej strony.
Ostrza nie möglich nigdy naprawiać,NSEJy je natychmiast wymienic jak tylko zostana zauwazone pocz&tki peknięcia lub gdy zostanie przyzekrocznara granica ostrzenia.
ZABIEGI SZCZEGOLNE
Kazda operacja konserwacyjna nie zawarta w tej instrukcji są zaostć przyprzemadowzona tylko i wyłacznie przyż waszego Sprzedawce.
Zabiegi przyprowadzane przy niedopowieidnie serwisy lub osoby niedkompetente powoduja utrately wsztkich udzielonymych gwarancji.
PRZECHOWYWANIE
Po kaźdorazowym zakończeni pracy, wyczyszć dokladnie z kurzu i odpadków, naprawić lub wymiNIC uszkodzone czȩci.
Urzadzenie musi byc przechowywane w mieux scu suchym, z dala od wilgoci wraz z poprawnie załozona. osłona.
malnych obrotach, aż do zatrzymania, tak, aby wykorzystaeciele paliwo pozkostale w gazniku.
- Pozostawic silnik do wychłodzenia i wykreciść.
- Wlac do otworu swiecy hyzeczke swiezego oleju.
- Pociąnac kilka razy raczke rozrusznika w celu Rozprowadzenia oleju w cylindrze.
Zamontowac swiece z tlokiem w hieruchomym gornym.), podczas gdy tlok jest na swoim najwyzszym biegu).
DLUGIE NIEUZYTKOWANIE
WAZNE
Ježeli przywiduje są okresNie
uzytkowania urzadzenia druzszy niz 2-3 miesiace, nalezy zachowac wszelkie srodki ostroznosci w celu uniknipecia trudnosci w ponownym uzytkowaniu urzadzenia lub trwalych uszkodzei silnika.
- Magazynowanie
Przed magazynowaniem urzadzenia nalezy:
- Oproznić zbiornik paliwa.
- Uruchomić silnik i utrzymać go w ruchu na mini
- Ponowne użycie
W momencie powrotu do pracy urzadzenia:
-Zdjac swiece.
-Uruchomic kilka razy raczke rozrusznika,aby wyeliminowa nadmiar oleju.
- Sprawdzić swiecejak opisano wrozdziale "Kontrola swiecy".
- Przygotowej urzadzenia jak opisano w rozdziele "Przygotowanie do pracy".
9. LOKALIZACJA USZKODZEN
| NIESPRAWNOŚC | MOźLIWA PRZYCYNA | SPOSÓB USUNI CIA |
| 1) Silnik są nie urucha-mia lub nie pozostaje w ruchu | - Niepoprawna procedura uruchomienia | - PostępowaN zgodnia ze wskazówkami (patrz rozd. 6) |
| - Świeca brudna lub nieprawidłowowa odleglość pomietź城乡居民e elektrodami | - Sprawdzić śmiecie (patrz rozd. 8) | |
| - Filtr powietrza zatkany | - Oczyśćci i/lub wymienić filtr (patrz rozd. 8) | |
| - Problemy z mieszanka paliwa | - Skontaktowa są z waszym Sprzedawca | |
| 2) Silnik są uruchamia, ale ma małę moc | - Filtr powietrza zatkany | - Oczyśćci i/lub wymienić filtr (patrz rozd. 8) |
| - Problemy z mieszanka paliwa | - Skontaktowa są z waszym Sprzedawca | |
| 3) Silnik pracuje niere-gularnie lubNie ma mocy przy zasilaniu | - Świeca brudna lub nieprawidłowowa odleglość pomietź城乡居民e elektrodami | - Sprawdzić śmiecie (patrz rozd. 8) |
| - Problemy z mieszanka paliwa | - Skontaktowa są z waszym Sprzedawca |
10. DANE TECHNICZNE
Silnik ......czterosuwowy chlodzony powietrzem
Pojemnosć/Moc
Mod. 28H - 28HD 25 cm³ / 0,81 kW
Mod. 38H - 38HD 35 cm³ / 1,2 kW
Minimalna prędkość obrotowa silnika
Mod. 28H - 28HD 2900-3300 obrotów/min.
Mod. 38H - 38HD 2900-3300 obrotów/min.
Maksymalna prędkość obrotowa silnika
Mod. 28H - 28HD 10500-11000 obrotów/min.
Mod. 38H - 38HD 10500-11000 obrotów/min.
Maksymalna prędkość obrotowa akcesiorów
Mod. 28H - 28HD 8500 obrotów/min.
Mod. 38H - 38HD. 8500 obrotów/min.
Świeca zapłonowa. ... NGK CM5H (lub równorźedne)
Paliwo: .. Benzyna bezolowywa (zielona) - minimum 90 N.O.
Pojemnosć zbiornika paliwa
Mod. 28H - 28HD. 550 cm3
Mod. 38H - 38HD. 650 cm3
Pojemnosć zbiornika oleju
Mod. 28H - 28HD 80 cm3
Mod. 38H - 38HD. 100 cm3
Dozwolona maksymalna srednica ostrzy
Ostrze z 3 koncami 255 mm
Ostrze z 4 koncami 255 mm
Ostrze w formie pily (z wyjatkiem Mod. 28H - 28HD
-38H) 0255mm
Ciezar 1)
1) Ciezar zgodnie z norma ISO 11806 (bez paliwa, przyrzadów tących i ochron)
Wyniki Fonometryczne i Wibracje
| Model........................... | 28H | 28HD | 38H | 38HD |
| Stwierdzony poziom hałasu (ISO 10884) dB(A) | ||||
| z glówna trzymajęca drut...... | 108,1 | 107,9 | 106,3 | 109,7 |
| z ostrzem z 4 końcami...... | 106,0 | 106,1 | 103,5 | 106,5 |
| Poziom hałasu docierȩź do uszu operadora (EN 27917) dB(A) | ||||
| z glówna trzymajęca drut...... | 94,6 | 95,1 | 92,1 | 94,7 |
| z ostrzem z 4 końcami...... | 94,3 | 91,2 | 93,2 | 93,7 |
| Drgania przenieszione na rękę na uchwycie przyzdnim("MONO") (ISO 7916) m/sec2 | ||||
| minimalne | 2,4 | - | 2,2 | - |
| z glówna trzymajęca drut...... | 8,3 | - | 5,9 | - |
| z ostrzem z 4 końcami...... | 7,8 | - | 2,8 | - |
| Drgania przenieszione na rękę na uchwycie tylnym("MONO") (ISO 7916) m/sec2 | ||||
| minimalne | 2,0 | - | 2,9 | - |
| z glówna trzymajęca drut...... | 8,1 | - | 6,7 | - |
| z ostrzem z 4 końcami...... | 9,2 | - | 4,7 | - |
| Drgania przenieszione na rękę na uchwycie lewym ("DUPLEX") (ISO 7916) m/sec2 | ||||
| minimalne | - | 1,3 | - | 1,3 |
| z glówna trzymajęca drut...... | - | 7,2 | - | 2,1 |
| z ostrzem z 4 końcami...... | - | 5,4 | - | 2,0 |
| Drgania przenieszione na rękę na uchwycie sprawym ("DUPLEX") (ISO 7916) m/sec2 | ||||
| minimalne | - | 1,9 | - | 1,4 |
| z glówna trzymajęca drut...... | - | 7,7 | - | 3,3 |
| z ostrzem z 4 końcami...... | - | 5,3 | - | 3,7 |
HekopnicterejaMaunHaTa
ako ypeoT 3a cehebe ce IbNKn Kora MToPot e Ha MNHmym; BO OBOJ cnyaj, perynpajte Ha MNHmym (BnTe nornabje 8) n Dokokky npObeMOn oNcTojyBa, KOthakThpajte co 3actanHkOT.
IpaBnHata 6p3nHa Ha pa6Ota Ta Ce noCTmHyBa co KOMaHata 3a 3a6p3yBaHe (2) BO donen npabeu.
BAXHO
Bo TeKoT Ha npBnTe 6-8 yaca
OД paBoTa Ha MaUHHaTа, KOpUCTeTe rO MOTOPHa MAKCmYM BpTeXn.
3AIIINPAHbE HA MOTOPOT (cI. 11)
3a da ro 3acTaHete MOTOPOT:
- OtnyuTeTe ja komaHdata 3a 3abp3yBaHe (2) n octabete ro MOTOPOT da pa60Tu Ha MNHMym Nekojky CeKHyDN.
-Помecтete ro npeknhybaot (1) BO n03njuja «STOP».
BHIMAHHE!
UToM Ke ro CTaBnte
3a6p3yBaHbETo Ha MNHMym,Notpe6Hn ce HeKoJIky cekyn nped da 3actane ypeodT 3ceyehe.
ProstaInstrukcja