SB435HD - Vacuum Cleaner STIGA - Free user manual and instructions
Find the device manual for free SB435HD STIGA in PDF.
Questions des utilisateurs sur SB435HD STIGA
0 question sur cet appareil. Repondez a celles que vous connaissez ou posez la votre.
Poser une nouvelle question sur cet appareil
Download the instructions for your Vacuum Cleaner in PDF format for free! Find your manual SB435HD - STIGA and take your electronic device back in hand. On this page are published all the documents necessary for the use of your device. SB435HD by STIGA.
USER MANUAL SB435HD STIGA
WARNING: read thoroughly the instruction booklet before using this machine.
1b. Modeller "DUPLEX"
Modell 28 (Fig. 3)
Sågklinga (exkclusive Mod. 28H -
8. HUOLTO JA SÄIYTYS
PAFYLDNING AF BRENDSTOF
For at undgå forandringer i
AFLSUTNING AF ARBEJDET
D) VEDLIKEHOLD OG LAGRING
- Finklipping (Trimming)
8. VEDLIKEHOLD OG LAGRING
OBDOBIDLOUHODOBENEcINNOSTI
WYMIANA DRUTU W GLOWICY
JIO6e3HbI POKyNaTeBb,
IpejKeBcero, Mbl XOTIM NO6bIaOapnTb Bac 3a BbIbOp HauSeI PNOyUcIn N Jeklaem, YTO6bl NCIOJIb3OBaHne BaIeM MaunHbI b6IIO yOBDNETBOPnTeIbnHbIM n COOTBeCTBOBAHO BCEM OXnHaHm. 3TO pyKOBODCTBO NOITOTOBNEO IaI TOrO, YTO6bl IO3BOJNTb Bam JluyWe O3HAKOMtCBc C MaunHNoi, N TO6bl 3ΦΦEKTUBHO MCIOJIb3OBaTb ee B ycIOBnIX 6e0NacHOCTn; He 3a6bIbAte, YTO pyKOBODCTBO RABJREcTHeOTbEMJeMOny qACTbIO MaunHbI, depxNte erO npDpyKo, YTO6bl K Hemy MoXHO 6bIIO oBaPntCBs B IIO6o MOMENT. Ecln Bbl XOTITe nepeDaTb INI ODOJIKNTb MaunHy B NOJIb3OBaHne DpyIm LInqam, nepeDaBaTbe BMEcTe C Hei daHhoe pyKOBODCTBO.
3Ta HOBa MaHnHa, HaxoJaAraC B BaWem PaCnpJKeHn, CNPoEeTnpOBAHa n N3rOToBHeNa corLaCHO DeNCTByUOnIM HopMaTINBbIM AKTam, YTO rapaHTnpyET ee 6e3OnaChocTb HaJeXHoCTb PnI NCNoJIb3OBAHn, PnI YcNOBn, YTO B TOUHOCTn BblIOJNHOITcYka3AHn, M3JIOXeHbHe B E TOM PYKOBODCTBe (PpDyUCMTopeHnoe IcNOJIb3OBAHne); ee IcNoJIb3OBAHne DnI IIObIx DpyuNx ZeJeN nn HeCo6JIIODeHne npaBnI TexHKn K6e3OnaChocTn, TEXHuCKOrO O6cbNyJbAHnR nn pEmoHTa paCzehNuBaTeCk KaK "He npabInbHoe IcNoJIb3OBAHne" n Bnueet 3a Co6oB anHHynpoBaHne rapaHTn nn CHImaET C I3rOToBnteRn IIObEyIO TBETCTBeHHOCtB, BO3JaRa H a NOJIb3OBAteRn OTBeTCTBeHHOCtB 3a N3depxKn B Cnlyae NOpChn IMUjcECTBa II INI NOUYEHn TpaBM TpeTbIMn IInZamn.
B TOM clyuae, ecn Bbl obnapyjnte he6oIbIooe pa3JHmE MeJy haoOaIIMC8 BY pkyOBODCTBE ONcAHem m MaunHOH, haoOaIeCSB B aWbem pacnopraKEnHN, IMeJe T BnuDy, YTO n3-3a HnepepbIBHOrO ynuChenr npOyKUn, n3IOKeHHaB D aHHom pyKOBOCTBe HNΦOpMaIg MOKeT n3MeHnTBcB 6e3 npDeBaPNTeJIbHOrO yBeOMJIeHN u 63 o63aTeIbCTBa ee o6HOBJIeHN. Tem He MeHee, Han6OJIee BaXhBiye xapakTePrcNTKn, OTHocAIEeC K 6e3ONaHOCHTn P a6OBe MauHbI, OCTaOHTCHe HN3MENHbIMN. B TOM clyuae, ecn y Bac NOBILINCB COMHENH, CBXkITecB CO CBOIM NpOdaUOM. YcneHNoi pa60bl!
COIDEPKAHNE
- Ινεθητιφικαύηση ΜοχOBΗβίχ Καςτέη ……………………………… 2
2.CIMBOJIbI 3 - Iprabina 6e3oNaChocTn 4
4.C6opKa MaunHbI 6 - IoproToBka K pa6ote 8
- 3anyck - IcnoIb3ObaHne - OctaHOB dBnraTeTna 9
7.Пользоваиме машинов 11 - Texobcnykubahne i xpaheHne 14
- OnpeJeIeHne HeNCnPaBHOCTei 16
- Texnueckne daHHbIe 17
1. INDEHTNΦNKALIGNOCHOBhBIXCACTEIN
OCHOBHbIE YACTI
- MoToPHiB 6JIOK
- TpaHCMnCCNOHHa Tpy6Ka
- Pexyuyn y3en
YCTPOINCTBA YIPABJIEHN I 3APPABKN
- BbiknIOuATEnb DbIrTaTeN
- UcTpoiCTBO ynpaBJIeHnI dPoCCJIeM
23.Блokировka дроссан - Pучka nуcke
- VctpoiCTBO ynpaBHeHnO 6oRaTtTeNEM (Starter) (ecIn nMeetcra
-
YnpabJIeHne 3aIpaBouHbIM yCTpoIcTBOM (Primer) (ecn mEeTcR)
-
Побka толимвого бакa
- Побka дя масяного бакa
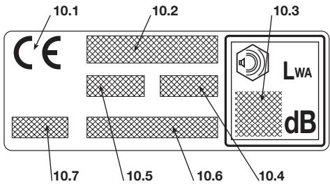
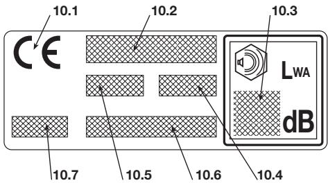
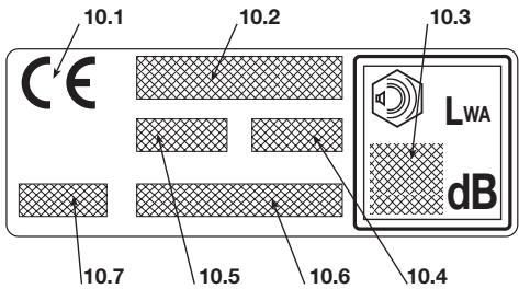
TABJIIVUHKA C DAHHBIMN
10.1) Марк inpobka cootBetCTBnЯ по дректпье 98/37/EC
10.2) Hanmehoanne n aDpec n3rotobnteJI
10.3) YPOBHeH 3BYKOBOI MOUHOCTN (LWA), corJIacHO DnpeKTHBe 2000/14/EC
10.4) CnpaBouhna Moelb n3rOToBnteTne
10.5) MojeJIb MaunHbI
10.6) 3aBoDcKoHOMep
10.7) Toidn3rOToBJIeHnIa

2. CMMBOJbl









1) BHMaHHe! OnachOcTb. DAnHa MaunHa npn HEnpabINbHOM NcOnIb3OBAHm MoKet 6bITb OnaCHo dJa Bac n dJa OkpykaOuXn.
2)П配电д,чЕМпьзваьсmaшинО,пpoчтitepykoBoDCTBO NO 3KcPnIyatauM.
3) OnepaTop, paobTaIoUH nHa daHHoMaunHe B HOpMaJIbHbIX yCIOBIAHX HenpepeBHO PAoBTb I B TceHne DnA, MOKET 6bIb NpOBeRKeH Bo3DeIcTBIO UPOBHNuMa, paBOHO IINN PpeBIIaUOe 85 d (A). IVcNoIb3ObAtb 3aunTy dNcLyxA n3aunTHyIO KAcKy.
4) Hocntb nepaatkn n 3aunthyO o6yB!
5) Onachoctb ot6paibBaHnna npedMeTOB! IIOu n
ДOMaшинеЖИВOTHьBEВРЕМИСПЛБЗВАнЯMaSHINbIДОЖыОТоTNHa pacCTOЯHne,пМeнБшeМepe,B15M!
6) He nCnoNb3ObaTb noToTHa cnPKyIpyHoi nIIbl. OnaCHOCTb: NcNoIb3OBAHne cKpyIpyHoro nIIbHorO noToHa Ha MaINHAX, MapKpOBaHHbIX TaKM CMMBONOM, NOBepraeOT eOpatapota MPCKY cepE3hX TpaBM INIM daxe CmPTeJIbHOOn OAnCHoTH.
7) MaKcImaJIbHaN cKOpocTb peXyUero y3na. UcnoJIb3OBA Tb TOnIbKO nOxDxOJaUne peXyUne INHCTpyMentbl.
8) YpOBeHb 3BvKOBoM MoUHOCTu LWA COOTBetCTByet DnpeKtIbe 2000/14/CE.
ПОЯСHИТЕЛьныЕ CBIMBOЛы HA MAUINHE (eсл nmeIOTcR)

OCyueCTBJIbTb Ha paCCToHn He MeHee, Yem 3 MEtpa OT MeCTa 3aIpaBKn TOIINBOM.
- MeDJIeHHO OTOrTHyTb NcKOByIO pyKoRTKy Ha 10-
15 cm do tex nop, noka Bbl He noCyBCTByeTe COponTnBJIeHne, 3aTEM C CINoI NOrHyTb ee HECKOJIbKO pa3, noka Bbl He ycJIbIWIte NepBbIE B3pblBbl.
BAXHO
Bo n36exkHne pa3pbIBOB He
BbITaRnBaIte Tpoc BO BcIO dINHy, He BOJOnuTe erO BdONJI Kpa OTBepCTNHaNPaBIAIOUe Tpoca N OTNyckaIte pyKoTky NoCTepeHNO, YTObIe BO3Bpat Ha MeCto He bIIn HEKOHTpOJIpyEmbIM.
- CHOBA NOTAHTE 3a NcKOByo pyKoTky, UTo6bl DBrTaTeJI NCpABHO BKJIOUHnCra.
BHIMAHINE!
3anyck DbHraTeTn npn
BKNIOHOM CTape Bb3bBaET NpeMeueHne pexyero y3na, KOtopoe npekpaacaetc IINsb nocne OTKIOHnra CTape.
- B MOpEnJx 31 - 36 - 41, KaK TOnJIbKO DnIgArTeJIb BKIOUHTcR, Ha KopoTkoE BpEma NOkKnIOUHTe DpOCCeJIb, YTObBI OKKnIOUHT cTApTe R bEPHyTb DnIRaTeJIb Ha MMHImaJIbHbI peXIM. B MOpEnJx 45P - 55C tApTeR oTKIOHaetc npn nobOpote pbHuara (2a) B noNoKeHne «OPEN»
8.IBnraTeIb DOnJKeH pa6OtaTb B MMHmAbHOM pexIme xoTb 6b B TeueHne 1 MHNyTb IpeEd NCOJIb3OBAHMeM MaunHbI.
BAXKHO
Ecnn pykOraTka nycKOBoro
TPOCA 3aJeCtByETcH HeCKoNbKo pa3 NOpDraI pN BkHIOueHHOM CTapTepe, ABnIaTeNb MoJKeT 3aToHITbcr, YTO npBBeTeK 3aTpduHnteHbHomy nycky.
B cnyae 3aTOnnHeHna DnIraTeNa, dEmoHTnpObaTb CBEHy MFRKO NOTyHBpyKoTky PnyCKOBOrTOpOca, yTObbl yCTpaHnTB n3bbltOK TOnJIbBa; 3aTEM BbICyUHb3NeKToPdoBn CBeyu, HBOBb yCTaHOBnTB ee Ha DnIRaTeNb.
3anyck ropyeero DbrarateT
Длг «торчero» 3анда (немдпенсрау nocle octанова DBnrgaTeЯ), BblOnHnTb nyHKtbl 1 - 4 - 5 - 6 oncaHHo paee npOeDpybl.
NCTIOJIb3OBAHNE IIBIATENE (Pnc.11)
Ckopoocb pexyero npncnoocbeHn ynpabIeTcpepyaTOPOA kcelepaTopa (2), pacnoIOXeHHbIM Ha
3aHne pykoTke (4) nIHa npaBoi pykoTke (4a) MAXOBuYka.
BkIIOUeHHe IpOcCEna BO3MOXHO ToJIbKO B TOM Cnyuae, ecIn OJHOBPeMeHHo HaxnMaETc8 6IoKIpOBouHbI pbHar (3).
He nCnoJb3ObaTb MaWHy,
ecnn pexyun y3en DBHXETc np MNHmAbhOM pexnme DbrarTn; B 3tOM cnuyae Heo6xduMo OtperynpobTa MHmym (CMOTpn I8) n, ecnn npObnema He blya ycTpaheha, obaatntbcra K Baewemy npodabuy.
Toro, yTo6bI He npuHnHb 6ecnOKoNCTBa DpyTNMIIOJAM HHe HAHOcHTb BpekpyKaIOe Cpe:
-Ⅰ36eRaTb cIyXnTb npUHHoB 6ecNOKoiCTBa.
-CTporo co6JIOdaTb DeIeCTByIOUne Ha MeCTHOM ypOBHe IpaBnla IO BBIO3y OTXoDOb pe3Kn.
-CTporo co6JIOdaTb DeIeCTBByUOuHnHa MeCTHOM yOpBE npabINa No BbBO3y Ha CBANKy Macen, 6eHNHa, N3HOseHHbIX YAcTeN HnN IIObIX 3JIEMeHTOB, HAnOcAunx Uyepo OkpyXaOuEe CpeDe.
BHIMAHVEI
PpOdoJXHTeJIbHoe
BO3dEeCTBnBE Bn6paunm MoKET HaHeCTn yUep6 HeHpOBaCKyIaPHO CNCTME (3TN COCTOHN H3BeTbI KAK CnHDPom PeHo) HN N 6Benpyu), OOC6eHNO YIOJc, CTpaIauoXn pacCTPOiCTBOM KPOOB6paueHEn. CMITOMBI MOrY IpoRABTbcHa pyKax, 3AnrctbXn NaIbuax B BVde NOtePEN cyBCTBNTelbHOCTN OHEmHn, 3ya, 60NI, 6JIeHDocTHn IN3MeHEnn CTpykTypbI KOxN. 3TN CMITOMBI MOrY yCNINTbCSIO4 BO3dEeCTBnEM HN3KOI TEMpePaTybI OkpyKaIOuEe Cpebl WmIN CINlWKOM CNbHORO CXMImAHn pyKoTOK. Pn IOBnEHNN CMIMTTOMOB CNeDyET CHN3NTb BPemCINlB3OBAHnMaIIHHbI N ObpaHTbcK BpaY.
BHIMAHINEI
Bo Bpempa60Tb Hocntb
COOTBETCTBYOUYIO OeKdy. Bau npodabeu MOKET npedocTaBtB Bam CbeDnna O HanaOJIee ndoXoJnx CpedCTbax 3aunTbI, rapaHTnpyUoxx Be60IaONcHb BO BPm paObTb.
NCTOJIb3OBAHVE IPNB83HOI CNCTEMbl (Pnc. 13)
BHIMAHHEI
PnHcNoJIb3OBAHNMaINHa
JOKHbBcERpaPnKpEnHea K npabunbHO HaeTOn PnBraHOB CHCTMe. Yacto npoBeprrde NCTBeHHOCTb BicTpopa3bEmHoro KpENHeN, N03BOLIOUe BoCTPO ChrTB pEMH C MaunHb B CNUe ONaCHOCTH.
Heo6xOdmo Haadetb npBra3Hyo CnCTeMy nepei npKpEnIeHMeMaunHb K CneuAalbHOMy coeINHeHIO, Tpe6yETc OtperyInpOBaTb IInHy pEmHe 3abCnMoCTOn OT poCTa N TeNoCLOXeHn opepatop.
Ecni MaunHa OchaueHa HeCKoIbKIMM OTBepCTnMaM dIa 3akpenHeH,INcNoIb3yIte Han6OJIee yIObHOYto TOnKY, NO3BOJIoUy COxpaHITb 6aIaNcPobKBy MaunHb BO Bpem RaOBoTb.
Bcerda nCnOJb3yIte npINBra3HyIO cNCTeMy, COOTBeTCTByIOUyIO BEcy MaINHbI N NCnOJIb3yEmOMy pexyuEmy pincnoCo6JeHHo:
-
Ha MaunHax, BEC KOtOpbIx HE NpeBbIaeaT 7,5 KT, OChaueeHbXr TOnOBKO-DepKxATEJeH MHTN HIO HOXAMc 3 HJ4OCTPnMM, MOKHO INoONlB3OBaTb MODEJI C ODNHM INJIN DByMPEMHMI;
-Ha MaunHax, Bec KOTopbIX npeBbIaet 7,5 KTR, OCHAseHHbIX NIIbHaTbIM HOXOM (ecJN 3TO pa3peSeHO), MOXHO IcNOJIb3ObA Tb TOLbKO MoJeIb C dBMyr peHMnI. -
Modèle "MONO" cônHIM pÉMHÉM
PemeHb (1)doJxKeH npoxoNtB chepe3 JleBoe nJeyo, K npabomy 60ky.
- Modèle n dbym pemharni
PemeHb (2) cneyuET haneBaTb cneyuOuIM o6pa3oM:
- no6nta yacTb n KpOK c 3aueJIKOJdoJXHbI 6blc npabOJ CTOpOHbl;
- pacctekka cnepei;
- pemn paonoloxhenb KpeT-HaKpeT Ha cnHe onepaTopa.
CneyuT HataHytbpemHn,yTo6bpaBHomepHo pacnPepEnTbHarpy3kyHaPiNeu.
3KCIJYATALIMALIMINHbI
BHIMAHHEI
He BbInonHnIe DeIcTbnB
3TOM NOPA.KE, eCNI CyueCTBYET PnCK OTbpaBbAHN IpeMToB, KOTOpBIE MOyT HAnecTN TpAbMbI IIOJAM INI JXIBOTHBM, IINo HAnecTN yuep6.
- Tsucha Ctpnckka (O6pe3ka)
OuICTka BbInonHЯETcAYepe3 KaXdIe 8-10 YacOB pa6oTbl.
YtO6bI OuHCTnTb QmJIbTp:
-HaKMTe Ha 3bIyok (3) n CHMNTe KpbIuKy (1), a 3aTeM pInIbTpYIOUI NJIEMENT (2).
-ПROMOTeФИЛТРУЮДМ 3JIEMENT (2)С MБЛOM И ВОДО. He ИСПОЛБЗВАТь 6EH3IN И ДPyгпЕ pactВорNTeПи.
-ДаиTeФильТур npocoxHyт ha Bo3dyeXe.
-BHOBb yCTaHOBnTb φnJIbTpYIOuN 3JIeMeHT (2) n KpbIshky (1).
TIPOBEPKA CBEH (Pnc.22)
IpeiOnDiueckn DEmoHTnpOBaTb N Ouyu, ydaJIaB Yo3MOxHbIe OTIOXeHnN Pn NiMoOuMeTaJIuYeCKoI qETKn.
Для пolyченя дocуна к с蜱е Heo6xOДИМО OTBHTNTВ BINT ПИ NOMOUInpiJanaeMOrO KJIQUa И CHЯТВ ВERCXHIOO OBJNUOBYK.
Pexyui y3en He doJxhen
DIBURAcPIMMHIMAbHOMpeXHMDEBURAteNA;
6oBaHTeCbK Bawaemy npodayu,ecn He ydaetc
DOCTHyyOBNETBOPHTeHOro perynipOBAHNA.
YTIOBAAIPEPAHAC(Pnc.23)
Cma3bIaTe KOHCnCTeHTHO CMA3KOHaJIITNeBOO OCHOBe.
CHIMITE BnHT (1) IN BBeDNTe Cma3Ky, BpyuHyIO NOBOPaUHBAI BAN Do TEX NOp, NOKA CMA3Ka He HAuHTBbIXOaNTb; NOCne Yero BHOBb yCTaHOBNTe BnHT (1).
3ATOUKA HOXA C 3 UNI 4 OCTPNA MM (Pnc.24)
BHIMAHHEI
IcnoIb3yIte 3aunTHbIe
nepaTKn. Ecn 3aToyKa BbInOnHReTc6e3 DEMOHTaxa HOx, CHMNTe KOJINaQOK CBeuN.
3aToUka dOJnxHa BbIOnHrTbc C yUeTOM TnA HOxAn pExyux KpOMOK PnI NOMOuN IIOCKORHOHnJIbHnKa, BCE OCTPnI DoJnxHb6bITb 3aTOUeHbOdINAHKOBO.
Yka3aHnIy Ipy npaBnIbHOrO BblIOJIHeHnI 3aTOUKn Yka3aHbHa Pnc.24:
A = HenpaBnIbNa 3aToUka
B = ΓρaHηιβλ ΣaTOUκη
C = HenpaBnIbHbIe nnI hepAblbe yrIbl
BaJxHo, YTO6bI nOcNe 3aToUckn coXpaHnlaCb npaBnblhaj 6baHaNCiPoBka.
Moxho nCnObl30BaTb 6Obe CTOpOnbI HOKe c 3 nIi4 OCTPnMa. Ecnn OHa CTOpOna C OCTPnMa m N3HOseHa, MoXHo NOBepHyTb HOK I NCNoJIb30BaTb DpyrIO CTOpOHy C OCTPnMaN.
BHIMAHINEI
Hox He npnexnt pemonty,
HeoXoHMo 3aMeHnTb erO npn npBbIX npN3HaKax TpELIN HIN pRn nppeBbIeHN IpaHmL 3aTOcKn.
3AMEHA HINTI FOJIOBKI
ДяЗамныНиноюн HNTI DeiCTByTe NOHCTpyKUIM,прunaemaOМ K rOLOBKe.
3ATOUKA HOXA IJIY OBEPE3KN HHTN (Pnc. 25)
- CHIMITE HOXДЯOBpe3KN HHTN (1) C 3auntbI (2), OTBnHTNB BnHT (3).
-3axmnte HOX IJN O6pe3KN HNTB TnCKN, 3aTOHTe ero NIOCKM HAnINbHNKOM, O6paUaBHNMaHHe Ha npABInbHOCTb YIHa 3aTOcKN.
-BHObB yCTaHOBnTe HOX Ha 3aunTy.
3ATOUKA PIIJIbUATOHOXCA 24 3YBLJAMN (Pnc.26)
BHIMAHNEI
UcnoIbayuTe 3aunThbIe
nepaTKn. Ecn 3aToyKa BbInOnHReTc6e3 DEMOHTaxKa HOx, CHMMTE KOIINaOK CO CBeuN.
YIOCTOBEPbTecb, YTO pa3BOD HOXA COCTABJnE Tnp6JIIN3NTeIbHO 1 MM, N, NO Heo6XoDMOCTH, OtperyIpuyTe erp npn POMOu KNLeuei.
Odnakobo 3atoHte Bce 3y6bI npn nmoOnkpyrIoro HannlbNka (1) dAmetpom 5,5 MM,NCNoJIb3y ero, kak noka3aHo Ha pncyHke, n3atauBra nonepemehno 3y6bI cnpaba n CneBa.
HeIb3Ma MeHnTb npocnbl 3y6ua.
BHIMAHNEI
HeIb3n nepeBopaunBaTb
HnBbHaTbH HOX Ha 06paTHyO CTOPHY, N03TOMy MOxHO NcNoIb3OBaTb TOnbKO OHy ERO CTOPHY.
Hox He noDlHexnT peMOHTy, Heo6xoJIMO 3aMeHnTbe erO npn nepBbIx npn3HaKax TpeuH nIIN npn npBeBbIeHN rpaHnC 3aTOckN.
4PE3BbIaHHOETEXO6JIyXINBAHME
JIO6a onepaun no Texo6nykubAHNO, He ONncaHna B HactoIe pykoOdCTBe, DOnxHa BbINOJIHrTbc TOnbKO BaWM npodabcUOM.
OnepaunBbIOpHHeHHBe HneOxOJaXn DnTOro CTpykTypax NIN HeKBaJIuΦnUPOBaHHbIMN JIObMn, PpIBoJrK aHHyUPOBaHIO rapaHTN B JIO60fopme.
XPAHEHNE
BcKn pa3 nocle paobtI tuaTeJbHo oOnuauTe MaunHy OT nbnn N obJomKOB, pMoHTnpyTe nn 3aMeHnTe NOBpeXdHHbe Detann.
MaunHa DOnJHx XpaHnTbcra B cyXOM, 3aunIeHHOM OT HeNOrObl MeCTe, C npaBnIbHO UcTaHOBJIeHHo3aunIToI.
JOIIGNE IEPNObI 6E3JECTBnA
BAXKHO
EcnBbI npednonaraete,TO
He 6ynde IcnoJIb3ObaTb MaIHy B TeueHne 2-3 MecaJeB, CNeJyET npNHTb HeKOTOpble Mepbl, YTObI U36eXaTb 3aTpUdHEnn PpN BO3o6HOBNeHn paObToI INI HeO6paTmbx IONBpeKDeHm DBrAteJIa.
XpaheHne
Ipeed Tem, KaK NomecTb MaunHy Ha xpaHeHne:
- OnopoxHntb 6ak ot TOnnBa.
- BkIIOHHTb DnBraTeJIb I DaTb EMy paOtaTb Ha MNHIMaJIbHOM pexHMe IO OCTaHOBKn, IJrTO, YToBb IzPacXoDObaTb BCE OCTaBWeecr B KAp6Opatope TOnNIBO.
-ДаТь ДВИГАТЕЦЮ OCTыть И DEMOHТИРОВАТСBEЧУ.
-3aJIbT B OTBepCTne CBeuOdHy YaHHyo IoxKy CBExKeI MaCna.
-HeckoJIbko pa3 NotaHtby NcKOByIO pyKOaTky IpaacpeDeIeHnMa cnaB uCJInHdpe.
-BHOBb MOHTnpoBaTb CBEy C nopUHem B BepxHeM MePTBoI TOUKe (BUNHOJ Uepe3 OTBepCTne CBeYi, KOrJa NOpWeHb HaxOuNTcRa Ha MaKcNMaJIbHOM XoJe).
- Bo3o6HOBJIeHme pa6OtBu
B MOMENT BO306HOBJIeHne pa60tbl Ha MaJINHe:
-
CHTb CBeuy.
-HeckoIbko pa3 nOraHyTb 3a nyCKOByIO pyKoRTKy dIrydaneHnN36bITKa Macna.
-Пюверпь CBeчу,ΚΑΚΟΝΙСАΝΑΒ ΓΙΝΑΒ “Пюверка CBeчи”.
-Под�товь Машину, КК OnиcaHo B rnaBe "Под�товka к pa6oTe". -
ONPEDEJEHNE HENCPABHOCTEIN
10. TEXHINUeCKN E DAHHbIe
ToPnIBo: ...BcH3nB6e CbNca (3eJIeHbI) -
MNHIMaJIbHOE OKTaHOBoe YnCNo 90
EMKoCTb TOnJIINBHO 6aKa
MoI.28H-28HD 550cmp
MoA.38H-38HD 650cmp
EMKOCtB MacJrHOrO 6aka
MoI. 28H - 28HD 80 cmp
MoI.38H-38HD 100cmp
MaKcImaJIbHbI dOnyCTmbl dIaMeTp HOKeI
Hoxc3octpnMm 255 MM
Hoxc4octpnMm 255MM
Mодели (КрOMEМоД.28H- 28HD-38H) 255 MM
Macca 1)
Moenn "MONO" 0T 5,3do7,1Kr
Mojeenn "DUPLEX" . 0T 5,5do8,2Kr
1) Macca B COOTBETCTBUN CO CTaHapTom ISO 11806
(6e3 ToPnIbBa, peKyuux N 3aunTHbIX
Pnncno6JeHn)
3BykOMeTpHueckMe daHHbIe N Bn6paun
| Modello............ | 28H | 28HD | 38H | 38HD |
| Измеренный уровеньш汞ma (ISO 10884) dB(A) | ||||
| c rolobков-держателем НHTN.... | 108,1 | 107,9 | 106,3 | 109,7 |
| c hoxkom c 4 octpramn.... | 106,0 | 106,1 | 103,5 | 106,5 |
| Уровеньш汞maу ушев onepatopа (EN 27917) dB(A) | ||||
| c rolobков-держателем НHTN.... | 94,6 | 95,1 | 92,1 | 94,7 |
| c hoxkom c 4 octpramn.... | 94,3 | 91,2 | 93,2 | 93,7 |
| Вибраця, coobuchaemaj руke на пeredнй руковские ("MONO") (ISO 7916) m/sec2 | ||||
| MINHMajlbhny уровь... | 2,4 | - | 2,2 | - |
| c rolobkov-держателем НHTN.... | 8,3 | - | 5,9 | - |
| c hoxkom c 4 octpramn.... | 7,8 | - | 2,8 | - |
| Вибраця, coobuchaemaj руke на за干嘛 руковские ("MONO") (ISO 7916) m/sec2 | ||||
| MINHMajlbhny уровь... | 2,0 | - | 2,9 | - |
| c rolobkov-держателем НHTN.... | 8,1 | - | 6,7 | - |
| c hoxkom c 4 octpramn.... | 9,2 | - | 4,7 | - |
| Вибраця, coobuchaemaj руke на левий руковские ("DUPLEX") (ISO 7916) m/sec2 | ||||
| MINHMajlbhny уровь... | - | 1,3 | - | 1,3 |
| c rolobkov-держателем НHTN.... | - | 7,2 | - | 2,1 |
| c hoxkom c 4 octpramn.... | - | 5,4 | - | 2,0 |
| Вибраця, coobuchaemaj руke на правим руковские ("DUPLEX") (ISO 7916) m/sec2 | ||||
| MINHMajlbhny уровь... | - | 1,9 | - | 1,4 |
| c rolobkov-держателем НHTN.... | - | 7,7 | - | 3,3 |
| c hoxkom c 4 octpramn.... | - | 5,3 | - | 3,7 |
TouHTyBaH KIneHTe,
Ipei ce', 6n cakane da Bn ce 3abnapime 3a nokaxahanata doberpa BO hauinTe pOn3B0n n Be ybepyBaMe Deka kopnstheTo H Obaa Maunina Ha Ke IINBpUByate Jecho H NCTATA Ke ODROBOPn H BAuInTe OeKyuBaHa. Oba ynaTCTBO e CoCTABeHO 3a Da BN OBO3MOxN POnO6po N03HAbHe H CamaTa MauInHa 3a da Ja KopnstTE BO ycNoBn Ha 6e36eDnOCT n eFNIkAChOCT, HO Tpe6a Da HANOMEHeme Deka yNaTCTBTO E COCTABEN Den HA OBaa Maunina, rN CoDPXKn CInTe INHOpMaucn 3a KOHCyTTaun Bo CEkoJ MOMENT n Ce DoCTaByBa 3aeDnCO MaunInHaTc Kora Ke ja n36epete nn NaabuNTe.
Obaa HOBa MaunHa e dI3ajHnpaHa n KOHCTpynpaHa BO cOrnaCtO C BaxeKnTe Ope6n, e 6e36eHa n OboepnBa Ako CE KopnCTn BO cenocHa cornaCtO COoDBETnE NOOyBaHa daJeHN BO aYnATCTBO (PneBnDHeA yN0Tpe6a); Koja n Da bNo Dpyra anrXnpaHOCT NIN HeCOOBETHa YN0Tpe6a HACnPOTN HOPmTe 3a 6e36eHNO KOpNCTeHe, OndpxyBaHe n NOCOeHTo NOnpaBaHe Ce CMeTa 3a "HEcoOBtHO KOpNCTeHe" m MoKe Da nobNeue OTkKaYbBaHe Ha rapanjata J na OtfPnca cTe OIOBOPHOCT HA pON3BOIDNTENOT WTO MOKe da ja noBapa KopncnKOT 3a cTne 5Tetn HactaHAtn OD HeNo3Ha TnpipoJa.
Bo cnyu an Kora tpe6a da ce nCpOHaH Tpyr 3aKOHcN HOpMaTbH Mery o OnIsha n MaunHata BO Baa a conCTBeHOT, majte npedBud Deka 3a HaJdo6pa N3BEd6a H Baauotnpo3BOD, CITE INΦopMaUIN BO OBA ynatCTBO ce CoCTaBeHN u MoDInΦuHpaHN 6e06BPCKa 3a axypurpaHe u octaHyBaAT nctn 6ndejkn KapakTePrcNTknte AO hONc Ha 6e36eHoccta ce eceHuaJIHn 3a 6e36eHocTa npi pa6ota. Bo cnyaj ha HejaChOCTN, KOHTaKtnpajTe co 3actanHikot. D6pa pa6ota!
COДРЖИHA
- Ινηθικαύηλa Ha ochOBHnTe DeNoBn... 2
- Cmboi 3
3.Меркиза6e36eHocT 4 - CoCTaByBaHe Ha MaunHaTa 6
- IoproToBka 3a pa6ota.. 8
- BkIyUbaHe - KopIcTeHbe - FaceHbe Ha MOTOpOT 9
- KopncTeHe Ha MaunHaTa 11
- OdpkyBaHe i kon3epBaunja 14
- Iokann3npaBe depekTn 16
- Texnuch noatao.. 17
1. Идентно КAUиJA HA OCHOBHNTE DEJOBN
COMPONENTI PRINCIPALI
- MoTOpHa eDInHnua
- Lěbeká 3a TpáHCmncnja
- YpeiHa ceuHbTo
a.Hok co 3 nnn 4 3anu
b. Makapa co KOHeu
- 3awtnta ypeoT 3a cehebe
- Празда раоча
6.Гранчнik
7.Шика на paokoфатOT - 3aɪnɪa paʊka
- Touka 3a npuicbpctybahe (Ha nojacot)
- JIaBaHa eTnKeTa
- Nojac
a. co e deh pe meh
b. co dBa peMeHa
- AroJen npoJoNxBuay
- 3aHTnTa Ha HOxOT (3a TpaHcnpT)
- CBeKnUka
KOMAHINDOJATOLN
- Празснунвача зассанье на мOTОРОТ
- Komahda 3a 3a6p3yBaHe
- BLOKAtop Ha 3a6p3yBaHbETo
- Paça Ka 3a BknyBaHe
- KomaHnda npoTnB pni3nCi (ctapTeP) (dOKOJIky nMa)
-
Ypei Ha KOMaHnla npoTnB NOTIKHyBaHe (KOpYe Ha npITnCKaHe) (OkoNkY mHa)
-
Kanayeha pe3epBoapoT 3a ropmbo
- Kanaye 3a macloiTO
TJABHA ETUKETA
10.1) O3HaKa 3a ycoInaceHocT co IupeKtNbBaTa 98/37 Ha EY
10.2) Ime n aDpeca Ha npOn3BODnteIOT
10.3) HnBO Ha akyctuHa MoK cnopei DnpeKTnBaTa 2000/14 Ha EY
10.4) Moen 3a pepepeenuca Ha npouin3BovnteIOT
10.5) MoDJI ha MaunHaTa
10.6) Cepnckn 6poj
10.7) IodnHa Ha npOn3BOIDCTBO



“MONO”

"DOUBLEX"

2. CnMBoJN









1) BHMaHHe! OnaCHOCT. Obaa MaunHa MOnke da 6nnde onaCha 3a Bac NIn 3a DpyrInTe DOKoJky He ce KOpICTn npabuHIO.
2)Ппд Корисьeto Ha Obaa Maшина, почитajte ro ynaTCTBOTO 3a ynoTpe6a.
3) Kopischnikot Koj e Ondrobopeh 3a Obaa Maunna, npn CekojdHBNO KOHTNHUPaHO KOpNCTeBE BO HOPMaHNI YCLOBN, Moke Da 6Ine N3IOJKeH Na 6yka eHaKbA Bnn NOrnolemo 0d 85 dB (A). KopNCTeTe akycTnKa 3aWTnTa n CTabajTe KaUNra 3a 3aWTnTa.
4) Hocete paKaBnIu n 3aunTHn YeBnI!
5) Onachoct od npoeekun! OdaaneyeTe r nCITE
JIuza IJIN DOMaunH JxNBoTHn HajMaNky 15 MeTpNdoKeKa MaunHaTa e aHraXkpapaHa!
6) He Kopructete Hox Od ZnRpKylapHa Nnna. Onachocr:Ynotpe6a Ha Hox Od ZnPcKylapHa Nnna co Maunu Nto ro Nmaat OBOJ Cm60n r n3IoKybaat KopncHnKOT Ha Onachocr od cepno3n Nobpeu, dypn n Cmpt.
7) MaKcImaJIHa MoK Ha ypeDoT 3a ceYeHe. KopIcTe caMo ypeDn 3a cooDbetHO ceYeHe.
8)Индикашиja 3a НВО Ha NOTeHциJaJHа 6чуBa cnopeД Матица淘汰doIg BrpaHOBn BO corlaChocT coДиpeKtNbBataHa EY 2000/14/.
CIMBOJN 3A IIOJACHYBAHBE HA MAUINHATA (ako ima)

11) Pe3epBoap 3a ropnBO
12)Позцин На пекинувачOT 3a 3acTaHyaBaHe Ha MToTOPOT
a = 3actaHaTO
b=6p3nHa
13) MnHmMaHa nperylauja
14) KomaHnda npn pni3nCi (cTApTeP)
15) YpeI Ha KOMaHnda 3a nOTnKHyBaHBe (KOpHe Ha npITnCKaHbe)
16) Правлина поизида на paчkaту вр зевкatingа за ТраHCМСИда
CIMBOJN 3A IIOJACHYBAHbE HA 3AUHTATA (ako ima)

23
21) Ypei 3a ceuehe 3a KON 3aWHTiTata e aDeKBaTHa
22) 3a BknyBaHbe co MaKapa 3a KOHeOTo
23) Be3 poTaunja Ha ypeDoT 3a ceYeHe
3. MEPKIN 3A B6E3BEdHOCT
A)OBYKA
1) BnHmATEJHo npOHTajTe rynatCTbata. 3aNo3HaTte ce CO KOMAHdnte IN npabuHnTOKOpIcTeHe Na MaunHata.HayteE6p3o da ro 3aInpate MOTOPOT.
2) KopucteTe ja MaunHata camo 3a oncerot ha pa60ta 3a uTo e HameHeTa, U Toa
-3a CeYeHe Ha TpeBa HnCKa BeretauJia, CO NOMOu HA JauoHcKn KOHeC (Ha np. LbETHn JeI, MaJI rpaDInH, JxBa Oprada, UpaNpR, 3eJeH NOBpUHN Co OparAnueHa BucnHa 3a JeLCHO obNIkyBaHe);
- 3a CeYeHe Ha BmC0a TpeBa, rPMyuKn, rPAnHua H wymckb 6bcEno cDnJaMaTeap O hajMhOry 2 mN CO NOMOu HA metaTANH INI INI pACTNuHIOXeBIV.
KaKbA 6nIIO npyra ynoTpe6a moKe da 6nIe onaHa n Da npEiIN3Bvka OwTeYBaHe Ha MaunHata.
3) He Do3BonybajTe HnKoraa Deua da ja ya yNOTpe6yBaat MaunHata, INI dpyu Npuza wTO he ce 3ano3Haen CO OCHBNTE yNaTCTBATA. IokaHnTE 3aOKHcN pONiCN Ja ODpeyBaAT MHNMaHnHata BO3pACT HA KOpNCHkOT.
4) Maunhata cme da ja kopunctn cao eeh YOBeK.
5) Hnkoraaw He KopncTeTe ja MaunHaTa:
-KoBA Go HnOepeHa 6blnHa IMa dpyrI nla, oocboH dea nn JxmbOTTH;
-ДOKONКУ KOPINCHIKOT e BO COCTOJBa Ha 3aMOp ИИ M3HEMOWTEHOCT, ИИ KOPINCTeI JECOBI,ДPORA, AJIKOXON IIN DpyrN WITEN CYNCTAHn ITO BNIJAat HA KANAUINTETOT 3a HABPEMeH OpearupaHe IIN BHIMAHHe;
-ДOKONКУ KOPINCHIKOT He e BO COCTO6a Da jaДржИ Машината CBPCTO co DBete paue n / Ипд Дооржува CTa6bInHa paMHOTexa Ha HO3eTe npn pa6ba.
6) IMaJIte Ha yM DeKa KOpINCHIKOT e OJIOBOPEN 3a He3roIIne IInI OnaCHOCTa IIO DpyrI NLIuCa IINI HNBHIMOT IMOT.
6) BOBEHN OIEPAUIN
1) Bo TEKOT Ha pa6oTata, DOKOLky e NOTpe6HO, HOCete COODeBTHa 6bEka 8TO He ja nonpeHyBa pa6oTata HA KOPMCHIKOT.
-HocTe COoDBeTHa 3aHTnTHa OBeKe,HaONoHHeTa co 3aHTnTa OD CeYeHe.
-Hocete Kaunra, pakabu, 3aunTNn Ounna, 3aunTAo nd npab YeBn CO 3aunTAo dcehe n JIIN3fAHe.
- KopncTeCnyuankn 3a da ro 3auTntnte CnyxOT.
- He HocTe Mapamn, HametKn, pemEni n cnHnn DoaToOnI wTO BVCAT nn CE DOnrN n 6n MOxKeJe Da Ce 3aKaayat 3a MaunHaTa nn 3a npEdMeTn MATEpJaiN kon ce npOn3B0d Na paObTota.
- CooDbetHo npnbepe ta kocata dokonky e donra.
2) BHIMAHNE: ONACHOCT! TOpNBOTe JIecHO 3anaJIINBO:
- KOH3epBpuajTe ro TROPBO TO COOdBTeH CKlaJdo CJIeNDHTO KOpNCTeHbe;
- He nywete Kora ce Kopunctn ropnboto;
- noneka OTbopete ro kanaueTo ha pe3epBoaot octabajkn BHaTpeuHnOT npTuCOK nOCTeNo da MCnpa;
- NOJIHeTe rO KapbypaTopoT cAmO Ha OTBopeHO CO NOMOW HA INHKA;
- NOIHeTe rOpBnO npE da Ro 3anaJIne MOTOPOT; HKeKoraA HeMoJte Da ro OTbOpate KanaChTo Ha 3eepBOaPOT nIa Da IOnONHyBaTe rOpBnO DoNeKa MOTOPT paBoTn nn e yUWe 3arpean.
- akO ce nCTypn rOpINBO, HEMoJIte da ro NaIInTe MOTOPOT, TYKU npBO OCTpaHete ja MaunHaTata od MECTOTO Ha nCTypaHe N36ErHyBajTe NaJIeHe Ha ORaH DoDEka He nCnapu CEJOTO nCTypeHO rOpINBO.
- BeHaaw NcHCTeTe ro CeKo OCTaTOK OJ NCTypeHOTOrpINBO OJ MaWInHaTa INN OJ MeCtOTO Ha NCTypaHBe;
- He NaIeTe ja NOBTOPO HAaHnHaTa Ha MeCTO KaIe Ce DOJIeBaJIO rOpNBO;
-ибэрнгова对接ною ВОД NOI OJ obilekata,И дOKONКУ ToA ce cnUH,прсоблочецce npedда ro zananiute MOTOPOT; - cekoraш дokpaj 3aTbopajte ro kanayeTo ha pe3epboapOT nHa caDobITE co rOpBO.
4) 3aMeHeTe rH HeCnpaBnTe nIu OUtTeHnTe npRyUbyaun.
5)Ппсдуnotpe6a,поберете ja машината DeТално nocobesho: - paKaTa 3a 6p3HnN n 6e36eHOnchata paKa Tpe6a Da ce BO CNo6oDHO DnIXKeHe, 6e3 npMHeHa Ha cHna I npI OTnyuTaHe Tpe6a Da ce BpaT aBtOMatcKn I bp30 Bo HeYtPraHa No3nUJa;
- paKaTa 3a 6p3nHn Tpe6a Da 6nKe 6bokupaHa 3a Da He ja 6ytKa 6e36eHocHaTa paKa;
-п配电инваочета з actaHyBaHe Ha MOTOPТpe6a песно д ac De bInxN Od eNHa BO dpyra nO3nUjia; - eNeKTPnHnTe KaBnI, N OcOBeHO KaBnIte Ha CBeKnHkata Tpe6a Da ce nHTerTpnpaHn 3a da Ce n3bErHe rHeepnPaHbe NCKpn I KanakOT Tpe6a da e npabINHO NOCTABEH Na CBeKnHkata;
- npeknybauHTe N 3aunTnTaHa MaunHata Tpe6a da Ce YnCTn N cyBn IN paBUNHO qKcnpaHn 3a MaunHata;
-CEYIBOTOI 3aHTNTaTa HNKORAHe CMeE Da CE OHTETeHn.
6) IpOBepyBaJIte ja npABUNHaTnO3NIJHa paAOKIe H Ha ToKcATA Ha 3aKaYBaHBe Ha noJAcot, KAKON npBUNHa H3b6AnAHCpAHoCT Ha MaSHnATa.
7)П repДа 3aONHete co pa6Ota,прOBepTe Ддз 3aWNTIATA e COOBETHa 3a ДдeHATA MaMHNA И ддeупвИнTOCTaBEHa.
8)Поберете ja Temenho цenaТа NOВршиHA 3a paObota n OTCtpaHete ce'STO 6n MOKEno Da 6uDe OTФрнEO OД MaSHHaTЯ n Da rN OHTeN CeyNBOTO m MOTOPOT (KaMeHba, rpaHKn, JKeIe3Hn OCTaTOU, KOCKN, nTH.).
B) 3A BPEME HA KOPUCTEHETO
1) He naIeTe ro MOTOPOT BO 3aTBopeH npocSTOP KaIe MoKe da ce co6epaT onaChi jarnePoeD- MOHKcndn raCBOH.
2) Pa6oTeTe cAmO Ha DHeBHa CBETnHa UIn npi Do6po BeWtauKo OCBETnHeHne.
3) 3a3emete ubpcta n cta6nHa no3nua:
-
n36eRhyBajTe Kora e MOXHO da paObOTte Ha MOKap n IIN3r3AB TepeH nn HtapeHn KOI CE MHORY PepAMHN nn 3aKOCEHn He rapaHTnpaat CTa6mHIOCT Na KOPcMHNkOT npri paObTaTata;
-
HNKORAùI He TpçajTe, TykY Oëdète I ÓsþHybajTe BHNMaHé Ha HénpàBùJHóCTa Ha TepeHOT N Ha PnncycSTbOTo HA eBHTyAùJHIn pèyKm.
- IpoceHete rI eBHTyajnHITe pN3uNi Ha TepeHot Kade WTO Ke pa6oTNTe N Ppe3EMTe rN CITE HeONXOHN MEPKN 3a Da oBe36eJnte COOBeTHa 6e36eHNOCT,OC0eHOHa MOXHN 3aKOCeHIn,IM3raBn INN HecTa6bHN TepEHn.
-Ako Tepehot e 3akoceh,paobotete BO pexim Ha nCKaYBaHe, a HNKORAa H cnuytaBe nn CmHyBaHe, BHIMabajkn cekoraw objektot 3a KocHe da ce HAora nd ypeDt 3a CeHe.
4) Panete ro MOTOPOT Kora MaunHaTa e cBpcto 6nokupaHa;
-3aapanete ro MOTOPH HajmaJky 3 MeTpO OdanaJeHO OD MeCTOTo Ha nonHe; - npoBepTe daJI npyI INIca ce HaoRaat OndaneueHn Hajmanky 15 metpn od onceroT Ha paBaToN IINHajmanky 30 metpn 3apaN moKHOCTO pa3netyBaHe Na p3nn npedmetn;
- He HacOyBaJte ro npnryuByBaQOT, a CO Toa m3dYbHIne rAcOBN KOH 3anaJIINBm MaTePIM:
5) He menybajte ng perynaunite ha motopot n He KOpNCTeTe ng pnppexim CO npBeBnCOKN BpTeXn.
6) He n3noxybajte ja MaunHaTa Ha HeNoTpe6Hn CnIu na He KOpCTe Maja MaunHa 3a N3BeyBaHe TseWKn pa6oTn; aKeBtHO KopCTeHe Ha MaunHaTa rHamaNyBa pN3NKOT n Ro NDoobpyBa KBaJIntTeTOn Ha pa6oTata.
7) Kohtponipajte daHIMMHaHINOT pexHM Ha paObota Ha MaIHHaTae 03B0NYBa DmXHeBa H ypeDTa CeYeHe N, NO a6p3yBaBe MToPOT BpaTeTo BeHNa HMaMHYM.
8) O6pHHe BHHMaHHe Da He yDnPaTe CnHNO Bo CTpaH Ntea CO HOXeBnTe 3apaM MoXHa IPOeKuJa Ha CTPyrotINn PpeDn3BnKaHn OD DnBxKeHbTo Ha HOXeBnTe.
9) MaunHaTc cekorau mopa da 6uide 3akayeha Ha nojacot BO TEKOT Ha paBOTATA.
10) 3anpeTe ro motopoT: - cekojnat Kora MaunHaTa ja ocTabe 6e3 HaI3Op;
- nped DOnOpHbBaHbe Co roPnBO.
- pni MeHyBaHe Ha JOKaJnJaTa Ha pa6Ota.
31)Anpete ro MOpotop N mcknycheTe ro Ka6eNoT Na CBeKmKhata:
-празд поверка, чьтенье пл paбота Врз Машината;
No yapar BO ctpanu npeMeTn. PpOBepTe daJIH mAeBHTyaHn OwTeTyBaHa n nonpaBeTe rnped da npoDolKnTe co pabota;
-ДOKONКУ MAUIHINATA NOUHe DA BUNBIPAHA HENOPMAJIEN HAIN: BO TOJ CUYAJ BEVDNOBAPAJTe ja pinnHHTA 3a BnBPAUMITE NOTCTPHETE ja;
-KORA MaunHaTa He MoKe Da Ce 3aJaIN.
T) ODPKxYBAHbE INyBAHbE
1) Cnte 3aBPTKN n HABPTKN ODPXyBaJTe rN COODBeTHO 3aUBPCTEHn 3a Da cTe CNYpHn DeKa MAuMHnAte e 6e36eHa 3a pa6ota. PeOBHTo ODPXyBaHe e OCHOBEN PpeynCtob 3a 6e36eHnOCT n 3a ODPXyBaHe Ha Do6pn NepFOpMaHcN Ha MaunHaTaN.
2) Hinkoraw He Yubaije ja MaunHaTa co nonH pe3epBoaR BO npocToPiJa Kaade IcnapyBaHaTa MOKe Ja dOpRaTdo OTBOpEn nIamEn, NCKpa nn Do n3BOp HA TOnnHa.
3) OcTabeTe MOTOPOT da ce nlaDi nped da ce
OCTaB MaunHaTb KOja 6JNo npocToPnJa.
4) 3a HamaIyBaHBe Ha pI3NkOT od 3aIaNyBaHBe, yBuajTe rN MOTOPOT IN PnIgryuSyBaHT BO KOpNa I HA MecTo I NPOCTOp 3a CKnAIIpaHBe IOHaCTpHa Od CNoBIO HOrPBO INIIN OCTaTOU nD CEeHe, Tparn Ha NpeKymepn Macna; He OCTabAJte ja Kopnata NOHa Co MaTEpO. KON Ce npOn3BOD Ha CEeHe Bo 3aTBopeH NPOCTOp.
5) Ako pe3epBoaopTpe6a da ce nCnpa3Hn, Oba Tpe6a da ce npabn Ha OTbOpEn Kora MOTOPe en3nnden.
6) Hocete paKaBnCi 3a paBoTa 3a da ce cnpeu HecaKaHO nIIOJyBaHBe Ha CeYIBOTO.
7) 3apaɪn 6e36edHocT, Hɪkɔrəw He yɒntpe6byajte ja MaɪnHaT A KO HΕΚΟ N DeIobu Ce BO Iɔwa coctoj6a II N OʊteteHn. OʊteteHnTe JEOBnCe 3aMehybaat, Hɪkɔrəw He ce NonpaabaT. KopcIteTe camo OpɪŋhAhn Pe3epBn DɛIobN. DeIOBn Co HecOoBbTeH KBAJIntET MOXaT Ja je OʊtTeTaMaɪnHata Na Ja 3aʒpO3aT 6e36edHocTa. AnlTkata 3a CEeHe Tpe6a Cekorəw Da ce HocN KaK oNcoUHπ Pɔm3BeyBaVOT 3a Da ce ODpKn MOKHOCT Ha MaɪnHata Prn MACKCMJHn ahrAkrIPAHOCT.
8)П repd Ondarabe H Mauninata, npOBepete daJIne ce OCTpaHETn CNTe KnyeBn mI n aIaTKuTo 6JIHe KOPcTeHNI 3aOpKyBAVe.
9) Bajte ja MaunHaTa IopaKe yo DoOpaT Ha Dae!
E) TPAHCIOPT N DBNXEHE
1) Cekoraaw Kora e noTpe6eH npehoc uin TpaHCnopt Ha maunHata noTpe6Ho e:
-Да ce ИСКЛУЧМOTOPOT,Дa ce CMИРуpeДOTЗаceHeиДa ce OTKaUH KanaYeToHa CBeKnUKaTa;
CTaBeTe 3aWtnta Ha ypeoT 3a ceYebe;
ΦaTeTe ja MaunHata cAmo 3a DpKaHnTE n HacoCHTe ro ypeOTo 3a CeHeBe BO npBaEc cnPoTmBEn oD npabeUOT Ha DBNXHe.
2) Kora MaunHata Ce TpaHcnpTnpa CO Bo3nIO, Tpe6a Da Ce NocTabN BO pEXKIM KOJHTO He npEIM3BkYBa ONaCHOT 3a HNKoJ Na da CmKcnpu cBpCTO 3a Da ce N3eGERne PBePbTyBaHe co MOXHOCT 3a OWTeYBaHe INCTeKYBaHe Ha rOpBOTO.
KAKO CE YNTA YNATCTBOTO
BO TeKCTOT Ha ynaTcTBOTO, HeKoIky nacyc KOnuTo COdPKAT INΦOPMAUIN OcO6eHa BaxHoCT Ce NOTeHUnPAHN BO p3HN CTeNEH Ha EBnEHTnpaHe, KaDe ITO HAJBAXHO e CneDHO:
3ABeJIeLUKA
NNN
BAXHO
Дааат пециЗни рун
HΦOPMauN KAKO LTO E IπeTXoDHO HabeDeHo, C ζeT Na He CE OuTeTu MaunHaTa, NlI Da He CE πeDn3BnKa uTeta.
BHIMAHHE!
Moxhoc 3a JnHn nobpei
NII NOBpeH Na HEBHNAMHe.
dpyrnnuza BO cnyaj Ha
ONACHOCT!
MoxhoCT3aTeuKNIuHn
NOBpeH Nn NOBpeH Na Dpyr Nnca, Na dypn n CmPT, BO cnuyaj Ha HeBHMaHne.
4. COCTABYBAHbE HA MAUHHATA
BAXHO
Maunnata ce doctabyBa co
HeKoJIky KOMnOHeHTN OJBOeH N CO Ipa3EH pe3epBoap 3a roPbBO.
BHIMAHHE!
CekoraHocewe3aHTTNH
pakaBnU 3a pa6Ota npn KopncTeHe Ha ypeDoT 3a ceYebe. O6PheTe MaKcImaHNo BHNMaHne npn COCTaByBaBe KOMNHOHTnte 3a Da He Ce HapuSh 6e36eHocTa n eOpNKacHocTa Ha MaunHa; BO Cnyaj Ha Hecnryphoct, KOHTaKtnpajTe Co 3actanHkOT.
1. KOMJIETNAHBe HA MAUINHATA
1a. Moelen "MONO"
- MoTeI 28 (cI. 1)
BHIMAHHE!
OpeyuBaOT Ha pactoJaHne
(1) HMa oncer wTo rapaHTnpa MmHmamnHO pactoJahne MeY 3aHa nIpeHaata paKa, od 6e3eBnOCH npuHH. OBoj oPeDyBaH na pactoJahne TpeBa cekoraw da e noctabEn He Cmee da ce MoiNfKkyBa BO HneDeH cnuyaj.
-Пред ор dedуваOT ha pactojahne (1), noctabete ja npehata paquka (2) Ha zebkata 3a tpaHCMNCja (3) 3a noJOBHnA od wpafoBNTe (4) n HabpTKnTE (5) BMETHN BO COODBETNHTE JexnHTa.
-П配电дягзашрафпenteшрафовente(4),поставete ja npabilno paKaTа BO OndHoc Ha ueKBaTa 3a TpaHCmncija.
- 3aωpaΦeTe rι οκρaj ωραφοΒιte (4).
- Moen 38 (cn. 2)
-Пoctabete ja npednata paqka co rpaunHnK (1)Ha 3aKoCeHnO T pIacTnE h Ocau (2), 3aWpaDyBaJkn Gn dokpaj wpaOpBnte (3).
1b. Mojezi "DUPLEX"
- MoTeI 28 (cI. 3)
- BmetheTe ja shnKata Ha pakoPatoT (1) BO COOdbETHnTE JeknIa HA Notnopa (2) Ha ceBkata 3a TpaHcmCnJa (3), BHIMabajKn KOMaHdnte Da ce HAOraat Ond DecHO.
-Пoctabete ro cnojHnKOT (4)ЗшаруВajко co shpaФОВи (5).
- OchoBata (2) e Beke noctabeHa Ha ueBkata 3a TpaHcMncJa (3) Taka UTo rpaHnUHKnOT e nocTaeBc Hb npabeOHT ha Ctpelkata (6) Ha etIKeTata; OBaa NOnuNjHa HNKorAa He CMee da Ce MeHyBa.
-
Mozen 38 (cn. 4)
-
OtspafeTe ro ceHTpAlHnOT konYe (1) otCTpaHete ro cnoJHKOT (2).
-BMeTHeTe ja shnKata Ha paKoΦaTOT (3) BHIMABajkN KOMaHdnte Da ce Haofaat OD DecHO. - Cbptete ja shnkata BO no3nuija wto e HajnoBOnHa 3a pa6ota n 6bnokpajte ja co nomow Ha cNojHnKOT (2) n KOnyTeO (1).
2. MOHTIPAHbE HA 3AUHTNATA
BHIMAHHE!
Cekoj ypej 3a ceyehe e
Cha6dEn CO CooBcTaHa 3awTnTa. He KopncTeHeHKORAw DpyrN BnOBN 3awTnTa Ond NocOyenHe 3a CeKoj TnHa CeYnBO.
Hox co 2 nnn 3 zanu (cn 5)
BHUMAHNE!
Hocete 3awtntn paKaBnU n
NoCTaBete ja 3aWHTnTaT ha HOXOT.
-
IV3BaJTeTo HOxOTo (aKO e NocTaBeH) KaKO uTO ce NocOHeHO Bo nacyc 3.
-3aunntata (1) ce qnknpa 3a arolnnot npoJOnKyBauch (2) co nOoH na pafoBn (3). -
Makapa co koneu (cN. 6)
BHIMAHINE!
Kora ce KOpncTu MaKapata co
KoHeOTo, COoBbETHaTa 3aWtNa Tpe6a Da e IOCTaBeHa 3aeDHO 3a MaKa3Nte 3a CeYeIbe Ha KOHeOTo.
- V3BaJTeTo ro HoxoT (ako e nocTaBeH) KaKo 1TO ce nocOHeHO Bo nacyc 3.
-3aunntata (1) ce qnknpa 3a arolnnot npoJOnKyBauch (2) co nOoH na pafoBn (3).
-Пoctabete ja ДОпннтelenнata 3аштITA (4) BMETHyBajки ГЗаЧыВankITE BO COODBeTHNTe MeCTa 3aashTtA (1) И пntickajtedoКрaj.
3. BADEHbE IN IOBTOPHO NOCTABYBAHbE HA YPEJOT 3A CEHEbE
BHIMAHVE!
KopncTe cmo opnHaen
ypea 3a cehe he nno oto ro npenopayBa npon3bOuTeIOT.
Hoxco2nI3zanu
BHIMAHVE!
Hocete3austnnpakabuun
NoCTaBeTe ja 3aWtntaTa Ha HOxKoT.
a) Moen 28 (cn. 7)
3ABEJIeUKA
Habptkata Ha rnaBata (4) nma
OCETNIBA HMIKIA N3aToa Tpe6a Da Ce OJbPTyBa BO npabeUc Ha cKa3aJIKNITE Ha YacOBHnKOT, a Da CE 3aBPYBa OBpaTHo OD npabeUcOT Ha cKa3aJIKNITE Ha YacOBHnKOT.
-BMeTHeTe nI npInIOxEHnTe KnyuEbn (2) BO COoDBETHnTE OTBOPn Ha aOJINHOT IpOJOnjYBau (3) n paHb BpTe ro CeHHBOTo (1) ce'doKeA KnyeBHnTe He BHe3aT Bo BHaTpeWnHOT OTBp 3a Da ce 6Joknpa potauijata.
-Изадete ro kanaKOT (4) одвртувajkn ja HabrtkaTа BO npaBeuHa cka3aJKNITE Ha YACOBHnKOT.
- OdBPTeTo RaIbOpeuHnOT Kpyr (5) n I3BaJeTe ro ceHbOTO (1).
PnnoctaBybaBe,
-Поверете Дали Хлесовпerte Ha Надборшнопрстен (6) ce полonsуbaat coьршно co arolnoитpoюлжвач (3).
-Пoctabete ng ceuBoto (1)и haDbopewHnot npcteh (5).
- Noctabete ro OJHOBO kanakot (4) 3aBPTybajkn ja DOKpaj HABrTkata 6paatHo oN npabeOt ha CKa3aJIKNKte Ha YacOBHKnOT.
- ɪnəbæte ro knyoT (2) 3a da ce OBO3MOxNpoTaújHa HoxkT.
b) Moen 38 (cn. 8)
3ABEJIELKA
UpafoBnTe Ha rnaBata (4)
NMaat OceTnBa HnUka N 3aToa Tpe6a Da ce OaBpTyBaat BO npabeu HA cKa3aKnTe Ha yacOBHkoT, a Da Ce 3aBpTyBaat ObaTHo o p npabeuOT HA cKa3aKnTe HA qocOBHKOt.
-BMeTHeTe rnpInJIOKeHnTe KJIyUeBn (2) BO COoDBeTHnTe OTBOp Ha aOrJHnOT pODoJNxyBaY
(3) n paHNO BpTeTe ro ceuNBOTo (1) ce'doKeKa KlyueBNTe He Bne3a BO BHaTpeuHnOT OTbOp 3a da ce bloknpaotaunajata.
-Изbaдente ro kanaKOT (4) OdВртУвajку ro
цentpaJIHnOТ shpaФ BO праBEц Ha cKa3aJKNITE ha
ЧаСOBHнКOT.
- OdBPTeTo ro HaBOpEshHnOT Kpyr (5) n 3BaTeTo ceHBOTO (1).
Пи поставвае,
-Поверете далжпебовerte Haндборшно npcten(6) ce noklonnybaat coobpseho co arolnoht npodjonkybay (3).
-Пoctabete ng ceuBoto (1)и haDbopewHnOT npcteh (5).
-Пoctabete ro OndHO BO KanaKOT (4) 3aBpyBajKn Dokpaj o6paTHO OD npabeUOT Ha cKa3aJIKNTe Ha YacOBHnKOT.
-Изваде тгКлуOT(2)3aДа ce OBO3MOKINpoTaunjaHa HOXOT.
- Makapa co koheu (cπ. 9)
3ABeJIeLUKA
Makapata co KOheqOT mHa
OCeTnBa HmUka N3aToa Tpe6a Da ce OJbPtyBa BO npabeu Ha cKa3aJIkNte Ha YacOBHKnOT, a da ce 3aBpTyBa o6paTHo OD npabeUOT Ha cKa3aJIkNte Ha YacOBHKnOT.
-BMeTHeTe ro npInoJoxHnOT Knyu (2) BO COoBETHNTE OTBOPN Ha aOJInHOT IpOOnJXyBaU (3) n paHNO BpTeTe ja MaKapata Co KOHeUOT (1 nn 1a) Ce'doNeKa KnyOT He BnE3e Bo BHaTpeHnOT OTBOP 3a da ce 6nOKnpa PoTaunjata.
-Изваде差别akapatacoKoHeQT(1)OДВртуБаки BOпраьснСКЗАЛКИТЕнЧACOBHIKOT.
Pn noctaBybaHe,
-Поверете далжпебовerte Haндборшно npcten(4) ce noklonnybaat coBpseHo co aorHnnot npodjonkyBauch.
- Nocstabete ja Makapata co KOheot (1) 3aBpTyBajkn OpbatHO od npabeuOt Ha cka3aJKNKte Ha YacOBHKnOT.
- ɪЗbaɪdete ro kʌnyʊT (2) 3a ñа ce OBO3MOxɪn potaɪŋja Ha OCOBɪnHa.
- Hox 3a nla (ako nma)
BHIMAHHE!
YnoTepe6a Ha Hox Ha nnla ce
IOCTaByBa CO MaunnO3NaYeH Co COoDbTeHN Cm60JI (BnTe nOrnaBe 2,ToKa 6).
3a da ce MOHTnpa 3aWHTnTaHa HOKOT 3a Nnna, cIeTeTe yNaTCTBOTO wTO ce DoCTaByBa co OBOJ doTaOK.
5. NOДГОТВКА 3A PABOTa
ПОВЕРKA HA MAШИHATA
Ipea 3aonhe co pa60a, Tpe6a:
-Да поверпг Дд He ce с lyajho ona6abehn shpafoBHTe Ha ypeDToT 3a ceyebe;
-Да поверпесдае e oштeteнуpeлтза ceчehe nДаллmetaJIHnOТ HOK co 3ии4З苹и(ako ce noctabEH)ce doBro 3aupapaehi;
-Да поверпгдддддддддддддддддддддддддддддддддддддддддддддддддддддддддддддддддддддддддддддддддддддддддддддддддддд徴сячсячсячсячсячсячсячсячсячсячсячсячсячсячсячсячсячсячсячсячсячсячсячсячсячсячсячсячсячсячсячсячсячсячc
-Да поверпгдддсггггггггггггггггггггггггггггgн eфнкаси;
- da npobepnTe daJIpaqKNTe ce do6po npuucBpCTeH.
- KapaktepnctnHa MaCJIoTO
Kopncte cmo macno co Hajdoabap KbaInTeT, HameHeTo 3a YetnpntakTHMOTOpN, CO BnCOKN npOnCTyBaKn KapaKTepnCTNK, CO KLnacnFkauJa SF-SG n Co BnCKo3HocT SAE10W30.
BAXHO YnOtpe6a Ha MaCIO 1tO HeMa do6pn npOuHCTyBaUkN KapaKTePncTnK, HecooDBETHO INIc CO KapaKTePncTnK 1tO Ce paAInH N O NocOHeHnte, rO OHTeYBa MToPoT n DoBeNyBa DO rHybeHe Ha rapaHUnjata.
Kaj Baunot npoabau MoKe da rH HajTe COOBeTHnTE Macna, Co3JaDeHN 3a OBOJ BnD MOTOp, Do OHOJ cTeHEN Koj rapaHTnpa NorOIema 3aWtNTa n npoOnKeHa ePknKaCHOCT Ha MOTOpT.
He nywete BO TEKOT Ha
nonHebeTo n He BnIyBaJTe rN nCnapyBaHaTa oD 6eH3nHot.
BHIMAHHE!
Otbopete ro BHIMATEHNO
Kanayeto od pe3epBoaop 6ndejKn Moxho e da HMa BHaTpeWeH npTuNCOK.
Ppe nolnebe:
-Пoctabete ja Maшинна淘汰а на pamha NOBpshna, BO ctabuHa nOtsuJa co kanaheTo Ha pe3epBoapot 3a MeuabHa Ondrope.
- UcHCTeTo KAanHeTo Hape3epBoaPOT BO Kpyr 3a da ce n36BerHe HAbIeYBaHe HeNuCtOTn npn nonHBeTeO.
-OTbopete ro BHIMaTeIHo KaNaYeTo Ha pe3epBOapot 3a MeIaBmHa 3a Da ce NcNyUHTn npTnCOKOT NoCTeNEHO. HAnOpHete CO nHKa N He cTabajte OJ MeIaBnHaTa Do rPNoTO Ha pe3epBOapot.
BHIMAHHE!
Cekoraw 3atBopajre ro
KanaeTo Ha pe3epBoapoT, 3aBptyBajKn dokpaj.
BHIMAHHE!
UcHCTe Tn BeDHaW CNTe
Tparn OJ 6eH3nH ITO eBENTaIHO Ce nCTypnne Bp3 MaunHata NnHa TepeHOT n He naneTe ro MOTOP CE'doeka Ce yBCTbYaat nCapnyBaBaT a H6eH3nHOT.
IJIHeBEMACNO (cI.10)
BAXHO
He naneTe ro MOTopoT u He
KOPUCTeTe ja MaUHaTa aKO HbOTO Ha MacNo He e IOBOJIHO.
3a Da ro KOHTpOJInpaTe HNBOTo Ha MacNo:
-Повлары
- Доставе ща мшината на рамна повшина, возанда позию сkanayetо на pezeрьогот odroge.
-Одвртete ro kanaуето ha pe3epeboapot И npOBepeTe Дали НИВОТо Ha MacNo DoCTnHByBa Do JINHjata Kaj doBODOT coФиNTep.
KanaunTeTOn Ha pe3epBoaPOT 3a MacNo e 80 cc (MoJeN 28) nIn 100 cc (MoJeN 38).
6. BKJIyUBAHbE - KOPNCTeHbE - ΓACEHbE HA MOTOPOT
BKJyUyBAHbE HA MOTOPOT
BHIMAHVE!
BknyyBaBeTo Ha Motopot
Tpe6a da ce OdBnBa Ha HajmaKy 3 MeTpN OdaIaeHecOCT Od MeCtOTO KaTe ce N3BpShNo IONHeBTo Ha ROpNBoto.
Ipea da ro 3anaanite MOTOPOT:
-Пocstabeteja Maшинна BO StabnHa ПозициJa Ha Tepehot.
-Tprhete ja 3awtntata oHOKOT (ako e noctabeh).
-Поверете Дали Ножот (ако e поставен) ro donupa tepehot nii dpyru npedmetn.
- Panahe Ha IaHNo
3ABEJIELKA
3a naIeHe Ha"naHNo"Tpe6a da
ce n3Bede naIeHae HajMaIky no 5 MNHyTu Oc CMnpyBaHae Ha MOTOpOT INI NO NOnHeBe rOpINBO.
TaNJIeHbE Ha MoTOpOT (cN. 11):
- DoheceTe ro npeknHyBaoy (1) BO no3njuja «START
- Bknyte ro cnapetepoBpTejkn ja paKaTata (5) KOH nO3nJATA «CLOSE»
3.Пи捜нсhte ro konчeto 3a notnkyBaHe (Ha npniTnCKaHbe) (6) 3-4 natu 3a da noTeYe rOpNBO. - LbpcTo Ipxkete ja MaunHaTa Ha TepeHOT co eHa paka Ha MOTOPHaTa eINHua 3a Ja He Ce IN3ry6n KOHTpOJa BO TEKOT Ha NaJIeHbeto (cI.12).
BAXHO
3a da ce n36erHaT
deOpMaun,ueBkata 3a TpaHcMncnja He Tpe6a da ce KOpIeTn 3a NotnnpaHe Ha paTe Ne NKeHaTa npn panHe.
- Noneka ИЗВLEЧЕТо joжETO 3a napeHbe 10-15 UM. ce'doNEKA He NOUCTByBATE OTNpI TORAJI peuINTeHNO NOBLECHETe HEKOLKY NaTn CE'doNEKA He CE cNYsHAT pINbTE 3BUYn HA MOTOPOT.
BAXHO
3a da n36erHe KInHeHBe, He
Bneye ro jaxeTo do Kpaj, He Bntkajte ro no pa6oT Ha OTbOpnte Ha BoMnKata n NocTeNeHO OncObOyBaJte ro pakofatot Co ToA wTo Ke n36erHyBate bpaKahe Ha HEKOHTponPnHnHaunH.
6. OndoBO NOBLeueTe ro paKoΦaTOT 3a naHe ce'doEka He noCTnHHeTe npabInHO naHe Ha MOTOPOT.
BHIMAHHE!
PanahebeToHaMOTopotco
npntncnat cTapTep npedn3BkyBa dBXKehe HaypeoT 3a ceyebe KOJTo ce CMpyBa caMo CO NCKnyeH cTapTep.
- UWOM Ke ce 3anaJIM MOTOP, OTkaYeTe ro CTapTePOt BpTejKn ja paKata (2) KOH no3nuiJa «OPEN»,
- Octabete MOTOPI da paobTu Ha MNHmym Hajmanky 1 MInHyTa nped da ja kaopnCTnte MaunHaTa.
BAXHO
Дokonky paokoatot ha jaKeTo
3a NaIeHe Ce CCKHe npu BnueYeHe CO npHTncHaT CTapTeP, MOTOpOT MOKe Da ce 3aRyUIn I da Ce npedn3Bvkaat NToEkwOTn npu NaIeHe.
Bo cnyuj kora motopot ke ce 3aynu, n3baTeje ja CBeKnukata NHeXHO CBPTe fo paKoPaTOT Ha jaxeTo 3a NaIeHbe 3a da Ce IENMmHnpa BnUokOT rOpBIO; NTOA NcUweTe rN ENEKtPOnde Ha CBeKnukata N NoCTabete ja HAMOTOP.
- Panahe Ha tonno
3a napeHe Ha tonIIO (Bednau no racheHe Ha MOTOP), cneTe rToKnte 1-4-5-6 Bo npTeXoHaTa npOeDpya.
KOPUCTEHe HA MOTOPOT (cI.11)
MoKnocTa Ha ypeoT 3a ceye He ce perynipa co KOMaHdata Ha 3a6p3yBaVOT (2) NocTabeHa Ha 3aHnata paKa (4) Hn Ha deChata paKa (4a) Ha ⅢnKATA 3a pakoat.
AkTNBnpaHbeto Ha 3a6p3yBaUOT e MOxHO cMo aKO nCTOBpeMeHO ce npNTnche n paKaTa 3a 6bLOKpaHe (3).
ДиЖeБЕТо CEппeнecуВОДМOTOPТHaOCOBHATA 3aТраHCmncJa COПOMOИHAцHTPnDpyraJIHа Maca Koja ПпeДИЗИКУВАДиЖeБeНа OCOBHATA KORA MOTOPOT eHa MINHmym.
BHIMAHHE!
He pa6oTeHa OoJ hauH
ako NOCTO MOKHOCT Da ce OTDPnAT npedMeTu To MOKe Da Nobpeat Nyre, XNBOTHn nn da npedINBnKaat OWTetyBaHa.
- Pnpu3nO ceeHe (o6nKyBahe)
Држete ja Maшинна Мankу 3akoceha Ha Toj haun HTO NOHNCNOT DeJ Od Makapata CO KOHEQT Da He ro Do npa Tepehot JInnJaTa Ha ceYebe da Ce HaaOfa Ha cakaHata TOka ODPKByajkn ToceKoraawypeDTo 3ceYebe PoJaleKy OKDopncHkOT.
- Cechene BO 6JIIN3HnHa Ha orpaHnUyBaHa / TeMeJI (cI 17)
Пибнжete ja noneKa makapata co KOheqotdo SIOBNTe, NaDSNDOUITE, KapNTe, OpraNTe, nTH.6e3 npimeHa ha cnla.
Ako KoheoT ce Habntka Okony Hekoja TBpda
npenpeka MoKe Da ce cKnHe NnN NotpoSh; aKO npoDOnJXte, Ke HapBaNTe DynKa BO OraJaTa, MoKe Da HapBaNTe HEnpaBnHNo NOTkAcTpyBaJIbe.
Bo cekoj cnuyaj, ceyehe Bo 6bn3nHa Ha SIOBn, TeMeJI, orpaIIN Cn. MoXe Da npEi3BnKa KopNCTeHe Ha KOHeOTo ITO He CE CmTa 3a HOPMaJHo.
- Cechene okony dpBja (cI. 18)
Двикete ce OKony ДрВО TO OD Лево KOH DeСHO, PMCTANYBajKN BHNMaTeJIHNO KOH CTe6JIOTO HBNMabajkn KOHeCOT DA He CE 3aJIJIeTKa OKONY DpBOTo CO ToA STO Ke jaДжNTe MaKapata Co KOHeCOT MaNKy 3aKpINBeHaHAnpeD.
IImajte npedBn Deka HajnoHCKNOT KOHeu MoKe Da CKNHe Nnn OwTeTn ManN J6yHOBN N DeKa 3aJIeTKyBaHbE To HnaJNOHCKNOT KOHeu OKOly CT6eNoTo Ha J6yHOBnTE Nnn dpBJata Co HexHa Kopa MOKe Da ro YHmHTn pactehnTo.
- Perynaanja Ha donxinha Ta Ha KOheot npn pa6ota (cI. 19)
Obaa MaunHa e onpemeHa co eHa mKaapa "IOnTuKnHn npoJOnKn" (Tap & Go).
3a da ocno6oJnte KOHeU, noTychKHeTe ja MaKapaTa CO KOHeUOT HACnPTOn TEpeHOT KORA MOTOPOT e BO MAKcImaJIHa 6p3nHa; KOHeUOT aBtOMaTcKn Ce OCNo6OyBa N MaKa3nTE ja oTceKyBaat HeNoTpe6hata DoJIxNHa.
3ABPUyBAHc CO PABOTA
3a 3aBpUyBaHbe co pa6oTa:
-3actaheToMOTOpT KaKoItoe npetXoHNo nocouho (rnaBa6).
-Поуекajte уретот 3a ce�ье да ce CMипи поставе ja 3aштntata (ako ce поставени поеви со 3ил 4зали пин HOK 3a пл).
8. OДРЖУBAHБЕ И KOH3EPBAцИJA
IpaBnHIO OndyBaHbe e OCHOBHO 3a 6e36eYBaHBe eOnkacHO TEMNO I 6e36eHOCHT Ha opunHaHnTe DeNoBn HA MaunHata.
BHIMAHNE!
Pn onepaun Ha
OdpxuBaHe:
-OTcTaPaHeTe Ro KaNaYeTo Ha CBeKnUkKaTa,
- npObepeTe daJIH MOTOPe e COODBeTHO 13IaDeH,
-KopncTe 3aWtHTn paKaBnC KOra n3BpUyBaTe Oepaunu CO HOKeBNTe,
-CEKORAJI Heka Ce NoctabEnH 3aWHTTHMNTe 3a HOXeBNTe,dypnI npn INTepBeHunja Ha camNOT HOX.
-He pnpajte haokony Macno, 6eh3nH npyrn KaKBn 6bno MaTepnjann.
LJINIHIDEPNIPRNUWBAU
3a da ce HaMaII pN3IKOT od NCKpeHbe, YecToTaN CHCTETe KN KPNJIcATA Ha NUINHdAPOT CO KOMnPecnpan Bo3DyN oCNObOteJa 30Ha Ta npRnyuBvayot OJ ocTAtoU npri NInHe, rpaHCHNbA, JINBvHbA n Dpyr pa60Tn.
TPYNA NAIJEHe
3a da ce n36berHe npe3arpeBaBe n 7TeTn Ha MOTOPOT, peeTEKNITE 3a npOTOK HA BO3dyx 3a IaBeHe TpeBa cekoraw Da ce OJpyBaat YCHTN I OCN0bOeHdN octatoOn pni nInneH e N pyro.
Jaxeto 3a napehe Tpe6a da ce 3amehn npn npbn 3haun Ha OwTeYBaHe.
ФИКСИРАHOCT
IpeiOnuHNo KOHTpOInpajTe ja npuBpcTeHocTa Ha CnTe HabTpKn 3aBpTkN, KaKo N daJIpaKNTe ce cBpCTo qNKcnpaHI.
YHCTHe HAHΦIJITEPOT 3A BO3DyX (cN.21)
BAXHO
YnCTeHBeTo Ha qnItePOT 3a
BO3dyx e 6mTHO 3a do6pa pa6ota n BEK Ha camaTa MaunHa. He pa6oTe 6e3 fntep nn co OHTeH fntep 3a da He npEIN3BnKAte HENOpPABnIBu OHTeYBaHa HA MOTOPOT.
YHCTHeTo Tpe6a Da ce cnpoBeyBa cekon 8-10 Yacobn pa6ota.
3a YnCTeHb H a nItePOT:
-Пи捜ис悔е ro крлцeto (3) n изваде то kanaKOT (1), a co Toa n enemehTo c foHnTep (2).
-Испөрете ro elememTOT 3a ФиntePoT (2) co BOДа n canyH. He kOpncTeTe 6eH3nH nIIN dpyrN pactbOpyBaHn.
- OctabeTeФintepoT Da ce IcuyuHa Bo3dyx.
-Пocstabete ro NOBTOPO eNemEHTOT 3aФиNTepOT (2)иКанakOT(1).
KOHTPOJIA HA CBEKNUKATA (cI.22)
Повремно,OTkaчete jaиИСчпстete ja CBeКУЧКATA 3a ДЯ ИОТСТРанITE eBEHTyANHITe TALO3N CO metaJIHa CnATyla.
3a npctan do CBeKnykata, Tpe6a da ce OdBptn 1paot co npiloxeHnot klyu n da ce N3BaDn rohpata MaunHepja.
Поберете ja и обовete ja точна ТдалаченocT Meу щелктуда.
IocTaBeTe ja CBeKuKaTa Ha MeCTO npuBpCTyBaJku ja co pnpIoXeHnte KnyeBN.
CbeKnckata Tpe6a Da ce 3aMeH co Dpyra co aHaanorH KapaKTepnCTNK Bo Cnyaj Kora eEKeTPODITE Ce pneropEn Hn HnepaBnHO nOJIpaHn, nI Ha cekOn 100 cacaФнкmOHnpBa.
HoxkOT HnKoraW He cMee Da
ce nonpaba tyky Mopa da ce 3aMeHn wTom Ke ce 3a6eHexat 3aetoun Ha owTeTyBaHe nn Kora Ke ce DOCTURHE D03BOJENHOT JIMMT 3a OCTpebe.
3AMEHA HA KOHELIOT HA MAKAPATA
3a da ce 3aMeHn HajnohcknO tKeu, Tpe6a da ro cIeJeT ynaTCTBOTO pInIOxEHO 3a MaKapata.
OCTPEHbE HA MAKA3NTE 3A CEYHeBc HAc KOHELOT (cn.25)
-ИЗваде тг мakаит e3a ceuehe Na KOHeeOT (1) OД 3aHTITATA (2) OdВrtyBajkn Tn WpaФobOиte (3).
-ФИКСИРAJTE rI MAKa3NITe 3a ceYeHbe Ha KOHeuOT Ha MeHrEme NIOHETe DA OCTnTe CO NOOw HA pamHa TpyNiJa O6PHyBajK BHmAHne Da ce OdpxyBa arOJOT Ha opRnHJIHATA 3aKoCeHOCT.
-Пoctabete Г MaKa3nTe Bp3 3aWtntata.
OCTPEHbE HA HOXOT 3A INJIA CO 24 3ANU (cn.26)
BHIMAHHE!
KopncTeTe 3aWHTTHN
paKaBnCn. Ako octpebeTo ce n3BeyBa 6e3 Baede He Ha HOXOT, OTKaayTe ro Kaayeto HcBeKnUkata.
BnImabajte ocTebeTo Ha HoxoT da 6nJe np6bnxHo 1 MM, n perynpaJte, aKo e HeonXoHDo co KneuTI.
EHaKBO HAOCTpe Tn CNTe 3aunC co 3a06NeHa TpynjiA (1) BO DInJaMeTap OJ 5.5 MM paOtejKn KAKO 8to E NocOeHn CaNkA t NaOpejKn HAn3MeHnHO Ha 3aunTe ODeCHo OOnNEBO.
IpoΦnIoT Ha 3a6eOTo HNKOraH He cMee da ce MoDnФnUnpa.
BHIMAHHE!
Hokot 3a nla He ce Kopnctu
oJ obete cTpaHn n Tpe6a da ce KOpncTu cAmo oJ eHa cTpHa.
Hokot HnKoraw He CMee Da Ce nonpaba Tyky Mopa Da ce 3aMeHN WToM Ke Ce 3aBeJekat 3aYeToU Ha OWTeTyBaHe NIN Kora Ke Ce DoCTnHc D03BOnEHNOT JIMNT 3a OCTpeHe.
BOHPEДИ NHITEPBEHUN
Cekoja onepauija Ha onpkyBahe ITO He E BKNyueHa BO OBA ynpaTCTBO Tpe6a Da ce N3Bede NCKnyuBO Kaj BaWnO T 3actaHnK.
CnTe OnpaunI WTO CE n3BedeHn Ha HecooDbeteh NaHH N OJ HekBaINpKkyBaHn IInu pNIOHeCyBaat Da ce n3ryb6 Cekoja fOpMa Ha rapaHnzJa.
KOH3EPBALJJA
Ha kpaot Ha cekoja pa6oTa, mChncteTe ja MaunHata Detalno od npab N octatou npa6oTa, nonpabeTe rnn 3ameHeTe n CNTe DepekTHn DeIOBn.
Maunha Tpe6a da CE KOHN3epBnpa Ha cyBO MeCTO, 3acONHeTo OD NaDBoPeUHnTE BpeMeHcKn npuNkC o PpaBnHO NoCTaBeHa 3aHTTa.
IIOJIOHO HEKOPNCTeHbE
BAXHO
Ako ce npeBnUyBa
HeKOpNCTeHBe Ha MaUHHaTa NObKe Oe 2-3 Meceu, Tpe6a Da ce npMEnHaT HeKOnKy peWeHJa 3a Da ce H36erHaT NoteXKOTn PnO o6HOyBaHc Ha pa6oTaT Hnn TpaJHn OWTeYBaHa Ha MOTOPOT.
- UyBaHe
PpeoDnlaheHaMaunHata:
- Icnpa3heTe ro pe3epBoapot 3a ropuBO.
-BknyeTe ro MOTOPOT n OdpKxyBajTe ro BO MHNHmAnen pexnM ha paOta ce'doKeA He ce m3rache, 3a Da ro notpown eIeNTO rOpNBO wTO octahano BO KAp6bypatopot. - Octabete da ce n3laMn MOTOPOT n 3BaTe ja CBeKuKhata.
-Истуретe Бз OTьорOT ha CBekuкаТа edhaлжчka HeKOpIcTeHO macNo.
-Повь leve ja HeKoIky nATn paKaTa 3a naJeHe 3a da ro nCtprbUnpate MacNoTo BO uINHdepOT.
-Пoctabete ja cBeKuKhata co HabpTkata Ha HajropHata MOxHa TOnKa (da e BnDInBO Hn3 OTbOpOT 3a CBeKuKhata Kora HABpTkata e Ha HajropHata No3nUjia).
- 06HOByBaHbHe Ha pa6oTaT
Bo MOMENTOT KORA MaunHaTa Tpe6a Da ce CTabN BO Фуннкциа:
-ИЗваде差别сбекукata.
-Повачete ja HeKoJky paTu paKaTa 3a naJeHe 3a da ce eNIMMHpa BnOk MacNo.
-Поберета ja CBeКУкATAΚАО ΦTO e NOOCHeBO nOrnabJe "KoHTpOJa Ha CBeKUckata".
-Пoctabete ja Maшинata кaco lo e nocoheBO norlabje "Poirotobka 3a pa6ota."
9. OTKPNBAHBe TPEUKN
| HAJIDEHA | MOXHA ПИЧИHA | ЛЕК |
| 1) Motopot He ce пали, пел пak He може за ce стави BO двиненье | -iproцедураза на палене He e npabuinha | -Следе тг уnatstbvото (Видete полаве 6) |
| -Сveкчкatinga e Neuchstа пел одане�енocta měřу eilektrodnite He e toca na | -Проберete ja сveкчкatinga (Видete ноглаве 8) | |
| -Фильтетор за bo3dux e 3atnat | -Исучесу对接и / пел заменete ро фильтетор (Видete полаве 8) | |
| -Пробlemco coropуваьe | -Контактураjetо co застанникOT | |
| 2) Motopot ce пали, ho со малma мokhoct | -Фильтетор за bo3dux e 3atnat | -Исучесу对接и / пел заменete ро фильтетор (Видete полаве 8) |
| -Пробlemco coropуваьe | -Контактураjetо co застанникOT | |
| 3) Motopot paobotni нелравино пел лема мок врл палецOT | -Сveкчкatinga e Neuchstа пел одане�енocta měřу eilektrodnite He e toca na | -Проберete ja сveкчкatinga (Видete ноглаве 8) |
| -Пробlemco coropуваьe | -Контактураjetо co застанникOT |
10. TEXHnUcKI NOdAToCuN
Motop 2 TaKta I BOZdyuHNo JaDeHe
3anpemnHa/MokHOCT
MoeJ 28H - 28HD. 25 cm³ / 0,81 kW
Moen 38H - 38HD. 35 cm³ / 1,2 kW
Mokhoct Ha potaunja Ha MOTOPOT Ha MNHmym
Mодeн 28H - 28HD...... 2900-3300Вртexи/1'
Mодeн 38H - 38HD...... 2900-3300 Вртexи/1'
MaKcImaHa MOKHOCT Ha potaJHa MOTOP
Mодeн 28H - 28HD ............ 10500-11000标明的
Mодeн 38H - 38HD ............ 10500-11000 Вртexи/1'
MaKcImaJIHa MOKHOCT Ha potaunJa Ha doaToUte
MoIeN 28H - 28HD. 8500 BpTeKn/1'
MoTeJ 38H-38HD... 8500BpTeKn/1'
CBeKnUka... NGK CM5H (nnn eKBBaJIeHTHa)
TopuBO:......Be3oNoBEn 6eH3nH (3eJen) -MmHmym
90 N.O.
KanaunTeT ha pe3epBoaPOT 3a rOpINBO
Moen 28H - 28HD 550 cm3
Moen 38H-38HD 650 cm3
KanaunTeHa pe3epBoapot 3a maclo
Mодел 28H - 28HD 80 cm³
Moen 38H - 38HD 100 cm³
MaKcImaJIeH Do3B0JeH dIJaMeTap Ha HOKeBInTe
Hox co 3 3anu 255 mm
Hox co 4 3anzi . 255 mm
Hox 3a nila (co ncknyuko Ha moel
28H-28HD-38H) 0 255 mm
Maca 1)
MoJeTI“MONO" oD 5,3 do 7,1 kg
Moedenn "DUPLEX" 0d 5,5do8,2 kg
1) Maca BO Ondoc Ha HopmatIBOT ISO 11806 (6e3
TopBO, ype3a ceyehe n 3aWtnta)
ΦOHOMETPnUKN CTaBKn BNbpaun
| Моden...... | 28H | 28HD | 38H | 38HD |
| Ниво наdoesьална бука (ISO 10884) dB(A) | ||||
| co мakара co конец | 108,1 | 107,9 | 106,3 | 109,7 |
| co hoх co 4 запи | 106,0 | 106,1 | 103,5 | 106,5 |
| Ниво насычава за слухот на оретаюрот (EN 27917) dB(A) | ||||
| co мakара co конец | 94,6 | 95,1 | 92,1 | 94,7 |
| co hoх co 4 запи | 94,3 | 91,2 | 93,2 | 93,7 |
| Ибрацништо сpenесуваат на paцete od предаста рача ("MONO") (ISO 7916) m/sec2 | ||||
| на минимуm | 2,4 | - | 2,2 | - |
| co мakара co конец | 8,3 | - | 5,9 | - |
| co hoх co 4 запи | 7,8 | - | 2,8 | - |
| Вибрацништо сpenесуваат на paцete od за干嘛ста рача ("MONO") (ISO 7916) m/sec2 | ||||
| на минимуm | 2,0 | - | 2,9 | - |
| co мakара co конец | 8,1 | - | 6,7 | - |
| co hoх co 4 запи | 9,2 | - | 4,7 | - |
| Вибрацништо сpenесуваат на paцete od лев_STа рача ("DUPLEX") (ISO 7916) m/sec2 | ||||
| на минимуm | - | 1,3 | - | 1,3 |
| co мakара co конец | - | 7,2 | - | 2,1 |
| co hoх co 4 запи | - | 5,4 | - | 2,0 |
| Вибрацништо сpenесуваат на paцete od-deснаста рача ("DUPLEX") (ISO 7916) m/sec2 | ||||
| на минимуm | - | 1,9 | - | 1,4 |
| co мakара co конец | - | 7,7 | - | 3,3 |
| co hoх co 4 запи | - | 5,3 | - | 3,7 |
Gerbiamas klien,
7. MASINAS LIETOŠANA
Ar cienu izturieties pret citiem cilvekiem un pret apkartejo vidi:
Censaties neklut par neertibas celoni.
Rupigi ieverojiet vietjo likumdoisanu, kas attiecas uz griesanas atkritumu pärstradi.
-Rupigi ieverojiet vietelo likumdoisanu, kas attiecas uz ellu, benzina, nodiluso daju vai jebkuru citu videi nedraudzigu prieksmetu sparstradi.
GALVINAS STIEPLES NOMAINA
Lai nomainitu neilona stiepli, sekojiet galvinai pievientajiem noradijumiem.
STIEPLES GRIESANAS NAZA ASINASANA (25.zim.)
- Nonemiet stieples griesanas nazi (1) no aizsarga (2), atskruvejot skruvi (3).
- Nostipriniet stieples griesanas nazi spiles un uzasinent to ar plakanas viles palidzibu, sekojot tam, lai saglabatos sakotnejs griesanas len is.
-Uzstadiet nazi atpaka] uz aizsargu.
ZA VEIDA ASMENS AR 24 ZOBIEM ASINASANA (26.zim.)
UZMANIBU!
Izmantojiet aizsargcimdus.
thank you for choosing one of our products. We hope that you will be completely satisfied with this machine and that it fully meets your expectations. This manual has been compiled in order to provide you with all the information you need to get acquainted with the machine and use it safely and efficiently. Don't forget that it is an integral part of the machine, so keep it handy so that it can be consulted when necessary, and pass it on to a further user if you resell or loan the machine.
Your new machine has been designed and manufactured in pursuance with current regulations, and is safe and reliable if used in compliance with the instructions provided in this manual (proper use). Using the machine in any other way, or non-compliance with the safety specifications relative to use, maintenance and repair is considered "improper use" which will invalidate the warranty, relieve the manufacturer from all liabilities, and the user will consequently be liable for all and any damage or injury to himself or others.
Since we regular improve our products, you may find slight differences between your machine and the descriptions contained in this manual. Modifications can be made to the machine without notice and without the obligation to update the manual, although the essential safety and function characteristics will remain unaltered. In case of any doubts, please contact your dealer. And now enjoy your work!
TABLE OF CONTENTS
- Identification of the main components 2
- Symbols 3
- Safety requirements 4
- Machine assembly 6
5.Preparing to work. 8 - How to start - Use - Stop the engine 9
- Using the machine 11
- Maintenance and storage 14
- Troubleshooting 16
- Technical data 17
1. IDENTIFICATION OF MAIN COMPONENTS
MAIN COMPONENTS
- Power unit
- Drive tube
- Cutting device
a. Blade with 3 or 4 points
b. Cutting line head
- Cutting device guard
- Front handgrip
- Guard
- Handlebar
- Rear handgrip
- Connection point (of the webbing)
- Identification plate
- Webbing
a. single belt
b. double belt
- Angle transmission
- Blade protection (for transport)
- Spark plug



“MONO”

"DOUBLEX"
CONTROLS AND REFUELLING
- Engine stop switch
- Throttle trigger
- Throttle trigger lockout
- Starter
- Choke (if present)
-
Primer (if present)
-
Fuel tank cap
- Oil plug
IDENTIFICATION PLATE
10.1) Conformity marking in accordance with Directive 98/37/EC
10.2) Name and address of the manufacturer
10.3) Acoustic output level LWA in accordance with directive 2000/14/EC
10.4) Manufacturer's model of reference
10.5) Machine model
10.6) Serial number
10.7) Year of manufacture

2. SYMBOLS










1) Warning! Danger. The failure to use this machine correctly can be hazardous for oneself and others.
2) Read the instruction manual before using the machine.
3) If you are using the machine every day in normal conditions, you can be exposed to a noise level of 85 dB (A) or higher.
Wear earmuffs or earplugs and a protective helmet.
4) Wear gloves and protective footwear!
5) Danger of flying objects! Keep any people or pets at least 15m away when using the machine!
6) Do not use the circular saw blade. Danger: Using the circular saw blade with machines marked with this symbol exposes the user to the danger of very serious or even fatal injuries.
7) Maximum cutting device speed. Only use suitable cutting devices.
8) Acoustic output level LWA in accordance with directive 2000/14/EC.
EXPLANATORY SYMBOLS ON THE MACHINE (if present)

11) Fuel tank
12) Engine stop switch positions
a = stop
b = run

16) Correct position of the handgrip on the drive tube
EXPLANATORY SYMBOLS ON THE PROTECTION DEVICES (if present)



21) Cutting device with adequate protection
22) To be used with the cutting line head
23) Cutting device rotation direction
3. SAFETY REQUIREMENTS
A) TRAINING
1) Read the instructions carefully. Become acquainted with the controls and the proper use of the machine. Learn how to stop the engine quickly.
2) Only use the machine for the purpose for which it was designed, namely
- cutting grass and non-woody vegetation, using a nylon line (e.g. around the edges of lawns, flowerbeds, walls, fences and small grassy areas to tidy up the cutting done using a mower);
- cutting tall grass, dry branches, twigs and woody shrubs of up to 2cm diameter, with the help of metal or plastic blades.
Any other use may be dangerous and damage the machine.
3) Never allow children or persons unfamiliar with these instructions to use the machine. Local regulations can restrict the age of the user.
4) The machine must never be used by more than one person.
5) Never use the machine:
- when people, especially children or pets are in the vicinity;
- if the user is tired or unwell, or has taken medicine, drugs, alcohol or any substances which may slow his reflexes and compromise his judgement;
- if the user is not capable of holding the machine firmly with two hands and/or remaining standing on the ground whilst working.
6) Keep in mind that the operator or user is responsible for accidents or hazards occurring to other people or their property.
B) PREPARATION
1) Always wear adequate clothing which does not hamper movements when using the machine.
- Always wear slim-fitting protective clothing, fitted with shear-proof protection devices.
Always wear a helmet, protective gloves, eyegoggles, a half-mask respirator and safety anti-shear boots with non-slip soles.
- Always wear ear and hearing protection devices.
- Never wear scarves, shirts, necklaces, or any hanging or flapping accessory that could catch in the machine or in any objects or materials in the work area.
- Tie your hair back if it is long.
2) WARNING: DANGER! Petrol is highly flammable:
- keep the fuel in containers which have been specifically manufactured and homologated for such use;
- never smoke when handling fuel;
- slowly open the fuel tank to allow the pressure
inside to decrease gradually;
top up the tank with fuel in the open air, using a funnel;
- add fuel before starting the engine. Never remove the fuel tank cap or add fuel while the engine is running or when the engine is hot;
- if you have spilt some fuel, do not attempt to start the engine but move the machine away from the area of spillage and avoid creating any source of ignition until the fuel has evaporated and fuel vapours have dissipated;
- immediately clean up all traces of fuel spilt on the machine or on the ground;
- never start the machine in the same place you refilled it with fuel;
- make sure your clothing does not come into contact with the fuel, on the contrary, change your clothes before starting the engine;
- always put the tank and fuel container caps back on and tighten well.
4) Replace faulty or damaged silencers.
5) Before using the machine, check its general condition and in particular:
- the throttle trigger and the safety lever must move freely, they must not need forcing and should return automatically and rapidly back to the neutral position;
- the throttle trigger must remain locked until the safety lever is pressed;
- the engine stop switch must easily move from one position to the other;
- the electric cables and in particular the spark plug cable must be in perfect condition to avoid the generation of any sparks, and the cap must be correctly fitted on the spark plug;
- the machine handgrips and protection devices must be clean and dry and well fastened to the machine;
- the cutting devices and guards must be undamaged.
6) Check the correct position of the handgrips and the connection point of the webbing, and the proper balance of the machine.
7) Before starting work make sure that the guards are suitable for the cutting tool being used and are fitted correctly.
8) Thoroughly inspect the whole work area and remove anything that could be thrown up by the machine or damage the cutting group or engine (stones, branches, iron wire, bones, etc.).
C) OPERATION
1) Do not start the engine in a confined space where dangerous carbon monoxide fumes can collect.
2) Mow only in daylight or good artificial light.
3) Take on a firm and well-balanced position:
- where possible, avoid working on wet, slippery ground or in any case on uneven or steep
ground that does not guarantee stability for the operator;
- never run, but walk carefully paying attention to the lay of the land and any eventual obstacles;
- assess the potential risks of the ground to be mown and take all necessary precautions to ensure your own safety, especially on slopes or on bumpy, slippery or unstable ground;
- work along the contour on slopes, never when walking up or down and always keep downhill of the cutter.
4) Make sure the machine is securely locked when you start the engine: - start the motor in an area at least 3 metres from where you refuelled;
- check that there is nobody within at least 15 metres of the machine's range of action or at least 30 metres for heavier mowing;
- do not direct the silencer and therefore the exhaust fumes towards inflammable materials.
5) Do not change the engine governor settings or overspeed the engine.
6) Do not strain the machine too much and do not use a small machine for heavy-duty works. If you use the right machine, you will reduce the risk of hazards and improve the quality of your work.
7) Check that when the machine is running idle, there is no movement of the cutting device and, after pressing the throttle trigger, the engine quickly returns to minimum speed.
8) Ensure that the blade does not come into violent contact with foreign bodies and beware of the possibility of material being thrown up by the blades.
9) Always keep the machine connected to the webbing when working.
10) Stop the engine: - whenever you leave the machine unattended.
before refuelling. - during movements between work areas.
11) Stop the engine and disconnect the spark plug cable: - before cleaning, checking or working on the machine;
- after striking a foreign object. Inspect the machine for any damage and make repairs before restarting it again;
If the machine starts to vibrate abnormally: find and remove the cause of the vibration immediately; - when the machine is not in use.
1) Keep all nuts, bolts and screws tight to be sure the equipment is in safe working condition. Routine maintenance is essential for safety and for maintaining a high performance level.
2) Do not store the machine with fuel in the tank in an area where the fuel vapours could reach an open flame, a spark or a strong heat source.
3) Allow the engine to cool before storing in any enclosure.
4) To reduce fire hazards, keep the engine, exhaust silencer and fuel storage area free from sawdust, branches, leaves, or excessive grease; never leave containers with the cut debris inside the storage area.
5) If the fuel tank has to be emptied, this should be done outdoors once the engine has cooled down.
6) Always wear protective gloves when handling the cutting device.
7) For safety reasons, never use the machine with worn or damaged parts. Damaged parts are to be replaced and never repaired. Only use original spare parts. Parts that are not of the same quality can seriously damage the equipment and compromise safety. The cutting tools must always bear the manufacturer's trademark as well as a reference to the maximum working speed.
8) Before putting the machine away, check you have removed wrenches or tools used for maintenance.
9) Store the machine out of the reach of children!
E) TRANSPORTATION AND HANDLING
1) Whenever the machine is to be handled or transported you must:
- turn off the engine, wait for the cutting device to stop and disconnect the spark plug cap;
- fit the cutting device guard;
- only hold the machine using the handgrips and position the cutting device in the opposite direction to that used during operation.
2) When using a vehicle to transport the machine, position it so that it can cause no danger to persons and fasten it firmly in place to avoid it from tipping over, which may cause damage or fuel spillage.
F) HOW TO READ THE MANUAL
Certain paragraphs in the manual contain particularly significant information and are marked with various levels of highlighting with the following meaning:
NOTE
or
IMPORTANT
These give details or further
information on what has already been said, in the aim to prevent damage to the machine.
WARNING!
Non-observance will result
in the risk of injury to oneself or others.
DANGER!
Non-observance will result
in the risk of serious injury or death to oneself or others.
4. MACHINE ASSEMBLY
IMPORTANT
The machine is supplied with
some of the components disassembled and the fuel tank empty.
WARNING!
Always wear strong work
gloves to handle the cutting devices. Mount the components very carefully so as not to impair the safety and efficiency of the machine. If in doubt, contact your dealer.
1. COMPLETING THE MACHINE
1a. "MONO" models
WARNING!
The purpose of the spacer
(1) is to ensure a minimum distance between the rear handgrip and the front one, for safety reasons. This spacer must always be fitted and must not be modified in any way.
-
Model 28 (Fig. 1)
-
In front of the spacer (1), fit the front handgrip (2) onto the drive tube (3) using the screws (4) and nuts (5) inserted in their proper seatings.
Before tightening the screws (4), align the handgrip correctly with respect to the drive tube. - Fully tighten the screws (4).
Model 38 (Fig.2)
- Fit the front handgrip with guard (1) on the plastic fairing (2), fully tightening the screws (3).
1b. "DUPLEX" models
Model 28 (Fig. 3)
- Put the handlebar (1) into the seating in the support (2), located on the drive tube (3), making sure that the controls are on the right.
- Fit the cap (4), fully tightening the screws (5).
- The support (2) is already preassembled on
the drive tube (3) so that the edge matches up with the arrow (6) on the label; this position must never be changed.
-
Model 38 (Fig. 4)
-
Unscrew the central knob (1) and remove the cap (2).
- Insert the handlebar (3), making sure that the controls are on the right.
- Set the handlebar in the most comfortable working position and lock it using the cap (2) and knob (1).
2. FITTING THE GUARDS
WARNING!
Each cutting device is pro
vided with a specific guard. Never use guards other than those indicated for each cutting device.
3 or 4-point blade (Fig. 5)
WARNING!
ear protective gloves and
fit the blade guard.
- Remove the blade (if fitted) as described in paragraph 3.
-
The guard (1) is fixed to the angle transmission (2) by two screws (3).
-
Cutting line head (Fig. 6)
WARNING!
When using the cutting
line head the additional guard, with line cutting knife, must always be fitted.
- Remove the blade (if fitted) as described in paragraph 3.
- The guard (1) is fixed to the angle transmission (2) by two screws (3).
- Fit the additional guard (4), inserting the couplers into the respective seatings in the guard (1) and pressing until a click is heard.
3. REMOVIDING AND REFITTING THE CUTTING DEVICES
WARNING!
Use only original cutting
devices or ones homologated by the Manufacturer.
3 or 4-point blade
WARNING!
Wear protective gloves and
fit the blade guard.
a) Model 28 (Fig. 7)
NOTE
The nut of the cup (4) has a
left-hand thread and so must be unscrewed in a clockwise direction and screwed up anticlockwise.
- Insert the wrench supplied (2) into the specific hole in the angle transmission (3) and rotate the blade (1) by hand until the wrench enters the inner hole, blocking rotation.
- Remove the cup (4) unscrewing the nut in a clockwise direction.
- Unthread the outer ring-nut (5) and remove the blade (1).
When mounting,
- Ensure that the grooves in the inner ring-nut (6) match up perfectly with the angle transmission (3).
- Fit the blade (1) and outer ring-nut (5).
- Refit the cup (4), fully tightening the nut in an anticlockwise direction.
- Remove the wrench (2) to restore blade rotation.
b) Model 38 (Fig. 8)
NOTE
The cup screw (4) has a left-
hand thread and so must be unscrewed in a clockwise direction and screwed up anticlockwise.
- Insert the wrench supplied (2) into the specific hole in the angle transmission (3) and rotate the blade (1) by hand until the wrench enters the inner hole, blocking rotation.
- Remove the cup (4) unscrewing the central screw in a clockwise direction.
- Unthread the outer ring-nut (5) and remove the blade (1).
When mounting,
- Ensure that the grooves in the inner ring-nut (6) match up perfectly with the angle transmission (3).
- Fit the blade (1) and outer ring-nut (5).
- Refit the cup (4), fully tightening it in an anticlockwise direction.
- Remove the wrench (2) to restore blade rotation.
Cutting line head (Fig. 9)
NOTE
The cutting line head has a
left-hand thread and so must be unscrewed in a clockwise direction and screwed up anticlockwise.
- Insert the wrench supplied (2) into the specific hole in the angle transmission (3) and rotate the cutting line head (1 or 1a) by hand until the wrench enters the inner hole, blocking rotation.
- Remove the cutting line head (1) unscrewing it in a clockwise direction.
When mounting,
- Ensure that the grooves in the inner ring-nut (6) match up perfectly with the angle transmission (3).
- Fit the cutting line head (1) screwing it up in an anticlockwise direction.
-
Remove the wrench (2) to restore shaft rotation.
-
Saw blade (if permitted)
WARNING!
Use of the saw blade is
prohibited on machines marked with the specific symbol (see chap. 2n^6
Follow the instructions supplied with the saw blade to fit it and its guard.
5. PREPARED TO WORK
CHECKING THE MACHINE
Before starting work please:
- check that all the screws on the machine and the cutting device are tightly fastened;
- check that the cutting device is undamaged and that the 3 or 4-point metal blades (if fitted) are properly sharpened;
- check that the air filter is clean;
- check that the protection devices are well fastened and working efficiently;
- check the handgrips are well fastened.
FUELS AND OILS
This machine is fitted with a four-stroke engine which DOES NOT require oil to be added to the petrol.
IMPORTANT
Adding oil to the petrol dam
ages the engine and will cause invalidation of the warranty
IMPORTANT
Only use quality fuels and
oils to maintain high performance and guarantee the duration of the mechanical parts over time.
- Petrol characteristics
Only use unleaded petrol with a fuel grade of at least 90 N.O.
IMPORTANT
Unleaded petrol tends to
create deposits in the container if preserved for more than 2 months. Always use fresh petrol!

DANGER!
Petrol is flammable!
- Keep the petrol in homologated fuel containers, in safe place, away from any flames or heat sources.
- Never leave the containers within the reach of children.
Oil characteristics
Only use top quality oil specifically for four-stroke engines, highly detergent, with classification SF-SG and viscosity SAE10W30.
IMPORTANT
The use of a non-detergent
or inadequate oil or one with different features to those indicated will damage the motor and will cause invalidation of the warranty
Your dealer can provide you with oils which have been specifically developed for this type of engine, and which are capable of guaranteeing a high level of protection and extend the efficiency of the engine.
REFUELLING

DANGER!
Never smoke whilst refu
elling and avoid inhaling the petrol fumes.

WARNING!
Carefully open the tank top
as pressure could have formed inside.
Before refuelling:
- Place the machine on a flat stable surface, with the fuel tank cap facing upwards.
- Clean the fuel tank cap and the surrounding area to avoid any dirt from entering the tank during refilling.
- Carefully open the fuel tank cap to allow the pressure inside to decrease gradually. Use a funnel to refill and avoid filling the tank to the brim.

WARNING!
Always close the fuel tank
cap firmly.

WARING!
Immediately clean all
traces of petrol which may have dripped on the machine or the ground and do not start the engine until the petrol fumes have dissipated.
OIL TOPPING UP (Fig. 10)
IMPORTANT
Do not start the engine and
do not use the machine if the oil level is low.
To check the oil level:
- Place the machine on a flat stable surface, with the fuel tank cap facing upwards.- Unscrew the tank cap and check that the oil level reaches the rim of the filler.
The oil tank capacity is 80 cc (Model 28) or 100 cc (Model 38).
6. HOW TO START - USE - STOP THE ENGINE
STARTING THE ENGINE
WARNING!
The engine must be start
ed in an area at least 3 metres from where you refilled the fuel tank.
Before starting the engine:
- Place the machine firmly on the ground.
- Remove the guard from the blade (if used).
- Make sure the blade (if used) is not touching the ground or any other object.
Cold starting
NOTE
A "cold" start of the engine
means starting it after at least 5 minutes from
when it was switched off or after refuelling.
To start the engine (Fig. 11):
- Set the switch (1) to «START».
- Operate the starter, turning lever (5) to «CLOSE».
- Press the primer device button (6) 3 or 4 times to prime the carburettor.
- Hold the machine firmly on the ground with one hand on the power unit, in order not to lose control of the machine during startup (Fig. 12).
IMPORTANT
To prevent distortions, the
drive tube must not be used as a support for the hand or knee during startup.
- Pull the starter rope slowly for 10 - 15 cm until you feel some resistance, then tug it hard a few times until you hear the engine turn over.
IMPORTANT
To avoid breaking the starter
rope, do not pull the whole length of it or let it slide along the edge of the cable guide hole. Release the starter gradually, to avoid letting it fly back uncontrollably.
- Pull the starter rope again until the engine starts as normal.
WARNING!
Starting the engine with
the starter engaged causes the cutting device to move, only stopping when the starter is disconnected.
- When the engine is started, disconnect the starter by turning the lever (2) to «OPEN».
- Let the engine run idle for at least 1 minute before using the machine.
IMPORTANT
If the starter rope is pulled
repeatedly with the choke on, it may flood the engine and make starting difficult.
If you have flooded the engine, remove the spark plug and gently pull the handle on the starter rope to eliminate any excess fuel; then dry the spark plug electrodes and replace it on the engine.
Hot starting
When hot starting (immediately after stopping the engine), follow the procedure indicated above in points 1 - 4 - 5 - 6.
USE OF THE ENGINE (Fig. 11)
Cutting device speed is regulated by the throttle trigger (2), located on the rear handgrip (4) or the right handgrip (4a) of the handlebar.
The throttle trigger only works if the lockout (3) is pressed at the same time.
The movement is transmitted from the engine to the drive shaft by a centrifugal mass clutch that prevents the shaft from moving when the engine is running at minimum speed.
WARNING!
Never use the machine if
the cutting device moves when the engine is running idle; if this is the case regulate the minimum rate (see chap.8) and if the problem persists please contact your dealer.
The correct running speed will be achieved by pressing the throttle trigger (2) as far as possible.
IMPORTANT
Avoid using the engine at full
power for the first 6-8 working hours.
STOPPING THE ENGINE (Fig. 11)
To stop the engine:
- Release the throttle trigger (2) and allow the engine to run idle for a few seconds.
- Set the switch (1) to "STOP".
WARNING!
When you have reduced
speed to a minimum, it will take a few seconds for the cutting device to stop
7. USING THE MACHINE
To respect people and the environment:
- Try not to cause any disturbance.
- Scrupulously comply with local regulations and provisions for the disposal of waste materials after sawing.
- Scrupulously comply with local regulations and provisions for the disposal of oils, petrol, damaged parts or any elements which have a strong impact on the environment.
WARNING!
Prolonged exposure to
vibrations can cause injuries and neurovascular disorders (also called "Renaud's syndrome" or "white hand"), especially to people suffering from circulation disorders. The symptoms can regard the hands, wrists and fingers and are shown through loss of sensitivity, torpor, itching, pain and discolouring of or structural changes to the skin. These effects can be worsened by low ambient temperatures and/or by gripping the handgrips excessively tightly. If the symptoms occur, the length of time the machine is used must be reduced and a doctor consulted.
WARNING!
Always wear suitable
clothing when using the machine. Your dealer can provide you with all the information on the most suitable accident-prevention devices to guarantee your safety.
USING THE WEBBING (Fig. 13)
WARNING!
The machine must always
be used connected to the webbing worn correctly. Frequently check the efficiency of the quick release mechanism used to quickly free the machine from the belts in case of danger.
The webbing must be put on before connecting the machine to the special coupling and the belts must be adjusted to suit the operator's height and stature.
If the machine has more than one coupling hole, use the most favourable point for keeping the machine balanced when working.
Always use webbing suited to the weight of the machine and the cutting device used
- the single or double belt models can be used for machines weighing less than 7.5kg fitted with the cutting line head or 3 or 4-point blades;
- the double belt model must be used for machines weighing more than 7.5kg fitted with the saw blade (if permitted).
- Single belt "MONO" models
The belt (1) must go over the left shoulder towards the right hip.
Double belt models
The belt (2) must be worn with:
- the padded part and snap-hook coupling on the right;
- the release in front;
- the belt cross-over on the operator's back.
The belts must be tensioned so that the load is evenly distributed on the shoulders.
USING THE MACHINE
WARNING!
When working, the
machine must always be firmly held in both hands, keeping the power unit on the right of the body and the cutting group below the line of the belt.
WARNING!
Stop the engine immedi-
ately if the blade stops during sawing. Always beware of a kickback, which could occur if a blade encounters a solid object (logs, roots, branches, stones, etc.). Do not touch the ground with the blade. Kickbacks cause blade recoils that are difficult to control, so as to cause loss of control of the machine, compromise operator safety and cause damage to the machine itself.
Before tackling a mowing job for the first time it is advisable to gain the necessary familiarity with the machine and the most suitable cutting tech
niques, finding out how to wear the webbing correctly, firmly gripping the machine and making the movements required by the job.
- Choosing the cutting device
Choose the most suitable cutting device for the job to be done, according to these general indications:
- the 3-point blade is suitable for cutting brushwood and small shrubs up to 2cm in diameter;
- the 4-point blade is suitable for cutting resistant grass over large surfaces;
- the cutting line head can eliminate tall grass and non-woody vegetation near fences, walls, foundations, pavements, around trees, etc. or to completely clean a particular area of the garden;
- the saw blade (if permitted) is suitable for cutting resistant bushes, shrubs and small trees with a trunk up to 6 cm.
WORKING TECHNIQUES
a) 3-point blade (Fig. 14)
Start cutting above the undergrowth and then move down with the scything blade so as to cut the brush into small pieces.
b) 4-point blade (Fig. 15)
Proceed using the machine as a traditional scythe, with a circular movement of about 60-90^ , thus moving outside the undergrowth, and so on.
c) Cutting line head
WARNING! Use ONLY nylon lines. The use of metal lines, plasticised metal lines and/or lines not suitable for the head can cause serious injuries and wounds.
During use it is advisable to stop the engine periodically and remove the weeds wound round the machine, so as to prevent the drive tube from overheating due to the grass caught under the guard.
Remove the caught-up grass with a screwdriver to allow the rod to be properly cooled.
WARNING!
Do not use the machine
for sweeping, tilting the cutting line head. The power of the engine could throw objects and small stones 15 metres or more, causing damage and injuries to people.
- Cutting in motion (Scything) (Fig. 16)
Proceed at a regular pace, with a circular motion similar to a traditional scythe, without tilting the cutting line head during the operation.
First try cutting at the right height in a small area, so as to then achieve a uniform cutting height keeping the cutting line head at a constant distance from the ground.
For heavier cutting it can be useful to tilt the cutting line head by about 30^ .
WARNING!
Do not work in this way if
there is the possibility of causing objects to be thrown, which could harm people and animals and cause damage.
- Precision cutting (Trimming)
Keep the machine slightly tilted so that the lower part of the cutting line head does not touch the ground and the cutting line is at the required point, always keeping the cutting device at a distance from the operator.
- Cutting near fences/foundations (Fig.17)
Slowly approach the cutting line head to fences, posts, rocks, walls, etc. without hitting them hard.
If the line strikes a solid object it could break or become worn; if it gets tangled in a fence it could break abruptly.
In any case, cutting around pavements, foundations, walls, etc. can cause greater wear than normal in the line.
- Cutting round trees (Fig.18)
Walk round the tree from left to right, approaching the trunks slowly so as not to strike the tree with the line and keeping the cutting line head tilted forward slightly.
Remember that the nylon line could lop or damage small shrubs and that the impact of the nylon line against the trunk of bushes or trees with soft bark could seriously damage the plant.
- Adjusting line length when working (Fig. 19)
This machine is fitted with a "Tap & Go" head. To release more line, tap the cutting line head against the round with the engine at top speed: the line will be released automatically and the knife cut off the excess length.
d) Saw blade (if permitted) (Fig. 20)
WARNING!
Use of the saw blade is
prohibited on machines marked with the specific symbol (see chap. 2n^6 ).When using the saw blade, where permitted, the specific guard must always be fitted. The blade must always be well sharpened to reduce the risk of kickback.
WARNING!
When felling small trees,
estimate the direction in which the cut tree will fall, also taking the wind direction into consideration.
To get a good result when felling small trees, the cut must be made with a rapid movement towards the branch or trunk to be cut, with the engine at maximum revs.
Do not use the right-hand area of the blade because there is a high risk of kickback or the blade seizing up, due to the direction of rotation.
END OF OPERATIONS
When you have finished your work:
- Switch off the engine as indicated above (Chap. 6).
- Wait for the cutting device to stop and fit the blade guard (if 3 or 4-point blades of saw blades are used).
8. MAINTENANCE AND STORAGE
Correct maintenance is essential to maintain the original efficiency and safety of the machine over time.
WARNING! During maintenance oper
ations:
- Remove the spark plug cap.
- Wait until the engine is sufficiently cold.
- Use protective gloves when handling the blades.
- Keep the blade protection device on, except when intervening directly on the blade.
- Never dispose of oils, fuel or other polluting materials in unauthorised places.
CYLINDER AND SILENCER
To reduce fire risks, periodically clean the cylinder flaps with compressed air and clear the silencer area to get rid of sawdust, branches, leaves or other debris.
STARTING SYSTEM
To avoid overheating and damage to the engine, always keep the cooling air vents clean and free of sawdust and debris.
The starter rope must be replaced as soon as it shows signs of wear.
NUTS AND SCREWS
Periodically check that all the nuts and screws are securely tightened and the handgrips are tightly fastened.
CLEANING THE AIR FILTER (Fig. 21)
IMPORTANT Cleaning the air filter is essential to guarantee the efficiency and duration of the machine. Do not work with a damaged filter or without a filter, as this could permanently damage the engine.
It must be cleaned after every 8-10 working hours.
Clean the filter as follows:
-
Press the tab (3), remove the cover (1) and the filter element (2).
-
Wash the filter element(2) with soap and water. Do not use petrol or other solvents.
- Leave the filter to dry in the open air.
- Fit the filter element (2) and the cover (1) back on.
CHECKING THE SPARK PLUG (Fig. 22)
Periodically remove and clean the spark plug using a metal brush to get rid of any deposits.
To access the spark plug, screw must be unscrewed with the wrench provided and the upper cover removed.
Check and reset the correct distance between the electrodes.
Replace the spark plug and fasten it firmly using the supplied wrench.
The spark plug must be replaced with one with the same characteristics whenever the electrodes have burnt or the insulation has worn, and in any case every 100 working hours.
ENGINE OIL CHANGE
Empty the oil tank with the engine still warm to ensure fast and complete emptying.
- Check that the fuel tank cap is fully tightened.
- Remove the oil tank cap and empty the oil into a container, tilting the engine in the direction of the oil tank filler.
- Fill the tank with the recommended oil and check the level.
- Replace the oil tank cap.
TUNING THE CARBURETTOR
The carburettor is tuned by the manufacturer to achieve maximum performance in all situations, with a minimum emission of toxic gas in compliance with the regulations in force.
In the case of poor performance contact your Dealer for a check of the carburetion and engine.
- Tuning minimum speed
WARNING!
The minimum speed must
only be tuned if the cutting device moves when the engine idles.
Speed is reduced by turning the screw marked «MIN» anti-clockwise until the cutting device stops moving. The engine should continue to run as normal.
If the engine does not idle smoothly, turn the screw clockwise to increase the speed.
WARNING!
The cutting device must
not move when the engine idles; contact your dealer if you are not able to tune it to your satisfaction.
ANGLE TRANSMISSION (Fig. 23)
Lubricate with lithium-based grease.
Remove the screw (1) and put in the grease, turning the shaft manually until grease emerges, then replace the screw (1).
SHARPENING THE 3 OR 4-POINT BLADE (Fig. 24)
WARNING!
Use protective gloves. If
sharpening is done without removing the blade, disconnect the spark plug cap.
Sharpening must be done taking account of the type of blade and cutting edges, using a flat file and working all the points equally.
The references for correct sharpening are given in Fig. 24:
A = Incorrect sharpening
B = Sharpening limits
C = Incorrect and unequal angles
It is important to retain the correct balance after sharpening.
3 or 4-point blades can be used from both sides. When one side of the points is worn, the blade can be turned and the other side used.
WARNING!
The blade must never be
repaired, but must be replaced as soon as signs of breaking are noted or the sharpening limit is exceeded.
HEAD LINE REPLACEMENT
Follow the instructions attached to the head for replacing the nylon line.
SHARPENING THE LINE CUTTING KNIFE (Fig. 25)
- Remove the line cutting knife (1) from the guard (2) by unscrewing screw (3).
Fix the line cutting knife in a vice and sharpen it using a flat file, being careful to retain the original cutting angle. - Refit the knife on the guard.
SHARPENING THE 24-TOOTH SAW BLADE (Fig. 26)
WARNING!
Use protective gloves. If
sharpening is done without removing the blade, disconnect the spark plug cap.
Check that the blade set is approximately 1 mm and, if necessary, adjust it with pliers.
Sharpen all the teeth uniformly using a round file (1) 5.5mm in diameter, using it as shown in the figure and working alternately on the left and right teeth.
The tooth profile must not be changed.
WARNING!
The saw blade is not
reversible, thus it must only be used from one side.
The blade must never be repaired, but must be replaced as soon as signs of breaking are noted or the sharpening limit is exceeded.
All maintenance operations not foreseen in this manual must be performed exclusively by your dealer.
All and any operations performed in unauthorised centres or by unqualified persons will totally invalidate the warranty.
STORAGE
After every work stint, clean the machine thoroughly to remove all dust and debris, and repair or replace any faulty parts.
The machine must be stored in a dry place away from the elements and with the cover correctly fitted.
LONG PERIODS OF DISUSE
IMPORTANT
If you are not going to use
the machine for a period of more than 2-3 months, we recommend you do a few things before putting it away. This will make it easier when you want to use the machine again and will also prevent permanent damage to the engine.
- Restarting work
When you wish to start using the machine again:
- Remove the spark plug.
- Pull the starter rope a few times to eliminate excess oil.
- Check the spark plug as described in chapter "Checking the spark plug".
- Prepare the machine as indicated in the paragraph entitled "Preparing for work".
Storage
Before putting the machine away:
- Empty the fuel tank.
- Start the engine and run it idle until it comes to a halt, so that it uses up all the fuel that is left in the carburettor.
- Wait for the engine to cool down and remove the spark plug
- Pour a teaspoon of fresh oil into the spark plug hole.
- Pull the starter rope several times to deliver oil to the cylinder.
- Replace the spark plug with the piston in the dead end upper position (visible from the spark plug slot when the piston is at maximum stroke).
9. TROUBLESHOOTING
| PROBLEM | LIKELY CAUSE | SOLUTION |
| 1) The engine will not start or will not keep running | - Incorrect starting procedure | - Follow the instructions (see chapter 6) |
| - Dirty spark plug or incorrect distance between the electrodes | - Check the spark plug (see chapter 8) | |
| - Air filter clogged | - Clean and/or replace the filter (see chapter 8) | |
| - Carburetion problems | - Contact your dealer | |
| 2) The engine starts but is lacking in power | - Air filter clogged | - Clean and/or replace the filter (see chapter 8) |
| - Carburetion problems | - Contact your dealer | |
| 3) The engine runs irregularly and lacks in power when revved | - Dirty spark plug or incorrect distance between the electrodes | - Check the spark plug (see chapter 8) |
| - Carburetion problems | - Contact your dealer |
10. TECHNICAL SPECIFICATIONS
Engine 4-stroke air-cooled
Capacity / Power
Mod. 28H - 28HD 25 cm³ / 0,81 kW
Mod. 38H - 38HD 35 cm³ / 1,2 kW
Engine rotation speed at tick-over
Mod. 28H - 28HD 2900-3300 rpm
Mod. 38H - 38HD 2900-3300 rpm
Maximum engine rotation speed
Mod. 28H - 28HD............ 10500-11000 rpm
Mod. 38H - 38HD............ 10500-11000 rpm
Maximum tool rotation speed
Mod. 28H - 28HD 8500 rpm
Mod. 38H - 38HD 8500 rpm
Spark plug............ NGK CM5H (or equivalent)
Fuel: Unleaded petrol - at least 90 N.O
Fuel tank capacity
Mod. 28H - 28HD 550 cm3
Mod. 38H - 38HD 650 cm3
Oil tank capacity
Mod. 28H - 28HD 80 cm3
Mod. 38H - 38HD 100 cm3
Maximum permitted blade diameter
3-point blade 255 mm
4-point blade 255 mm
Saw blade (excluding Mod.
28H - 28HD - 38H) 0 255 mm
Weight 1)
“MONO” models from 5,3 to 7,1 kg
"DUPLEX" models from 5,5 to 8,2 kg
1) Weight as per standard ISO 11806 (without fuel, cutting devices and guards)
Phonometric Recordings and Vibrations
| Model | 28H | 28HD | 38H | 38HD |
| Noise level recorded (ISO 10884) dB(A) | ||||
| with line cutter head | 108,1 | 107,9 | 106,3 | 109,7 |
| with 4-point blade | 106,0 | 106,1 | 103,5 | 106,5 |
| Noise level at the operator's ear (EN 27917) dB(A) | ||||
| with line cutter head | 94,6 | 95,1 | 92,1 | 94,7 |
| with 4-point blade | 94,3 | 91,2 | 93,2 | 93,7 |
| Vibrations transmitted to the hand on the front handgrip ("MONO") (ISO 7916) m/sec2 | ||||
| at tick-over | 2,4 | - | 2,2 | - |
| with line cutter head | 8,3 | - | 5,9 | - |
| with 4-point blade | 7,8 | - | 2,8 | - |
| Vibrations transmitted to the hand on the rear handgrip ("MONO") (ISO 7916) m/sec2 | ||||
| at tick-over | 2,0 | - | 2,9 | - |
| with line cutter head | 8,1 | - | 6,7 | - |
| with 4-point blade | 9,2 | - | 4,7 | - |
| Vibrations transmitted to the hand on the left handgrip ("DUPLEX") (ISO 7916) m/sec2 | ||||
| at tick-over | - | 1,3 | - | 1,3 |
| with line cutter head | - | 7,2 | - | 2,1 |
| with 4-point blade | - | 5,4 | - | 2,0 |
| Vibrations transmitted to the hand on the right handgrip ("DUPLEX") (ISO 7916) m/sec2 | ||||
| at tick-over | - | 1,9 | - | 1,4 |
| with line cutter head | - | 7,7 | - | 3,3 |
| with 4-point blade | - | 5,3 | - | 3,7 |
Cher Client,
E) TRANSPORT ET DEPLACEMENT
a = stop
b = start

EasyManual