SB435HD - Staubsauger STIGA - Kostenlose Bedienungsanleitung
Finden Sie kostenlos die Bedienungsanleitung des Geräts SB435HD STIGA als PDF.
Questions des utilisateurs sur SB435HD STIGA
0 question sur cet appareil. Repondez a celles que vous connaissez ou posez la votre.
Poser une nouvelle question sur cet appareil
Laden Sie die Anleitung für Ihr Staubsauger kostenlos im PDF-Format! Finden Sie Ihr Handbuch SB435HD - STIGA und nehmen Sie Ihr elektronisches Gerät wieder in die Hand. Auf dieser Seite sind alle Dokumente veröffentlicht, die für die Verwendung Ihres Geräts notwendig sind. SB435HD von der Marke STIGA.
BEDIENUNGSANLEITUNG SB435HD STIGA
DFreischneider - GEBRAUCHSANWEISUNG
ACHTUNG: vor Inbetriebnahme des Geräts die Gebrauchsanleitung aufmerksam lesen.
Bosmaaier - GEBRUIKERSHANDLEIDING
- Modell 38 (Fig. 4)
a) Modell 28 (Fig. 7)
ANMÄRKNING
b) Modell 38 (Fig. 8)
ANMÄRKNING
- Egenskaper für bensinen
LÄNGRE TIDS UPPEHÄLL
1. TÄRKEIMPIEN OSIEN TUNNISTUS
TÄRKEIMMÄT OSAT
Baer altid kraftige arbeits
VINKEL-ANORDNING (Fig. 23)
- Modell 38 (Fig. 2)
- Monter det fremre handtaket med vernet (1) på kledningen av plast (2), og stram skruene (3) godt fast
1b. "DOUBLEX"-modellene
Modell 28 (Fig. 3)
- Modell 38 (Fig. 4)
a) Modell 28 (Fig. 7)
MERK
b) Modell 38 (Fig. 8)
MERK
BRUK AV MOTOREN (Fig. 11)
STANS AV MOTOREN (Fig. 11)
VINKELENHET (Fig. 23)
DEGVIELA UN SMERVIELAS
Ši masina ir aprikota ar Četraktu dzineju, tatad benzinam NAV japievieno ella.
SVARIGI
Ja benzinam ir pievientota
Sehr geehrte Kundin, sehr geehrter Kunde,
Wir danken Ihnen, dass Sie unseren Produktien den Vorzug gegeben haben und wünschen Ihnen, dass Ihnen der Gebrauch ihrer neuen Maschine Freude macht und ihren Erwartungen vollkommen entspricht. Dieses Handbuch wurde Herausgegeben, um Sie mit ihrer Maschine vertraut zu machen und diese sichere und wirsam einsetzen zu konnen. Beacheten Sie, dass das Handbuch ein wesentlicher Bestandteil der Maschine ist. Halten Sie es stets griffbereit, um es jederzeit einsehen zu konnen, und liefern Sie es mit, sollenen Sie die Maschine eines Tages an Dritte abtreten oder ausleihen.
Thesee neue Maschine wurde nach den geltenden Bestimmungen entwickelt und hergestellt. Sie arbeitet sicher und zuverlüssig, wenn sie unter strikter Beachtung der in thisem Handbuch enthaltenen Anweisungen verwendet wird (Bestimmungsgemäß Gerbrauch). Jede andere Verwendung oder die Nichtbechtung der angezeitigen Sicherheitsvorschriften beim Gebrauch bzw. der Anweisungen fur Wartung und Reparatur werden als "unzweckmäßige Verwendung" der Maschine angesehen und haben den Verfall der Garantie und die Ablehnung jeder Verantwortung seitens des Herstellers zur Folge. Dem Benutzer selbst dadurch entwickelte oder Dritten zugeführte Schäden oder Verletzungen gehen zu Lasten des Benutzers.
Falls Sie keinere Unterschiede zwischen der Beschreibung im Handbuch und der Maschine feststellen, können Sie davon ausgehen, dass die in thisem Handbuch enthaltenen Informationen auf Grund fortwahrender Verbesserungen des Erzeugnisses Änderungen unterliegen, ohne dass der Hersteller die Pflicht zu Bekanntgabe oder zur Aktualisierung hat, unter der Voraussetzung, dass sich die wesentlichen Eigenschaften für Sicherheit und Betriebsweise nicht verändern. Im Zweifelsfall wenden Sie sichitte an den Handler. Viel Spaß bei der Arbeit!
INHALTSVERZEICHNIS
- Kennzeichnung der wesentlichen Bauteile 2
- Symbole 3
- Sicherheitsvorschriften 4
- Montage der Maschine 6
- Arbeitsvorbereitung 8
- Motor anlassen, benutzen und ausschalten 9
- Maschineneinsatz 11
- Wartung und Aufbewährung 14
- Störungssuche 16
- Technische Daten 17
1. KENNZEICHNUNG DER WESENTLICHEN BAUTEILE
WESENTLICHE BAUTEILE
- Motor
- Antriebsrohr
- Schneidvorrichtung
a. Messer mit 3 oder 4 Spitzen
b. Fadenkopf
- Schutz der Schneidvorrichtung
- Vorderer Handgriff
- Schiene
- Holm
- Hinterer Handgriff
- Anschlusspunkt (des Tragegurts)
-
Typenschild
-
Tragegurt
a. Mit Einzelgurt
b. Mit Doppelgurt
- Winkelumlenkung
- Messerschutz (für den Transport)
- Zündkerze
STEUERUNG UND BETRIEBMITTEL
- Motorabstellschalter
- Drehzahlregler
- Verriegelung Drehzahlregler
- Startgriff
- Chokehebel (Starter) (falls vorhanden)
-
Primer (falls vorhanden)
-
Kraftstoffankverschluss
- Ölverschluss



“MONO”

"DOUBLEX"
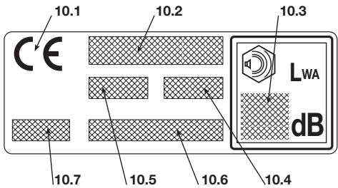
TYPENSCHILD
10.1) Konformitätszeichen gemäß der Richtlinie 98/37/EG
10.2) Name und Anschrift des Herstellers
10.3) Schalleistungspegel LWA gemäß Richtlinie 2000/14/EG
10.4) Bezugsmodell des Herstellers
10.5) Maschinenmodell
10.6) Kennnummer
10.7) Baujahr

2. SYMBOL










1) Achtung! Gefahr. Diese Maschine kann, wenn sie nicht korrekt verwendet wird, für Sie und andere gefährlich sein.
2) Vor Inbetriebnahme der Maschine die Gebrauchsanleitung aufmerksamlesen.
3) Wir weisen den Bediener der Maschine darauf auf hin, dass er bei normalen Arbeitsbedingungen tätig einer Gerauschbelastung von 85 dB (A) oder mehr ausgesetzt ist. Gehorschutz verwenden und Schutzhelm/TRagen.
4) Arbeitsschuhe und Schutzhandschuhe tragien!
5) Gefahr umherfliegender Teile! Wahrend der
BESCHREIBENDE SYMBOLE AN DER MASCHINE (falls vorhanden)

11) Kraftstofftank
12) Stellungen des Motorschalters a = Aus b = Betrieb

13) Leerlaufeinstellung

14) Chokehebel (Starter)

15) Primer

16) Korrekte Position des Handgriffs am Kraftübertragungsrohr
Maschinenverwendung mussen Personen und Haustiere einen Abstand von mindestens 15 m einhalten!
6) Keine Kreissägeblätter verwenden. Gefahr: Die Verwendung von Kreissägeblättern an Maschinen mit thisem Symbol setzt den Bediener der Gefahr schwerer bis hin zu tödlichen Verletzungen aus.
7) Maximale Drehzahl der Schneidvorrichtung. Verwenden Sie ausschließlich geeignete Schneidvorrichtungen.
8) Angabe des Schalleistungspegels LWA gemäß Richtlinie 2000/14/EG.
BESCHREIBENDE SYMBOLE AN DEN SCHUTZVORRICHTUNGEN (falls vorhanden)


21) Schneidvorrichtunge, für die der Schutz geeignet ist
22) Zur Verwendung mit Fadenkopf
23) Drehrichtung der Schneidvorrichtung
3. SICHERHEITSVORSCHRIFTEN
A) AUSBILDUNG
1) Lesen Sie die Anweisungen aufmerksam. Machen Sie sich mit den Bedienungsteilen und dem richtigen Gebrauch der Maschine vertraut. Lernen Sie, den Motor schnell abzustellen.
2) Die Maschine nur für den vorgesehenen Einsatzzweck verwenden, d.h.
- Schneiden von Gras und nicht holziger Pflanzen, mittels eines Nylonfads (z.B. Trimmen von Beetkanten, Pflanzungen, Mauern, Umzäunungen oder keine Grünflächen, um den mit einer Motorsense ausgeführten Schnitt abzuschreiben);
- Schneiden von hohem Gras, kleinen Åsten und holzigen Büssen bis zu einem Querschnitt von 2 cm mit der Hilfe von Metall- oder Kunststoffmessern. Ein unzweckmäßiger Gebrauch kann generell gefährlich sein und die Maschine beschädigend.
3) Erlauben Sie niemals Kindern oder Personen, die nicht über die erforderlichen Kennnisse dieser Gebrauchsanweisung verfügbar, die Maschine zu benutzten. Örtliche Bestimmungen können das Mindestalter des Benutzers festlegen.
4) Die Maschinearf nicht von mehr als einer Person benutzt werden.
5) Maschine niemals benutzen:
- Wahrend Personen,alanders Kinder oder Tiere in der Nane sind;
- Wenn der Benutzer mäde ist oder sich nicht wohl fuhl, oder wenn er Arzneimittel oder Drogen, Alkohol oder andere Stoffe zu sich genommen hat, die seine Aufmerksamkeits- und Reaktionsfähigkeit beeinträchtigen;
- Wenn der Benutzer nicht imstande ist, die Maschine mit zwei Handen festzuhalten bzw. wenn er bei der Arbeit nicht stabil auf den Beinen das Gleichgewicht halten kann.
6) Beachten Sie, dass der Benutzer für Unfälle und Schäden verantwortlich ist, die anderen Personen oder deren Eigentum widerfahren konnen.
B) VORBEREITENDE MASSNAHMAN
1) Bei der Arbeit, muss der Benutzer eine geeignete Kleidung tragen, die他们在seinen Bewegungen nicht {.
- Enganliegende Schutzkleidung mit Schnittfesten Schutzeinsätzen trag.
- Schutzheim, Handschuhe, Schutzbrille und Schnittfeste Sicherheitssschuhe mit rutschfester Sohle trag.
Gehorschutz tragen.
- Keine Schale, Hämden, Halsketten oder andere lose hängende Zubehöre tragen, die sich in der Maschine oder in eventuell auf dem Arbeitsplatz befindlichen Gegenständen verfangen können.
- Langes Haar zusammenbinden.
2) ACHTUNG: GEFAHR! Benzin ist hochgradig entflammbar:
- Kraftstoff in eigens zu diesen Zweck vorgesehen, zugelassenen Behältern aufbewahren;
- beim Umgang mit Kraftstoffen nicht rauchen;
Tankverschluss langsam öffnen, um den darin entstandenen Druck langsam abzubauen;
- Kraftstoff nur im Freien mit Hilfe eines Trichters nachfüllen;
- Kraftstoff ist vor dem Starten des Motors einzufullen. Wahrend der Motor lauft oder bei heißer Maschine darf der Tankverschluss nicht geöffnet bzw. Benzin nachgeführlt werden;
- falls Benz übergelaufen ist, damit kein Versuch unternommen werden, den Motor zu starten. Statt dessen ist die Maschine von der benzinsverschmutzten Fläche zu entfern. Bis das Benz nicht vollständig verdampft ist und die Benzündämpfe nicht verflüchtigt sind, vermeiden Sie alles, was einen Brand verursachen könnte;
- jegliche Spur von eventuell auf der Maschine oder auf dem Boden verschüttetem Benzin sofort entfern;
- Maschine nicht am Befüllungsort starten;
- der Kontakt zwischen Kraftstoff und den Kleidern ist zu vermeiden, und in einem solchen Fall, kleiden Sie sich lieber um, bevor Sie den Motor starten;
- Tankverschluss und Verschluss des Benzinbehalters,müssen immer gut zugeschraubt sein.
4) Fehlerhafte oder beschädigte Schalldämpfer auswechseln.
5) Vor dem Gebrauch dieGPCe Maschine grundlich überprüfen und insbesondere:
der Gashebel und der Sicherheitshebel müssen sich leicht bewegen setzen, nicht klemmen und wenn losgelassen, müssen sie automatisch und schnell ihre Ausgangsposition wieder einnehmen; - der Gashebel muss blockiert bleiben, solange der Sicherheitshebel nicht betätig wird;
- der Motorabstellschafter muss von einer Position auf die andere nicht verstelltbar sein;
- das Elektrokabel und vor allem das Zündkerzenkabel müssen einwandfrei sein, um eine Funkenbildung auszuschreiben und der Stecker muss vorschrittsmäßig an der Zündkerze angebracht sein;
- die Handgriffe und Schutzvorrichtungen der Maschine müssen gereinigt und abgetrocknet, und schlieblich an die Maschine fest angebracht werden;
- Schneidvorrichtungen oder Schutzeinrichtungen dürfen sie beschädigt sein.
6) Prufen Sie die korrekte Position der Handgriffe und des Anschlusspunktes der Traggurte, sowie das Gleichgewicht der Maschine.
7) Prüfen Sie vor Arbeitsbeginn, dass die Schutzvorrichtungen für das Schneidwerkzeug geeignet, und korrekt montiert sind.
8) Prufen Sie den Arbeitsbereich grundlich, und entfern. Sie alles was von der Maschine weggeschleudert werden konnte oder die Schneidgruppe und den Motor beschädigten konnte (Steine, Åste, Stahldraht, Knochen, usw.).
C) DIE MASCHINE IM EINSATZ
1) Der Motorarficht in geschlossenen Räumen laufen, in denen sich gefährliche Kohlenmonoxydgase sammeln konnen.
2) Arbeitsen Sie nur bei Tageslicht oder beiGreater künstlicher Beleuchtung.
3) Eine sichere und stabile Position einnehmen:
- vermeiden Sie so gut wie möglich den Einsatz der
Maschine auf nassem oder rutschigem Boden oder jederfas auf unebenen oder steilen Boden, wenn fur den Benutzer bei der Arbeit keine ausreichende Stabilität gewährleistet ist;
- rennen Sie nicht, gehen Sie immer vorsichtig voran und achten Sie auf die Bodenunbehenheiten und auf die Anwesenheit eventueller Hindernisse;
- bewerten Sie die potentiellen Risiken des zu bearbeitenden Geländes, und ergreifen Sie alle erforderlichen Sicherheitsmaßnahmen für die eigene Sicherheit, vor allen auf Hängen, gefährlichem, rutschigem oder unsicherem Gelände;
- Bei Hängen muss immer quer zum Gefälle garbeitet werden, nie bergauf oder bergab, und immer mit der Schneidvorrichtung in Talrichtung.
4) Beim Anlassen des Motors die Maschine fest drükken: - den Motor erst mindestens 3 Meter vom Befüllungsort entfernt starten;
- prufen Sie, dass sich andere Personen mindestens 15 Meter vom Aktionsradius der Maschine, und bei schweren Schnittarbeiten mindestens 30 Meter entfernst befinden;
- Schalldämpfer und demnach auch die Abgase nie gegen entflammbare Stoffe*Richten:
5) Andern Sie nicht die Grundeinstellung des Motors und setzen Sie nicht überdrehen.
6) Die Maschine darf keinen übermöbigen Kräften ausgesetzt werden, und keine Maschinen dürfen nicht für schwere Arbeiten verwendet werden. Die Verwendung einer geeigneten Maschine vermindert die Risiken und verbessert die Qualität der Arbeit.
7) Sicherstellen, dass sich die Schneidvorrichtung nicht bewegt solange der Motor leer lauf, und dass nach Betätigung des Gashebels der Motor dann auch schnell wieder auf den Leerlauf gebracht wird.
8) Achten Sie darauf, dass das Messer nicht gegen Fremdkörper hart aufpraktt und auf das eventuell durch die Bewegung des Messers herumfliegende Material.
9) Wahrend der Arbeiten muss die Maschine immer am Traggurt befestigt sein.
10) Der Motor ist abzustellen: - wenn Sie die Maschine unbewacht{lassen.
- bevor Sie nachtanken.
- während des Wechsels der Arbeitsbereiche.
11) Schalten Sie den Motor ab undziehen Sie das Kerzenkabel Heraus: - bevor Sie die Maschine überprüfen, reinigen oder Arbeiten an ihr durchführren;
- nachdem ein Fremdkörper getroffen wurde. Prüfen Sie, ob an der Maschine Schäden entstanden sind, und führen Sie die erforderlichen Reparaturen aus, ehe Sie die Maschine wieder benutzen;
- wenn die Maschine auf anormale Weise zu vibrierten beginnt: in thisum Fall unmittelbar die Ursache.
suchen und beseitig; - wenn die Maschine nicht benutzt wird.
D) WARTUNG UND LAGERUNG
1) Sorgen Sie damit, dass alle Muttern, und Schrauben fest angezogen sind, um sicher zu sein, dass die Maschine immer unterGEN Bedingungenarbeitet. Eine regelmäßige Wartung ist unentbehrlich fur die Sicherheit und die Einhaltung der Leistungs-fähigkeit.
2) Bewahren Sie die Maschine mit Benzin im Tank nie
mals innerhalb eines Raumes auf, in dem Benzindämpfe mit offenem Feuer, einer bereits Quelle oder Funken in Berührung kommt konnten.
3) Lassen Sie den Motor abkühlen, bevor Sie die Maschine in einem Raum abstellen.
4) Um die Brandgefahr zu vermindern, ist der Motor, der Abgasschalldampfer und der Lagerort fur die Kraftstoffe stets frei von Zweigresten, Blättern oder überflüssigem Fett zu halten; Behalter mit Schneidresten niemals innerhalb eines Raumes setzen
5) Falls der Tank zu entleeren ist, muss dies im Freien erfolgen und bei kaltem Motor..
6) Tragen Sie bei jedem Eingriff auf der Schneidvorrichtung Handschuhe.
7) Verwenden Sie, aus Sicherheitsgründen, die die Maschine mit abgenutzten oder beschädigten Teilen. Die beschädigten Teile müssen ersetzt und dürfen niemals repariert werden. Nur Original-Ersatzteile verwenden. Nicht gleichwertige Ersatzteile konnen die Maschine beschädigten und ihre Sicherheit gefährden. Die Schneidwerkzeuge müssen immer das Herstellerzeichen tragien, wie auch den Verweis auf die maximale Arbeitsdrehzahl.
8) Vergewisern Sie sich vor dem Wegräumen der Maschine, dass Sie für die Wartung verwendete Schraubenschlüssel oder Werkzeuge halten.
9) Maschine nicht in Kinderreichweite aufbewahren!
E) TRANSPORT UND HANDHABUNG
1) Folgende Hinweise müssen bei Transport und Handhabung der Maschine beachtet werden:
- Motor ausschalten; abwarten bis die Schneidvorrichtung vollständig still声道, Zündkerzenstecker abtrennen;
- Schutz der Schneidvorrichtung montieren;
- Maschine ausschließlich an den Handgriffen aufheiten und die Schneidvorrichtung in die der Laufrichtung entgegenesgetzte Richtung positionieren
2) Sollte der Transport der Maschine mit einem Kraftfahrzeug erfolgen, so muss sie so aufgestellt werden, dass sie keine Gefahr darstellt und auch gut befestigt werden, um das Umkippen mit nachfolgender Schadenersstehung und Kraftstoffauslauf zu verhindern.
F) WIE IST DAS HANDBUCH ZU LESEN
Im Text des vorliegenden Handbuchs sind einephasisbesondest gewichtige Abschnittte entsprechlich gekenn-zeichnet, wobei die Bedeutung solcher Kennz-echnungen wie folgt zu verstehen ist:
ANMERKUNG
oder
WICHTIG
Liefert erläuternde Hinweise oder
andere Angaben über bereits an früherer Stelle gemachtete Aussagen, in der Absicht, die Maschine nicht zu beschädigten oder Schäden zu vermeiden.
ACHTUNG!
Im Falle der Nichtbeachtung
besteht die Möglichkeit, sich selbst oder Dritte zu verletzen.
GEFAHR!
Im Falle der Nichtbeachtung
besteht die Möglichkeit, sich selbst oder Dritte schwer zu verletzen, mit Todesgefahr.
4. MONTAGE DER MASCHINE
WICHTIG
Die Maschine wird mit eini
gen demontierten Bauteilen sowie mit leerem Kraftstofftank geliefert.
ACHTUNG!
Bei Behandlung der
Schneidvorrichtungen müssen immer robuste Arbeitshandschuhe getragen werden. Arbeiten Sie bei der Montage der Bauteile mit hochster Sorgfalt, um die Sicherheit und Effizienz der Maschine nicht zu beeinträchtigen; wenden Sie sich im Zweifelsfall an ihren Handler.
1. FERTIGMONTAGE DER MASCHINE
1a. Modelle "MONO"
- Modell 28 (Abb. 1)
ACHTUNG!
Das Distanstück (1) hat
die Aufgabe, aus Sicherheitsgründen einen minimalen Abstand zwischen vorderem und hinteren Handgriff zu garantieren. Dieses Distanstück muss immervorhanden sein, undarfne modifiziert werden.
Vor dem Distanzstück (1) den vorderen Handgriff (2) mit den Schrauben (4) und den Muttern (5) in den entsprechenden sitzen auf dem Antriebsrohr (3) montieren.
Vor dem Festziehen der Schrauben (4) den Handgriff in Bezug auf das Antriebsrohr korrekt ausrichten.
- Schrauben (4) festziehen.
Modell 38 (Abb.2)
- Den vorderen Handgriff mit Schutz (1) an der Kunststoffabdeckung (2) montieren, und die Schrauben (3) festziehen.
1b. Modelle "DUPLEX"
- Modell 28 (Abb. 3)
Den Holm (1) in die Aussparung des Halters (2) am Antriebsrohr (3) einsetzen, und darauf achten, dass sich die Steuerung rechts befindet.
Die Kappe (4) montieren, die Schrauben (5).
- Der Halter (2) ist bereits am Antriebsrohr (3)
vormontiert, so dass die Kanten mit dem Pfeil des Aufklebers (6) ausgerichtet sind; diese Position darf nie verändert werden.
- Modell 38 (Abb. 4)
Die Zentralmutter (1) losen und die Kappe (2) entfern.
- Den Zweihandgriff (3) einsetzen, und darauf achten, dass sich die Steuerung rechts befindet.
- Den Zweihandgriff in die bequemste Arbeitsstellung einrichten, und mit der Kappe (2) und der Zentralmutter (1) fixieren.
2. MONTAGE DER SCHUTZEINRICHTUNGEN
ACHTUNG!
Jede Schneidvorrichtung
ist mit einem bestimmten Schutz ausgerüstet. Es dürfen nie andere Schutzinrichtungen als für die Schneidvorrichtung vorgesehen verwendet werden.
- Messer mit 3 oder 4 Spitzen (Abb. 5)
ACHTUNG!
Schutzhandschuhe trag,
und den Messerschutz montieren.
- Das Messer (falls montiert) gemäß Abschnitt 3 demontieren.
-
Der Schutz (1) ist an der Winkelumlenkung (2) mit zwei Schrauben (3) befestigt.
-
Fadenkopf (Abb. 6)
ACHTUNG!
Bei Verwendung des
Fadenkopfes muss immer der Zusatzschutz mit Fadenmesser montiert sein.
- Das Messer (falls montiert) gemäß Abschnitt 3 demontieren.
- Der Schutz (1) ist an der Winkelumlenkung (2) mit zwei Schrauben (3) befestigt.
Den Zusatzschutz (4) montieren, indem die Nasen in die entsprechenden Aussparungen des Schutzes (1) eingesetzt, und bis zum Einrasten eingedrückt werden.
3. DEMONTAGE UND ERNEUTE MONTAGE DER SCHNEIDVORRICHTUNGEN
A CHTUNG!
Es durren nur originale
oder vom Hersteller zugelassene Schneidvorrichtungen verwendet werden.
- Messer mit 3 oder 4 Spitzen
ACHTUNG!
Schutzhandschuheragen,
und den Messerschutz montieren.
a) Modell 28 (Abb. 7)
ANMERKUNG
Die Mutter des Tellers (4)
besitzt ein Linksgewinde, und muss daher im Uhrzeigersinn abgeschraubt und gegen Uhrzeigersinn eingeschraubt werden.
- Den mitgelieferten Schlüssel (2) in die entsprechende Bohrung der Winkelumlenkung (3) einsetzen, und das Messer (1) von Hand drehen, bis der Schlüssel in der innenliegenden Bohrung greift, und die Drehung blockiert.
- Den Teller (4) entfern, indem die Mutter im Uhrzeigersinn ausgedreht wird.
- Die Überwurfischeibe (5) abziehen und das Messer (1) entfern.
Beim Einbau:
- Sicherstellen, dass die Nuten der inneren Überwurfscheibe (6) perfect in die Winkelumlenkung (3) einrasten.
- Die Überwurfscheibe (5) und das Messer (1) montieren.
- Den Teller (4) wieder montieren, indem die Mutter gegen Uhrzeigersinn festgezogen wird.
- Den Schlüssel (2) abziehen, um die Messer-drehung wieder freizugegeben.
b) Modell 38 (Abb. 8)
ANMERKUNG
Die Schraube des Tellers (4)
besitzt ein Linksgewinde, und muss daher im Uhrzeigersinn abgeschraubt, und gegen Uhrzeigersinn eingeschaubt werden.
-
Den mitgelieferten Schlüssel (2) in die entspruchende Bohrung der Winkelumlenkung (3) einsetzen, und das Messer (1) von Hand drehen, bis der Schlüssel in der innenliegenden Bohrung greift, und die Drehung blockiert.
-
Den Teller (4) entfernen, indem die Zentral-schraube im Uhrzeigersinn ausgedreht wird.
- Die Überwurfscheibe (5) abziehen und das Messer (1) entfern.
Beim Einbau:
- Sicherstellen, dass die Nuten der inneren Überwurfscheibe (6) perfect in die Winkelumlenkung (3) einrasten.
- Die Überwurfscheibe (5) und das Messer (1) montieren.
- Den Teller (4) wieder montieren, indem er gegen Uhrzeigersinn festgezogen wird.
- Den Schlüssel (2) abziehen, um die Messer-drehung wieder freiugegeben.
- Fadenkopf (Abb. 9)
ANMERKUNG
Der Fadenkopf besitzt ein
Linksgewinde, und muss daher im Uhrzeigersinn abgeschraubt, und gegen Uhrzeigersinn eingeschraubt werden.
- Den mitgelieferten Schlüssel (2) in die entsprechende Bohrung der Winkelumlenkung (3) einsetzen, und den Fadenkopf (1 oder 1a) von Hand drehen, bis der Schlüssel in der innenliegenden Bohrung greift, und die Drehung blockiert.
- Den Fadenkopf (1) entfern, indem dieser im Uhrzeigersinn abgedreht wird.
Beim Einbau:
- Sicherstellen, dass die Nuten der inneren Überwurfscheibe (4) perfect in die Winkelumlenkung (3) einrasten.
- Den Fadenkopf (1) wieder montieren, indem er gegen Uhrzeigersinn festgezogen wird.
- Den Schlüssel (2) abziehen, um die Wellendrehung wieder freizugegeben.
- Kreissägeblatt (falls zulässig)
ACHTUNG!
Die Verwendung des
Kreissageblatts ist bei Maschinen mit dem entsprchenden Symbol (siehe Kap. 2 Nr. 6) verboten.
Für die Montage der Schutzeinrichtung für das Kreissägeblatt wird auf die mit thisem Zubehör gelieferten Anweisungen verwiesen.
5. ARBEITSVORBEREITUNG
MASCHINENÜBERPRÜFUNG
Bevor Sie mit der Arbeit starten, muss folgenden geprüft werden:
- dass an der Maschine und an der Schneidvorrichtung alle Schrauben angezogen sind;
- dass die Schneidvorrichtung nicht beschädigt ist, und dass die Metallmesser mit 3 oder 4 Schneiden (falls montiert) gut geschlaffen sind;
- dass der Luftfilter sauber ist;
- dass die Schutzeinrichtungen festsitzen und ausreichend sind;
- dass die Handgriffe richtig befestigt sind.
KRAFTSTOFFE UND SCHMIERÖL
These Maschine ist mit einem Viertaktmotor ausgestattet, der KEIN Ölzusatz zum Benzin erfordert.
WICTIG
Benzin beschädigt den Motor und führt zum Verfall der Garantie.
WICTTIG
WICHTIG Verwenden Sie nur hochwertiges Kraftstoffe und Schmieröl, um die Gesamtlistungen und die Standzeit der mechanischen Teile auch langfristig sicherzustellen.
- Benzineigenschaften
Nur bleifreies Benzin (grünes Benzin) mit einer Oktanzahl unter 90 OZ verwenden.
WICHTIG
im Behalter Ablagerungen zu bilden, wenn es über 2 Monate aufbewahrt wird. Verwenden Sie stets frisches Benzin!
GEFAHR!
Benzin ist entflammbar!
-Benzin ausschließlich in eigens für Kraftstoffe zugelassenen Behältern aufbewahren, und darüber an einem sicheren Ort, fern von Wärmequellen und offenen Flammen
Die Behälter niemals in Kinderreichweite aufbewahren.
- Olegenschaften
Esarfurhochwertiges,speziallesOl fur Viertaktmotoren verwendet werden,mit groBer Reinigungswirkung,Klassifizierung SF-SG und Viskositat SAE10W30.
WICHTIG
Die Verwendung von Öl ohne
Reinigungswirkung, ungeeignetes Öl oder mit anderen Eigenschaften als angegeben beschädigt den Motor und führt zum Verfall der Garantie.
Bei Ihr dem Handler sind speziell für solche Motoren entwickelte Ole erhältlich, die große Schutz und eine lange Funktion des Motors garantieren.
NACHFULLEN VON KRAFTSTOFF
GEFAHR!
Rauchen Sie beim
Nachfüllen nicht und versuchen Sie die Benzindämpfe nicht einzuatmen.
ACHTUNG!
Behalterverschluss stets
vorsichtig öffnen, da sich darin gegebenenfalls Druck gebildet hat.
Vor dem Nachfüllen:
- Maschine auf einer ebenen Fläche, in stabiler Position mit nach oben gerichteten Tank-verschluss aufstellen.
Tankverschluss und umliegenden Bereich rei nigen, damit beim Nachfullen kein Schmutz in den Tank gerat. - Verschluss vorsichtig öffnen, um den Druck langsam abzulassen. Immer mit einem Trichter nachfüllen, und den Tank nicht bis zum Rand füssen.
ACHTUNG!
Den Behälter immer sehr
gutverschlieBen.
ACHTUNG!
Sofort alle eventuell auf
der Maschine oder auf dem Boden verschütteten Benzrückstände entfernen und den Motor solange nicht anlassen, bis sich alle Benzindämpfe verfluchtigt haben.
ÖL NACHFULLEN (Abb. 10)
WICHTIG
Den Motor nicht anlassen
und die Maschine nicht verwenden, wenn der Ölstand nicht ausreichend ist.
Um den Ölstand zu prufen:
- Maschine auf einer ebenen Fläche, in stabiler Position mit nach oben gerichteten Tankverschluss aufstellen.
- Den Tankverschluss abschrauben, und prufen, dass der Ölstand die Kante des Einfüllstutzens erreicht.
Der Oltankinhalt beträgt 80~cm^3 (Modell 28)
bzw. 100~cm^3 (Modell 38).
6. MOTOR ANLASSEN, BENUTZEN UND AUSSCHALTEN
ANLASSEN DES MOTORS
ACHTUNG!
Der Motor darf erst ange
lassen werden, wenn er mindestens 3m vom Kraftstoff-Befüllungsort entwickelnt ist.
Vor dem Starten des Motors:
- Maschine stabil auf dem Boden aufstellen.
- Messerschutz entfern (falls montiert).
- Sicherstellen, dass das Messer (falls vorhenden) den Boden oder sonstige Gegenstände nicht berührt.
- Kaltstart
ANMERKUNG
Unter Kaltstart versteht sich
das Anlassen nach mindestens 5 Min. von der
Motorausschaltung oder nach der Kraftstoffnachfüllung.
Um den Motor anzulassen (Abb. 11):
- Den Schalter (1) in die Stellung «START» bewegen.
- Starter betatigen, den Hebel (5) in Stellung «CLOSE» drehen.
- Den Primerknopf (6) 3 - 4 Mal drücken, um die Gemischanreicherung für das Anlassen zu erreichen.
- Maschine mit einer Hand auf dem Motor fest auf den Boden drücken, damit Sie beim Anlassen die Kontrolle der Maschine nicht zu verlieren (Abb. 12).
WICHTIG
Um Verformungen zu ver-
meidenarf das Antriebsrohrwahrend des Anlassens nicht als Stütze fur die Hand oder das Knie verwendet werden.
- Den Startgriff 10-15 cm langsam Herauszie
hen, bis ein gewisser Widerstand zu spuren ist, dann ein paar Mal festziehen bis die ersten Zündungen wahrgenommen werden.
WICHTIG Um Beschädigungen zu vermeiden, das Seil lieber nicht ganz Herausziehen und nicht mit dem Rande der Seilführungs-öffnung in Berührung bringen und den Griff los-lassen, darauf aber verhindern, dass das Seil unkontrolliert wieder eingezogen wird.
6. Den Startgriff erneutziehen, bis das korrekte Anlassen des Motors erreicht wurde.
ACHTUNG! Das Anlassen des Motors mit betätigtem Starter verursacht eine Drehung der Schneidvorrichtung, die erst bei Lös den Choke-Hebels stoppt.
- Nach dem Anlassen des Motors den Starter deaktivieren, indem der Hebel (2) in die Stellung „OPEN" gedreht wird.
- Lassen Sie den Motor mindestens 1 Minute im Leerlauf laufen bevor Sie die Maschine verwenden.
WICHTIG Sollte der Griff des Anlassereils mehrmals mit betätigtem Starter betätig werden, konnte dadurch der Motor überflutet und das Anlassen erschwert werden.
Bei überflutetem Motor Zündkerze entfernen und leicht am Griff des Anlassereilsziehen, um den überflüssigen Kraftstoff zu entfernen; dann die Elektroden der Zündkerze abtrocknen und wieder einsetzen.
- Warmstart
Für den Warmstart (sofort nach Motor-ausschaltung), Punkte 1 - 4 - 5 - 6 des oben beschrieben Ablaufs befolgen.
MOTOREINSATZ (Abb. 11)
Die Drehzahl der Schneidvorrichtung wird durch den Drehzahlregler (2) am hinteren Handgriff (4) oder am rechten Griff (4a) des Zweihandgriffs gesteuert.
Die Betätigung des Drehzahlreglers ist nur möglich, wenn der Verriegelungshebel (3) gleichzeitig betätig wird.
Die Bewegung wird vom Motor auf die Antriebswelle übertragen, undzarüber eine Fliehkraftkupplung,mit der die Bewegung der Welle verhindert wird, solange der Motor im Leerlauf lauft.
ACHTUNG! Verwenden Sie die Maschine nicht wenn sich die Schneidvorrichtung bewegt, solange der Motor im Leerlauf lauft; in thisem Fall den Leerlauf (siehe Kap. 8) einstehen, und sollte das Problem weiter bestehen, so muss der Handler zu Rate gezogen werden.
Die korrekte Arbeitsgeschwindigkeit erreicht man wenn die Steuerung des Drehzahlreglers (2) bis zum Anschlag betätigt wird.
WICHTIG Wahrend der ersten 6-8 Stunden Maschineneinsatz, den Motor nicht mit der Höchstdrehzahl benutzten.
MOTORAUSSCHALTUNG (Abb. 11)
Um den Motor auszuschalten:
Die Steuerung des Drehzahlreglers losstellen (2) und den Motor eine Sekunden lang im Leerlauf laufen setzen.
- Den Schalter (1) auf Position “STOP” drükken.
ACHTUNG! Wenn der Drehzahlregler auf den Leerlauf gebracht wird, dauert es eineuge Sekunden bis die Schneidvorrichtung vollständig stillstehen.
7. MASCHINENEINSATZ
Für einen rücksichtsvollen Einsatz den anderen und der Umwelt gegenüber:
- vermeiden Sie es, ein Störelement darzustellen.
-Halten Sie sich strikt an die ortlichen Vorschriften für die Entsorgung der Schneidreste. - Halten Sie sich strikt an die örtlichen Vorschriften für die Entsorgung von Öl, Benzin, beschädigten Teilen oder ähnlichen weiteren umweltschädlichen Stoffen.
ACHTUNG!
Bei langerfristiger Arbeit
mit vibrierenden Werkzeugen konnen vor allem bei Personen mit Durchblutungstörungen Verletzungen und Gefäßerkrankungen (bekannt als „Raynaud-Syndrom" oder „Leichenfinger") auftenreten. Die Symptome konnen die Höhe, Handgelenke und Finger betreffen, und stellen sich als Gefühlslosigkeit, Kribbeln, Kitzeln, Schmerzen, blasse Haut oder strukturrelle Veränderungen der Haut. Diese Effekte konnen durch niedrige Umgebungstemperaturen bzw. durch besonder festes Greifen der Handgriffe verstarkt werden. Beim Auftreten der Symptome müssen die Verwendungs-zeiten der Maschine verkurzt, und ein Arzt aufgeschucht werden.
ACHTUNG!
Tragen Sie während der
Arbeit eine zweckmäßige Kleidung. Ihr Handler kann Ihnen nützliche Informationen über die besten Arbeitsstschutzvorrichtungen geben, die ihre Sicherheit während der Arbeit gewährleisten.
VERWENDUNG DER TRAGGURTE (Abb.13)
ACHTUNG!
Bei Verwendung der
Maschine mussen die korrekt angelegten Traggurte immer eingehigt werden. Die Wirksamkeit der Schnellauslösung zum schnellen Trennen der Maschine von den Gurten im Gefahrenfall muss regelmäßig geprüft werden..
Der Traggurt muss angelegt werden, bevor die Maschine am entsprechenden Haken einge
hängt wird, und die Gurte müssen entsprechend der Grüße und Statur des Bedieners eingestellt werden.
Falls die Maschine mit mehreren Anschlusspunkten ausgerüstet ist, muss der Punkt verwendet werden, mit dem das Gleichgewicht der Maschine während der Arbeit am Besten gehalten werden kann.
Es ist immer ein Traggurt entsprechend des Maschinengewichts und der verwendeten Schneidvorrichtung zu verwenden:
- bei Maschinen mit weniger als 7,5kg , ausgestattet mit Fadenkopf oder 3- oder 4-schneidigem Messer können die Modelle mit Einzel- oder Doppelgurt verwendet werden.
- bei Maschinen mit mehr als 7,5kg , ausgestattet mit Kreissägeblatt (falls zulüssig), scarf nur das Modell mit Doppelgurt verwendet werden.
- Modelle "MONO" mit Einzelgurt
Der Gurt (1) muss über die linke Schulter, in Richtung der rechten Hüfte laufen.
- Modelle mit Doppelgurt
Der Gurt (2) muss wie folgt getragen werden:
- der gepolsterede Teil und der Karabinerhaken auf der rechten Seite;
- die Entriegelung vorne;
- die Kreuzung der Gurte auf dem Rücken des Bedieners.
Die Gurte müssen straff sitzen, um die Last gleichmäßig auf die Schultern zu vertieren.
BETRIEBSWEISE DER MASCHINE
ACHTUNG!
Die Maschine muss wah-
rend der Arbeit immer fest mit zwei Händen gehalten werden, mit der Motoreinheit auf der rechten Körperseite, und der Schneidegruppe unterhalb der Görtellinie.
ACHTUNG!
Wenn sich ein Messer
während der Arbeit verkeilt muss der Motor sofort ausgeschaltet werden. Achten Sie immer auf Rückschlage (Kickback) die auftreten können, wenn ein Messer auf ein
Hindernis trifft (Holzstamm, Wurzeln, Aste, Steine, usw.). Vermeiden, dass das Messer den Boden berührt. Die Schläge verursachen ein Rückschlagen des Messers, das schwer zu kontrollieren ist, so stark, dass die Kontrolle der Maschine verloren gehen kann, die Sicherheit des Bedieners gefährdet wird, und die Maschine selbst beschädigt werden kann.
Bevor das erste Mal Mährarbeiten in Angriff genommen werden, muss sich der Bediener mit der Maschine und der geeigneten Arbeitstechnik vertraut machen, und probehalber den Gurt korrekt anlagen, die Maschine safer aufnehmen, und die erforderlichen Arbeitsbewegungen ausfuhren.
- Auswahl der Schneidvorrichtung
Die am Besten geeignete Schneidvorrichtung für die vorgesehene Arbeit entsprechend der folgenden Grundsätze auswahlen:
- das Messer mit 3 Schneiden ist zum Schneiden und Ausputzen kleiner Buses bis zu 2 cm Querschnitt geeignet;
- das Messer mit 4 Schneiden ist zum großflächigem Schneiden von zahem Gras geeignet;
der Fadenkopf kann hohes Gras und nicht holzige Pflanzen in der Höhe von Einzäunungen, Mauern, Fundamenten, Gehsteigen, um Bäume, usw. beseitigen oder zum vollständigen Ausputzen eines Gartenteils verwendet werden - das Kreissägeblatt (falls zulässig) ist für das Schneiden robuster Büsse, Straucher und kleiner Bäume bis zu einem Querschnitt von 6 cm geeignet.
ARBEITSTECNIKEN
a) Messer mit 3 Spitzen (Abb. 14)
Den Schnitt von der Oberseite der Pflanzen her beginnen, dann mit dem Messer abwarts arbeiten, und die Åsten schrittweise in keine Stücke zerkleinern.
b) Messer mit 4 Spitzen (Abb. 15)
Die Maschine als herkömmliche Sense verwenden, und sich mit bogenfornigen Schwenkbewegungen von ca. 60 - 90^ bis zum Ende der Vegetation bewegen, und so fort.
c) Fadenkopf
ACHTUNG!
AGRUNG! Es dürfen NUR Nylonfaden verwendet werden. Die Verwendung von Metalldrähen, kunststoffummandelten Metalldrähen bzw. für den Fadenkopf ungeigneter Faden kann schwere Verletzungen und Schäden verursachen.
Während des Betriebs sollte der Motor regelmäßig gestoppt, und das Gras, dass sich um die Maschine wickelt entfernt werden, um zu verhindern, dass sich das Antriebsrohr auf Grund des Grases unterhalb des Schutzes überhjtz.
Das angesammelte Gras mit einem Schraubendreher entfern, damit die Stange korrekt gekühlt wird.
ACHTUNG!
A CHIUNG! Die Maschine darf nicht durch Neigen des Fadenkopfes zum Kehren verwendet werden. Die Motorkraft kann Gegenstände und keine Steine bis zu 15 Meter welt schleudern, und so Schäden oder Verletzungen verursachen.
- Schneiden in Bewegung (Sensen) (Abb. 16)
Mit gleichmäßiger Geschwindigkeit vorwärts gehen, darauf eine Bogenbewegungähnlich zum herkömmlichen Sensen ausführten, ohne den Fadenkopf während des Betriebs zu neigen.
Als Erstes versuchen einen kleinen Bereich in der richtigen Höhe zu schneiden, um dann eine gleichmäßige Schnittthöhe zu erreichen, indem der Fadenkopf auf einer konstanten Höhe vom Boden gehalten wird.
Für gröbere Schnitte kann es hilfreich sein, den Fadenkopf um ca. 30^ nach links zu neigen.
ACHTUNG!
A ACHTUNG! Es darf nicht auf diese Weise gearbeitet werden, wenn die Mochigkeit besteht, dass Gegenstände weg geschleudert werden, die Personen oder Tiere verletzen, oder Sachschem den verursachen konnen.
- Präzisionsschnitt (Trimmen)
Die Maschine genegt halten, so dass der unter Teil des Fadenkopfes nicht das Gelände berührt
und die Schnittlinie sich im gewünschten Punkt befindet, wobei die Schneidvorrichtung immer fern vom Bediener gehalten werden muss.
- Schneiden in der Höhe von Einzäunungen / Fundamenten (Abb.17)
Den Fadenkopf langsam in die Näre der Einzäunungen, Pfosten, Steine, Mauern, usw. führren, oder gewaltsam dagegen zu drücken. Wenn der Faden gegen ein hartes Hindernis schlągt kann dieser kaputt gehen, oder verschreiben; wenn er in einer Einzäunung hängen bleibt kann er plötzlich reiben.
Auf jeder Fall kann das Schneiden entlang Gehsteigen, Fundamenten, Mauern, usw. einen übermögen Fadenverschleib verursachen.
- Schneiden um Bäume (Abb.18)
Um den Baum, von links nach rechts, herum laufen, damit sich langsam an den Stamm annahern, so dass der Faden nicht gegen den Baum schlągt, und den Fadenkopf leicht nach vorne geneigt halten.
Beachten, dass der Nylonfaden keine Straucher durchtrennen oder beschädigen kann, und dass der Schlag des Nylonfadens gegen den Strauchoder Baumstamm bei weiterer Rinde die Pflanze stark beschädigen kann.
- Einstellung der Fadenlänge während der Arbeit (Abb. 19)
These Maschine ist mit einem Fadenkopf „Tap & Go" ausgestattet.
Um neuen Faden abzuspelen muss der Kopf mit Höchstdrehzahl gegen den Boden geklopft werden; der Faden wird automatisch frei gegeben, und das Messer schneidet die überschüssige Länge ab.
d) Kreissägeblatt (falls zulässig) (Abb. 20)
ACHTUNG!
Die Verwendung des
Kreissägeblatts ist bei Maschinen mit dem entsprechenden Symbol (siehe Kap. 2 Nr. 6) verboten. Für die Verwendung des Kreissägeblatts, wo zulässig, muss immer der
spezielle Schutz verwendet werden.Das Sägeblatt muss gut geschliffen sein, um die Gefahr von Rückschlagen zu vermeiden.
ACHTUNG!
Beim Fällen kleiner Bäume
muss die Fallrichtung des Baums, auch unter Berücksichtigung der Windrichtung, beachtet werden.
Für ein gutes Schneidergebnis beim Fällen kleiner Bäume muss der Schnitt mit einer Schnellen Bewegung in Richtung des zu durchschneiden- den Asts oder Stamms mit Hochstdrehzahl durchgefuhrt werden.
Es muss vermieden werden, die rechte Seite des Sägeblatts zu verwenden, da hier die Gefahr von Rückschlagen oder Klemmen auf Grund der Drehrichtigung besteht.
ARBEITSENDE
Wenn die Arbeit beendet ist:
- Motor wie vorangehend (Kap. 6) beschrieben ausschalten.
- Den Stillstand der Schneidvorrichtung abwarten und den Messerschutz montieren (wenn 3-oder 4-schneidige Messer oder Kreissägeblätter verwendet werden).
8. WARTUNG UND AUFBEWAHRUNG
Eine korrekte Wartung ist grundsätzlich notwendig, um die ursprüngliche Effizienz und Einsatzsicherheit der Maschine zu bewahren.
ACHTUNG!
Während der Wartungs-
eingriffe:
- Zündkerzenstecker abtrennen.
- Abwarten bis der Motor ausreichend abgekühlt ist.
- Für Eingriffe im Messerbereich Schutzhandschuhe/TRagen
- Messerschutzvorrichtung nicht entfern, es sei dann, die Eingriffe müssen auf dem Messer selbst vorgenommen werden.
- Ole, Benzin oder andere verschutzende Stoffe vorschrifsmäßig entsorgen.
ZYLINDER UND SCHALLDAMPFER
Um die Brandgefahr auf ein Minimum einzuschranken, die Zylinderrippen fühig mit Pressluft reinigen und den Bereich des Schalldampfers von Zweigresten, Zweiglein, Blättern oder anderen Rückständen befrieien.
STARTERGRUPPE
Um ein Überhitzen und Beschädigung des Motors zu verhindern, müssen die Ansauggitter der Kühluft immer sauber, und frei von Sagespänen und Schmutz gehalten werden.
Das Anlassereil muss bei den ersten Anzeichen von Verschleib ersetzt werden.
BEFESTIGUNGEN
Kontrollieren Sie regelmäßig den festen Sitz aller Befestigungsschrauben und -muttern, und dass alle Handgriffe fest befestigt sind
REINIGUNG DES LUFTFILTERS (Abb. 21)
WICHTIG
Die Reinigung des Luftfilters
ist die Voraussetzung fur einen einwandfreiener Betreib und eine large Standzeit der Maschine. Um unersetzliche Schaden des Motors zu vermeiden, arbeiten Sie nicht ohne Filter oder mit einem beschädigtem Filter
Die Reinigung sollte alle 8-10 Stunden Maschineneinsatz erfolgen.
Für die Filterreinigung:
- Die Lasche (3) drücken, den Deckel (1) und
anschließlich das Filterelement (2) entfern.
- Das Filterelement (2) mit Wasser und Seite waschen. Kein Benzin oder andere Lösungsmittel verwenden.
- Den Filter an der Luft trocknen halten.
- Das Filterelement (2) und die Abdeckung (1) wieder aufliegen.
ÜBERPRÜFUNG DER ZündKERZE (Abb. 22)
Regelmäßige Zündkerze entfernen und damit eventuelle Ablagerungen mit einem Metallbürstchen entfernen.
Für den Zugriff auf die Zündkerze muss die Schraube mit dem mitgelieferten Schlüssel ausgedreht, und die obere Abdeckung entfern wirden.
Kontrollieren Sie den Elektrodenabstand und stellen Sie hin gegebenenfalls wieder her.
Zündkerze wieder einsetzen und mit dem mitgelieferten Schlüssel bis zum Anschlag festziehen.
Die Zündkerze muss mit einer gleichwertigen Zündkerze mit entsprechenden Eigenschaften ersetzt werden, falls die Elektroden abgebrannt oder die Isolierung beschädigt ist, und auf jeder Fall nach jeweils 100 Betriebsstunden.
MOTORÖLWECHSEL
Den Öltank bei lauwarmen Motor ablassen, um ein schnelles und vollständiges Ablaufen zu garantieren.
- Prüfen, dass der Kraftstofftankverschluss fest geschlossen ist.
- Den Öltankverschluss abschrauben, und das Öl durch Neigen des Motors in Richtung Öleinfullstutzen in einen Behälter entleeren.
- Den Tank mit dem empfohlenen Öl auffullen und den Ölstand prufen.
- Den Öltankverschluss wieder aufschrauben.
VERGASEREINSTELLUNG
Der Vergaser wird ab Werk so eingestellt, dass bei jeder Einsatzsituation immer Höchsteistungen erbracht werden, und bzw bei einer minimalen Freisetzung von schädlichen Gasen und in Übereinstimmung mit den geltenden Normen.
Wenden Sie sich bei mangelnder Leistung für eine Kontrolle des Vergasers und des Motors an ihren Fachhändler.
- Leerlaufeinstellung
ACHTUNG!
Die Leerlaufeinstellung
darf nur vorgenommen werden, wenn sich die Schneidvorrichtung bewegt und der Motor mit Leerlaufdrehzahl lauft.
Die Geschwindigkeit reduzieren, indem die mit «MIN» gekennzeichnete Schraube im Gegenhrzeigersinn gedreht wird, bis die Schneidvorrichtung, bei einem ausreichend gleichmäßigen Betrieb des Motors, zu einem vollständigen Stillstand gebracht wird.
Falls der im Leerlauf laufende Motor unregelmäßigen Funktioniert, die Schraube im Uhrzeigersinn drehen, um die Geschwindigkeit zu erhöhen.
ACHTUNG!
Die Schneidvorrichtung
darf sich bei leer laufendem Motor nicht bewegen, wenden Sie sich an ihren Handler falls Sie keine befriedigende Einstellung erzielen können.
WINKELUMLENKUNG (Abb. 23)
Mit Lithiumfett schmieren. Die Schraube (1) entfern, und das Fett einfellen, indem die Welle von Hand gedreht wird, bis das Fett austritt; anschließend wieder die Schraube (1) eindreten.
SCHLEIFEN DES 3-ODER 4-SCHNEIDIGEN MESSERS (Abb.24)
ACHTUNG!
Schutzhandschuheragen.
Wenn das Schleifen ohne Demontage des Messers erfolgt, muss der Zündkerzenstecker abgezogen werden.
Das Schleifen erfolgt unter Berücksichtigung der Messer- und Klingenart, mit Verwendung einer Flachfeile und gleichmäßigem Einsatz an allen Schneiden.
Die Angaben für einen korrekten Schliff sind der Abb. 24 zu entnahmen:
A = Falscher Schliff
B = Schleifgrenze
C = Falsche oder entsprechicedichte Winkel
Esistwichtig,dassdas Messer nach dem Schleifengleichmabiggewuchtetist.
Die 3- oder 4-schneidigen Messer konnen beidseitig verwendet werden. Wenn die Schneide auf einer Seite verschlussen ist, kann das Messer umgedreht, und die andere Seite verwendet werden.
ACHTUNG!
Die Messer)durfenne
repairiert werden, sie müssen ersetzt werden, sobald Beschädigungen festgestellt, oder die Verschleißgrenze übersritten wird.
AUSTAUSCH DES FADENS IM KOPF
Um den Nylonfaden zu ersetzen müssen die Anweisungen, die dem Fadenkopf beiliegen beachtet werden.
SCHLEIFEN DES FADENMESSERS (Abb. 25)
- Das Fadenmesser (1) durch Losen der Schrauben (3) vom Schutz (2) entfern.
- Das Fadenmesser in einem Schraubstock einspannen, und mit einer Flachfeile schleifen, wobei beachtet werden muss, dass der Originalwinkel beibehalten wird.
- Das Messer wieder am Schutz montieren.
SCHLEIFEN DES KREISSAGENBLATTS MIT 24 ZAHNEN (Abb. 26)
ACHTUNG!
Schutzhandschuhe trag.
Wenn das Schleifen ohne Demontage des Messers erfolgt, muss der Zündkerzenstecker abgezogen werden.
Kontrolieren, dass die Schränkung des Sägeblatts ca. 1 mm beträgt und gleichmäßig ist, andernfalls mit einer Zange korrigieren.
Alle Zähne gleichmäßig mit einer Rundfeile mit 5,5 mm Durchmesser schleifen, die Feile wie abgebildet verwenden, und gleichmäßig auf die rechten und linken Zähne anwenden.
Das Zahnprofilarf nicht verändert werden.
ACHTUNG!
Das Kreissägeblatt ist
nicht umkehrbar, und darauf nur auf einer Seite verwendet werden.
Die Messer dürfen nie repariert werden, sie müssen ersetzt werden, sobald Beschädigungen festgestellt, oder die Verschleißgrenze über-schritten wird.
AUSSEERORDENTLICHE EINGRIFFE
Alle in thisem Handbuch nicht enthaltenen Wartungseingriffe dürfen ausschließlich von ihrem Handler vorgenommen werden.
Eingriffe, die nicht von einer Fachstelle oder von unqualifiziertem Personal ausgeführrt werden, haben grundsätzlich den Verfall der Garantie zur Folge.
AUFBEWAHRUNG
Nach jedem Arbeitseinsatz die Maschine sorgfältig reinigen und Staub und Rückstände entfern, die beschädigten Teile reparieren oder ersetzen
Die Maschine muss an einem trockenen Ort aufbewahrt, vor Witterung geschützt und mit dem vorschrifsgemäß angebrachten Schutz.
- Den Motor starten und im Leerlauf laufen las- ten bis er ausschaltet, so dass der restliche Kraftstoff vollständig aufgebraucht wird.
- Den Motor abkühlen halten und die Zündkerze entfern.
- Einen Schuss neues Öl in die Zündkerzenbohrung geben.
-Mehrmals am Startgriffziehen,damit sich das OImZylinder verteilt.
Zündkerze schließlich wieder einsetzen wenn sich der Kolben am oberen Totpunkt befindet (durch die Zündkerzenöffnung ersichtlich wenn der Kolben seinen hochsten Hub erreicht hat).
LÄNGERE STILLSTANDZEITEN
WICHTIG Falls die Maschine voraussichtlich über 2-3 Monate nicht eingesetzt wird, muss folgenden gemacht werden, um Schwierigkeiten bei der Wiederinbetriebnahme oder permanente Motorschaden zu vermeiden.
Lagerung
Ehe die Maschine stillgelegt wird:
- Den Kraftstofftank entleeren.
Wiedereinsatz
Wenn die Maschine wieder in Betrieb gesetzt wird:
- undkerze entfernen.
- Ein paar Mal am Startgriff ziehen, um das überflüssige Öl zu beseitigen.
- Zündkerze überprüfen, so wie unter Kapitel "Überprüfung der Zündkerze" beschrieben.
- Maschine so einstellen, wie unter Kapitel "Maschinenvorbereitung" beschreiben.
9. STÖRUNGSSUCHE
| STörung | MÖGLICHE ursache | ABHILFE |
| 1) Motor kann entwe-der nicht gestartet wer-den, oder schaltet(sofort aus. | - Falscher Anlassvorgang | - Anweisungen befolgen (siehe Kap. 6) |
| - Zündkerze schmutzig oder nicht korrek-ter Elektrodenabstand | - Zündkerze überprüfen (siehe Kap. 8) | |
| - Verstopfter Luftfilter | - Filter reinigen bzw. auswechseln (siehe Kap.8) | |
| - Probleme der Gemischaufbereitung | - Sich mit dem Händler in Verbindungsetzen | |
| 2) Motor kann gestartetwerden, erbringt abereine schwacheLeistung | - Verstopfter Luftfilter | - Filter reinigen bzw. auswechseln (siehe Kap.8) |
| - Probleme der Gemischaufbereitung | - Sich mit dem Händler in Verbindungsetzen | |
| 3) Der Motor lauft unergelmäßiger oder erbringtunter Belastung keineLeistung | - Zündkerze schmutzig oder nicht korrek-ter Elektrodenabstand | - Zündkerze überprüfen (siehe Kap. 8) |
| - Probleme der Gemischaufbereitung | - Sich mit dem Händler in Verbindungsetzen |
10. TECHNISCHE DATEN
Motor 4-Takt mit Luftkuhlung
Hubraum / Leistung
Mod. 28H - 28HD 25 cm³ / 0,81 kW
Mod. 38H - 38HD 35 cm³ / 1,2 kW
Motordrehzahl im Leerlauf
Mod. 28H - 28HD 2900-3300 giri/1'
Mod. 38H - 38HD 2900-3300 giri/1'
Maximalrehzahl des Motors
Mod. 28H - 28HD............ 10500-11000 giri/1'
Mod. 38H - 38HD............ 10500-11000 giri/1'
Maximalrehzahl des Werkzeugs
Mod. 28H - 28HD 8500 giri/1'
Mod. 38H - 38HD 8500 giri/1'
Zündkerze......... NGK CM5H (oder gleichwertig)
Kraftstoff: bleifreies Benzin - mindestens
90 OZ
Inhalt Kraftstofftank
Mod. 28H - 28HD 550 cm3
Mod. 38H - 38HD 650 cm3
Inhalt Oltank
Mod. 28H - 28HD 80 cm3
Mod. 38H - 38HD 100 cm3
Maximal zulässiger Messerdurchmesser
3-schneidiges Messer 255 mm
4-schneidiges Messer 255 mm
Kreissägeblatt (ausgeschlossen Mod. 28H -
28HD-38H) 0 255 mm
Gewicht 1)
Modelle "MONO" ... von 5,3 bis 7,1 kg
Modellie“DUPLEX” ... von 5,5 bis 8,2 kg
1) Gewicht gemäß ISO 11806 (ohne Kraftstoff,
Schneidvorrichtungen und Schutz)
Schall- und Vibrationsmessungen
| Model | 28H | 28HD | 38H | 38HD |
| Gemessener Lärmpegel (ISO 10884) dB(A) | ||||
| Mit Fadenkopf | 108,1 | 107,9 | 106,3 | 109,7 |
| Mit 4-schneidigem Messer...... | 106,0 | 106,1 | 103,5 | 106,5 |
| Lärmpegel am Ohr des Benutzers (EN 27917) dB(A) | ||||
| Mit Fadenkopf | 94,6 | 95,1 | 92,1 | 94,7 |
| Mit 4-schneidigem Messer .... | 94,3 | 91,2 | 93,2 | 93,7 |
| An die Hand übertragene Vibrationen am vorderen Handgriff ("MONO") (ISO 7916) m/sec2 | ||||
| Im Leerlauf | 2,4 | - | 2,2 | - |
| Mit Fadenkopf | 8,3 | - | 5,9 | - |
| Mit 4-schneidigem Messer...... | 7,8 | - | 2,8 | - |
| An die Hand übertragene Vibrationen am hinteren Handgriff ("MONO") (ISO 7916) m/sec2 | ||||
| Im Leerlauf | 2,0 | - | 2,9 | - |
| Mit Fadenkopf | 8,1 | - | 6,7 | - |
| Mit 4-schneidigem Messer...... | 9,2 | - | 4,7 | - |
| An die Hand übertragene Vibrationen am linken Handgriff ("DUPLEX") (ISO 7916) m/sec2 | ||||
| Im Leerlauf | - | 1,3 | - | 1,3 |
| Mit Fadenkopf | - | 7,2 | - | 2,1 |
| Mit 4-schneidigem Messer .... | - | 5,4 | - | 2,0 |
| An die Hand übertragene Vibrationen am rechten Handgriff ("DUPLEX") (ISO 7916) m/sec2 | ||||
| Im Leerlauf | - | 1,9 | - | 1,4 |
| Mit Fadenkopf | - | 7,7 | - | 3,3 |
| Mit 4-schneidigem Messer...... | - | 5,3 | - | 3,7 |
Geachte Klant,
Start de motor nicht en
gebruik de machine nicht indien er nicht voldoende olie in zit.
6. STARTEN - GEBRUIK - UITSCHAKELEN MOTOR
STARTEN VAN DE MOTOR
A LET OP!
Doe dit nicht wanner voor-
werp hunnen wegspringen die personen of dieren hunnen verwonden of schade hunnen aanrichten.
Elke onderhoudsbeurt die nicht vermeld worden in
10. TECHNISCHE GEGEVENS
Motor 4-takt luchtkoeling
EinfachAnleitung