SB435HD - Vysavač STIGA - Bezplatný návod k obsluze
Najděte návod k zařízení zdarma SB435HD STIGA ve formátu PDF.
Questions des utilisateurs sur SB435HD STIGA
0 question sur cet appareil. Repondez a celles que vous connaissez ou posez la votre.
Poser une nouvelle question sur cet appareil
Stáhněte si návod pro váš Vysavač ve formátu PDF zdarma! Najděte svůj návod SB435HD - STIGA a vezměte svůj elektronický přístroj zpět do rukou. Na této stránce jsou zveřejněny všechny dokumenty potřebné k používání vašeho zařízení. SB435HD značky STIGA.
NÁVOD K OBSLUZE SB435HD STIGA
POZOR: Pred použitim stroje si pozorně prěčěte tento námov k použití.
Nár trádhovedet anwendes,
Tento Váš novy stroj byl navržen a vyroben s ohledem na současné platné prédpisy, což zaručupe pri respektovani plyků uvedenych v totom námodu jeho bezpečnost a spolehlivost (správné použiti); jakékoli jiné použiti nebo nerespektovani bezpečnostnichPokynu,Pokynu pro udžbru a opravy je považovano za „nesprávné použiti“, a proto v totom pripadé prěstáva platit záruka poskytovaná Vyrobcem a za jakékoli skodyne ublěni na zdravi zpúsobé sobé nebo třetím osobám nesprávný použítím je odpořědný pouze uživotel.
Setkáte-li se s některymi nepatrnych odlišnostmi mezi Vašim strojem a strojem popsaným v totom námovu, mějte na paměti skutečnost, ze neustálé vylepsóvani vyrobú muže mit za následek změnu informaci uvedenych v totom námovu, a to bez upozorněi a bez povinnosti informovat o tom majite-le stroje. Vyjímku tvóři pouze tv cǎsti námovu, ktere jsou nezbytné pro zajistěné bezpečnosti a funkčnosti. V pripadě pochybností se obrata na Vašeho prodejce. Hodné zdaru pri práci!
OBSAH
- Popis stroje a jeho základnich současti 2
- Symboly 3
- Bezpečnostní prědpísy 4
- Montáž stroje 6
- Praprava na praci 8
- Startováni - Použití - Zastavení motoru 9
- Použití stroje 11
- Udrzba a skladovani 14
- Lokalizace poruch 16
- Technické udaje 17
1. POPIS STROJE A JEUHO ZÁKLADNÍCH SOUÇÁSTÍ
ZÁKLADNI SOUÇASTI
- Hnaci jednotka
- Převodová trubka
- Rezné zaïzeni
a. Núz se 3 nebo 4 hroty
b. Upinaci hlava dratu
- Ochrana šezacijo zařizení
- Přednírukojet
- Bariéra
- Rukojet
- Zadni rukojet
- Bod uchycéní (popruhu)
- Identifikacićni štǐtek
- Popruh
a. se samostatnym remenem
b. s dvojitym remenem
- Pravouhlá prédloha
- Ochranny kryt noze (pro pouziti během prépravy)
- Svicka
OVLADACI PRVKY A DOPLNOVANI PALIVA
- Vypinač motoru
- Akceleracni paka
- Zajistěni akeleracné páky
- Startovaci rukojet
- Sytic (Startér) (je-li soucásti)
-
Obohacovač směsi (Primer) (je-li součásti)
-
Uzáver palivové nadrze
- Uzáver olejová nadrze



“MONO”

"DOUBLEX"
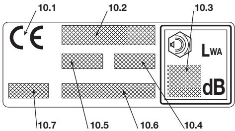
IDENTIFIKAÇNİ STİTEK
10.1) Značka shody výrobku se směrnici 98/37/ES
10.2) Název a adresa výrobce
10.3) Zarucená hladina akustického vykonu LWA podle směrnice 2000/14/ES
10.4) Vztazny model vyrobce
10.5) Model stroje
10.6) Vyrobní Číslo
10.7) Rok vyroby

2. SYMBOL










1) Upozorněni! Nebezpeči. Tento stroj se v pripadé nesprávného použiti mužte stav nebezpečnám pro uživatele i pro jiné osoby.
2) Pred použitím tohoto stroje si prečtěte námod k použití.
3) Pracovnik pověřený obsluhou tohoto stroje může být pri každodenní opakovaném používání v běznych podminkák vystaven hladnine hluku rovnají se nebo prěvyšujíci 85 dB (A). Používejte chrániche sluchu a ochrannou prilbu.
4) Používejte rukavice a ochrannou obuv!
5) Nebezpeci yvmrsteni! Bēhem použití stroje udržujte osoby nebo domáci zviřata ve vzdalenostinejměne 15 m!
6) Nepouživejte noze ve tvaru kruhové pily. Nebepezici: Použiti nožu ve tvaru kruhové pily na strojich s tímo označením vystavuje uži- vatele nebezpezici velmi vázného nebo dokonce smrtelného zraněni.
7) Maximálí rychlost Čezaciho zařizení. Používejte pouze vchodné Čezaci zařizení.
8) Uroven hladiny akustického vykonu LWA podle směrnice 2000/14/ES.
VYSVETLUJICI SYMBOLPOUZITE NA STROJI (jsou-li soucasti)

11) Palivová nádrž
12) Polohy vypinače motoru
a = zastaveni
b = chod

13) Serizeni minimálnich otáček
14) Sytic (Starter)
15) Obohacovač směsi (Primer)
16) Správná poloha rukojeti prévodové trabky
VYSVETLUJICI SYMBOL NA OCHRANNYCH ZARIZENICH (jsou-li soucasti)


21) Rezacá zaízení, pro které je och-ranné zaízení vhodné
22) Používa se supinací hlavou drátu
23) Smér otácení
rezacho zaízení
3. BEZPECNOSTNI PREDPISY
1) Pečíve s prostudujte uvedene poukyny. Sezname s ovladacimi prvky stroje a se správný zpúsobem jeho použit. Naučte se rychle zastavit motor.
2) Používejte stoj pouze na učel, pro která je určený, to znaměna k
- sekani travy a nedrevnateho porostu prostefrednictvim nylonoveho dratu (napr. na okrajich zahonu, plantazi, sten, plotu nebo zelenych prostor omezene plochy za ucelem dokonceni rezani provedeneho sekackou);
-rezani yvsoke travy, haluzi, vetvi a drevnatych keru s prumere m az do 2 cm s pomoci kovoych nebo plastovych nozu.
Jakékoliv jiné použiti mûze byt nebezpečné a mûze zpʊsobit poskození stroje.
3) Nikdy nepripustte, aby stroj pouzivaly deti nebo osoby, ktere nejsou dokonale seznameny s poukyny pro jeho pouziti. Zákony v jegnotlivych zemich upresnuji minimálni predepsány věk pro uživatele.
4) Stroj nesmí být použiván vice než Jednou osobou.
5) Nikdy nepoužívejte stroj za těchto podminek:
- Gestlize se v jeho blízkosti nacházeji osoby, prédevsim déti nebo zviřata;
- když je uživatel unaven neboPokud je mu nevolno nebo v připadeš,Že uzil léky,drogy, alcohol nebo jine látky snizujíci jeho refléxní schopnosti a pozornost;
- kdyz uživatel neni schopen urdžet stroj pevné v obou rukach a/nebo zústat ve stabilni vyväzené poloze na nohou během práce.
6) Pamatujte, ze obsluha nebo uživatel nese plnou odpovednost za nehody a nepredvidané události vuči jinym osobám a jejich majetku.
B) PřIPRAVA KPOUZITI
1) Pri práci je třeba používat vchodné odev, který nepřekáží uživateli v použítí stroje.
- Používejte přilnavý ochranný oděv, vybavený ochranou proti pořezáni.
-Pouzivejte ochrannou prilbu, ochrnne rukavice, ochrannbe bryle, protipraśny respirator o ochranou obuv s protiskluzovou podrázkou.
- Používejte chrániche sluchu na ochranu sluchového ustrojí.
Nemëjtne na sobe šaly, plástë, nahrdelniky a prívësky nebo volné doplýk yseobecné, protoze by se mohly zachytit do stroje nebo do predmetu a materialu nacházejicích se v pracovním prostoru.
- Dlouhé vlasy, vhodným zpúsobem sepnéte.
2) UPOZORNENI: NEBEZPEC! Benzin je vysoce hořlavý.
palivo uchovávejte ve vchodnych nádobach homologovanych pro toto použití;
- pri manipulaci spalivem nekuite;
- uzáver palivové nádržky otevirejte pomalu a
nechte postupnéuniknout vnitří tlak;
palivo dopl'nujte pouze na otevrenem prostoru a s pouzitim trychtyre;
palvo doplujte pred nastartovanim motoru; nesnimejte uzavér palivové nádržky a nedoplujte palvo pri zapnutém motoru nebo je-li motor horny;
- když palivo vyteče, nestartujte motor, ale vzdalte stroj od prostoru, na kterém se palivo vylló, a zabrante tak moznosti vzniku požáru, dokud se palivo nevyssi a nedojde k Rozptyleni benzinovych výparú;
- okamzite vycistete vsechny stopy po benzinu yvilitem na stroj nebo nazem;
- nestartujte stroj na miste, kde bylo provedeno doplneni paliva;
- zabraţe styku paliva s odévem a v pripadă,Žek němu dojde, se pred nastartovanim motoru prëvlețe;
- vždy nasadte zpět a dotáhněte uzáver palivové nádržky a nádoby s benzinem.
4) Provede vymenu vadneho nebo poškozeného tlumice vyfuku.
5) Pred použitim stroje provedte jeho základni kontrlu se zvlastnim dürazem na následujici skutečnosti:
- Akeleracni páka a bezpečnostní páka se musi pohybovat volné, nenásilné a pri uvolné se musi automaticky a rychle vrátit doneutralí polohy;
- kdyż nedojde ke stlaceni bezpečnostni páky, akceleraćni páka musi züstat zajišteṇa;
- lovladaci spinač motoru se musí dát lehce prépnout z jegne polohy do druhé;
- elektrické kabely, zejmena kabel zapalovaci svicky, musi byt neporuşene, aby se zabrnilo vzniku jisker, a kryt zapalovaci svicky musi byt správné namontovan ni svicce;
- rukojeti a ochranné kryty stroje musí byt Čisté aSuché a musí byt pevné uchyceny nastroji;
-rezací zarizení a príslušné ochrany nesmí byt nikdy poškozené.
6) Zkontrolujte správnou polohu rukojetá bodu uchycení popruhu a správné vyvä Zení stroje.
7) Před zahajením práce se ujistěte, ze ochrany odpopidáji pouzitému rezacím nu nastroji a ze jsou spravné namontóvány.
8) Dukladne prohlédněte celou pracovní plochu a sejměze zí věřo, co by mohlo být yvmrstěno ze stroje nebo by mohlo poškodit Ľezaci Jednotku a motor (kameny, věťve, Železné dráty, kosti akt.)
C) BÉHEM POUZITI
1) Nestartujte motor v uzavfenych prostoch, kde vznika nebezpeci nahromadeni koure oxidu uhelnatheo.
2) Pracujte pouze pri Dennim svete nebo pri dobrém umelém osvetlení.
3) Zaujměte stacionární a stabilní polohu:
V rámci możnsti se vyhnéte práci na mokrém nebo kluzkém povrchu a práci na nerovném nebo příš střmér terény, kter'y nezarůčuje sta
bilitu obsluyh bēhem pracoví Činnosti;
- nikdy nebêhejté, ale kráčejte a věnujte pozornost nerovnostem terenu a pritomnosti pripadnych přežek.
- vyhodnotte potenciánlí rizika terenu, na kterém máte pracovat, a prijměte veskárá opatřeni na zajistěné vlastní bezpečnosti, zejměna na svazich, nerovných a kluzkých nebo pohyblívých terenech.
- Na svazich gracujte pričné ke svahu, nikdy nestoupejte ani neksekje po svahu a vždy se držte za féazim zařazenim.
4) Startujte motor s pevně uchopeným strojem:
motor startujte alespon 3 metro od mista, na kterém došlo k doplněné paliva; - zkontrolujte, zda se jiné osoby nacházeji ve vdálenosti nejmné 15 metru od pracovniho dosahu stroje nebo nejmné 30 metru v pripadě náročnéjsiho sećeni;
- nesměřujte výfuk a tím i výfukové plyny vúči hořlavém materialíum:
5) Nemehte nastaveni motoru a nedovolte,aby motor dosahnul priiliis vysokych otacek.
6) Nevystavujte stroj nadmérné namaze a nepouzîvejte malý stroj pro realizaci náročnych prací; použīt vchodného stroje snizuje rizika a zlepsûje kvalitu práce.
7) Zkontrolujte, zda jsou minimálni otáčky motoru takóve, aby neumoznvaloy pohyb fezacilho zařizení, a zda po akeleraci dojde k rychlému návratu režimu motoru na minimálni otáčky.
8) Dbejté, aby nedoslo k prudkému nárazu noze do cizich têles a k moznému vymrstěni materiaiu, zpúsobenému pohybeb samotných nožú.
9) Bēhem práce mějte stroj neustále priñputy za popruh.
10) Zastavte motor: - Pri opusteni stroje a jeho ponechani bez dozoru;
- préd doplǎnováním paliva.
- během prěsunů mezi Jednotlivými pracovními prostory.
11) Zastavte motor a odpojte kabel zapalovaci svicky: - préd kontrolou, cisténím nebo praticé se strojem;
- po zásahu cizim předmětem. Pred opětovnám použitím stroje zkontrolujte prípadné škody a provedte potřebné opravy;
- v pripadé, ze stroj začne vibrovat neobvkylým zpuśobem: V takovém pripadé okamžte vyhdeje tpcičinu vibraci a prijměte potřebná opatřné;
- kdyz je stroi mimo provoz.
1) Pravidelné kontrolujte dotazení matic a sroubú, abyste si mohlí být stále jisti bezpečnám a funkčím stavem stroje. Pravidelná udžrba je zásadou pro bezpečnost a pro zachováni pùvodnich vastnosti.
2) Neskladujte stroj s benzinem v nadrzce v mistnosti, ve které by benzinové vypary mohly dosahnout plamene, jiskry nebo silneho zdroje tepla.
3) Před umistěné stroje v jakémkoli prostřédí nechte vychladnout motor.
4) Za Účelem sníženi rizika požáru udržujte motor, výfúk a prostro pro skladováni benzinu bez pilin, zbytků větví, listí nebo nadměrného mazaciho tukú; nenechávejte nádoby s posekaným materiálem uvnitr mistnosti.
5) Je-li nutné vypustit palivovou nádržku, provádejteuto operaci na otevreném prostoru a při vychladnutem motoru.
6) Pri kazdem zasahu na rezném utrojipouzivejte ochranné rukavice.
7) Z bezpečnostnich dūvodů nikdy nepoužíveje stroj s opotrebovanýne boškozenými soucástmi. Poškozené díly musi byt vyměné a nikdy nesmí být opravovány. Používeje Jenom originál náhradnídly. Díly, které nemaj stejnou kvalitu, mohou zpúsobit poškození stroje a ohrozit bezpečnost. Žací nastroje musí být vždý označeny označením výrobie, jakóž i uvedením maximálni provoznírchlosti.
8) Před uložením stroje se ujistěte, ze jste odstranili klicne nebo náradí použitě pri údržbe.
9) Ulozte stroj mimo dosah détí!
E) PREPRAVA A MANIPULACE
1) Pokazdé, když je třeba manipulovat se strojem nebo jej prepravovat, je třeba:
- vypnout motor, vyčkat na zastavení šrezaciho zařizení a odpojit kryt zapalovací svicky;
- aplikovat ochranu rezacho zaizeni;
- uchopit stroj vyhradne za rukojeti a nasmerovat rezaci zaizeni v opačné smeru vúci smeru jízdy.
2) Pri preprave stroje v aute je tbreba umistit stroj tak,aby nikoho neohrozovala,radne jej pripevinit, aby se zabrano jeho prevraceni smoznym poskozenim aunikem benzinu.
F) JAK CIST NAVOD K POUZITI
V textu navodu se nacházejí některé odstavce obsahujici mimořádné dulezité informace. Tyto odstavce jsou značeny odlísným stupnéznvyraznéni s nasledujicim vyznamem:
POZNÁMKA
nebo
DULEZITE
Upresnjue nebo blize
vystluje nekteré predet umvedene informace s cilem vyhnout se poskozeni stroje a zpusobeni skod.
UPOZORNÉNÍ!
Upozornuje na moznost
ublizeni na zdraví sobě nebo jiným osobám v pripadé neuposlechnuti.
NEBEZPECI
Upozornejene na moznost
tězkého ublězeni na zdraví sobě nebo jiným osobám, nebo dokonce smrti v pripadě neu-poslechnuti.
4. MONTAZ STROJE
DÜLEZITÉ
Stroj je dodáván s některymi
součastmi v odmontovaném stavu a s prázdnou nádržkou na palivové.
UPOZORNENI!
Pri manipulaci s rezacimi
zarizenimi pokaźde používejte silné ochrannes rukavice. Venufte maximálni pozornost montáži současti, abyste nenarusili bezpečnost a učinnost stroje; v pripadě pochybnosti se obratte na vašeho Prodezjce.
1. DOKONÇENİ MONTAZE STROJE
1a. Modely "MONO"
- Model 28 (Obr. 1)
UPOZORNENI!
Ukolem Rozpěrky (1) je z
bezpečnostnich dūvodu zajistit minimálni vzdálenost mezi zadni a prědní rukojétí. Tato rozperka musi byt vždy pritomna a nesmi byt zădynam zpúsobem meněna.
- Pred rozpěrku (1) namontujte prédné rukojej (2), na prěvodovou trabku (3), prostřednictvím sroubů (4) a matic (5) vložených do príslušních uloženi.
- Pred dotažením šroubú (4) správně nasměrujte rukojeť vúči prevodové trabce.
- Na doraz dotáhněte šrouby (4).
Model 38 (Obr.2)
- Namontujte prédni rukojet's barierou (1) na umelohmotny kryt (2) a na doraz dotáhněte šrouby (3).
1b. Modely "DUPLEX"
- Model 28 (Obr. 3)
Zasunte rukojet (1) do uloženi vytrovenem v držaku (2), umistěnéma prévodové trabce (3), a dbejt pritom, aby byly ovladaci privky umistěny vpravo.
Proved'te montáž vika (4), dotáhněte na doraz šrouby (5).
- Držák (2) je již prědmontovaný na prěvodové trubce (3) tak, aby byl okraj umistěn v blízkosti šipky (6) štítku; tato poloha nesmi byt nikdy měnéna.
Model 38 (Obr.4) - Odmontujte středovou kulovou rukojet (1) a odmontujte viko (2).
Zasunte rukojet (3) a dbeje pritom, aby byly ovladaci privky umisteny vpravo. - Nasmérujte rukojet do nejphonodnëjsi pracovni polohy a zajistete ji prostrechnictvim vika (2) a kulove rukojeti (1).
2. MONTAZ OCHRAN
A UPOZORNENI!
Kazdérezaci zarizenje
vybaveno specifickou ochranou. Nikdy nepouzivejte ochrany odlisné od ochran uvedenych pro kaźde rezací zaření.
Nuz se 3 nebo 4 hroty (Obr.5)
A UPOZORNENI!
Pouziveje ochrannes ruka
vice a nasad'te ochranu noze.
- Odmontujte nuz (je-li namontován) zpʊsobem uvedenym v odstavci 3.
-
Ochrana (1) je pripevněna k pravouhlé prédloze (2) prostřednictvím dvou šroubú (3).
-
Upinaci hlava dratu (Obr. 6)
A UPOZORNENI!
Pri pouziti upinaci hlavy
drátu je třeba, aby byla vždy namontována prídavná ochrana s nožem na rezání drátu.
- Odmontujte nuz (je-li namontován) zpʊsobem uvedenym v odstavci 3.
- Ochrana (1) je pripevněna k pravouhlé prédloze (2) prostřednictvím dvou šroubú (3).
- Namontujte pridavnou ochranu (4)zasunutim háčú do príslušných uloženi ochrany (1) a stisknutim až na doraz, dokud neuslyşite cvaknuti.
3. DEMONTÁZ A ZPÉTNÁ MONTÁZ REZACÍCH ZARÍZENI
A UPOZORNENI!
Používejte pouze originálné
rezaci zarizeni nebo zarizeni homologovaná Vyrobcem.
- Núz se 3 nebo 4 hroty
UPOZORNÉNÍ!
Používejte ochranné rukáhranu nože.
a) Model 28 (Obr. 7)
POZNÁMKA
Maticspodku (4) ma levo
točivy závit, a proto se musí odśroubovat ve směru hodinovych rucicek a zaśroubovat proti směru hodinovych rucicek.
Vlozte klic z prišlušenstvi (2) do prišlušného otvoru v pravouhlé předloze (3) a rukou otáčejte nožem (1), dokud nedojde k zapadnuti klicce do vnitřinoho otvoru a zablokovány otáčeni.
- Odmontujte spodek (4) odśroubovánim matice ve směru hodinovych ručićek.
Vytáhněte vnéjí kruhovou matici (5) a odmon-tujte núž (1).
Při montáži
- Se ujistete, ze drážky vinitrni kruhové matice (5) dokonale zapadaj do pravouhlé predlohy (3).
- Proved'te montáž noze (1) a vnejí kruhové matice (5).
Proved'te zpetnou montaz spodku (4) a dotahnete na doraz matici proti smeru hodinovych rucicek. - Odložte klic (2) za učelem obnoveni otáčeni nože.
b) Model 38 (Obr. 8)
POZNÁMKA
Šroub spodku (4) má levo-
točivy závit, a proto se musí odśroubovat ve směru hodinovych rucicek a zaśroubovat proti směru hodinovych rucicek.
Vlozte klic z prišlušenstvi (2) do prišlušného otvoru v pravouhlé předloze (3) a rukou otáčejte nozem (1), dokud nedojde k zapadnutí klicce do vnitřinoho otvoru a zablokovány otáčeni.
- Odmontujte spodek (4) odsroubovanim stredového sroubu ve smeru hodinovych ručicek.
-Vytihnete vnejsi kruhovou matici (5) a odmon-tujte nuz (1).
Při montáži
- Se ujistete, ze drážky vinitné kruhové matice (5) dokonale zapadaj do pravouhlé predlohy (3).
- Proved'te montáž noze (1) a vnejí kruhové matice (5).
Proved'te zpétnou montáž spodku (4) a dotáhněte jej na doraz proti sméru hodinovych rucicek. -
Odložte klic (2) za učelem obnoveni otáčeni nože.
-
Upinací hlava drátu (Obr. 9)
POZNÁMKA
Upinaci hlava dratu ma levo
točivy závit, a proto musí být odśroubována ve směru hodinovych rucicek a zašroubována proti směru hodinovych rucicek.
Vlozte klic z prišlušenstvi (2) do prišlušného otvoru v pravouhlé předloze (3) a rukou otáčejte upinací hlavou drátu (1 nebo 1a), dokud nedojde k zapadnutí klice do vnitriho otvoru a zablokovani otáčeni.
- Odmontujte upinaci hlavu dratu (1) jejim odrsroubovanim ve smeru hodinovych ručicek.
Při montáži
- Se ujistete, ze drážky vinitné kruhové matice (4) dokonale zapadaj do pravouhlé predlohy (3).
- Odmontujte upinaci hlavu dratu (1) jejim zašroubovámni proti směru hodinovych ručicek.
-
Odložte klic (2) za učelem obnoveni otáčeni hřidele.
-
Núz ve tvaru pily (je-li povolen)
UPOZORNÉNI
Použití nože ve tvaru pily je
zakázano na novějsich stojich označenych príslušným symbolem (viz kap. 2 Č. 6).
Při montáži ochrany a nože ve tvaru pily postupujte dlePokynu dodanjch spolu s tímto príslušenstvím.
5. PRÍPRAVA NA PRÁCI
KONTROLA STROJE
Pred zahajenim prace je tbrea:
- zkontrolovat, zda nejsou uvolnene šrouby na stroji a na Črezacim zařizení;
- zkontrolovat, zda ŧrezaci zarizeni není poskozeno a zda jsou kovové nože se 3 nebo 4 hroty (jsou-li namontovány) Šárdné naostřěné;
- zkontrolovat, zda je vzduchovy filtr Čistý;
- zkontrolovat, zda jsou ochranné kryty ěrdné upevněné a zda jsou učinné;
- zkontrolovat upevně rukojetí.
PALIVA A MAZIVA
Tento stroj je vybaven Čtyrtaktnim motorem, ktery NEVYZADUJE zadné pridání oleje do benzinu.
DULEZITE
Pridani oleje do benzinu
zpusobuje poskozeni motoru a nasledkem je propadnuti zaruky.
DULEZITE
Používejte pouze kvalitné
paliva a maziva za ucelem uchovani vlastnosti stroje aŽivotnosti mechanickych organú.
- Informace tykajici se benzinu
Používejte pouze bezolovnatý benzin (zelený benzin) s minimálím oktanovym cislem 90 N.O.
DULEZITE
Zeleny benzin má tendenci
vytvář et usazeniny v nádobě, ve které je skladován déle než 2 měsíce. Vždy používejte pouze Čerstvý benzin!
NEBEZPEČI
Benzin je horlavy!
-Benzin skladujte v homologovanych nadobach urcenych pro paliva, na bezpecném misté, v dostatečné vzdalenosti od zdrojú tepla nebo volného plumene.
-Nenechávejte nádoby na pohonné látky v dosahu déti.
- Informace tykajici se oleje
Používejte pouze olej prvotřidníkvality, specifiký pro ctyrtaktní motory, vysoce Čistici, klasifikaci SF-SG a viskoziitou SAE10W30.
DULEZITE
Použití nečisticího,
nevodneho oleje nebo oleje s jinymi vlastnostmi, než které jsou uvedeny, poškozuje motor a následkem je propadnutí záruky.
U vaseho Prodejce najdete oleje specificky navrzené pro tento druh motoru, které mu zarucji ysvoky stupečn ochrany a dlouhodobou funkčnost.
DOPLNENI PALIVA
NEBEZPECI!
Bēhem doplǎnováni paliva
nekurte a vyhnete se inhalaci benzinovych vyparu.
UPOZORNENI!
Uzavěr kanystru otevírejte
opatrè, protoze uvtitr mohl vzniknout tlak.
Před provedením doplněné paliva:
-Ulozte stroj na rovnou plochu,do stabilni polohy,suzavemnadyrgyznahore.
Vycistete uzavér nadrzky a okolni prostor, aby se zabrano vniku necistot behem doplnovani paliva.
- Opatrně otevřeute uzáver nádržky za učelem postupného vypoustěni tlaku. Při doplžovani paliva používejte trychtý rá nadžku neplněte až po okraj.
UPOZORNÉNÍ!
Pokazdé zavřete uzáver
nádržky a dotáhněte jej až na doraz.
UPOZORNÉNÍ!
Okamžite očistěte jakou-
koli stopu po benzinu, ktery se pripadne Rozilu po stroji nebo po terenu, a nestartujte motor, dokud nedojde k upnemu Rozptyleni benzinovych vyparu.
DOPLNENI OLEJE (Obr. 10)
DULEZITÁ INFORMACE
Nestartujte motor a nepoužívejte stroj pri nedostatečné hladine oleje.
V rámci kontroly oleje je třeba:
-Ulozit stroj na rov nou plochu, do stabilni polohy, s uzavěrem nádrze nahore.
-Odsroubovat uzavér nadrze a zkontrolovat, zda hladina oleje dosáhlu urovne naévacího hrdla.
Kapacita olejové nádrže je 80 cm3 (Model 28) nebo 100 cm3 (Model 38).
6. STARTOVÁNÍ - POUžITÍ - ZASTAVENÍ MOTORU
STARTOVÁNÍ MOTORU
A UPOZORNÉNI!
Nastartováni motoru musí
proběhnout v minimálné vzdálenosti 3 métru od mista, kde se doplnovalo palivo.
Před nastortovámim motoru:
- Uložte stroj do stabilní polohy na terényu.
- Odmontujte ochranu noze (je-li použita).
-Ujistete se, ze se nuz (je-li pouzit) nedotyká terenu ani jin'ych predmétu.
- Startování za studena
POZNÁMKA
Za startování motoru „za
studena" se považuje startovani, ktere se provádi po uplynuti nejmène 5 minut od zastvení motoru nebo od doplnovani paliva.
K nastartováni motoru (Obr. 11) je třeba:
- Prepnout spinač (1) do polohy «START».
- Uved'te do Činnosti startup otočením páky (5) do polohy «CLOSE».
- Stiskněte tlacítko zařízení na obohaceni směsi (primer) (6) 3-4 krát za účelem podpory obohaceni směsi v karburátoru.
- Pevne pridržet stroj na terenu s jegnou rukouna hnaci Jednotce, aby pri nastartovani nedoslo ke ztrátě kontroly (Obr. 12).
DULEZITE
Aby se zarbanilo defor
macím, prěvodová trabka nésmi být během startování použita jako opěrka ruky nebo kolene.
- Lehce zatahnete za startovaci rukoje't do vzdalenosti 10 - 15 cm, dokud neucitite urcity odpor, a nasledne nekolikrát razně zatahnete, dokud neuslysitere pvri nažehy.
DULEZITE
Abyste zabrani ptrezeni
startovaciho lanka, netaheje tza nej az do jeho uplného vytaženi, netaheje te tak, aby se otiralo vodici olvor, a postupné uvolnujte startupci rukojet, abyste se vyhnuli jejimu nekontrolovatelnému nárvatu do klidóve polohy.
6. Znovu potáhněte za startovaci rukojet' až do dosaženi pravidného nastarování motoru.
UPOZORNENI!
Nastartováni motoru se
zapnutym starterem zpusobi pohyb rezacinho zarizeni, ktere se zastavi pouze po vypnuti startupu.
- Jakmile byl motor nastartován, vypněte starter přečením páky (2) do polohy «OPEN».
- Před použitím stroje nechte motor v Činnosti na minimálíncích otáčkáché nejménye 1 minutu.
DULEZITE
Př opakované aktivaci star-
tovaciho lanka pri zapnutem starteru by mohl dojit k zahlcnir motoru, spojenemu naslednym obtiznym startovanim.
V pripadé zahlcní motoru odmontujte svicku a lehce potáhněte rukojeć startovaciho lanka za učelem odstraněni nadbytku paliva; následné osuste elektrézy zapalovaci svický a namontujte ji zpět do motoru.
- Startováni za tepla
Při startováni za tepla (bezprostředné po zastavénu motoru) postupujte dlbe bud 1-4-5-6 prěchodázejíciho postupu.
POUZITI MOTORU (Obr.11)
Rychlost rezacinho zafrizenje regulovana ovladanim akeleratoru (2),umisteneho na zadni rukojeti (4) nebo na pravrukojeti (4a).
Použití akceleračné páky je možné pouze za současného stlačení bezpečnostní páky (3).
Nahon je prěnášen od motoru k prěvodovému hrideli prostřednictvím odstředíve spojky, ktera brání pohybu nožú pri motoru na minimálnich otáčkác.
UPOZORNENI!
Nepoužívejte stroj, když se
rezaci zarizenim pohybuje na minimalmich otackach; v takovem pripadé seridte minimum (viz kap. 8) a kdyz problem pretrváva, obrte se na vašeho Prodejce.
Správné pracovní rychlosti se dosahuje s pákou akelerace (2) v mezni poloze.
DULEZITE
provozu stroje se vyhněte použití motoru na maximálnich otáčkách.
ZASTAVENI MOTORU (Obr.11)
Za ucelem zastaveni motoru je tbreba:
- Uvolnit páku akelerace (2) a nechat motor v Činnosti několik sekund na minimálnéch otáčkác.
- Prepnout spinač (1) do polohy «STOP».
A UPOZORNENI!
Po presunuti akeleracni
páky do polohy odpopvidají minimu je tbreba několik sekund na zastavení ěrezacího zařizení.
7. POUZITÍ STROJE
S ohledem na ostatni osoby a naŽivotni prostředi:
- Se vyvarujte toho, abyste byli rusivym elementem.
- Pečívě sledujte mistrí predpísy týkajíci se likvidace materiálu vzníklého rezámím.
- Pečliviše sledujte mistristni predpisy tykajici se likvidace olejù, benzinu, opotfebenych soucasti nebo jakéhokoli elementu, kterу by mohl mit dopad naživotni prostredi.
UPOZORNÉNÍ!
Dlouhodobé vystaveni
vibracim muze zpusobit zraneni nebo neurovaskularni poruchy (zname take jako „Raynauduv fenomen" nebo „bila ruka"), a to zejmena u lidis potizemi krevnio obehu. Przynaky se mohou tykat rukov, zapesti a prstu a mohou se projevit ztratou citlivosti, stnulosti, svedenim, bolesti, ztratou barvy nebo strukturalni zmenami pokožky. Tyto przynaky mohou byt jeste vyraznejsi pri nizkych teplotach prostre di a/nebo pri nadmernem uchopu na rukojetich. Pri vyskytu priznaku je treba snizit dobu pouzivani stroje a obratit se na lekare.
UPOZORNENI!
Během práce noste
odpovidajici odév. Váš Prodejce je schopen poskynout informace o nejhvodnejísch protiúrazovych materiálech pro zajistěni bezpečnosti práce.
POUZITI POPRUHU (Obr. 13)
UPOZORNÉNÍ!
Stroj musí být vždy
použivan pripnuty ke správné nasazenému popruhu. Praviděnne kontroljte fungčnost rychlého odepnuti s cilem umoznit rychlé uvolnéni stroje zřěmenu v pripadě nebepezć.
Popruh musí být nasazen jestě prěd uchycením stroje k príslušnému uchytu ařemeny musí být serízeny podle výšky a postavy obshluhy.
Kdyz je stroj vybaven vice otvory pro uchycení, použijte ten, ktery je nejvhodnéjsi pro udrženi rovnováhy stroje během pracovní Činnosti.
Pokazdé použivejte popruh vchodné pro hmot-nost stroje a použité įrezá zářizení:
- pri strojich s hmotností nepřevysujici 7,5 kg, vybavenych upinaci hlavou dratu nebo nozem se 3 nebo 4 hroty, mohou byt pouzity modely se samostatným nebo dvojtým reme-nem;
-
pri strojich s hmotnosti prvyssujici 7,5 kg, vybavenych nozem ve tvaru pily (je-li povolen), musi byt pouzit vyhradne model se samostatnym remenem.
-
Modely "MONO" se samostatnámřeme-nem
Remen (1) musi prochazet nad levym ramenem, smerk pravemu boku.
- Modely s dvojitým remenem
Remen (2) musi byt navlecen s:
- vyplnenou ccasti a karabinou pro uchyt na pravé strané;
- s odpojením na prědni strane;
- s prékrizénim rémenu na zádech obsluy.
Remy musi byt naputy tak, aby prěnášely zátěž rovnoměrně na ramena.
ZPUSOBPOUZITISTROJE
UPOZORNÉNI!
Bēhem práce musi byt
stroj neustale drzen pevné obema rukama, pricemž hnaci Jednotka se musi nachazet na pravé straně těla a rezaci Jednotka pod urovní opasku.
UPOZORNÉNÍ!
noze behem prace okamzite zastavte stroj. Pokazde daveje pozor na zpétný vrh (kick back), ke kteremu muze dojt, kdyz nuz narazi na pevnou prekážku (kmeny, koreny, větve, kameny atd.). Zabrahte doteku terenu nozem. Zpétný vrh zpúsobuje obtízné kontrolovatelné odraženi noze, pri kterem muze dojt ke ztráté kontroly nad strojem, k ohroženi bezpečnosti obsluhy a ke zpúsobeni skod na samotné stroji.
Prid zahajenim prvnio sečeni je vchodné získat potěfnou zočnost se strojem jeavnýhodnéjišimi šržacimi technikami, naučit se správně navlěct poprush, pevně uchopit stroj a provadět pohyby požadované pro realizaci pracovní Činnosti.
Zvolte Črezaci zařizení, které je nejvhodnéjsi proplanovanou pracovni Činnost, podle těchto základnichPokynú:
- nüz se 3 hroty je vhodny na rezani klesti a malych keru s prumerem az do 2 cm;
- nuž se 4 hroty je vchodný na sekání odolné trávy na rozsáhlé plose;
-upinaci hlava dratu muze odstranit vysokou travu a nedrevnate porosty v blizkosti plotu, sten, zakladu, chodniku, kolem stromu atd. nebo muze byt pouzita na uplné yvcisteni konkrtni casti zahradni plochy; - nuz ve tvaru pily (je-li povolen) je vchodny na rezani odolnych krovin, keu a malych stromku s prumerek kmene az do 6 cm.
PRACOVNI TECHNIKY
a) Nuz se 3 hroty (Obr. 14)
Zacnete rezani od horni casti porostu a postupne sestupujte s rezajici nozem za ucelem rozdrobeni vetvi na malé kousky.
b) Nuz se 4 hroty (Obr. 15)
Postupujte s použitim stroje v uloze klasické kosy, pohybem v 60-90° oblouku, poté vyjděte ven z porostu a tak dále.
c) Upinac hlava dratu
A UPOZORNENI!
Pouzivejte POUZE nylo
nové dráty. Použiti kovovych drátu, plastifikovanych kovovych dratu a/nebo dratu nevhodnych pro upinaci hlavu muze zpúsobit važnéz ublěné na zdřvi.
Během použiti je vhodné zastavit motor a
odstranit pravidelné rostliny, ktere se obtoci kolem stroje, aby se zabrano prehratí prévo dové trabky, zpusobenému travou zachycenou pod ochranou.
Zachycenou travu odstrahte sroubovakem, abyste umoznili spravné ochlazovani tyce.
UPOZORNÉNI!
Nepoužívejte stroj na
zametání nakloněním upinaci hlavy drátu. Vykon motoru mûze zpúsobit vymrstěné predmetú a malych kamenú az do vdálenosti 15 metru a vice, cimž mûze zpúsobit škody a ublězeni na zdrav osob.
- Rezání za pohybu (Sečeni) (Obr. 16)
Postupujte pravidelné, obloukovym pohybeb podobném tradicnímu srpu, bez nakloněni upinací hlavy dratu během uvedené operace.
Zkuste nejdrive sekat na spravnou vysku na malé plose, abyste poté dosáhli rovnoměrné vysky udržovámim upinaci hlavy dratu v konstantné vzdálenosti od terenu.
U náročnéjsího secení můze být užitečné naklonit upinaci hlavu drátu príblízně o 30° dolea.
UPOZORNÉNI!
Nepostupujte uvedenym
zpusobem v priade, ze existuje moznost
zpusobeni yvmrsteni predmetu, ktere mohou
ublizit osobam, zviratum nebo zpusorbit
skody.
- Přesné štežáni (Dokončovací práce)
Udrzujte stroj mirne nakloneny, tak, aby se spodni ccast upinacn hlavy dratu nedotykala terenu a aye suroven rezani nachazela v pozadovanem bode; rezaci zaifeni je tfeba nestuste drzet v dostateché vzdalenosti od obluhy.
- Rezání v blízkosti plotu / základu (Obr. 17)
Pomalu priblizte upinacihlavu dratu k plotum, kolikum, skalam, stenam atd., aniz bystande jezasahli s pouzitim sily.
Když drát narazi na odolnou prěkážku, můze se prethrnout nebo opotřebovat; když se zachytí do oplocení, můze se prudce prethrnout.
V kaźdem pripadě ěrezán kolem chodniku, základu, stěn atd. můze způsobit větěsi opotřebení drátu než obvykle
- Rezání kolem stromú (Obr.18)
Kračejte kolem stromu zleva doprava, pomalu se pprojilžujte ke kmenūm, tak, abyste nenarazili dratem o strom, uadržujte upinaci hlavu dratu lehce naklonenou dopfedu.
Mëjte na pameti, ze nylonový drát se mûze roztrhout nebo poškodit malé keře a ze naraz nylonového drátu o kmen keře nebo stromu s jemnou kūrou jej mûze vázné poškodit.
- Seizeni delky dratu beshem pracovni cinnosti (Obr. 19)
Použití nože ve tvaru pily je
zakazano na novejsch strojich oznachen cyisluynym symbolem (viz kap. 2 c. 6). Za ucelem jeho pouziti tam, kde je povoleno, je treba namontovat specifikou ochranu. Nuz musi byt radne nabrousen za ucelem snizeni rizika zpětného vrhu.
A UPOZORNENI!
V pripadé kácení malych
stromu urcete smr pádu odrezaného stromus ohledem na smr vetru.
Za ucelem dosazeni dobryh vysledku pri kaceni malych stromu je tbreba provest odrezani rychlym pohybeb smerem k odrezavané vetvi nebo kmenu s motorem na maximnich otackach.
Vyhnete se pouziti pravé zony noze, protoze v teto zone existuje yvsoké riziko zpětného vrhu nebo zastaveni noze zpúsobeného směrem otáčeni.
UKONÇENİ PRACE
Po dokončeni práce:
Zastavte motor vyse uvedenym zpusobem (Kap. 6).
- Vyčekje na zastavení įrezacího zařízení a namontujte ochranu nože (pri použití nožú se 3 nebo 4 hroty nebo nožú ve tvaru pily).
8. UDRŽBA A SKLADOVÁNÍ
Správná udrzba je záklem pro zachováni púvodní učinnosti a provozné bezpečnosti stroje.
A UPOZORNENI! Bēhem operaci udrzby:
- Odpjote kryt zapalovaci svicky.
- Pockejte, až se motor patričné ochladi.
- Pri operacích, ktere se týkajnožu, používejte ochranné rukavice.
- Nechte namontovanou ochranu noze s výjimkou pripadú, kdy se jegná o zásahy na samotném noži.
- Nezahazujte do okoli olej, benzin ani jiny znečiš'ujíci material.
VALEC A TLUMIC VYFUKU
Aby se snizilo riziko pozaru, cistete pravidelné zebrovi valce stlaenym vzduchem a ociistepe prostor tlumice od pilin, vetevek, listne nebo jinych ulomku.
STARTOVACI JEDNOTKA
Abyste predešli prehráti a poskození motoru, nasavaci mřížky chladicho vzduchu musi byt neustále udžovány v Čistém stavu a musi byt zbaveny pilin a ulomkú.
Startovaci lanko musi byt vyměnéno prí prvnich známák ch poškození.
UPEVNÉNI
Pravidelné kontrlujte dotaženi vsech sroubú a matic a dokonalé upevněi rukojetí.
CISTENI VZDUCHOVEOH FILTRU (Obr. 21)
DULEZITÉ Čišění vzduchového filtru je základem pro správnou Činnost aživotnost stroje. Nepracujte bez filtru nebo s poškozeným filtrem, abyste nezpúsobili trvalé škody na motoru.
Cisteni se musi provadět po každych 8-10 hodinach prace.
-Zatlačte jazyček (3) a odmontujte viko (1) a poté filtračné prvek (2).
- Filtracni vlozku (2) omyte mydlem a vodou. Nepouzivejte benzin ani jina Rozpoustedla.
- Nechte vyschnout vzduchovy filtr.
Provede zpétnou montáž filtracniho prvku (2) a krytu (1).
KONTROLA SVICKY (Obr. 22)
Pravidelné odmontujte a vyčistěte svíčku; odstraťne prípadné nánosy kovovým kartáčkem.
Pristup ke svicce je mozny po odrsroubovani sroubu klicem z priusuensstvi a po odstrenihorni masky.
Zkontrolujte a obnovte správnou vzdálenost mezi elektrodami
Namontuje svicku zpét a dotáhněte ji na doraz kličem z príslušenství.
V pripadé spálenych elektrod nebo opotbrené izolace a po kázdych 100 hodináché cinnosti se svícka musi nahradit novou svíckou se stejnymi vastnostmi.
VYMENA MOTOROVÉHOLEJE
Vyprázdne tete olejovou nadrž pri jestě teplém motoru, abyste si zajistili jej rychlé a upné vypustěni.
- Zkontrolujte, zda je uzáver palivové nárže rákne dotažen.
- Sejměte uzáver olejové nadrže a nakloněním motoru na stranu naševaciho hrdla olejové nadrže vypustě olej do sběrně nádoby.
- Naplnte nadrz doporučeným druhem oleje a zkontrolujte hladinu.
- Vratte na puvodni misto uzavcr olejové nadrze.
SERIZENI KARBURATORU
Karburator se serizuje ve vyrobnim zavode tak, aby se docililo maximalinho vykonu ve vsech podminkach pouziti s minimalinimi emisi skodlivych plynup podle platnych predpisu.
V pripadě nedostatečného vykonu se obratte na vaseho Prodejce za učelem kontroly karburace a motoru.
- Señizení minimálnich otáček
UPOZORNENI!
Serfzeni minimálnich
otáček se smí provadět pouze v pripadě, ze se šrezaci zařizení pohybuje s motorem pri minimálnéch otáčkác.
Snizeni rychlosti se dosahuje otacenim sroubu oznaceneho «MIN» proti smeru hodinovych ruciček az do dosaženi zastaveni rezacilo zairzeni za dostatečné pravidelné cinnosti motoru.
Jestlize motor pri minimálnich otáčkách pracuje nepravidelné, pootočte šroubem ve směru hodinovych ručíček pro zvyšeni rychlosti.
A UPOZORNENI!
Rezacá zarizen se nésmi
pohybovat s motorem pri minimánlich otáčkách;Pokud se nepodáři docilit dostatečného serízení, obrte se na vaseho prodejce.
PRAVOUHLÁ PřEDLOHA (Obr. 23)
Namažte mazacim tukem s obsahem lithia.
Odmontujte srob (1) a vlozte mazaci tuk manuálnim otácením híridele až po vytečeni mazaciho tuku; poté proved'te zpětnou montáż sroubu (1).
NABROUŠENÍ NOŽE SE 3 NEBO 4 HROTY (Obr. 24)
A UPOZORNENI!
Používejte ochrannes ruka-
vice. Když je núž broušen, aniž by byl odmon-tován, odpojté kryt zapalovaci svicky.
Nabroušeni musi byt provedeno s ohledem na druh noze a šreznych hran s použitim plochého pilíku; je třeba postupovat rovnoměrně na všech hrotech.
A = Chybné broušení
B = Meze broušeni
C = Chybné nepravidelné rohy
Je dulezite, aby po nabrouseni zustalo zachovano vyazeni.
Noze se 3 nebo 4 hroty jsou pouzitelné z obou stran. Když je jegna strana hrotu opotbrebená, je mozné otočit nuz a použit druhou stranu hrotú.
UPOZORNÉNI!
Nuz se nesmi nikdy opra
vovat, ale je tbreba jej vymenit pri prvnich náznacich poskozeni nebo prekrocení meznich hodnot brouseni.
Při vyměne nylonového drátu postupujte dlpekynú priložen'ych k upinací hlavě.
NABROUŠENI NOZE NA ODREZÁVÁNÍ DRÁTU (Obr. 25)
- Odmontujte nuž na odřežávání drátu (1) z ochrany (2) po odšroubovány šroubu (3).
- Upevnete nuž na odrezávani drátu do svěrák u postupujte pri broušeni s pouzítim plochého pilniku. Dbeje pritom na zachovány púvodniho uhlu Žežán.
- Namontujte nuz na ochranu.
NABROUŠENI NOZE VE TVARU PILY S 24 ZUBY (Obr. 26)
UPOZORNENI!
Používejte ochranné ruka-
vice. Když je núž broušen, aniž by byl odmon-tován, odpojte kryt zapalovaci svicky.
Zkontrolujte, zda je ohnuti zubu noze prblizné 1 mm a dle potreby jej seridte s pomoci klesti.
Rovnomérne nabruste vsechny zuby okrouhlym pilnikem (1) s prüměrem 5,5 mm. Pilnik používejte zpúsobem vedeným na obrázku a púsobte stridavé na levé a právezúby.
Profil zubu nesmi byt ménen.
A UPOZORNENI!
reverzibilni, a proto jej lze použit pouze z jeder strany.
Nuz se nesmi nikdy opravovat, ale je tbreba jej vymenit pri prvnich naznacich poškozeni nebo prekroceni meznich hodnot brouseni.
MIMORADNÉ ZÁSAHY
Kazda operace udrzby, ktera neni zahrnuta v tomto navodu, smi byt provadena vyhradne vašim Prodejcem.
Operace provadene u neadekvatnich organazic nebo operace provadene nekvalifikovanym personalem zpusobi propadnuti jakekoli formy zaruky.
SKLADOVÁNÍ
Po ukončeni kazdé pracovní směny dūkladné očistěte stroj od prachu a ulomků, opravte a nahrad'te poskozné současti.
Stroj se musí skladovat naSuchém miste,
chränēnm预先 povětrnostními vlyv, se správně namontovanou ochranou.
- Nastartujte motor a nechte jej bežet pri minimálnich otáčkách až do jeho zastaveni, aby spotřeboval veškeré palivo, které zústalo v karburátoru.
- Nechte motor vychladnout a odmontujte svicku.
- Nalijte do otvoru svicky Izicku noveho oleje.
- Nekolikrát potáhněte za startovaci rukojet, aby se olej Rozptyil po valci.
- Namontujte zpět svčku s pístem v horní uvrati (je vidět otvorem pro svčku, když se píst nacházi v poloze odpopvidajci maximálímu zdvihu).
DULEZITÉ Jestlize prédpokladame dobu nečinnosti stroje delsí než 2 - 3 měsicu, je třeba dodržet několik zásad, abychem se vyvarovali potziží pri opětovné uvedeni stroje do cinnosti nebo trvalych poskozné motoru.
- Uskladněni
Prid uskladnelnim stroje:
- Vyprázdněte palivovou nádržku.
Opétovné uvedeni do Činnosti
Při opětovém uvedeni stroje do Činnosti:
- Sejměte svicku.
- Několíkrát potáhněte za startovaci rukojet, abyste odstranili prebytky oleje.
-Zkontrolujte svicku zpusobem popsanym v kapitole "Kontrola svicky". - Pripravte stroj zpūsobem popsanym v kapitole "Priprava na práci".
9. LOKALIZACE PORUCH
| ZÁVADA | PRAVDÉPODOBNÁ PRÍČINA | REŠENÍ |
| 1) Motor se nedá nastartovat nebo jej nelze udržet v chodu | - Nesopravně provedené startování | - Rid'te se pouyny (viz kap. 6) |
| - Špinavá svíčka nebo nesprávná vzdálenost mezi elektrodami | - Zkontrolujte svíčku (viz kap. 8) | |
| - Ucpaný vzduchový filtr | - Vycistěte a/nebo vyměné filtr (viz kap. 8) | |
| - Problémy s karburaci | - Obrat'te se na vašeho Prodezce | |
| 2) Motor nastuje, ale má nízký vykon | - Ucpaný vzduchový filtr | - Vycistěte a/nebo vyměné filtr (viz kap. 8) |
| - Problemy s karburaci | - Obrat'te se na vašeho Prodezce | |
| 3) Činnost motoru je nepravidelná nebo chybí vykon pri zátěži | - Špinavá svíčka nebo nesprávná vzdálenost mezi elektrodami | - Zkontrolujte svíčku (viz kap. 8) |
| - Problemy s karburaci | - Obrat'te se na vašeho Prodezce |
10. TECHNICKÉ UDAJE
Motor 4-taktni, zduchem chlazeny
Objem / Vykon
Mod. 28H - 28HD. 25 cm³ / 0,81 kW
Mod. 38H - 38HD 35 cm³ / 1,2 kW
Rychlost otáčeni motoru pri minimálnich otáčkach
Mod. 28H - 28HD 2900-3300 ot./min
Mod. 38H - 38HD 2900-3300 ot./min
Maximánlý rychlost otáčení motoru
Mod. 28H - 28HD 10500-11000 ot./min
Mod. 38H - 38HD 10500-11000 ot./min
Maximánlí rychlost otáčeni nastroje
Mod. 28H - 28HD 8500 ot./min
Mod. 38H - 38HD 8500 ot./min
Svicka... NGK CM5H (nebo ekvivalentni)
Palivo: .... Bezolovnaty (zeleny) benzin s minimálím oktanovym cislem 90.
Maximánlí povolený prùměr nožú
Nuz se 3 hroty . 0255mm
Nuz se 4 hroty 255 mm
Nuz ve tvaru pily (s vjimkou Mod. 28H -
28HD-38H) 0255mm
Hmotnost 1)
Modely "MONO" od 5,3 do 7,1 kg
Modely "DUPLEX" od 5,5 do 8,2 kg
1) Hmotnost podle normy ISO 11806 (bez paliva, rezacich zarizenia ochrany)
Fonometrické měréní a měréní vibrácí
| Model........................... | 28H | 28HD | 38H | 38HD |
| Zjiistěné uroven hluku (ISO 10884) dB(A) | ||||
| s upináci hlavou drátu ..................... | 108,1 | 107,9 | 106,3 | 109,7 |
| s nožem se 4 hroty.................... | 106,0 | 106,1 | 103,5 | 106,5 |
| Ároven hluku u ucha obsluy (EN 27917) dB(A) | ||||
| s upináci hlavou drátu ..................... | 94,6 | 95,1 | 92,1 | 94,7 |
| s nožem se 4 hroty.................... | 94,3 | 91,2 | 93,2 | 93,7 |
| Vibrace prěnášené na ruku na prědní rukojeti ("MONO") (ISO 7916) m/sec2 | ||||
| pri minimálnéch otáčkáché .......... | 2,4 | - | 2,2 | - |
| s upináci hlavou drátu ..................... | 8,3 | - | 5,9 | - |
| s nožem se 4 hroty.................... | 7,8 | - | 2,8 | - |
| Vibrace prěnášené na ruku na zadné rukojeti ("MONO") (ISO 7916) m/sec2 | ||||
| pri minimálnéch otáčkáché .......... | 2,0 | - | 2,9 | - |
| s upináci hlavou drátu ..................... | 8,1 | - | 6,7 | - |
| s nožem se 4 hroty.................... | 9,2 | - | 4,7 | - |
| Vibrace prěnášené na ruku na levé rukojeti ("DUPLEX") (ISO 7916) m/sec2 | ||||
| pri minimálnéch otáčkáché .......... | - | 1,3 | - | 1,3 |
| s upináci hlavou drátu ..................... | - | 7,2 | - | 2,1 |
| s nožem se 4 hroty.................... | - | 5,4 | - | 2,0 |
| Vibrace prěnášené na ruku na pravé rukojeti ("DUPLEX") (ISO 7916) m/sec2 | ||||
| pri minimálnéch otáčkáché .......... | - | 1,9 | - | 1,4 |
| s upináci hlavou drátu ..................... | - | 7,7 | - | 3,3 |
| s nožem se 4 hroty.................... | - | 5,3 | - | 3,7 |
SnadnýManuál