SB435HD - Dammsugare STIGA - Gratis bruksanvisning och manual
Hitta enhetens manual gratis SB435HD STIGA i PDF-format.
Questions des utilisateurs sur SB435HD STIGA
0 question sur cet appareil. Repondez a celles que vous connaissez ou posez la votre.
Poser une nouvelle question sur cet appareil
Ladda ner instruktionerna för din Dammsugare i PDF-format gratis! Hitta din manual SB435HD - STIGA och ta tillbaka ditt elektroniska enhet i hand. På denna sida publiceras alla dokument som behövs för att använda din enhet. SB435HD av märket STIGA.
BRUKSANVISNING SB435HD STIGA
SV Buskröjare - BRUKSANVISNING
WARNING: Läsigenom hela detta höfte innan du använder
maskinen.
FI Trimmeri-KAYTTOOHJEET VAROITUS:
vi vill Först och främst tacka für att du har valt en av väraprodukter. Vi hoppas använding av din nya maskinkommen att medföra tillfredsstellelse och att denkommen att motsvara dina forväntingar till fullo. Denna brauksanvising har tagits fram for att ge dig en möjligheit att lara kànnaskinen bättre for att använda den på att säkert och effektiv satt. Glöm inte att brauksanvisingen ar en viktig del av maskinen; ha den alltid till hands och se till att den foljer med maskinen om den saljs vidare erer om ni lánar ut den.
Denna nya maskin har utarbetats och tillverkats enligt gällande standarder och den ar darmed saker och pällig, Förutsatt att den används welt eingrumentionerna i denna bruksanvising (avsedd användning); all annan användning smst bristande observation av sakerhetsforeskrifterna, instruktionerna for unterhalb och reparation ar att betraktas som "felaktig användning" och medfor att garantin upphör att gälla och likasa alla ansvar for tillverkaren. Användaren ansvarar dsjälv for eventuella skador eller äverkan på egen erller annan person.
Ifall ni skulle stöta på nagra minde skillnader mellan vad som beskrivs har ienna bruksanvisning och er maskin sa ha i minnet att detta kan bero pa den kontinuereglia forbättringen av produkten. Informationen ienna bruksanvising kan andras utan att i forhand meddela detta och utan uppdateringsplikt. Daremotkommen de huvudsakliga egenskaperna for sakerhet och Funktion alltid att kvarsta. Vid tvekan sa kontakta er aterforsäljare. Lycka till!
INNEHÄLLSFORTECKNING
- Identifering av maskinen och dess delar 2
- Symboler 3
- Sakerhetsforeskrifter 4
- Montering av maskinen 6
- Forberedelse av arbetet 8
- Start - Anwendung - Stopp av motorn 9
- Anvandning av maskinen 11
- Underhäll och forvaring 14
- Felsökning 16
10.Tekniska Data 17
1. IDENTIFIERING AV MASKINEN OCH DESS DELAR
MASKINEN OCH DESS DELAR
- Motorkropp
- Riggrör
- Skärsystem
a. Klinga med 3 eller 4 tandade
b. Trimmerhuvud med trad
- Skydd for skärurtrustningen
- Främre handtag
- Skydd
- Styre
- Bakre handtag
- Uphangning for stödsele
- Markplat
- Stödsele
a. med enkel rem
b. med dubbel rem
- Vinkelvaxel
- Skärbladskydd (for transport)
- Tändstift



“MONO”

"DOUBLEX"
KOMMANDON OCH PAFYLLNING
- Stopkontakt
- Gasreglage
- Gasreglagesparr
- Starthandtag
- Chokereglage (Starter) (om det ingar)
-
Flödare (Primer) (om det ingár)
-
Bransletanklock
- Oljelock
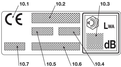
MÄRKPLÄT
10.1) CE-märkt enigt maskindirektiv 98/37/EG
10.2) Tillverkarens namn och adress
10.3) Ljudeffektnivå LWA enligt direktivet 2000/14/EG
10.4) Tillverkarens referensmodell
10.5) Maskinmodell
10.6) Serienummer
10.7) Tillverkningsar

2. SYMBOLER









1) Varning! Fara. Denna maskin ar om den inte anvands på att riktigt satt farlig i sig och for andra.
2) Lásigenom bra克斯anvisingen innan du anvander maskinen.
3) Den som dagligen och kontinuertigt anvanderenna maskin under normala forhallanden kanutsattas for buller pa 85 dB (A) aller mer. Anvandhorselskydd och bar skyddshjalm.
4) Använd skyddshandskar och skyddsskor!
5) Fara for att foremål slungas ivag! Håll alla personer eller husdjur på minst 15 m avstand'nar maskinen används!
6) Använd inte klingor med cirkelsag. Fara: Användning av klingor med cirkelsag på maskiner medenna symbol utsätter användaren forara for alvariga skador och t.o.m. dödsrisk.
7) Maximal hastigkeit für skärutrustningen. Använd endast lamplig skärutrusting
8) Ljudeffektnivå Lwa enligt direktiv 2000/14/CE
FÖRKLARING AV SYMBOLER PÅ MASKINEN (om det ingår)

11) Bransletank
12) Position for strombryta- ren for att stoppa motorn a = stopp
b = drift

13) Justering av tomgång

14) Chokereglage (Starter)

15) Flödare (Primer)

16) Korrekt position for rigg-rorets handtag
FÖRKLARING AV SKYDDSSYMBOLER (om det ingár)


21) Skärurrustning
for vilka skydden
är lämpiga
22) Att anvanda med trimmerhuvud med trad
23) Rotationsriktning for skarutrust- ningen
3. SÄKERHETSFÖRESKRIFTER
A) UTBILDNING
1) Läs noggrant igenom instruktionerna. Lar dig att kännä igen kontrollkommandona och använd maskinen pa lämpigt satt. Lar Er att snabbt stoppa motorn.
2) Anvand maskinen for det den ar avsedd for, dvs.
- trimma gräs och roja buskar som ar ej ved-artade, med hjäpl av nylontråd (till exemplängs rabattkanter, odlingar, murar, inhängningar eller gröna områden av begränsad yta fort att finbeskärä utförd rönning med en slättermaskin);
- roja högt gräs, buskar,GRENAR och buskväxter med en diameter paupp till 2 cm,med hjalp av klingor i metall erler plast.
All annan användning kan vara farlig och skada maskinen.
3) Tillat aldrig att maskinen anvands av barn eller av personer som inte kanner till instruktionerna tillrackligt. Lokala bestammelser kan ange en minimälder for dess anzünding.
4) Maskinen fär endast användas av en person.
5) Använd aldrig maskinen:
- i narheten av personer, specielt barn, eller djur;
- om användaren ar trött eller mär dalgit, eller har tagit medicin, droger, alkohol eller andra ämnen som kan páverka omdömet och uppmärksam-heten;
- om användaren inte är i grad att hälla i maskinen med att stadigt tag med bada handerna och/eller stå stadigt på benen under arbetet.
6) Glöm inte, att operatören eller användaren är ansvarig für eventuella olycksfall och oförutsedda handelser gentemot andra personer och deras ergendom.
B) FÖRBERDELSER
1) Under arbetet sá ār det nödvändigt att bár lamplig klädsel som intehindrar arbetet.
- Bär Åtsittande kläder med sagskydd.
- Bar skyddshjäm, skyddshandskar, skyddsglas-gön, skyddsmask och skyddskor med säg-skydd och halkfri sula.
- Använd hörsselydd für att skydda hörsein.
- Bär inte sjalar, skjortor, halsband och andra hangande eller vida foremål som kan fastna i maskinen eller foremål och material som finns på arbetsplaten.
- Samla ihop langt hare.
2) WARNING: FARA! Bensinär lättantändigt;
- forvara branslet i därtil avsedd godkänd behällare;
- rök inte när ni häller på med brändslet;
- öppna branslelocker lungsamt sa att det inre trycket gradvis toms ut;
- pafyllning av bransle fär endast ske utomhus med hjälp av en tratt;
- fyll på innan motorn startas; fyll inte på med bransle eller ta bort locket Near motorn ar i Funktion aller ar varm;
- satt inte på motorn om det lacker bensin och for att inte orsaka brandrisk sä ta bort maskinen fran'on mrådet)där branslet har spillts och vanta tills branslet har avdunstat ochbensinängorna har lõsts upp;
- gör noggrant rent alla spär av bensin som spill-lts på maskinen eller marken;
- starta inte maskinen på nytt på den plats)där pafyllningen genomförts;
- undvik att spilla bransle på kläderna, om detta skulle inträffa söbyt kläder innan man startar motorn;
- satt alltid tillbaka och dra Åt locken for tanken och bensinbehällaren.
4) Byt ut felaktiga eller trasiga ljuddampare.
5) Innan användning, sä utfor en allman kontroll av maskinen och dä särskilt: - gasreglaget och gasreglagesparren skall ha en fri rorelse utan att vara trog och nar man slappper dem saskall de automatiskt och snabbt gà tillbaka till neutral position;
- gasreglaget skall varablockerat om man inte trycker pa gasreglagesparren;
- motors stoppkontakt skall latt flytta sig fran en position till en annan;
- elkablar och särskilt tändstiftets kabel skall var hela for att undvika att det uppstar gnistor och hatten skall vara korrekt monterat på tändstiftet;
handtag och skydd på maskinen skall hallas rena och torra och fast fixerade till maskinen; - skärutrustningen och skydden fär aldrig komma till skada.
6) Kontrollera att man har en korrekt position av handtaget och upphängningen for stödselen, och bra balans av maskinen.
7) Innan man pabörjar arbetet sä se till att skydden ar anpassade till den skärurtrustning som används och att de ar korrekt monterade.
8) Kontrollera arbetsplatsen noggrant och ta bort allt som kan slungas ivag av maskinen eller som kan skada skarenheten och motorn (stenar, staltrad, ben, m.m.).
C) UNDER ANVÄNDNINGEN
1) Starta inte motorn i stängda utrymmen där far-liga koloxidgaser kan samlas.
2) Arbeta endast vid dagsljus ellr med en god belysning.
3) Inta en stilla och stabil ställning:
-
sa长远e det ar möjigt sa undvik att arbeta pa vát eller halkig mark eller pa en farofyld eller brant mark som inte garantar er stabilitet for operatoren under arbetet;
-
spring aldrigutan gao och se upp for alla ojammheterpamarken och om det finns nagra hinderi vagen;
- Beräkna vilka huvudsakliga risker det finns på arbetsplatsen och vindta nödvändiga ätgårder for att garanter högsta sakerhet, speicielt vid sluttninger, ojämn mark, eller halkig eller rörliga marker.
- Vid sluttningar sá arbeta pá tvären i sluttningen och aldrig uppät eller nedät, ochhall alltid skärutrustingen nedät.
4) Starta motorn med maskinen blockerad ordentlich: - starta motorn Åtminstone 3 meter frän den plats där man fyllt på med brändsle
- kontrollera sa att alla andra personer befindner sig Åtminstone på 15 meters avstand frän maskinens räckvidd eller minst 30 meters avstand vid farliga arbeten;
- rikta aldrig ljuddamparen och darmed avgas mot lattantändigt material:
5) Åndra inte motorns inställninger och låt inte motorn på att alltför högt varvtil.
6) Driv inte maskinen for mycket och använd inte en liten maskin for hårdar arbeten; användning av en anpassad maskin minskär riskerna och forbätt-rar arbetskvaliteten.
7) Kontrollera att maskinens varvital inte paverkare skärutrustningens roelse och att man effer att ha gasat ser till att motorn snabbt sjunker mot minimum.
8) Se till att skärklingan inte slår emot främmande foremål och se upp for foremål som kan slungas ivåg på grund av skärklingans rörelse.
9) Hall alltid maskinen fasthakad till stödselen under arbetet.
10) Stoppa motorn:
- var gäng motorn står obevakad.
- innan bransle fylls på.
- vid Förflyttning mellan arbetsplatser.
11) Stoppa motorn och dra av tändstiftskabeln:
- innan du kontrollerar, rengör aller ut För arbeten på maskinen;
- after att ha slagit emot ett främande foremål. Kontrollera ev. skador och reparera om nödvändigt, innan maskinen används på nytt;
- om maskinen börjar att vibrera på ett onormalt satt: i sä fall sä försök att forsta orsaken till vibrationerna och atgårda detta;
- när maskinen inte skall användas.
D) UNDERHÄLL OCH FÖRVARING
1) Se till att muttrar och skruvar ar Åtdragna for att alltid ha en maskin med säkra Funktionsförhäll- landen. Ett regelmässigt unterhäll ar väsentigt for sakerheten och for att upprätthalla prestationsnivån.
2) Förvara aldrig maskinen med bensin i tanken i ett rum, där bensinängorna kan nås av eldslåga,
gnista aller stark värmekälla.
3) Låt motorn källna innan maskinen ställs inomhus.
4) For att minska brandrisken skamotorn, utloppetamtljuddamparen och bensinforvaringsstallet vare fria fransagspan,grenar,lovller overflodtigt fett. Lamna inte behallare med materiaret som kapats inomhus.
5) Om tanken måste tömmas, sö skall detta göras utomhus och med kall motor.
6) Bär skyddshandskar För alla typér av ingrepp på kapsystemet.
7) För sakerhets skull sö använd aldrig maskinen om delar av den är utslitna eller trasiga. Trasiga delar masta bytas ut, aldrig repareras. Använd endast originalreservdilar. Delar av annan kvalitet kan skada maskinen och paverka sakerheten. Skärutrustningen skall alltid bara tillverkarens marke som hänvisning till maximal användningshestighet.
8) Innan man ställer undan maskinen sä se till att man tagit bort nycklar aller verktyg som använts for unterhällarsarbeitet.
9) Ställ maskinen utom räckhäll for barn!
E) TRANSPORT OCH FÖRFLYTTNING
1) Var gäng som man mäste förflytta aller transportera maskinen sa mäste man:
- stänga av motorn, vänta tills skärutrustningen stoppat och ta bort tandhatten;
- satta dit skarurustningens skydd;
- häll enbart maskinen i handtagen och riktaskärurtrustningen i motsatt riktning an den for drift.
2) När man transporterar maskinen med att fordon, sä mäste man placera den sa att den inte utgör fara for näng on satta fast den ordentlich sa att den inte välter, vilket kan gö r att den gär sönder och att bransle rinner ut.
F) HUR DU LÄSER BRUKSANVISNINGEN
I braksanvisingens text sö finns det nagra paragrafer av särskild vikt som markerats after graden av vikt och vars innebörd ar den foljande:
ANMÄRKNING
eller
VIKTIGT
ligare det ovanstäende avsnittet. Detta für att undvika att maskinen skadas aller orsakar skador.
WARNING!
Fösummelseinnebarrisk
for avkeran pagen erer annan person.
FARAI!
Fösummelseinnebarrisk
for allvarlig Åverkan, med dödlig fara, på egen aller annan person.
4. MONTERING AV MASKINEN
VIKTIGT
Maskinen levereras med
vissakomponenternedmonteradeochmed bransletanken tom.
VARNING!
Bär alltid robusta arbets-
handskar under arbetet for att arbeta med skärutrustningen. Var alltid vändigt fösiktig vid montering av componenterna sa att man inte utsäts for risker erller paverkar maskinens effektivitet; vid tvekan sä kontakta Eran Återförsäljare.
1. KOMPLETTERING AV MASKINEN
1a. Modeller "MONO"
Modell 28 (Fig.1)
WARNING!
Distanshällaren (1) har
somändamål att garantera ett minimalt avständ mellan det bakre handtaget och det främre av sakerhetsskal. Denna distanshällare skall alltid sitta pa plats och fär inte modifieras av nagot skål.
- Framfor distanshällaren (1), sä montera dit det främre handtaget (2) på riggreret (3) med hjälp av skruvarna (4) och muttrarna (5) isatta i sina avsedda säten.
- Innan man drar Åt skruvarna (4), sörikta handtaget ordentligt mot riggroret.
Dra at skruvarna (4) anda in.
Modell 38 (Fig.2)
- Montera dit det främre handtaget med skydd (1) på plastkåpan (2), genom att dra Åt skruvarna ända in (3).
- For in styret (1) i sätet som finns på stödet (2), som sitter på riggroret (3), och var försiktig sö att kommandona sitter till höger.
-
Montera dit huvudet (4), genom att dra at skruvarna (5) Ånda in.
-
Stödet (2) ar redan förmonterat på riggröret (3) på sá vis att kanten sitter i höjd med pilen (6) på etiketten; denna position fär aldrig modifie-ras.
- Skruva loss den centrala knoppen (1) och ta bort huvudet (2).
- Satt dit styret (3), och var noggrann sa att kommandona sitter till hoger.
- Rikta styret till mest bekväma arbetsposition och blockera med hjälp av huvudet (2) och knoppen (1).
2. MONTERING AV SKYDDEN
WARNING!
All skärutrustning ar
utrustad med specifika skydd. Använd aldrig andra skydd an de som indikeras for varje enskild skärutrustning.
- 3-eller 4-tandade klingor (Fig. 5)
VARNING!
Bär arbetshandskar och
satt dit klingans skydd.
- Montera bort klingan (om den ar monterad) enigt indikationerna i paragraf 3.
-
Skyddet (1) ar fixerat till vinkelväxeln (2) genom två skruvar (3).
-
Trimmerhuvud med trad (Fig. 6)
WARNING!
När man använder trimm-
merhuvud med trad sà maste man alltid montera dit det extra skyddet med tradavskära-ren.
- Montera bort klingan (om den ar monterad) enigt indikationerna i paragraf 3.
- Skyddet (1) ar fixerat till vinkelväxeln (2) genom två skruvar (3).
- Montera dit det extra skyddet (4) genom att fora in fästena i respektive säten på skyddet (1) och genom att trycka ända tills det klickar till.
3. NEDMONTERING OCH TILLBAKA MON-TERING AV SKÄRUTRUSTNING
A VARNING!
Användendast original
skärutrusting aller som har godkänts av tillverkaren.
3-eller4-tandade klingor
WARNING!
Bär arbetshandskar och
satt dit klingans skydd.
stergängad och skall därmed skruvar loss i riktningen medsols och skruvas fast i riktningen motsols.
- Satt in nyckeln (2) som medfoljer i hålet på vinkelväxeln (3) och rotera klingan (1) for handända tills nyckeln i det inre håletkommen i vägen och blockerar rotationen.
- Ta bort koppen (4) genom att lossa på muttern i riktningen medsols.
- Dra ur den utvändiga kulringen (5) och ta bort klingan (1).
Vid montering,
- Se till att den inre kulringens spar (6) helt och hallet stammer overens med vinkelväxeln (3).
- Montera dit klingan (1) och den utvändiga kul-ringen (5).
- Montera tillbaka kopen (4), genom att dra at muttern Ånda in i riktningen motsols.
- Ta bort nyckeln (2) für att Återställa klingans rotation.
Koppens (4) skruv ar vänster
gängad och skall därmed skruvar loss i riktningen medsols och skruvas fast i riktningen motsols.
- Satt in nyckeln (2) som medfoljer i帽子 pa vinkelväxeln (3) och rotera klingan (1) for hand ända tills nyckeln i det inre帽子 kommt i vagen och blockerar rotationen.
-Ta bort koppen (4) genom att lossa pa den centrala skruven i riktningen medsols. - Dra ur den utvändiga kulringen (5) och ta bort klingan (1).
Vid montering,
- Se till att den inre kulringens spar (6) helt och hallet stammer overens med vinkelväxeln (3).
- Montera dit klingan (1) och den utvändiga kul-ringen (5).
- Montera tillbaka koppen (4), genom att dra Åt Ånda in i rikkningen motsols.
-
Ta bort nyckeln (2) für att Återställa klingans rotation.
-
Trimmerhuvud med trad (Fig. 9)
ANMÄRKNING
Trimmerhuvudet ar vaster
gängat och därmed sö skruvas det loss i riktningen medsols och skruvas fast i riktningen motsols.
- For in nyckeln (2) som medfoljer i det avsedda hålet på vinkelväxeln (3) och rotera trimmerhuvudet (1 eller 1a) for hand ända tills nyckeln i det内在 hålet sätter sig i vägen och blockerar rotationen.
- Ta bort trimmerhuvudet (1) genom att skruva i riktningen medsols.
Vid montering,
- Se till att den inre kulringens spär (4) helt och hallet stämmer overens med vinkelväxeln (3).
-
Montera dit trimmerhuvudet (1) genom att skruva i riktningen motsols.
-Ta bort nyckeln (2) for att aterstalla axelns rotation. -
Sågklinga (om det ar tillatet)
WARNING!
Användning av sagklingor
är forbjudet på maskiner med tillhörande symbol (se kap. 2 nr. 6).
För montering av skydd och sagglinga sö följ instruktionerna som medfoljer detta tillbehör.
5. FÖRBEREDELSE AV ARBETET
KONTROLL AV MASKINEN
Innan man pābörjar arbetet sá maste man:
- kontrollera att det inte finns nagra Lossa skruvar på maskinen och skärutrustningen;
- kontrollera att skärutrustingen inte ár trasig och att de 3-ller 4- tandade metallklingorna (om de ár monterade) ár riktigt vassa;
- kontrollera att luftfiltret ar rent;
- kontrollera att skydden sitter fast ordentigt och att de ar effektiva;
- kontrollera att handtagen sitter fast ordentlich.
BRÄNSLE OCH SMÖRJMEDEL
Denna maskin ar utrustad med en 4-takts motor som INTE kraver nagoon extra olja i bensinen.
VIKTIGT
Att hälla på olja i bensinen
skadar motorn vilket medfor att garantin upphor att galla.
VIKTIGT
Använd endast bränsle och
smorjmedel som bibehaller prestationerna och garanterar att de mekaniska encheterna varar med tiden.
Använd endast blyfri bensin (grön) med minst 90 oktan.
VIKTIGT
Grön bensin avger belägg
ningar i behallaren om den bevaras där i mer än 2 manader. Använd alltid färsk bensin!
FARAI!
Bensinärbrandfarligt!
- Bevara bensinen i en godkänd behällare für bränsle, på en saker plats, langt是从 värmekällor eller fria flammor.
-Lämna inte behällaren sa att barn kan komma at den.
Använd endast olja av optimal kvalitet som ar
specifik for 4-takts motorer, med hog detergent, och med en SF-SG klassificering och viskositet SAE10W30.
VIKTIGT
Användning av ej detergent
olja, olamplig aller annan typ av olja an den som indikeras skadar motorn och medfor att garantin upphor att galla.
Hos er Återförsäljare finns olja som ar avsedd forenna typ av motor, som ar i grad att garanteraett bra skydd och lang effektivitet av motorn.
PÄFyllNING AV BRÄNSLE
FARAI!
Rokinte underpafyllning
en och undvik att andas in bensinängorna.
WARNING!
Öppna varsamt locket pa
dunken dā det kan ha bildats tryck inuti.
Innan man utfor pafyllningen:
Gör rent tanklocket och området runtomkring sà att man inte smutsar ner under päfyllningar.
- Oppa varsamt tanklocket for att gradvis tōmma trycket. Fyll pa med hjälp av en tratt och undvik att fylla pa tanken ánda upp.
WARNING!
Tanklocker skull alltid
stängas och skruvas at内心的.
A VARNING!
Gör genast rent alla spär
av bensin som hamnat pa maskinen aller marken och starta inte motorn forran bensinangorna har avdunstat.
PAFYLLNING AV OLJA (Fig. 11)
VIKTIGT
Startainte motorn och
använd inte maskinen om oljenivån inte ar tillträcklig.
Forattkontrolleraoljenivan:
- Ställ maskinen plant i en stabil position med tanklocket uppåt.
-Skruva loss tanklocket och kontrollera att oljenivan nár traden på pafyllningsöppningen.
Oljetankens kapacitet ar på 80 cc (Modell 28)
eller på 100 cc (Modell 38).
6. START - ANVÄNDNING - STOPP AV MOTORN
START AV MOTORN
A VARNING! ras pa atminstor tankningsstallet.
- Ställ maskinen i en stabil position på marken.
-Ta bort klingans skydd (om det anvands). - Se till att klingan (om den används) inte snuddar marken aller andra foremål.
- Kallstart
ANMÄRKNING
Med "kallstart" sö menas
start som utförs Åtminstone 5 minuter after att motorn stoppat eller after päfyllning av brändsle.
For att starta motorn (Fig. 11):
- Ställ stoppkontakten (1) i positionen «START».
- Aktivera starter, genom att vrida på spaken (5) i position «CLOSE».
- Tryck på knappen for flödaren (primer) (6) 3-4 gänger für att underlätta igangsattning av for-gasaren.
- Hall motorenheten fast mot marken med en hand på handtaget for att inte förlora kontrollen under starten (Fig. 12).
VIKTIGT
Foratt undvika deformatio
ner saskallinte riggroretanvandasforattstodjahandernaellkranaupaunderstarten.
- Dra langsamt ut starthandtaget cirka 10-15 cm ända tills man känner på ett lätt motständ och därefter nagra snabba och kraftigare ryck tills den startar.
VIKTIGT
Dra inte ut linan helt och häll-
let saatt den gär sönder och lat den inte slapa langs kanten av linhjulet. Slapp sedan handtaget gradvis och undvik att linan Åker tillbaka paett okontrolerat satt.
6. Dra på nytt i starthandtaget ända tills motorn starter på ett riktigt satt.
WARNING!
ter inkopplad sätter skärutrustningen i rörelse som endast stoppar om man kopplan bort starter.
- Sá fort motorn startats sá koppla bort starter genom att vrida på spaken (2) till position «OPEN».
- Låt motorn gå på lågvar i Åtminstone 1 minut innan man använder maskinen.
VIKTIGT
Om handtaget for startlinan
aktiveras flera ganger med chokereglaget inkopplat sa kan det komma for mycket bransle till motorn vilket gor att det kan vara svart att starta.
Om motorn fatt for mycket bransle sa montera bort tändstiftet och dra sakta i startlinans hand-tag for att fá bort overflödet av bransle, torka direfter av elektroderna pa tändstiftet och montera tillbaka det på motorn.
- Varmstart
För varmstart (omedelbart after stopp av motorn)
så följ punkterna 1 - 4 - 5 - 6 i förgående procedur.
ANVÄNDNING AV MOTORN (Fig. 11)
Skärutrustingens hastigkeit regleras av gasreglaget (2), som sitter på det bakre handtaget (4) eller på det högra handtaget (4a) på styret.
Aktivering av detta reglage ar endast mögigt om man samtidigt trycker på gasreglagesparren (3).
Rörelse sänds från motorn till drivaxeln genom koppling till centrifugalkraft som hindrar att axeln rör sig;när motorn star på lögvarv.
A WARNING!
Använd inte maskinen om
skärutrustingen rör sig med motorn pa laggvarv; i sa fall s reglera laggvarvet (se kap. 8) och om problemet kvarstar sa kontakta er aterforsäljare.
En korrekt arbetshastighet uppnas med gasreglaget (2) helt intryckt
VIKTIGT
Under de forsta 6-8 timmar
nas maskindrift sá
maximalt varvital.
STOPP AV MOTORN (Fig. 11)
For att stoppa motorn:
- Släpp gasreglaget (2) och låt motorn gå på lögvarv under nagra sekunder.
- Ställ stoppkontakten (1) i position "STOP".
A WARNING!
After att ha ställ gasregla
get pa lagvarv sa tar det flera sekunder innan skarutrustningen stoppar.
7. ANVÄNDNING AV MASKINEN
För respekt av andra och für miljön sä:
- Undvik att störa.
-Folj noggrant lokala bestammelser for bortforskaffande av material som finns kvar after klippningen.
-Följ lokala bestammelser noggrant for bortforskaffande av olja, bensin, trasiga delar och andra encheter som kan forstora miljon.
VARNING!
Om man utsats en langre
tid for vibrationer sá kan man fá neurovaskulá skador och störning (kända även som Raynaud fenomen eller vita fingrar) speciellt für de som lider av cirkulationsstörninger. Symptomerna kan gälla händer, handleder och fingrar och symtomen kan vara att man fölorar känseln, avtrubbning, att det kliar, smärta, hudforändringar eller strukturella andringar på huden. Dessa effekter kan öka vid laga miljötemperaturer och /eller av ett für hört grepp om handtaget. Om nçon av dessa symptometer skulle uppsta sa masta man minska på användningsstiden och rådfråga en lakare.
VARNING!
Barlampligkladselunder
arbetet. Er aterforsljare kan ge er information gallande mest lamplig sakerhetsutrusting for att forebygga olyckor och for att garantera sakerheden under arbetet.
ANVÄNDNING AV STÖDSELE (Fig. 13)
VARNING!
Maskinen skall alltid
anvandas fasthakad till stödselen som skall bāras pa ratt satt. Kontrollera regelbundet att utlösningsmekanismen fungerar sa att man snabbit kan frigóra maskinen fran remmarna vid fara.
Stödselen skall sattas på innan man sätter fast maskinen till fästena och remmarna skall regleras after operatörens Höjd och kroppsbyggnad.
Om maskinen ar utrustad med flera fastsattningshal sa anvand det som underlattar att halla maskinen i balans under arbetet.
Använd alltid en stödsele som ar anpassad till maskinens vikt och für den skärutrustning som används:
- vid maskiner som vager mindre an 7,5 kg, utrustade med trimmerhuvud eller 3-ller 4-tandad klinga,SA kan stödselar med enkel rem uller dubbelrem anecdas;
- vid maskiner som vager mer an 7,5 kg, som ar utrustade med sagklinga (om det ar tillatet) sa skall endast modellen med dubbelrem ancvandas.
- Modeller "MONO" med enkel rem
Remmen (1) skall passera ovenfor vänstra axeln.
ned mot högre flank.
Modeller med dubbelrem
Remmen (2) skall sattas pa med:
- den stoppade delen och fjaderhaken på den högra sidan;
- frankopplingframat;
- remmarna skall korsas på operatorenrs rygg.
Remmarna skall vara spanda sà att de jámnt sprider ut lasten pà axlarna.
MASKINENS ANVÄNDNINGSOMRÄDEN
WARNING!
Under arbetet saskll
maskinen alltid hallas fast med bada händerna, och genom att halla motorenheten till höger om kroppen och skärutrustningen under baltets linje.
WARNING!
Stoppa motorn omedelbart
om klingan blockeras under arbetet. Se alltid upp for kast (kickback) som kan uppsta om klingan stoter paett hinder (stammar, rotter, grenar, stenor, m.m.). Undvik att klingan ror vid marken. Kasten kan gora saatt klingan blir svar att kontrolera och gora saatt man forlorar kontrollen over maskinen, vilket kan paverka operatorens sakerhet och orsaka skador pa sjalva maskinen.
Innan man pābörjar att arbete med att roja für Första gängen sā ar det lámpligt att Först lára kànna maskinen och vilken röjningsteknik som ar mest lámplig och greppa maskinen ordentlich och utföra det afterfrägade arbetet.
- Val av skärutrustning
Välj den skärutrustning som ar mest lampad for typen av arbete som skull utforas och enligt indikationerna for maximalt:
- 3-tandade klingor ar lämplica for att roja busksnar och sma buskväxter med upp till 2 centimeters diameter;
- 4-tandade klingor arlamliga att roja motstandskraftigt gras, pa storre marker;
- trimmerhuvudet kan avlågsna högt gräs och växter utan grenar i narheten av inhängnader, murar, grunder, trottoarer, runt trad osv. Eller für att helt och hallet göra rent en del av tradgården;
- sagklingan (om det ar tillatet) ar lamplig for att saga av trad med en stam pa upp till 6 cm.
ARBETSTEKNIK
Börja röjningen ovanfor växterna och sá sakta
róra sig nedat med klingan som slár av grenarna
och góra dem till smädelar.
Fortsatt med genom att anecdva maskinen som en traditionell lie med en arkrorelse pa cirka 60- 90^ ,genom att fora sig ut fran vaxterna och sa vidare.
c) Trimmerhuvud
A VARNING! Använd ENDAST nylontråd. Användning av metalltråd, trådar med plast och /eller olämpliga for huvudet kan orsaka alvarlga skador.
Under användingen säär det lämpligt att stoppa motorn och regelbundet ta bort gräs som fastnar i maskinen for att undvika att riggröret overhettas på grund av gräs som fastnat under skyddet.
Ta bort gräs som fastnat med en skruvmejsel for att gora det möjlgt for stangen att kylas av på ett riktigt satt.
VARNING!
Använd inte maskinen für
att sopa, genom att luta pa trimmerhuvudet. Motorns kraft kan gora sa att smastenar och sma foremal slungas ivag pa upp till 15 meter aller mera och orsaka skador pa saker och personer.
Rojning irorelse (Slatter) (Fig. 16)
Fortsatt med en regelbunden rorelse och genom en arkrörelse liknande en traditionell lieutan att luta pa trimmerhuvudet under arbetet.
Prova forst att slå i rätt Höjd i ett litet område for att sedan få en jämn Höjd och bibehalla trimmerhuvudet på ett konstant avständ frän marken.
Vid svårare röjning sökan det vara nödvändigt att luta trimmerhuvudet cirka 30^ till vänster.
VARNING!
Arbeta inte på detta satt
om det finns möjigheter att foremål slungas ivög och kan skada personer, djur eller orsa- ka skada.
- Precisionsklippning (Kanttrimming)
Häll maskinen lätt lutad sä att den nedre delen av trimmerhuvudet inte rör vid marken och att röjningslinjen befinner sig på önskad punkt och genom att alltid hälla skärutrustningen på avständ frän operatoren.
Närma trimmerhuvudet mot inhägnaden, stolpar, klippor, murar, m.m. atan att roja med kraft.
Om traden slar emot ett svart hinder sa kan den gsa sonder aller forbrukas; om den fastnar i en
inhägnad sā kan den bryskt skāras av.
I vilket fall som helst sā kan röjning runt trottoa-rer, husgrunder, murar, m.m. orsaka att traden slits ut mer an normalt.
Röning runt trad (Fig.18)
Gà runt tradet frän vänster till höger och narma er stammen sakta sà att träden inte slár emot tradet och genom att hälla trimmerhuvudet lätt lutat framát.
Ha i minnet att nylontråden kan skära av ellr skada sma buskar och att om nylontråden slar emot stammar pa buskar eller trad med mjuk stam sa kan växterna ta alvarlg skada.
Reglering av tradens langd under arbetet (Fig. 19)
Denna maskin ar urustad med ett huvud "Slå & Gå" (Tap & Go).
For att slappa fram ny trad sa sla trimmerhuvudet mot marken med motorn pa maximal hastighet; traden slapps automatiskt fram och kniven skar av overbliven langd.
d) Sägklinga (om det ar tillatet) (Fig. 20)
A VARNING!
Användning av sagklinga
är forbjudet på maskiner som innehar symbo- len (se kap. 2 nr. 6). För använding dā det ar tillatet med sāgklinga sä maste man montera dit det specifika skyddet. Klingan skall alltid vara ordentlich filad for att minska riskerna for kast.
VARNING!
Vid fällning av små trad sá
se upp for riktningen som tradetkommen att falla i och ta även i beaktande vindens riktning.
For att uppna ett bra resultant vid fällning av sma trad sä ar det nödvändigt att utfora sängingen med en snabb rörelse mot grenen erller stammen som skall kapas med motorn på maximal varvital.
Undvik att använda sagg Klingans högra sida dā det finns stor risk für kast videnna del eller att klingan stoppar, vilket beror på rotationsriktninger.
NAR ARBETET AVSLUTATS
När arbetet avslutats:
- Så stoppa motorn enligt tidigare indikationer (Kap. 6).
-Vanta tills skarutrustningen stoppat och montera dit klingans skydd (om man anvander 3-eller 4-tandade klingor aller sagklinga).
8. UNDERHÄLL OCH FÖRVARING
Ett korrekt unterhalb ar fundamentalt for att kunna bibehalla maskinens effektivitet och sakerhet under anvandningen.
VADING! Vid underhallsarbete:
-Ta bort tandhatten.
- Vänta tills motorn har svalnat ordentlich.
-Använd skyddshandskar vid arbeten som gäller skärbladen.
-Hall skydden monterade pakte klingan utom vid arbeten paskjalva klingan.
-Hall inte ut olja, bensin ell er annat miljoforstörande material.
CYLINDER OCH LJUDDÄMPARE
For att minska risken for brand sá gör oftera rent flansarna pá cylindern med tryckluft och ta bort sagspàn,GRENARLOV OCH annat skrapp runt omkring ljuddämparen
STARTAPPARAT
Fort undvika overhettning och skador pà motorn sá skall kylsystemet for luftintag alltid hallas rent och fritt frän sagspàn och skrap.
Startlinan skull bytas ut vid minsta utslitning.
ÄTDRAGNING
Kontrollera regelbundet att alla skruvar och muttrar ar Åtdragna och att handtagen sitter fast ordentlich.
RENGÖRING AV LUFTFILTRET (Fig. 21)
VIKTIGT Rengöring av luftfiltret ar betydelsefullt for en bra Funktion och varaktigkeit av maskinen. Arbeta inte utan filter aller med ett trasigt filter, detta kan orsaka skador på motornforall.
Rengöringen skull utforas var 8-10:er
arbetstimma.
Forattgora rentfiltret:
-
Tryck på fjädern (3) och ta bort locket (1) och därmed den filtrerande,enheten (2).
-
Rengör filtralementet (2) med tvål och vatten.
Använd inte bensin aller andra lösningsmedel. - Lat filtrt lufttorka.
- Montera tillbaka den filtrerande encheten (2) och kapan(1).
KONTROLL AV TÄNDSTIFTET (Fig. 22)
Man skall regelbundet ta bort tändstiftet och göra rent det genom att ta bort belaggningar med en metallborste.
For att komma at tändstiftet sá mäste man skruva loss skruven med nyckeln som medfoljer och ta bort den övre maskeringen.
Kontrollera och Återställ ett korrekt avständ mellan elektroderna.
Montera tillbaka tändstiftet och skruva Åt ända in med nyckeln som medfoljer.
Tändstiftet skull bytas ut mot att med sama eigenskaper om det skulle finnas brända elektröder aller forstörld isolering och i vilket fall som helst var 100:e Funktionstimme.
BYTE AV MOTOROLJA
Töm tanken frän den fortfarande ljumma motoroljan für en snabb och komplett tömning.
- Kontrollera att bransletanklocket sitter fast ordentlich.
- Ta bort oljetankloket och töm oljan i en behällare genom att luta motorn vid den del)där påfyllningsöppningen sitter på oljetanken.
- Fyll på tanken med rekommenderad olja och kontrollera nivân.
- Satt tillbaka oljetanklocket.
REGLERING AV FÖRGASARE
Förgasarna regleras i fabriken sö att maximala prestationer skall upnäs under användningen och som avger minimalt med gftig avgas i enlighet med gällande standarder.
Vid dālìga prestationer sá vänd er till Återförsälären for en kontroll av Förbränningen och av motorn.
endast utforas nar skarutrustningen ror sig och med motorn pa tomgang.
Reducering av hastigheten uppnas genom att skruva på skruven som ar märkt med "MIN" i riktningen motsols ända tills skärurustningen stoppar, med en ganska regelmässig Funktion av motorn.
Om motorn vid tomgang fungerar oregelbundet sa vrid pa skruven i riktningen medsols for att oka hastigheten.
A WARNING!
Skärutrustingen skull inte
rora sig med motorn pa tomgang; kontakta er aterforsäjare om ni inte uppnár en tillfredssstallande justering.
VINKELRETUR (Fig. 23)
Ta bort skruven (1) och smörj med fettet genom att manuell rotera axeln ända tills fettkommen ut; montera därmed tillbaka skruven (1).
FILNING AV 3- ELLER 4-TANDAD KLINGA (Fig.24)
WARNING!
Använd skyddshandskar.
Om filningen utförs atan att montera bort klingan sá kopplar bort tändhatten.
Filingen skall utforas med beaktande av vilken typ av klinga och skarurustning som anvands och genom att anvanda en flatfil och ingripa jamt p alla tander.
Hanvisninger for en riktig filning indikeras i Fig. 24:
A = Felaktig filming
B = Gränsmarkering für filming
C = Felaktiga och ojämn vinklar
Det ar viktigt att en jämn balans uppnått's after filingen.
De 3-ller 4-tandade klingorna kan anvandas pa bada sidorna. Nar tanderna pa en sida ar utslitna sa kan man vanda pa klingan och anvanda tanderna pa andra sidan.
A WARNING!
Klingan fár aldrig repare
ras utan det ar nodvändigt att byta ut den sa fort man marker att den börjar gå sönder eller om filningsgränserna överskrids.
BYTE AV TRAD PÅ TRIMMERHUVUDET
Forattbyta nylontrad sàfolj instruktionerna som medfoljer huvudet.
FILNING AV TRÄDAVSKÄRARKNIVEN (Fig. 25)
-Ta bort tradavskararkniven (1) fran skyddet(2), genom att lossa på skruven (3).
- Satt fast tradavskärarkniven i att skruvstad och bora att fila med hjälp av en flatfil och var nogrann sa att den ursprungliga skärvinkeln bibehalls.
- Montera tillbaka kniven på skyddet.
SLIPNING AV SAGKLINGA MED 24 TANDER (Fig. 26)
WARNING!
Använd skyddshandskar.
Om filingen utförs utan att klingan monterats bort sökoppla bort tändhatten.
Kontroller att klingans skrank ar pa cirka 1 mm och reglera om nodvändigt med en täng.
Slipa alla tänderna jämnt med en rund fil (1) pà 5,5 mm diameter, och genom att använda den sāsom i skissen och växla mellan att arbeta pà de vänstra eller de högra tänderna.
Tandprofilen fãr inte modifieras.
A WARNING!
Sagklingan kan endast
anvandas pa en sida.
Klingan fär aldrig repareras utan det ar nödvändigt att byta ut den sá fort man ser att den börjar gå sönder eller om gransmarkeringarna für fil-ning överskridits.
EXTRAORDINÄRA INGREPP
De underhällsingrepp som inte innesluts i denna brauksanvisning fär endast utforas av er Återförsäljare.
Ingrepp som utförs vid en olamplig struktur aller av ej kvalificerade personer medfor att all slags garanti upphör att gälla.
FORVARING
Dà ett arbetspass avslutats sá gör noggrant rent maskinen frán damm, reparera uller byt ut defekta delar.
Maskinen skull forvaras på en torr plats, skydd dad frän hättiga vaderleksombyten och med skyddet korrekt monterat.
VIKTIGT Om maskinen inte skall anvandas pa minst 2-3 manader sa maste man vidta vissa atgarden for att undvika svarghefer vid aterupptagandet av arbetet ell sa att det inte uppst permanenta skador pa motorn.
Magasinering
Innan man staller undan maskinen:
- Töm brändsletanken.
- Starta motorn och häll den i drift på tomgangända tills den stannar sö att allt bransle som finns kvar i bransletanken konsumeras.
- Låt motorn källna och montera bort tändstiftet.
- Hall en tesked med ny olja i tändstiftshälet.
-Dra flera ganger i starthandtaget for att distribuera olja i cylindern. - Montera tillbaka tändstiftet med kolven på den yttersta övre punkten (syns frän skåran på tändstiftet nar kolven är i maximal bana).
- Ateruppta arbetet
När man på nytt tar maskinen i Funktion:
-Ta bortandstiftet.
-Aktivera starthandtaget nagra ganger for att fə bort overflod av olja.
-Kontrolera tändstiftet enligt beskrivningen i kapitel "Kontroll av tändstiftet".
- Förbered maskinen,enigt indikationerna i kapitel "Förberedelse av arbetet".
9. FELSÖKNING
| FEL | MÖJLIG ORSAK | ÄTGÄRD |
| 1) Motorn startar inteEller sä stoppar den | - Felaktig startprocedur | - Följ instruktionerna (se kap. 6) |
| - Tändstiftet är smutsigt aller sä äravständet mellan elektroderna fel-aktigt | - Kontrollera tändstiftet (se kap. 8) | |
| - Tilltäppt luftfilter | - Gör rent och/eller byt ut filtret (sekap. 8) | |
| - Problem med förgasaren | - Kontakta er Återförsäljare | |
| 2) Motorn startarmen med lite effekt | - Tilltäppt luftfilter | - Gör rent och/eller byt ut filtret (sekap. 8) |
| - Problem med förgasaren | - Kontakta er Återförsäljare | |
| 3) Motorn fungerareogrelbundet aller sahar den ingen effekt | - Tändstiftet är smutsigt aller sä äravständet mellan elektroderna fel-aktigt | - Kontrollera tändstiftet (se kap. 8) |
| - Problem med förgasaren | - Kontakta er Återförsäljare |
10. TEKNISKA DATA
Cylindervolym / Effekt
Mod. 28H - 28HD 25 cm³ / 0,81 kW
Mod. 38H - 38HD 35 cm³ / 1,2 kW
Motorns tomgangsvarvtil
Mod. 28H - 28HD 2900-3300 varv/min
Mod. 38H - 38HD 2900-3300 varv/min
Max. Varvthal for motorn
Mod. 28H - 28HD ......... 10500-11000 varv/min
Mod. 38H - 38HD ......... 10500-11000 varv/min
Skärutrustningens max. Rotationshastighet
Mod. 28H - 28HD............ 8500 varv/min
Mod. 38H - 38HD...... 8500 varv/min
Tändstift. NGK CM5H (eller liknande)
Bransle: .... Blyfri bensin (grón) - minst 90 N.O.
Kapacitet for bransletank
Mod. 28H - 28HD 550 cm3
Mod. 38H - 38HD 650 cm3
Kapacitet for oljetank
Mod. 28H - 28HD 80 cm3
Mod. 38H - 38HD 100 cm3
1) Vikt enligt norm ISO 11806 (utan bransle-, skär och skyddsutrustning)
Fonometrisk uppmätning och vibrationer
| Model | 28H | 28HD | 38H | 38HD |
| Uppmätt bullernivå (ISO 10884) dB(A) | ||||
| med trimmerhuvud | 108,1 | 107,9 | 106,3 | 109,7 |
| med 4-tandad klinga | 106,0 | 106,1 | 103,5 | 106,5 |
| Bullernivå i operatörens öra (EN 27917) dB(A) | ||||
| med trimmerhuvud | 94,6 | 95,1 | 92,1 | 94,7 |
| med 4-tandad klinga | 94,3 | 91,2 | 93,2 | 93,7 |
| Vibrationsen på handen vid främre handtage (“MONO”) (ISO 7916) m/sec2 | ||||
| vid tomgång | 2,4 | - | 2,2 | - |
| med trimmerhuvud | 8,3 | - | 5,9 | - |
| med 4-tandad klinga | 7,8 | - | 2,8 | - |
| Vibrationsen på handen vid bakre handtag (“MONO”) (ISO 7916) m/sec2 | ||||
| vid tomgång | 2,0 | - | 2,9 | - |
| med trimmerhuvud | 8,1 | - | 6,7 | - |
| med 4-tandad klinga | 9,2 | - | 4,7 | - |
| Vibrationsen på handen vid vänster handtag (“DUPLEX”) (ISO 7916) m/sec2 | ||||
| vid tomgång | - | 1,3 | - | 1,3 |
| med trimmerhuvud | - | 7,2 | - | 2,1 |
| med 4-tandad klinga | - | 5,4 | - | 2,0 |
| Vibrationsen på handen vid höger handtag (“DUPLEX”) (ISO 7916) m/sec2 | ||||
| vid tomgång | - | 1,9 | - | 1,4 |
| med trimmerhuvud | - | 7,7 | - | 3,3 |
| med 4-tandad klinga | - | 5,3 | - | 3,7 |
Arvoisa Asiakas,
3) Lad motoren kole af inden at saete den i et rum.
4) For at mindske brandfaren skal motor, udstødningspotte og det rum, hvor benzinen er opbevararet, holdes fri for savsmuldsrester, kviste, blade aller overdetrevent smoremiddel. Efterlad ikke kasser med opskåret materiale i et lukket rum.
5) Hvis brændstoftanken skal tommes, bør dette gøres i det fri og med afkølet motor.
6) Baer arbejdshandsker hver gang, De foretager indgreb pa skaret.
7) Åf sikkerhedshensyn违法犯罪.
8) Sjörkendalski, sälla, och kändelskabet.
9) Sjörkendalski, och kändelskabet.
10) Sjörkendalski, och kändelskabet.
11) Sjörkendalski, och kändelskabet.
12) Sjörkendalski, och kändelskabet.
13) Sjörkendalski, och kändelskabet.
14) Sjörkendalski, och kändelskabet.
15) Sjörkendalski, och kändelskabet.
16) Sjörkendalski, och kändelskabet.
17) Sjörkendalski, och kändelskabet.
18) Sjörkendalski, och kändelskabet.
19) Sjörkendalski, och kändelskabet.
20) Sjörkendalski, och kändelskabet.
21) Sjörkendalski, och kändelskabet.
22) Sjörkendalski, och kändelskabet.
23) Sjörkendalski, och kändelskabet.
24) Sjörkendalski, och kändelskabet.
25) Sjörkendalski, och kändelskabet.
26) Sjörkendalski, och kändelskabet.
27) Sjörkendalski, och kändelskabet.
28) Sjörkendalski, och kändelskabet.
29) Sjörkendalski, och kändelskabet.
30) Sjörkendalski, och kändelskabet.
31) Sjörkendalski, och kändelskabet.
32) Sjörkendalski, och kändelskabet.
33) Sjörkendalski, och kändelskabet.
34) Sjörkendalski, och kändelskabet.
35) Sjörkendalski, och kändelskabet.
8) Inden maskinen saettes på plads, bør De sikre Dem, at alle nogler og vedligeholdelsesværktøj er fiernet.
9) Maskinen skal hestilles på en sādan mäde, at den ikke kan=vare tilgängelig for børn!
E) TRANSPORT OG HändTERING
När maskinen leveres, er
Formålet med afstands-
Motrikken i skalen (4) har
Start med at skare ovenfra på planterne, og gå derefter ned med klingen i släning säledes, at grenene skares i små stykker.
Skal smores med lithiumfedt.
För maskinenHenstilles:
Motor 4-taktsmotor med luftkoling
Slagvolumen / Effekt
Mod. 28H - 28HD 25 cm3 / 0,81 kW
Mod. 38H - 38HD 35 cm3 / 1,2 kW
Omdrejningshastighed med motor i minimum
Mod. 28H - 28HD 2900-3300 odomr./1'
Mod. 38H - 38HD 2900-3300 omdr./1'
Maksimal omdrejningshastighed for motor
Mod. 28H - 28HD 10500-11000 omdr./1'
Mod. 38H - 38HD 10500-11000 omdr./1'
a. Blad med 3 eller 4 spisser
b. Trädspole
- Beskyttele av skjaerutstyret
- Handtak fremme
- Vern
- Handtak
- Handtak bak
- Festepunkt (selenes)
-
Merkeplate
-
Seler
a. med enkel rem
b. med dobbel rem
Maskinen leveres med enkel
Bruk av olje som ikke har
rensende effekt, som er upassende eller som har andere egenskaper enn de angitte, skader motoren og medforer bortfall av garantien.
För motoren startes:
För motoren startes (Fig. 11):
För motoren stanses:
- Slipp gasskontrollen (2) og la motoren dreie med det minimale antall omdreininger et par sekunder.
- Sett bryteren (1) i posisjon "STOP".
ADVARSEL!
Etter à ha satt gassen pa
minimumsniva, gär det flere sekunder for skjæeutstyret stanser.
7. BRUK AV MASKINEN
Av respectk for andre personer og miljoet:
- Unngå à vare et forstyrende element.
-Folg omhyggelig de lokale bestemmelsene for kasting av materialet som resulterer av skjaeringen.
-Folg omhyggelig de lokale bestemmelsene for kasting av oljer, bensin, utslitte deler og ethvert annet miljoskadelig objekt.
ADVARSEL!
Dersom du utsettes for
Sylindervolum / Effekt
Mod. 28H - 28HD 25 cm³ / 0,81 kW
Mod. 38H - 38HD 35 cm³ / 1,2 kW
EnkelManual