SB435HD - Stofzuiger STIGA - Gratis gebruiksaanwijzing en handleiding
Vind de handleiding van het apparaat gratis SB435HD STIGA in PDF-formaat.
Questions des utilisateurs sur SB435HD STIGA
0 question sur cet appareil. Repondez a celles que vous connaissez ou posez la votre.
Poser une nouvelle question sur cet appareil
Download de handleiding voor uw Stofzuiger in PDF-formaat gratis! Vind uw handleiding SB435HD - STIGA en neem uw elektronisch apparaat weer in handen. Op deze pagina staan alle documenten die nodig zijn voor het gebruik van uw apparaat. SB435HD van het merk STIGA.
GEBRUIKSAANWIJZING SB435HD STIGA
LET OP: Voordat u de deze machine gaat gebruiken dient u eerst deze handleiding aandachtig door te lezen.
SVENSKA
SUOMI FI
DANSK DA
NORSK .NO
CESKY CS
POLSKI. PL
PYCCKN R
MAGYAR HU
MAKEDOHCKN MK
LIETUVISKAI LT
LATVIEŠU LV
ENGLISH
FRANÇAIS
DEUTSCH DE
NEDERLANDS. NL






















Bästa kund,
Neiedarbiniet dzineju un
neizmantojiet masinu, ja ellas limenis nav pietie-koss.
Lai pārbauditu ellas limeni:
- Novietojiet masinu uz horizontalas virmas, lai tā butu stabilā stavokli un lai tvertnes vacins atrastos augspuse.
- Atskruvejiet vertnes vaciu un parbaudiet, vai elas limenis sasniedz ielietnes mertstena atzimi.
Ellas tvertnes tilpums ir 80~cm^3 (modelis 28) vai 100~cm^3 (modelis 38).
6. DZINEJA IEDARBINASANA - LIETOSANA - APTURESA
DZINEJA IEDARBINÅSANA

UZMANIBU!
Dzinejs ir jaiedarbina attaluma no degvielas
wij danken u voor het feit dat u de voorkeur hebt gegeven aan onsze producten en wij hopen dat het gebruik van deze machine u zeer tevreden zal stellen en dat zij volledig aan uw verwachtingen zal voldoen. Deze handleiding is geschreven om u vertrouwd te makeet met uw machine en om u in staat te stellenhaar op de beste en de meest veilige manier te gebruiken: vergeet Niet dat deze handleiding een integrerend deel van de machine is, bewaar deze binnen handbereik zodat uhaar op elk gewenst moment kunt raadplegen en zorg ervoor dat ze de machine altijd vergezelt ook als u de machine verkoopt of uitleent.
Deze neue machine is ontworpen en gemaakt in overeenstemming met de geldende voorschriften en is volkommen veilig en betrouwbaar indien zich worden gebruikt overeenkomstig de aanwijzingen in deze handleiding (voorzien gezruik); het gezruik voor andere doeleinden of het net in acht nemen van de aangegeven veriligheids-, gezruiks-, onderhouds- en reparatievoorschriften worden als "oneigenlijk gezruik" beschouwd en brengt verval van, zowel de garantie, als de aansprakelijkheid van de fabrikant teweeg waardoor de gezruiker zich verantwoordelijk is voor schade of letsel die hijzelf of anderen oplopen.
Mocht u verschillen gegenkomen:tussen wat beschreiben is en de machine die u bezit, denk er dan aan dat, aangezien het product continu verbeterd worden, de in deze handleiding opgenomen gegevens zonder voorafgaande kennisgeving en zonder dat de fabrikant verplicht is de handleiding te updaten gewijzigd hun worden, waar bij de essentièle kenmerken met het oog op de veiligheid en de werkking evenwel onveranderd blijven. Neem in geval van twijfel contact op met uw verkoper. Wij wensen u een prettig gelebruik van de machine toe!
INHOUDSOPGAVE
- Identificatie van de hoofdcomponenten 2
- Symbolen 3
- Veiligheidsvoorschriften 4
- Montage van de machine 6
- Voorbereiding 8
- Starten - Gebruik - Uitschakelen motor 9
- Gebruik van de machine 11
- Onderhoud en opslag 14
- Opsporen van defecten 16
- Technische gegevens 17
1. IDENTIFICATIE VAN DE HOOFDCOMPONENTEN
BELANGRIJKSTE ONDERDELEN
- Motor
- Aandrijvingsbuis
- Snij-inrichting
a. Mes met 3 of 4 punten
b. Draadhouder
- Bescherming van de snij-inriching
- Voorste handgreep
- Barrière
- Handgreep
- Achterste handgreep
-
Aanslagpunt (van het draagstel)
-
Typeplaatje
- Draagstel
a. met enkele riem
b. met dubbele riem
- Hoekretour
- Mesbescherming (voort het transport)
- Bougie
BEDIENINGEN EN BIJVULLLEN VAN BRANDSTOF
- Stopschakelaar motor
- Versnellingsknop
- Vergrendeling versnelling
- Startknop
- Chokeknop (Starter) (indien aanwezig)
-
Knop voorinspuiting (Primer) (indien aanwezig)
-
Dop brandstofreservoir
- Oliedop



“MONO”

"DOUBLEX"
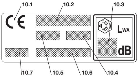
TYPEPLAATJE
10.1) Conformiteitsmerk volgens de richtlij 98/37/EG
10.2) Naam en adres van de fabrikant
10.3) Akoestische vermogen LWA volgens der richtlijn 2000/14/EG
10.4) Referentiemodel van de fabrikant
10.5) Machinemodel
10.6) Serienummer
10.7) Bouwjaar

2. SYMBOLEN









1) Let op! Gevaar. Een Niet correct gebruik van deze machine kan gevaarlijk zijn voor zichself en de anderen.
2) Voordat u deze machine in gebruik neemt, eerst de handleiding lezen.
3) De person die deutsche machine dagelijks in normale omstandigeden gebruikt kan bloatgesteld zich aan een geluidsniveau van 85 dB (A) of hoger. Gebruik een oorbescherming en draag een veiligheidshelm.
4) Draag werkhandsschoenen en veiligheids-schoeisel!
5) Gevaar voor wegspringende delen! Hou personen of huisdieren minstens 15 meter uit de buurtijdens het gebruik van de machine!
6) Gebruik geen cirkelzagen. Gevaar: Het gebruik van een cirkelzaag met machines die dit symbol dragen stelt de gebruiker bloot aan gezaven voor bijzonder ernstige letsels, die dodelijk konnen zijn.
7) Maximumsnelheid snij-inrichting. Gebruik alleen gespaste snij-inrichtingen
8) Aanduiding van het geluidsdrukniveau LwAvolgens Richtlijn 2000/14/EG.
TOELICHTENDE SYMBOLEN OP DE MACHINE (indien aanwezig)

11) Brandstofreservoir
12) Standen stopschakelaar motor
13) Regeling van het minimumtoerental
14) Chokeknop (Starter)
15) Knop voorinspuiting (Primer)
16) Correcte positie van de handgreep op de aandrijvingsbuis
TOELICHTENDE SYMBOLEN OP DE BESCHERMINGEN (indien aanwezig)

22

23

21) Snij-inrichtingen waarvoordesbescherming geschikt is
22) Te gebruiken met de draadhouser
23) Draairichting snijninrichting
3. VEILIGHEIDSVOORSCHRIFTEN
A) VOORBEREIDING
1) Lees de gebruiksanawijzingen aandachtig. Zorg dat u vertrouwd raakt met de bedieningsknoppen en in staat bent de machine op de juiste wijze te gebruiken. Leer de motor snel af te zetten.
2) Gebruik de machine alleen voor het doel waar-voir het bestemd is, d.w.z.
- het maaien van grayscale en Niet-houterige begroeiling, met behulp van een nylondraad (vb. boardjes van perken, beplantingen, muren, omheiningen of groene zones met een beperkte oppervlakte, om het werk van de maaimachine af te werken);
- het maaien van hoog gras en het snoeien van dorre takken, takjes en houterige struiken met een diameter tot 2 cm, met behulp van metalen of plastic messen.
Elk ander doel waarvoorde machine wordt gebruikt kan gevaarlijk zijn en zou de machine konnen beschadigen.
3) Laat nooit toe dat de machine gebruikt worden door kinderen de door personen die Niet vertrouwd zijn met deze aanwijzingen. De leeftijd van de gebruiker kan landelijk gereglementeerd�.
4) De machine dient Niet door meer dan een person gebruikt te worden.
5) Gebruik de machine in geen geval:
- als er Personen, in het bijzonder kinderen of dieren in de buurt zich;
- indien de gebruiker moe is, zich nicht fit voelt of genesmiddelen, drugs, alcohol of schadelijke stoffen ingenomeneft die zich reactievermögen en aandacht können verminderen;
- indien de gebruiker nicht in staat is om de machine stevig vast te houden met beiden handen en/ofijdens het werk Niet in evenwicht en stevig op beiden voeten kan staan.
6) Denk eraan dat de person die de machine bedient of de gebruiker aansprakelijk is voor oncevallen en onvooriende gebeurtenissen die personen of hun eigendommen können overkommen.
B) VOOR HET GEBRUK
1) Tijdens het werkken moet gpaste kledij gedragen worden die de gebruiker Niet hinder in zijn bewegingen.
Draag aansluitende en beschermende kledij die bestand is gegen sneten.
- Draag een helm, werkhandsschoenen, een verilgheidsbril, een stofmaskertje en verilgheidsschoeel met een antislipzool.
- Gebruik de oorbeschemers.
Draag geen sjaal, hemd, halsketting of andere hangende of ruime accessoires die gegrepen+kennen worden door de machine of voorwerpen en materiaal aanwezig op de werkplaats.
- Lang haar worden zorgvuldig bijeengebonden.
2) LET OP: GEVAAR! Benzine is bijzonder brand-baar.
-bewaar de brandstof in gegaste recipienten die geschickt zich voor dit gebruik;
- rook nicht wanner de brandstof gehanteerd worden;
open de dop van het reservoir langzaam om de interne druk geleidelijk aan af te lately;
- vul benzine alleen bij in de open lucht en gebruik hiervoor een trechter;
- giet de brandstof in het reservoir vórdat u de motor aanzet: als de motor aanstaat of warm is mag u geen brandstof toevoegen of de dop van de benzinetank afdraalen;
- als u benzine gemorst hebt mag u de motor niet starten maar dient u de machine uit de buurt van de plek waar u de benzine gemorst hebt te brengen en voorkomen dat er brand ontstaat. U dient te wachten totdat de brandstof verdamt is en de benzinedampen opgelost zich;
- reinig onmiddelijk elk spoor van benzine gemorst op de machine of op de grond;
- start de machine Niet op de plaats waar de brandstof bijgevuld worden;
- vermijd dat de brandstof in contact komt met de kleddij en, mocht dit toch gebeuren, trek dan andere kleddij aan vooraleer de motor te starten;
- draai de dop aktijd waar goed op het reservoir van de machine en het benzinereciën.
4) Vervang defecte of beschadigde geluidsdempers.
5) Ga vóor het gebruik over tot een algemene controle van de machine, in het bijzonder: - de versnellingshendel en de veiligheidshendel要去en vrij kuren bewegen, zonder geforceerd te worden, en bij het loslaten要去en ze automatisch en snel terug in de neutrale standkommen;
- de versnellingshendel moet geblokkeerd blijven indien nicht op de verilgheidshendel geduwd worden;
- de stopschakelaar van de motor moet makkelijk van de ene stand in de andere gebracht können worden;
- de elektrische kabels en in het bijzonder de kabel van de bougie要去en onbeschadigd zijn om te voorkomen dat vonden ontstaan; de kap要去 correct op de bougie gemonteerd zich;
- de handgrepen en beschermingen van de machine要去en schoon, droog, en stevig bevestigd zijn op de machine;
- de snij-inrichtingen en de beschemmingen mogen in geen geval beschadigd worden.
6) Controller de correcte positie van de handgrepen en het aanslagpunt van het draagstel, naast een correct evenwicht van de machine.
7) Vooraleer het werk aan te vatten, controllere de beschermingen geschiktশ voor het gebruikte instru-. ment en of ze correct gemonteerdশ.
8) Controller grondig de hele werkzone en verwijder alles wat van de machine weg zou kuren springen of de snijgroep en de motor zou kuren beschadigen (keien, takken, ijzerdraad, beenderen, enz.).
C) TIJDENS HET GEBRUK
1) Start de motor nicht in gesloten ruimten waar zich gevaarlijke koolstofmonoxyde kan ontwikkelen.
2) Werk alleen bij daglicht of bij goed kunstlicht.
3) Blij stil en stabel staan:
- vermijd zoveel möglichk te werken op een natte of glibberige grond, of ieder geval op te oneffen of steile terreinen die de stabiliteit van de gebruiken tijdens het werken Niet konnen garanderen;
- loop Niet maar ga normala en let op oneffenheden
van het terrein en de aanwezigheid van eventuele hindernissen;
beoordeel de mogelijk risico's verbonden met het te bewerken terrein en tref alleoodzakelijk voorzorgsmaatregelen om borg te staan voor de eigeneigheid,vooral op hellingen,oneffen,glibberige of mobiele terreinen.
- Op hellingen要去 men dwarfs te werk gaan, nooit maar boven of beneden toe, en zich stroomafwaarts van de snij-inrichting opstellen.
4) Start de motor terwijl de machine stevig vastgehouden worden:
- start de motor op een afstand van minstens 3 meter van deplaats waar de brandstof bijnevuld werd;
- controller of andere personen zich op minstens 15 meter afstand van de actieradius van de machine bevinden, of op minstens 30 meter in geval van zwaardere werkzaamheden;
- richt de geluidsdemper en dus de uitlaatgassen nooit waar ontvlambare materialen:
5) Wijzig de afstelling van de motor Niet en LAST het toerental van de motor Niet buitengewoon hoog oplopen.
6) Overbelast de machine Niet en gebruik geenkleine machine om zware werken te verrichten; het gebruik van een machine met aangepaste afmetingen za de risico's beperken en de kwaliteit van het werk verbeteren.
7) Controller of het laagste toerental de snij-inrichting Niet in beweging brengt en de do motor na een plotse versnelling snel teruqvalt tot het laagste toerental.
8) Let erop dat de messen nicht hevig botsen met vreeimde lichamen en let op eventueel wegpringend materiaalveroortzaakt door de beweging van het mes zichl.
9) Zorg ervoor dat de machineijdens het werk algijd vastgehaakt is aan het draagstel.
10) Schakel de motoruit:
- telkens wonneer u de machine onbeheerd achterlaat;
- vórórdat u benzine bijtankt;
- tijdens verplaatsingen:tussen werkzones.
11) Schakel de motor uit en koppel de bougiekabel los: - vórdat u de machine contrôleert, schoonmaakt of eraan werk;
- nadat er op een vreemd voorwerp gestoten is. Controller de machine op eventuele beschadigingen en voer de nodige reparationsuit alvorens de machine opnieuw te gebruiken;
- indien de machine op abnormale wijze begint te trillen: ommiddelijk deoorzaak nagaan en het probleem verhelpen;
- wonneer de machine Niet gebruikt worden.
1) Laat boute n en schroeven vastgedraaid zitten om er zeker van te zich dat de machine altijd op een veilige manier gebruisklaar is. Als u regelmatin onderhoud aan de heggenschaar pleegt za de werkking van ervan veilig blijven en za het prestatieniveau bewaard blijven.
2) Zet de machine Niet met benzine in het reservoir in een ruimte waar de benzinedampen met vlammen, vonden of een warmtebron in aanraking zouden konnen komen.
3) Laat de motor eerst afkoelen vór het opbergen van
de machine in elke willekeurige ruimte.
4) Om het risico voor brand te beperken, worden de motor, de geluidsdempster van de uitlaat en de opslagzone van de benzine vrij gehonden van zaagsel, takjes, bladeren of overtollig vet;aat geenrecipienten met snijafval in de ruimte awhile.
5) Als u het reservoir moet ledigen, dient u dit in de open lucht te doen en wanner de motor koud is.
6) Draag werkhandsschoenen voor elke ingreep aan de snij-inrichting
7) Gebruik de machine,uit veiligheidsoverwegingen, nooit met onderdeni de versleten of beschadigd zich. De beschadigde onderden moeten verzuiud en Niet gerepareerd worden. Gebruik uitsluitend originele reserveonderden. Onderden van een andere kwaliteit kannen de machine beschadigen en hunnen gevaarlijk zijn voor de gebruiker. De snijwerktuigen moeten alti\digt het merk van de fabrikant dragen, net zoals de verwijzingaar de maximale gebruikssnelheid.
8) Vooraleer de machine op te bergen, de sleutels of het gereedschap gebruikt voor het onderhoud wegmen.
9) Bewaar de machine buiten het bereik van kinderen!
E) TRANSPORT EN VERPLAATSING
1) Telkens wanner de machine verplaatst of vervoerd moet worden, is hetoodzakelijk
- de motor uit te schakelen, wachten tot de snij-inrichting tot stilstand gekommen zijn en de bougiekap los-koppelen;
- de beschemmingen aan te brengen op de snij-inrichting;
- de machine alleen vast te nemen aan de handgrepen en de snij-inrichting in de richting gegenover de loop-of rijnichting te houden.
2) Wanner de machine vervoerd worden met een voertuig,要去 het op dusdanige wijze geplaatst worden dat er voor niemand gaavoor ontstaat en stevig geblokkeerd worden om te voorkomenDat de machine omvalt en beschadigd worden of dat brandstof lekt.
In de tekst van de handleiding worden enkele paragrafen, die gegevens van bijzonder belang bevatten, gekekenmerkt door diverse symbolen die de volgende betekenis hebben:
OPMERKING
of
BELANGRIJK
Verstrekt nadere gegevens of
andere elementen ter aanvulling op hetgeen waaroor vermeld is, om te voorkomen dat de machine beschadigd wordt of dat er schade veroorzaakt worden.
A LET OP!
Gevaar van persoonlijk letsel
of letsel aan anderein geval van Niet inachtnem ing.
GEVAAR!
Kans op ernstig persoonlijk
letsel of ernstig letsel aan anderen met gevaar voor dodelijke ongelukken, in geval van Niet inachtneming.
4. MONTAGE VAN DE MACHINE
BELANGRIJK
Een aantal onderdelen is bij
levering van de machine gedemonteerd, en het brandstofreservoir is leeg.
A LET OP!
Draag altijd sterke werk
handschoenen om de snij-inrichting te hantenen. Ga bijzonder voorzichtig te werk voor de montage van de onderdelen, om de veiligheid en efficicntie van de machine Niet in het gedrang te brengen; neem bij twijfels contact op met uw Verkoper.
1. VOLTOOING VAN DE MACHINE
1a. Modellen "MONO"
- Model 28 (Fig. 1)
A LET OP!
Deafstandhouser (1) dient
om een minimale afstand te waarborgen tussen dechterste en de Voorste handgreep, om veiligheidsreden. Deze afstandhouser moet altijd aanwezig+zijn en dient geenszins gewijzigd te worden.
- Monteer vór de afstandhouser (1) de Voorste handgreep (2) op de aandrijvingsbuis (3) met behulp van de schroeven (4) en moeren (5) die in hun relativve zitting aangebracht worden.
Vooraleer de schroeven (4) vast te draaien, wordt de handgreep correct gericht ten opzichte van de aandrijvingsbuis. - Draai de schroeven (4) stevig vast.
Model 38 (Fig.2)
- Monteer de Voorste handgreep met barrière (1) op de plastic behuizing (2) en draai de schroeven (3) stevig vast.
1b. Modellen "DUPLEX"
Model 28 (Fig. 3)
- Monteer de handgreep (1) in de uitsparing in de houder (2) op de aandrijvingsbuis (3) en let erop at de bedieningen rechtskommen.
-
Monteer de kap (4) door de schroeven (5) goed vast te draaien..
-
De houder (2) is voorgemonteerd op de aan-drijvingsbuis (3) zodate rand ter hoogte van de pij (6) van eht etiket komt te liggen;.dequeue positie dient nooit gewijzigd te worden.
- Model 38 (Fig. 4)
- Draai de centrale knop (1) los en verwijder de kap (2).
- Monteer de handgreep (3) en let erop dat de bedieningen rechtskommen.
- Richt de handgreep in de meest comfortablewerkpositionie en blockeer hem met de kap (2) en de knop (1).
2. MONTAGE VAN DE BESCHERMINGEN
A LET OP!
Elke snij-inrichting isuit
gerust met een specifieke bescherming. Gebruik nooit beschermingen verschillend van die aangegeven voor elke snij-inrichting.
- Mes met 3 of 4 punten (Fig. 5)
A LET OP!
Draag werkhandsschoenen
en breng de mesbescherming aan.
- Demonteer het mes (indien gemonteerd) zoals aangegeven in paragraaf 3.
- De bescherming (1) is bevestigd aan de hoe-kretour (2) met twee schroeven (3).
Draadhouder (Fig. 6)
A LET OP!
Wanner de draadhouder
gebruikt worden, moet de bijkomende bescherming algijd gemonteerd zich, met draadsnjider.
- Demonteer het mes (indien gemonteerd)zoals aangegeven in paragraaf 3.
- De bescherming (1) is bevestigd aan de hoe-kretour (2) met twee schroeven (3).
Monteer de bijkomende bescherming (4) door de haken in hun respectieve zittingen van de bescherming (1) te brengen en aan te drukken tot de bescherming vast zit.
3. DEMONTAGE EN HERMONTAGE VAN DE SNIJ-INRICHTINGEN
A LET OP!
Gebruik alleen originele en
door de Fabrikant goedgekeurde snij-inrichtingen.
- Mes met 3 of 4 punten
A LET OP!
Draag werkhandschoenen
en breng de mesbescherming aan.
a) Model 28 (Fig. 7)
OPMERKING
De moer van de dop (4) heeft
een schroefdraad die van rechtsaar links gaat en moet dus in wijzerzin losgedraaid en gegen de wijzers van de klok in vastgedraaid worden.
- Steek de bijgeleverde sleutel (2) in het gat van de hoekretour (3) en LAST het mes (1) met de hand draaien tot de sleutel in het intern gat komt, waardoor de rotatie onderbroken worden.
- Verwijder de dop (4) door de moer in wijzerzin los te draaien.
- Verwijder de buitenste ring (5) en het mes (1).
Bij de montage,
- Zorg ervoor dat de groeven van de binnenste ring (6) perfect overeenkomen met de hoekretour (3).
- Monteer het mes (1) en de buitenste ring (5).
- Hermonteer de dop (4), door hem stevig tegende wijzers van de klok vast te draaien.
- Verwijder de sleutel (2) om het mes waar te latenten draaien.
b) Model 38 (Fig. 8)
OPMERKING
De schroef van de dop (4)
heeft een schroefdraad die van rechtsaar links gaat en moet dus in wijzerzin vastgedraaid en tegen de wijzers van de klok in losgedraaid worden.
- Steek de bijgeleverde sleutel (2) in het gat van de hoekretour (3) en LAST het mes (1) met de hand draaien tot de sleutel in het intern gat komt, waardoor de rotatie onderbroken worden.
- Verwijder de dop (4) door de centrale schroef in wijzerzin los te draaien.
- Verwijder de buitenste ring (5) en het mes (1).
Bij de montage,
- Zorg ervoor dat de groeven van de binnenste ring (6) perfect overeenkomen met de hoekretour (3).
- Monteer het mes (1) en de buitenste ring (5).
- Hermonteer de dop (4), door hem gegen de wijzers van de klok vast te draaien.
- Verwijder de sleutel (2) om het mes waar te latenten draaien.
Draadhouser (Fig. 9)
OPMERKING
De draadhouser heeft een
schroefdraad die van rechtsaar links gaat en moet dus in wijzerzin vastgedraaid en gegen de wijzers van de klok in losgedraaid worden.
- Steek de bijgeleverde sleutel (2) in het gat van de hoekretour (3) en LAST de draadhouser (1 of 1a) met de hand draaien tot de sleutel in het intern gat komt, waardoor de rotatie onderbroken worden.
- Verwijder de draadhouser (1) door hem in wijzerzin los te draaien.
Bij de montage,
- Zorg ervoor dat de groeven van de binnenste ring (4) perfect overeenkomen met de hoekretour (3).
- Monteer de draadhouser (1) door hem segende wijzer van de klok los te draaien.
-
Verwijder de sleutel (2) om de as waar te latent draaien.
-
Zaagmes (indien toegestaan)
A LET OP!
Het gebruik van zaagmes-
sen is verboden op machine met het symbool (zie hoofdstuk 2 n. 6).
Om de bescherming en het zaagmes te monteren, volg de instructies geleverd bij dit accessoire.
5. VOORBEREIDING
CONTROLE VAN DE MACHINE
Alvorens de machine te gebruiken, is hetoodzakelijk:
- te controleren of er geen schroeven loszitten aan de machine of de snij-inrichting;
- te controleren of de snij-inrichting nicht beschadigd is en of de metalen messen met 3 of 4 punten (indien gemonteerd) scherp zich;
- te controleren of de luchtfilter schoon is;
- te controleren of de beschermingen goed vastzitten en efficien tijd;
- te controlleren of de handgrepen goed bevestigd zich.
BRANDSTOFFEN EN SMEERMIDDELEN
Deze machine is uitgerust met een viertaktmotor die GEEN toevoeging van olie aan de benzine vergrt.
BELANGRIJK
Het toevoegen van olie aan
de benzine beschadigd de motor en doet de garantie verrallen.
BELANGRIJK
Gebruik alleen brandstof en
smeermiddelen van goede kwaliteit, om de prestaties in stand te houden en borg te staan voor de levensduur van de mechanische componenten.
Eigenschappen van de benzine
Gebruik alleen loodvrije benzine (groen) met een octaangehalte van minstens 90 N.O.
BELANGRIJK
Groene benzine zorgt altijd
voort wat afzettingen in het recipient indien het langer dan 2 maanden bewaard worden. Gebruik alsijd verse benzine!
GEVAAR!
-Bewaar de benzine in speciale recipienten voor brandstof, op een veilige plaats,uit de buurt van warmtebronnen of naakte vlammen.
- De beneficien moeten buiten het bereik van kinderen bewaard worden.
Eigenschappen van de olie
Gebruik alleen olie van uitstekende kwaliteit, specifiek voor viertaktmotoren, bijzonder reingend, met klassering SF-SG en viscositeit SAE10W30.
BELANGRIJK
Het gebruik van een Niet-rei-
nigende olie, een ongeschikte olie of een olie met verkeerde karakteristieken beschadigt de motor en doet de garantie vervallen.
Bij uw Verkoper zich oliën beschikbaar die speciaal bestudeerd werden voor dit type van motor en in staat� om voor een hoge bescherming en lange levensduur van de motor te zorgen.
BIJVULLEN VAN BRANDSTOF
GEVAAR!
Niet rokenijdens het bij
vullen en de benzinedampen nicht inademen.
A LET OP!
Open de dop van de tank
voorzichtig waar der druk ontstaan kan zich aan de binnenkant.
Vooraleer bij te vullen:
-
Plaats de machine effen en stabel, met de vuldop van het reservoir aan boven.
-
Maak de dop van het reservoir en de zone rond de dop schoon om te voorkomen datijdens het bijvullen onzuiverhedenterechtkomen in het mengsel.
-
Open de dop van het reservoir voorzichtig om de druk geleidelijk aan af teLATen. Vul bij gebruik makend van een trechter en vul het reservoir Niet tot aan de rand.
A LET OP!
De dop van het reservoir
moet.altijd stevigweer vastgedraaid worden
A LET OP!
Reinig onmiddelijk elk
spoor van benzine dat eventueel gemorst word op de machine of op de grond en start de motor pas wanneer de benzinedampen volledig opgelost+zijn.
OLIE BIJVULLEN (Fig. 11)
BELANGRIJK
Om het oliepeil te controleren:
- Plaats de machine effen en stabel, met de vul-dop van het reservoiraar boven.
Draai de dop van reservoir los en controller of het oliepeil tot aan de rand van de vulopening komt.
De inhoud van het oliereservoir is 80 cc (Model 28) of 100 cc (Model 38).
De motor worden gestart op
een afstand van minstens 3 meter van deplaats waar de brandstof bijgevuld werk.
Alvorens de motor te starten:
- Zet de machine stabel op de grond.
- Haal de bescherming van het mes (indien gebruikt).
- Zorg ervoor dat het mes (indien gebruikt) Niet in aanraking komt met het terrein of met andere voorwerpen.
- Start met koude motor
OPMERKING
Met start bij koude motor
wordt bedoeld een start na minstens 5 minuten
dat de motor uitgeschakeld is of na het bijvullen van brandstof.
Om de motor te starten (Fig. 11):
- Breng de schakelaar (1) in de stand «START».
- Schakel de starter in door de hendel (5) in de stand «CLOSE» te draaien.
- Druk 3-4 keer op de knop van de Voorinspuiting (primer) (6) om de brandstoftoevoer te bevorderen.
- Houd de machine stevig gegen de grond met een hand op de motor, om de contrôle ervan Niet te verliezenijdens het starten (Fig. 12).
BELANGRIJK
Om verrormingen te voorkodrivinasbuis Niet gebruikt te
men, dient de aandrijvingsbuis Niet gebruikt te worden als steun voor de hand of de knieijdens de start.
- Draai langzaam de startknop 10-15 cm tot u
een zekere wonderstand gewaarwordt. Geef dan enkele keren een stevige ruk tot de machine in gang schiet.
BELANGRIJK
Om te voorkomen dat het
touw breekt, worden er Niet over de gehele lenghte aan getrokken. Laat het touw Niet langus de rand van de opening van de touwgeider schuren en laat de knop geleidelijk aan los, om te voorkomen dat het touw op ongecontroleerde wijze maar binnen schiet.
- Trek opniew aan de startknop tot de motor normala in gang komt.
A LET OP!
Deinschakeling van de
motor met ingeschakelde starter veroorzaakt de beweging van de snij-inrichting, die alleen onderbroken kan worden door de uitschakeling van de starter.
- Zodra de motor gestart is, moet de starter uitgeschakeld worden door de hendel (2) in de stand «OPEN» te draaien.
- Laat de motor minstens 1 minut op het minimumtoerental draaien vooraleer de machine te gebruiken.
BELANGRIJK
Indien de knop van het start
touw herhaaldelijk bediend worden met de starter ingeschakeld, kan de motor vastlopen en de start bemoeilijk worden.
Indien de motor vastloopt, de bougie demonteren en voorzichtig aan de knop van het starttouw trekken om de overtollige brandstof te verwijderen; vervolgens de elektrodes van de bougie afdrogen en de bougie weeer monteren op de motor.
- Start bij warmer motor
Voor de start bij warme motor (onmiddelijk na de uitschakeling van de motor), volg de punten 1 - 4 - 5 - 6 van de vorige werkwijze.
GEBRUK VAN DE MOTOR (Fig. 11)
De能力和 the 10000000000000000000000000000000000000000000000000000000000000000000000000000000000000000000000000000
De versnelling kan alleen ingeschakeld worden wanner gelijktijdig op de vergrendeling (3) geduwd worden.
De beweging worden van de motor overgedragen op aandrijfas, door middel van een koppeling met centrifugaalgewichten die de beweging van de as verhindert wanner de motor op het minimaal torental draait.
A LET OP!
Gebruik de machine nicht
indien de snij-inrichting op het laagste toerental van de motor draait (zie hoofdstuk 8) en indien het probleem aanhoudt, dient u contact op te nemen met uw Verkoper.
De correcte werkslendheid wordenbekomen doorde versnellingsknop (2) volledig in te duwen.
BELANGRIJK
Gedurende de eerste 6-8
werkuren van de machine, worden vermeden de hoogste toerentallen te gebruiken
UITSCHAKELEN VAN DE MOTOR (Fig. 11)
Om de motor uit te schakelen:
- Laat de versnellingsknop los (2) en LAST motor enkele seconden draaien op het laagste toerental.
- Breng de schakelaar (1) in de stand "STOP".
A LET OP!
Nadat de versnelling in de
nimumstand gezet werk, moet enkele seconden gewacht worden vooraleer de snijinrichting tot stilstand kommt.
7. GEBRUK VAN DE MACHINE
Uit respect voor de anderen en het milieu:
- Wees geen storend element.
-Volg nauwkeurig de lokale normen op voor de afdanking van het snijafval.
Volg nauwkeurig de lokale normen op voor de afdanking van olie, benzine, beschadige onderdelen of om het even welk element dat Niet millieuvriendelijk is.
A LET OP! De langdurige blootstelling aan trillingen kan neurovasculaire letsels en problemen veroorzaken (ook gekend onder de naam "fenomeen van Raynaud" of "witte hand"), vooral bij Personen die circulatiestoornissen hebben. De symptomen kuren betrekking hebben op de handen, de polsen en de vingers, met verlies van gevoeligheid, loomheid,jeuk,pijn,verkleuring of structurele wijingingen van de huid. Deze effecten kuren versterkt worden door een lage omgevingstemperatuur en/of een overdreven druk op de handgreep. Wannerdeze symptomen optreden, moet de machine minder lang gebruikt worden en is hetoodzakelijk een arts te raadplegen.
A LET OP! Draagijdens het werk gegaste kledij. Uw Verkoper zal u alle nodige informatie given over de meest geschikte veiligheidskledij, met het oog op een veilig gebruik van de machine.
GEBRUK VAN HET DRAAGSTEL (Fig. 13)
A LET OP! De machine要去 alotig gebruik worden met een correct aangebracht draagstel. Controller regelmatig de doeltreffendheid van de snelle ontkoppeling, om bij gevaar de riemen snel van de machine te kunnen halen.
Het draagstel moet aangedaan worden vooral-eer de machine vast te haken en de riemen moeten geregold worden volgens de lichaamsbouw van de gebruiker.
Indien de machine voorzien is van meerdere bevestigingsgaten, gebruik dan het gat dat een correct evenwicht van de machineijdens het gebruik het meest bevordert.
Gebruik alsd een draagstel dat gepast is aan het gewicht van de machine en de snij-inrichting:
- voor machines die minder dan 7,5 kg wegen, voorzien van draadhoulders of messen met 3 of 4 punten, kuren de modellen met enkele of dubbele riem gebruikt worden;
- voor de machines die meer dan 7,5kg logen, voorzien van een zaagmes (indientoegestaan), worden alleen het model met dubele riem gebruikt.
- Modellen "MONO" met enkele riem
De riem (1) kommt over de linkerschouder, maar de rechterflank toe.
- Modellen met dubbele riem
De riem (2) wordt gedragen met:
- het opgevuld deel en de gesp rechts;
- de loskoppeling vooraan;
- de kruising van de riemen op de rug van de gebruiker.
De riemen要去en gespannen worden, om de last gegij te spreiden over beiden scholders.
GEBRUIKSWIJZEN VAN DE MACHINE
A LET OP!
A LET UP! Tijdens het werk要去 de machine algijd met beiden handen vastgenomen worden, met de motor rechts van het lichaam en de snijgroep onder het niveau van de riem.
A LET OP!
A LET OP! Leg de motor onmiddelijk stil wanner een mes zichijdens het werk blokkeert. Let altijd op voor möglichke terugslagen (kickback) wanner het blad in contact komt met een hindernis (boomstam, wortels, takken, keien, enz.). Raak het terrein Niet aan met het mes. De terugslagen zorgen ervoor dat het mes moeilijk te beheersen worden en dat de controle over de machine verloren kan worden, met gevaar voor de veiligheid van de gebruiker en schade aan de machine zelf.
Vooraleer de eerste keer te gaan maaien,要去 men vertrouwd raken met de meest ges paste maatechnieken door het draagstel te passen, de machine stevig vast te nemen en de handelingenuit te voeren.
- Keuze van de snij-inrichting
Kies de snij-inrichting die het meest gespast is voor het werk dat u wilt uitvoeren, volgens deze aanwijzingen:
- het mes met 3 punten is geschikt voor het maaien van kreipelhout en struikgewas tot een diameter van 2cm
- Ihet mes met 4 punten is geschikt voor het maaien van sterk gras op groe oppervlakken;
- de draadhouser kan hoog gras en Niet-houterige begroeiling verwijderen gegen omheiningen, muren, funderingen, trotoirs, rondomen, enz. of een bepaalde zone van de ruin volledig schoon te make;
- het zaagmes (indien toegestaan) is geschikt voor het snoeieren van stevig struikgewas, heesters enkleine bomen met een stam tot 6 cm.
WERKTECHNIEKEN
a) Mes met 3 punten (Fig. 14)
Begin te snijden bovenaan de begroeing en gamet het mes waar beneden, op dusdanige wijze dat de taken inkleine stukken gesneden worden.
b) Mes met 4 punten (Fig. 15)
Gebruik de machine als een traditionele maai-machine, met een boogbeweging van ongeveer 60 - 90^ tot buiten de begroeijng enzoverder.
c) Draadhouder
A LET OP!
Gebruik ALLEEN nylon
draad. Het gebruik van metalen draden, geplastificeerde metaaldraad of draad die nicht geschikt is voor de houder, kan ernstige verwondingen veroorzaken.
Tijdens het gebruik要去 motor stilgelegd
worden en moet het gras dat zich rond de machine gewwikkeld heeft regelmatig verwijderd worden, om oververhitting van de aandrijvingsbuis te voorkomen, te wijten aan gras dat zich opgehoopt heeft onder de bescherming.
Verwijder het gras met een schroevendraaien, omervoorte zorgen dat de staaf correct afgkoeld worden.
A LET OP!
Gebruik de machine nicht
om de vegen, door de draadhouser over te hellen. De kracht van de motor kan voorwerpen of keitjes tot 15 meter ver werpen en schade of verwondingen veroorzaken.
- Snijden in beweging (Maaien) (Fig. 16)
Ga met een correcte houding te werk, met een boogbeweging zoals bij traditioneel maaien, zonder de draadhouder over te hellen.
Probeer de juiste maaihoogte eerst ut in een kleine zone, om een uniform maairesultaat te verkrijgen door de draadhouser op een constante afstand van het terrein te honden.
Voor zwaarder werk, kan het handig zijn de draadhouser ongeveer 30^ maar links te lately hellen.
A LET OP!
- Precisiesnijden (Recht afsnijden)
Houd de machine lichtjes schuin zodat de onderkant van de draadhouser niet in aanraking komt met het terrein en de snijlijn zich op het gewenste punt bevindt, waar bij de snij-inrichting.altijd ver van de gebruiker gehonden worden.
Maaien vlak bij omheiningen / funderingen (Fig. 17)
Nader met de draadhouser langzaam de omheining, paaltjes, stenen, muren, enz. zonder kracht toe te passen.
Wanner de draad een omvangrijke hindernis raakt kan hij breken of verslijen; wanneer hij blijft steken in een omheining, kan hij bruusk afknakken.
In elk geval kan het snijden rond trotoirs, funderingen, muren, enz. een overmatige slijtage van de draad veroorzaken.
- Maaien rond bomen (Fig.18)
Loop rond de boom van links waar rechts en nader de stam langzaam om er Niet met de draad gegen te komen; hou de draadhouser een beetje maar voren.
Hou er rekening mee dat de nylondraad kleine heesters kan doorsnijden of beschadigen en dat het contactussen de nylondraad en de stam van heesters of bomen met een zachte schors de plant ernstig kan beschadigen.
Regeling van de draadlengtheijdens het werk (Fig. 19)
Deze machine is uitgerust met een kop Tap & Go.
Om neue draad vrij te gehen, klop de draadhouser gegen het terrein met de motor op maximale snelheid; de draad komt automatisch vrij en het mes snijdt de overtollige lenghte weg.
d) Zaagmes (indien toegestaan) (Fig. 20)
A LET OP!
Het gebruik van zaagmes-
sen is verboden op machine met het symbol (zie hoofdstuk 2 n.6). Voor het gebruik van het zaagmes, waar toegestaan,要去 bescherming algijd gemonteerd+zijn. Het mes要去 altijd goed scherp+zijn om het risico voor terugslag te beperken.
A LET OP!
Voor het vellen vankleine
bomen, moet de valrichting van de boom voorzien worden, rekening houdend met de windrichting.
Om een goed resultaat te bekomen bij het vellen vankleine bomen, is het noodzakelijk e snijden met een snelle beweging maar de tak of de stam die men wilt snijden en met de motor op het hoogste toerental.
Gebruik best de rechterzone van het mes Niet,\ omdat dit een hoog risico inhoudt voor terugslag\ of stilvallen van het mes, te wijten aan de draai-richting.
NA HET WERKEN
Na het werken:
- Schakel de motoruit zoals eerder aangegeven (Hoofdstuk 6).
Wacht tot de snij-inrichting tot stilstand gekommen is en monteer de mesbescherming (wonneer gebruik gemaakt worden messen met 3 of 4 punten of een zaagmes).
8. ONDERHOUD EN OPSLAG
Een correct onderhoud isFundamenteel om in de tijdde oorspronkelijke efficientie en gebruiksveiligheid van de machine in stand te honden.
A LET OP! Tijdens het onderhoud:
- Haal de kap van de bougie.
Wacht tot de motor voldoende afgekoeld is. - Gebruik werkhandsochenen voor alle handelingen die betrekking hebben op de messen.
- Houd de mesbescherming op+zijn plaats, tenzij aan het mes zich gewerkt要去 worden.
- De olie, benzine of andere verruilende materialen nicht in het milieu gooien.
CILINDER EN GELUIDSDEMPER
Om brandgevaar te beperken, worden de vleugels van de cilinder regelmatig gereinigd met perslucht en worden de zone van de geluidsdemper vrijgemaakt van zaagsel,takjes,bladeren ofander afval.
STARTGROEP
Om oververhitting en schade aan de motor te voorkomen, moeten de roosters voor de aanzuiig ing van de koellucht.altijd schoon en vrij van zaagsel en vuil zich.
Het starttouw要去ervangen worden bij de eerste tekenen van slijtage.
BEVESTIGEN
Controleer regelmatig of alle schroeven en moeren goed aangezet zich en of de handgrepen stevig vastzitten.
REINIGING VAN DE LUCHTFILTER (Fig. 21)
BELANGRIJK Het is essentieel dat de luchtfilter gereinigd worden, voor de goede werk- ing en de levensduur van de machine. Werk nooit zonder filter of met een beschadigde filter, om geen onherroepelijkke schade toe te brengen aan de motor.
De reining wordenuitgevoerd elke 8-10 werkuren.
Om de filter te reinigen:
- Druk op het lipje (3), verwijder het deksel (1) en
vervolgens het filterelement (2).
- Was het filtrerelement (2) met water en zoep. Gebruik geen benzine of andere oplosmidellen.
- Laat de filter drogen aan de lucht.
- Hermonteer het filtrelement (2) en het deksel (1).
CONTROLE VAN DE BOUGIE (Fig. 22)
Periodiek worden de bougie gedemonteerd en gereinigd, door eventuele restjes te verwijderen met een metalen borsteltje.
Om de bougie te bereiken, moet de schroef los-gedraaid worden met de bijgeleverde sleutel en het bovenste maskertje verwijderd worden.
Controleer en herstel de correcte afstand:tussen de elektrodes
Hermonteer de bougie en draai hem stevig vast met de bijegeleverde sleutel.
De bougie要去 ingeval van doorgebrande elektroden of een beschadigde isolatie, en ieder geval elke 100 werkuren, verrangen worden door een bougie met analoge karakteristieken.
DE MOTOROLIE VERVANGEN
Maak het reservoir van de motorolie helemaal leeg wanner de motor nog law is, zodat die beter en sneller wegloopt.
- Controller of de dop van het brandstofreservoir goed vastgedraaid is.
- Verwijder de dop van het oliereservoir en LAST de olie in eenrecipient lopen, door de motor te lien overhellen aan de zijde van de vulopening van het oliereservoir.
- Vul het reservoir met de aanbevolen olie en controllerer het oliepeil.
- Herplaats de dop van het oliereservoir.
REGELING VAN DE CARBURATOR
De carburator werd in de fabriek geregeld met het oog op de Beste prestaties in alle omstandigheden, met een minimale uitstoot van schadelijke gassen, overeenkomstig de geldende normen.
In geval van schaarse prestaties, wendt u zich tot de Verkoper voor een controle van de brandstoftoevoer en de motor.
- Regeling van het minimumtoerental
A LET OP!
Het minimumtoerental
wordt alleen geregold wonneer de snij-inriching beweegt met de motor op het laagste toerental.
De snelheid kan verminderd worden door de schroef aangeduid met een «MIN» gegen de wijzers van de klok in te draaien tot de snij-inrichting stilvalt, met een voldoende regelmatige werkking van de motor.
Indien de motor op het minimumtoerental een onregelmatige werkung vertoont, draai dan de schroef in wijzerzin om de snelheid te verhogen.
A LET OP!
De snij-inrichting mag Niet
bewegen met de motor op het minimumtoerental; contacteer uw Verkoper indien u er Niet in slaat een bevredigende regelinguit te voeren.
HOEKRETOUR (Fig. 23)
Smeren met vet op basis van lithium.
Verwijder de schroef (1) en breng het vet aan door de as handmatig te latent draaien tot het vet maar buiten komt;ervolgens de schroef (1) hermonteren.
SLIJPEN VAN HET MES MET 3 OF 4 PUNTEN (Fig.24)
A LET OP!
Draag werkhandschoenen.
Indien het sijipen gebeurt zonder het mes te demonteren, de bougiekap loskoppelen.
Het slijpen moet gebeuren volgens de typologie van het mes en de bladen, met behulp van een platte vrij en op gelijke wijze op alle punten.
De aanwijzingen voor een correcte vrijing vindt u in Fig. 24:
A = Verkeerde vijling
B = Vijlimieten
C = Verkeerde en ontelijke hoeken
Het is belangrijk dat na het vijlen een correct evenwicht bewaard blijft.
De messen met 3 of 4 punten können aan weerszijden gebruikt worden. Wanner een zijde van de punten versleten is, kan het mes omgedraaid worden om de andere zijde te gebruiken.
A LET OP!
Het mes dient nooit gere
pareerd te worden, maar moet verrangen worden zodra eerste sporen van breuk vastgesteld worden of de vijillimiet overschreten is.
VERVANGING VAN DE DRAAD VAN DE KOP
Om de nylondraad te verrangen, volg de aanwij- zingen bij de kop.
VIJLEN VAN DE DRAADSNIJDER (Fig. 25)
- Haal de draadsnjider (1)uit de bescherming (2), door de schroef (3) los te draaien.
Zet de draadsnijder vast in een bankschoef en vrij met behulp van een platte vrij. Zorg ervoor dat de originele snijhoek behouden blijft.
-Hermonteer het mes op de bescherming.
VIJLEN VAN HET ZAAGMES MET 24 TANDEN (Fig. 26)
A LET OP!
Draag werkhandschoenen.
Indien het slijpen gebeurt zonder het mes te demonteren, de bougiekap loskoppelen.
Controleer of de zetting van het mes ongeveer 1 mm bedraagt en regel dit zo nodig met een tang.
Slijp de tanden gelijk met een Ronde vijl (1) met een diameter van 5,5 mm, op de manier geillustreerd in de figuur. Ga afwisseled te werk op de tanden links en rechts.
Het profiel van de tand mag nicht gewijzigd worden.
A LET OP!
Het zaagmes is nicht
omkeerbaar en mag bijgevolg maar aan een zijde gebruikt worden.
Het mes dient nooit gerepareerd te worden, maar moet verrangen worden zodra eerste sporen van breuk vastgesteld worden de vijllimiet overschreten is.
BUITENGEWONE HANDELINGEN
deze handleiding dient alleen door uw Verkoper uitgevoerd te worden.
Handelingen die uitgevoerd werden in nicht geschikte structuren of door onbekwame Personen doen de garantie vervallen.
OPSLAG
Na het werkken, worden de machine zorgvuldig vrijgemaakt van stof en vuil en worden de defekte onderdelen gerepareerd of verrangen.
De machine moet bewaard worden op een droge plaats, beschermd gegen de weersomstandigheden en met de bescherming correct gemonteerd.
Opberging
Alvorens de machine te op te bergen:
- Ledig de brandstoftank.
- Start de motor en LAST hem op het laagste toerental draaien tot de stilstand, zDat alle in het reservoir overgebleven brandstof opgebruikt worden.
- Laat de motor afkoelen en demonteer de bougie.
- Giet een theelepel verse olie in het gat van de bougie.
Trek verschillende keren aan de startknop om de olie goed te verdelen in de cilinder. - Hermonteer de bougie met de zuiger aan het bovenste dood punt (zichtbaar vanuit het gat van de bougie wanner de zuiger aan de eindaanslag gekomen is).
- Hervatten van de activiteit
LANGDURIGE PERIODE VAN INACTIVITEIT
BELANGRIJK Indien men van plan is de machine langer dan 2 - 3 maanden nicht te gebruiken, moeten een aantal voorzorgsmaatregelen getroffen worden om problemen te vermijden bij het hervatten van het werk of om permanente schade aan de motor te voorkomen.
Wanner de machine wee gestart wordt:
- Verwijder de bougie.
Trek enkele keren aan de startnop om de overtollige olie te verwijderen. - Controller de bougie Zoals beschreiben in het hoofdstuk "Controle van de bougie".
-Bereid de machine voor zoals aangegeven in het hoofdstuk "Voor het gebruik".
9. OPSPOREN VAN DEFECTEN
| PROBLEMEN | MOGELIJKE OORZAAK | OPLOSSING |
| 1) De motor start nicht of blijft nicht draaien | - De startprocedure is nicht correct | - Volg de aanwijzingen (zie hoofd-stuk 6) |
| - De bougie is vuil of de afstand tus-SEN de elektroden is nicht gepast | - Controller de bougie (zie hoofd-stuk 8) | |
| - Verstopte luchtfilter | - Reinig en/of vervang de filter (zie hoofdstuk 8) | |
| - Brandstofproblemen | - Contacteer uw Verkoper | |
| 2) De motor start maar heeft weinig vermogen | - Verstopte luchtfilter | - Reinig en/of vervang de filter (zie hoofdstuk 8) |
| - Brandstofproblemen | - Contacteer uw Verkoper | |
| 3) De motor werkkt onregelmatinig of heeft geen vermogen bij belasting | - De bougie is vuil of de afstand tus-SEN de elektroden is nicht gepast | - Controller de bougie (zie hoofd-stuk 8) |
| - Brandstofproblemen | - Contacteer uw Verkoper |
Cylinderinhoud / Vermogen
Mod. 28H - 28HD 25 cm³ / 0,81 kW
Mod. 38H - 38HD 35 cm³ / 1,2 kW
Draaisnelheid motor op laagste toerental
Mod. 28H - 28HD...... 2900-3300 toeren/1'
Mod. 38H - 38HD...... 2900-3300 toeren/1'
Maximale draaisnelheid motor
Mod. 28H - 28HD......10500- 11000 toeren/1'
Mod. 38H - 38HD......10500-11000 toeren/1'
Maximale draaisnelheid gereedschap
Mod. 28H - 28HD...... 8500 toeren/1'
Mod. 38H - 38HD 8500 toeren/1'
Bougie.........NGK CM5H (of gelijkaardig)
Brandstof: ....... Loodvrije benzine (groen) - minimum 90 N.O.
Inhoud van het brandstofreservoir
Mod. 28H - 28HD 550 cm3
Mod. 38H - 38HD 650 cm3
Inhoud van het oliereservoir
Mod. 28H - 28HD 80 cm3
Mod. 38H - 38HD 100 cm3
Maximaal togete stane diameter messen
Mes met 3 punten 255 mm
Mes met 4 punten . 0255mm
Zaagmes (behale Mod. 28H -
28HD-38H) 0 255 mm
Massa 1)
Modellen "MONO" ... van 5,3 tot 7,1 kg
Modelleni "DUPLEX" ... van 5,5 tot 8,2 kg
1) Massa volgens norm ISO 11806 (zonder brandstof, snij-inrichtingen en bescherming)
Geluids- en trillingsmetingen
| Model............ | 28H | 28HD | 38H | 38HD |
| Gemeten geluidsniveau (ISO 10884) dB(A) | ||||
| met draadhouder......... | 108,1 | 107,9 | 106,3 | 109,7 |
| met mest met 4 punten.......... | 106,0 | 106,1 | 103,5 | 106,5 |
| Geluidsniveau aanoor gebruiker(EN 27917) dB(A) | ||||
| met draadhouder......... | 94,6 | 95,1 | 92,1 | 94,7 |
| met mest met 4 punten.......... | 94,3 | 91,2 | 93,2 | 93,7 |
| Trillingen overgebracht op de hand op de voorste handgreep ("MONO") (ISO 7916)m/sec2 | ||||
| op laagste toerental | 2,4 | - | 2,2 | - |
| met draadhouder......... | 8,3 | - | 5,9 | - |
| met mest met 4 punten.......... | 7,8 | - | 2,8 | - |
| Trillingen overgebracht op de hand op de achterste handgreep ("MONO") (ISO 7916)m/sec2 | ||||
| op laagste toerental | 2,0 | - | 2,9 | - |
| met draadhouder......... | 8,1 | - | 6,7 | - |
| met mest met 4 punten.......... | 9,2 | - | 4,7 | - |
| Trillingen overgebracht op de hand op de linkse handgreep ("DUPLEX") (ISO 7916)m/sec2 | ||||
| op laagste toerental | - | 1,3 | - | 1,3 |
| met draadhouder......... | - | 7,2 | - | 2,1 |
| met mest met 4 punten.......... | - | 5,4 | - | 2,0 |
| Trillingen overgebracht op de hand op derechtse handgreep ("DUPLEX") (ISO 7916)m/sec2 | ||||
| op laagste toerental | - | 1,9 | - | 1,4 |
| met draadhouder......... | - | 7,7 | - | 3,3 |
| met mest met 4 punten.......... | - | 5,3 | - | 3,7 |
SimpelGids