SB435HD - Dulkių siurblys STIGA - Nemokama naudojimo instrukcija
Raskite įrenginio instrukciją nemokamai SB435HD STIGA PDF formatu.
Questions des utilisateurs sur SB435HD STIGA
0 question sur cet appareil. Repondez a celles que vous connaissez ou posez la votre.
Poser une nouvelle question sur cet appareil
Atsisiųskite instrukciją savo Dulkių siurblys PDF formatu nemokamai! Raskite savo instrukciją SB435HD - STIGA ir vėl perimkite savo elektroninį įrenginį. Šiame puslapyje skelbiami visi dokumentai, reikalingi jūsų įrenginio naudojimui. SB435HD prekės ženklo STIGA.
NAUDOJIMO INSTRUKCIJA SB435HD STIGA
DEMESIO: priës naudojant priëtaisä, būtina atidžiai susipažinti su varantojo vadov.
Krumu griezeis - LIETOSANAS INSTRUKCIJA
UZMANIBU:
pirms aparata lietošanai rupigi izlasiet dato instrukciju.
EN Brush cutter - OPERATOR'S MANUAL
Pirmiausia norime padekoti už tai, kad pasirinkote mûs gaminj. Tikimés, kad šis pasirinkimas patenkins visus Jus pageidavimus ir lukescius. Šis vadovélis parasytas šio prietaiso tinkamam vartojimui, saugiam naudojimui bei efektyvmui; nepamirskite, kad vadovélis jeina j prietaiso komplektine sudét, todél pravartu ji laiktyi lengvai prieinamoje vietoje, tuo atveju kad priereikus visada but po ranka. Vadovélis turi būti prietaiso ir tuo atveju kai prietaisas perduodamas naudojimui kitiems asmenims, skolinant jj, arba galutinai perduodant kitam naudotojui.
Śs naujas prietaiasa buvo suprojektuotas ir sukurtas pagal atitinkamas nomatyvas. Prietaiasa naudojamas pagal vadovélyje nurodytas taisykles yra saugus ir patikimas (numatyas naudojimas); bet koks kitoks naudojimas, ar nesilaikant saugos priežiūros ir taisymo taisykli , taip pat naudojant "kitokiems veiksmams nei skirta". Gamintojo garantija gaminiu nieteikiama, jei prietaiasa naudojamas nesilaikant instrukcijose numatyt saugaus naudojimo bei priežiūros taisykli , prietaiasa naudojamas ne pagal paskirj.
Turint omenyje jog prietaisas periodiskai atnaujinamas ir tobulinamas jus galite susidurti su kai kuriais pakitimais neatitikimais instrukcjoje. Sioje instrukcjoje pateikta informacija konkreciai gamintojo versija be papildom atnaujinim ar pakeitim . Bet kokiu atveju vartojimo instrukcija visada islaiko pagrindines prietaiso charakteristikas. Kilus bet kokiems klausimams nedvejodami kreipkites j prietaiso pardaveja.
TURINYS
- Pagrindini dali identifikaciona 2
- Simboliai 3
- Saugumo nurodymai 4
- Prietaiso montavimas 6
- Pasiruosimas darbui 8
- Pajungimas - Naudojimas - Variklio sustabdymas 9
- Prietaiso naudiojimas 11
- Priežiura ir laikymas 14
- Gedim lokalizacija 16
- Techninai duomenys 17
1. PAGRINDINI DALI IDENTIFIKACIJA
PAGRINDINIAI KOMPONENTAI
- Variklio visuma
- Transmisijos kotas
- Pjovimo mechanizmas
a. 3 arba 4 kamp peilis
b. Gijos galvuté
- Pjovimo mechanizmo apsaugos
- Priekiné rankena
- Barjeras
- Rankena
- Galiné rankena
- (Dirž) sujungimo taškas
-
Imatrikuliaciné etiketé
-
Dirzai
a. vieno dirzo
b. dvigubo dirzo
- Krumplè pavara
- Ašmen apsauga (transportavimui)
- Žvake
NURODYMAI IR DEGAL PAPILDYMAS
- Variklio sustabdymo jungiklis
- Akcerelarotiaus komanda
- Akceleratoriaus blokavimas
- Užvedimo rankenéle
- Starterio komanda (jeigu yra)
-
Užpildymo jtaiso komanda (Primer) (jeigu yra)
-
Karbiuratoriaus bakelio kamstis
- Alyvos kamstis



“MONO”

"DOUBLEX"
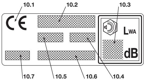
IMATRIKULIACINE ETIKETÉ
10.1) Atitikties zenklas pagal Direktyvå 98/37/CE
10.2) Gamintojo pavadinimas ir adresas
10.3) Akustinès galios lygis pagal LWA direktyva 2000/14/CE
10.4) Gamintojo informacinis modulis
10.5) Prietaiso modelis
10.6) Registro numeris
10.7) Pagaminimo metai

2. SIMBOLIAI









1) Demesio! Pavojus. Netinkamai naudojas sis prietaisas gali buti pavojingas jums ir aplinki-niams.
2) Pries naudojant sj prietaisa, perskaityt instrukcij vadoveli.
3) Perspèjame šio prietaiso operatori , kad naudoantis prietaisu normaliomis salygomis kasdieiniam naudojinui gali buti isgautas garsas tologyus arba virsijanis 85dB (A). Naudoti akustines apsaugas ir apsauginj šalma.
4) Deveti apsaugine analyne ir pirstines!
5) Iskysuli pavojus! Nutolinti bet tokius asmenis ar naminius gyvunus maiausiai 15 m atstumu nuo prietaiso darbo vietos.
6) Neveikti peiliais jiems judant. Pavojus: Diskinio peilio naudojimas su prietaisais ant kuri yra sis simbolis perspeja naudotoja apie susizeidimo pavoj net mirtinai.
7) Maksimalus p jovimo mechanizmo greitis. Naudoti tik atitinkamus p jovimo mechanizmus.
8) Akustikos lygio galios nurodymas LWA pagal 2000/14/CE direktyvas.
AIŠKINAMIEJI SIMBOLIAI ANT PRIETAISO (jeigu yra)

11) Karbiuratoriaus bakelis
12) Variklio sustabdymo jun-giklio pozicijos
a = sustabdymas
b = pavara

13) Minimalaus greicio regu- liavimas
14) Starterio komanda (Starter)

15) Užpildymo jtaiso komanda (Primer)

16) Taisyklinga laikymo pozi-cija ant transmisijos koto

AIŠKINAMIEJI SIMBOLIAI ANT AUPSAUG (jeigu yra)



21) Pjovimo mechanizmai kuriems yra atitinkama apsauga
22) Naudoti su gijos galvute
23) Pjovimo mecha-nizmo sukimosi kryptis
3. SAUGUMO NUODYMAI
A) MOKYMAS
1) Atidžiai perskaitykite instrukcjjas. Gerai jsiminkite prietais pulto funkcijas ir kaip reikia tinkamai dirbtj trenginiu. Ismokite greitai sustabdyti variklj.
2) Prietaisa naudoti tik tai paskir iai kuriali yra skirtas, tai yra
- Zolés ir nesumedéjusi augal pjoyimui, naI Iono gija (pvz. aplink geli vazon krastus, plantacijas, pamatus, trovas, ar limituotos erdvés vejas dalge pradetam darbui uzaibigt.)
- aukstos zoles pjoivmui, sakoms ir sumedejusiems krumoksniams su diametru iki 2 cm su pagalbiniais metaliniais arba plastmasiniais peilias.
Bet koks kitoks jo naudiojimas gali tapti pavojingu ir sukelti prietaiso gedima.
3) Neleiskite, kad prietaisu naudot si vaikai arba zmonès, kaip reikiant nesusipažine su instrukcijomis. Gali buti, kad vietiniaj jstatymai leidzia dirbti prietaisu tik asmenims, sulaukusiems ne mazesnio nei nustatyas amziaus
4) Prietaisu negali naudotis daugiau nei vienes asmuo.
5) Jokiu budu prietaisu negalima dirbti, jei:
- Su asmenimis, ypač vaikais ar gyvūnais esančiais netoliese;
- Jei naudotojas jaučiasi pavarges ar blogoje savijautoje, arba vartojo medicamentus, narkotiné medziagas, alkoholj arba kitas kenksmingas medziagas kurios galet jatakoti atidumir veiksmuma.
- Jei naudotojas nera tinkamose salygose abiem rankom stabiliai išlaikyti krūmapjov / ar išlikti stabiliame stovyje darbo veikloje.
6) Būtina nepamiršti, kad operatorius ar prietaiso naudotojas atsako už avarijas bei Žalá, padaryta kitiems asmenims arba j turtui.
B) PASIRUOSIMAS
1) Darbo metu, naudoti atitinkama apsirengimakuris apsaugot naudotoja nuo susizeidim.
- Naudoti apsaugai pritaikytapisirengima, skirta nuo jsipjovim.
- Devétī šalma, pirstines, apsauginius akinius, kaukes nuo dulki ir atitinkama nuo paslydimo avalyne.
- Naudoti ausines klausos apsaugai.
-Nedeveti salik, marskini, grandineliu ir kit pakabinam aksesuar, ar kitoki placi indum-ment kurie galetu jisipainiotj prietaisaar itas darbo vietoje esancias medziagas.
- Tinkamai susisukuoti ilgus plaukus.
2) DÉMESIO: PAVOJUS! Benzinas yra labai degus.
- Degalus laikyti tam pritaikytuose konteineriuose;
- Nerukyi nadojantis kuru;
- Iš lěto atidaryti bako kamstj išleidžiant viduje esantj spaudimā;
- Piltuvelio pagalba užpildyti baká tik atviroje vietoje;
- degalus papildykite pries paleisdami varikli jei variklis veikia arba yra jkaites nepilkite benzino, ir neatsukinekite bako kamscio;
- jei teka benzinas, variklio nepaleiskite ir patraukite prietaisq nuo vietos, kurioje degalai iissipyle; ziurekite, kad nekit gaisro pavojus, kol degalai neišivadës ir bezino garai neissisklaidys.
—Greitai isvaltyi kiekviena benzino zyme patekusia ant prietaiso ar ant zenes; - Neužvesti prietaiso toje vietoje kur yra iissiskirstes kuras;
- iśvengti kontakt su indumentais kuriuose yra patekusio kuro, tuo atveju pakeisti indumentus preš užvedant variklj;
- visada ir gerai užsukite bako ir benzino talpos kamšcius.
4) Pakeiskite sugadintus ar defektuotus duslintu-vus.
5) Pries naudojima, gerai patrikrinti prietaisa in ypač:
-Akceleratoriaus ir saugos svirtys turi buti laisvam judejime, nespaudziant ir atleidus automatiskai turi sugrizti jneutralia pozicija. - Jei néra jspausta saugumo svirtis, akceleratoriaus svirtis turi išlikti blokuota;
- Variklio sustabdymo jungiklis turi lengvai judéti iš vienos pozicijos j kità;
-Bet kokios kibirksties i'svengimui, elektros laidai, o ypač Žvakës laidas turi buti vientisi. O dange-lis teisingai sumontuotas ant Žvakës;
Prietaiso verzles, varztai ir apsaugos turi buti svarus ir sausi bei tvirtai sutvirtinti ant jrenginio;
-pjovimo mechanizmai niekada neturi buti pazeisti.
6) Užsitikrinti taisy Klinga ranken pozicijir dirž sutvirtinimo taška,bei geraPrietaiso pusiausvyra.
7) Pries pradedarba, uzsitikrinti, kad apsaugos atitikt pjoyimo mechanizma ir but gerai sumontuotos.
8) Gerais apziureti visa darbo territorija ir pašalinti viska kas galet buti uzkliudyta prietaisu arba sugadint pjovimo grupe bei variklj (akmenis, šakas, geležinius laidus, kaulus ir tt.).
C) DIRBANT
1) Neužveskite variklio nedidelèje erdvêje, kur gali susikaupti pavojing anglia monoksido dum.
2) Dirbkite tik dienos šviesoje arba esant geram dirbtiniam apšvietimui.
3) Assumere una posizione fema e stabile:
-Bet kokiu atveju i'svengti darbo ant slapios ar slidzios zemes, taip pat ant nelygaus pavirsiaus
bei statau slaito kur nera garantuojamas operatorius stabilumas darbo metu;
- nebégioti, o vaikšcioti atsargiai atsižvelgiant j galimas kliutis ar Žemës nelygumus.
- jvertinti galimas dirbamos zemés rizikas pasirupinti pači saugumu, ypač ant pakalni, nuolaidaus, slidaus ar nelygios zemés.
-Ant pakalni dirbti skersai, niekada kylant ar leidziantis visada latakiai išlaikant p jovimo mechanizmus.
4) Užvesti variklj, kai prietaisas yra tvirtai blokuotas:
- variklj užvesti mažiausiai 3 metr atstumu nuo kuro jpilimo vietos;
- užsikitkrinti, kad kiti asmenys būt mažiausiai 15 metr spinduliu nuo prietaiso veikimo arba 30 metr nuo pavojingesni pjoyim ;
-Nenukreipti duslintuvo, taigi duj i smetimo link degi j medziag ;
5) Nekeiskite variklio nustatym, neleiskite varikiui dirbti per dideliu apsisukim rezimu.
6) Nenaudoti prietaiso pemelyg didelems galioms ir nenaudoti mazo prietaiso per dideliems darbams; adekvataus prietaiso naudojimas sumazina rizikas ir pagerinava darbo kokybe.
7) Užsitikrinti, kad minimalus prietaiso režimas yra toks, kuriuo neleidžiama judeti pobjimo mechanizmui ir po pagreinitimo, variklis netrukus sugržt iki minimalaus greicio.
8) Laikytis atsargumo, kad ašmenys neatsitrenktj pašalinius kūnus ir išsikišimus atsiradusius delpeili sukimosi.
9) Darbo metu prietaisà visada laikykite pritvirtintäant dirž .
10) Variklis sustabdomas:
-kaskart, kai prietaisas paliekamas be prieziuros.
- priespildami degalus.
- vietos pakeitmai darbo teritorijoje.
11) Sustabdykite variklj ir atjunkite zvakés laida:
-pries tikrindami prietaisa, valydamaraj priziurdami;
-kai susidurete su kokiu nors kliuviniu. Patikrinkite, ar prietaisas nenukentjo ir, pries vél naudodamiesi prietaisu, atlikite būtinus remonto darbus;
- jeigu prietaisas prada eda netaisyklingai vibruoti: tuo atveju butina netrukus atrasti vibravimo priezastj ir atstatyti;
-kada nesinaudojama prietaisu.
D) PRIEZIURA IR SANDELIAVIMAS
1) Noredami būti tikri, kad prietaisas patikimas, pasirupinkite, kad veržës ir varžtai būt prisukti. Nuolatine prietaiso priežiūra - pagrindiné taisyklé, norint, kad prietaisas būt saugus ir dirbt kokybiškai.
2) Nestatykite prietaiso, jei bake yra benzino, j patalpa, kurioje benzino garai galet susidurti su liepsna, kibirkstimi ar stipriu silumos saltiniu.
3) Pries statydami prietaisa j bet koki patalpa, palaukite, kol ataus variklis.
4) Užsidegimo rizikos sumazinimui išlaiktyi variklj, duslintuva ir degal laikymo vieta tokiame sandélyje, kur nesirast pjuven, liekan, saus šak, lap ir pemelyg daug riebal; patalpoje nepaliki konteinerio su nupjautom medziagom.
5) Jei baka reikia iustinti, atlikite sj veiksma atvirame ore, kai variklis yra atveses.
6) Dibant su pjaunanciais mechanizmais visada deveti darbines pirstines.
7) Saugumo sumetimais niekada nenaudokite prietaiso, kai jos dalys yra susidevjusios arba pazeistos. Jei negalima pataisyti, detales butina ja pakeisti. Naudoti tik originalalias pakeitimo dalis. Kitokios kokybés detales gali pakenkti prietaisui arba jo buklei. Visi p jovimo mechanizmai turi buti markiruoti gamintojo kaip taipogi maksimalus darbo greitis.
8) Pries padded pietaisa, uzsitikrinti, kad iisimtas raktas arba paalinti eksploatacijai naudojami reikmenys.
9) Prietaisa laikyti toli nuo vaikams prieinamos vietos!
E) VEZIMAS IR ISJUDINIMAS
1) Kiekviena karta, kai reikia isjudinti prietais va zti ar isjudinti, reikia:
- Išjungti variklj, palaukti visisko pojovimo mechanizmo sustojimo, nuimtiŽvakës dangtelj;
- užděti pjoyimo mechanizmo apsaugas;
-PaimtiPrietaisauzrankenirnukreipti piovimomechanizmaj priesinga ejimo kryptj.
2) Kai prietaisas vezamas transportu, butina prie-taisa pastatyi t tokia pozicija kurjoe islikt stabilii bluokuojamas, taip isvengiant apsvertim su galimiye jj paazeisti ar benzino issiliejimui.
Vadovélio tekste kai kurie paryskinti paragrafai yra labai svarbus, jie pažymétí skirtingais paryskinimais kuri reiksmes yra sios:
PASTABA
arba
SVARBU
Pateikiami patikslinimai arba
kiti duomenys, susije su tgt, kas jau buvo nurodyta, kad nebut pakenkta prietaisui ar neatsirast gedim.

DÉMESIO!
Nesilaikydami
galite
susizaloti patys ar suzaloti kitus.

VOJUS!
Nesilaikydami galite rimtai
susizaloti patys ar suzaloti kitus, netgi mirtinai.
4. PRIETAISO MONTAVIMAS
SVARBU
Prietaisas pateikiamas su kai
kuriais ismontuotais komponentais ir su degal tušćiu bakeliu.
DÉMESIO!
Visada deveti standzias
darbines pirstines dirbant p jovimo mechanizmais. Labai atidziai montuoti componentus laikantis saugumo ir veiksmingumo; bet koki dvejoni atveju susisiekti su jus Pardavéju.
1. PRIETAISO PAPILDYMAS
1a. Modeliai "MONO"
Modelis 28 (Pav.1)
DÉMESIO!
Tarpiklio (1) vaidmuo
garantoiti minimal atstuma tarp galines ir prekines rankenos, saugumo sumetmais. Sis tarpklis turi visada buti ir jokiu budu neturi buti modifikuojamas.
Tarpiklio priekyje (1), sumontuoti priekine rankena (2) ant transmisijos koto (3) naudoant varztus (4) ir verzles (5) jterptus tam skirtas angas.
Priesuverziantvarztus4),sureguluioti tinkamai rankena atsiizvelgiant j transmisijos kota.
- Iki dugno suveržti varžtus (4).
- Modelsi 38 (Pav. 2)
- Sumontuoti pirekine rankena su barjeru (1) ant plastmasinés atramos (2), iki dugno priveržiant varžtus (3).
1b. Modeliai "DUPLEX"
Modelis 28 (Pav. 3)
Jteripti rankena (1) su esamomis guminemis imovomis j terpes esancias ant superto (2), ant transmisijos koto (3), atsižvelgiant, kad komandos but desinéje puseje.
-Sumontuoti tarpiklj (4), iki dugno suverziant varztus (5) iterptus j tam skirtas terpes.
- Suportas (2) jau dalinai sumontuotas ant transmisijos koto (3) tokiu budu, kad krašai but pozicijoje atitinkant rodykle (7) ant etiketés; ši pozicija neturi būti kečiama.
Modelis 38 (Pav.4) - Atveržti centrinj sriegj (1) ir nuimti veržle (2).
- Jterpti rankena (3), atsižvelgiant, kad komandos but desineje.
- Ranken nustatyj patogiausia pozicija darbui, sutvirtinti verzle (2) ir sriegiu (1)
2. APSAUG MONTAVIMAS
DÉMESIO!
Kiekvienas pjovimo
mechanizmas turi specifine apsauga. Niekada nenaudoti kitoki apsaug nei yra skirtitos kiekvienam pjovimo mechanizmui.
- Peilis 3 arba 4 kamp (Pav. 5)
DÉMESIO!
Deve ti apsaugines
pirstines ir sudeti peilio apsauga.
- Ismontuoti peilj (jeigu sumontuotas) kaip nurodyta paragrafe 3.
-Apsauga yra pritvirtinta prie krumplines pava-ro (2) dviem varztais (3).
Gijos galvuté (Pav. 6)
DÉMESIO!
Kai naudojamasi gijos gal
vute, reikalinga, kad visada but sumontuota pagalbiné apsauga, su gijos nupjovimo peiliuku.
- Ismontuoti peilj (jeigu sumontuotas) kaip nurodyta paragrafe 3.
-Apsauga yra pritvirtinta prie krumplines pava-ro (2) dviem varztais (3). - Sumontuoti pagalbine apsauga (4) jterpiant smaigtis j tam skirtas vietas ant apsaugos (1) ir spausti iki dugno iki uzsifiksavimo.
3. PJOVIMO MECHANIZM ISMONTAVIMAS IR SUMONTAVIMAS
DÉMESIO!
Naudoti p jovimo mecha
nizmus tik originalius arba patvirtintus Gamintojo.
- Peilis 3 arba 4 kamp
DÉMESIO!
Dévéti apsaugines
pirstines ir sudeti peilio apsauga.
a) Modelis 28 (Pav. 7)
PASTABA
Gaubto verzle (4) turi kairiaja
briauneleiruri buti atsukama laikrodzio rodykliés kryptimirisukama kryptimi prieslaikrodzio rodykle.
- Jdeti turima rakta (2) krumplines pavaros tam skirta anga (3) ir sukti ranka peilj (1) kol raktas jeis j vidine anga, blokuojant sukimi.
- Nuimti gaubta (4) atsukant verzle laikrodzio rodyklès kryptimi.
- Ismauti isorine mova (5) ir nuimti peilj (1).
Montavimui,
-Uzsitikrinti, kad vidinés movos grioveliai (6) tiksliai sutikt su krumpline pavara (3).
- Sumontuoti peilj (1) ir išorine mova (5).
- Atgal sumontuoti gaubta (4), priverziant jj iki dugno verzle pries laikrodzio rodyk.
- Nuimti rakta (2) taip sugražinant peilio sukima-si.
b) Modelis 38 (Pav. 8)
PASTABA
Gaubto varžtas (4) turi kairia
ja briaunele ir turi buti atsukama laikrodzio roykles kryptimi ir prisukama kryptimi pries laikrodzio rodykle.
- Jdeti turima rakta (2) krumplines pavaros tam skirta anga (3) ir sukti ranka peilj (1) kol raktas jeis j vidine anga, blokuojant sukimişi.
- Nuimti gaubtá (4) atsukant centrinj varžtá laikrodžio rodyklès kryptimi.
- Ismauti isorine mova (5) ir nuimti peilj (1).
Montavimui,
-Uzsitikrinti, kad vidinés movos grioveliai (6) tiksliai sutikt su krumpline pavara (3).
- Sumontuoti peilj (1) ir isorine mova (5).
- Atgal sumontuoti gaubtā (4), sukant ji iki dugno pries laikrodžio rodykle.
- Nuimti rakta (2) taip sugražinant peilio sukima si.
Gijos galvute turi kairaja
briaunaruti buti atsukama laikrodzio rodykles kryptimi ir prisukama pries laikrodzio rodykle.
- Jdéti turimā raktā (2) j krumplines pavaros tam skirta anga (3) ir sukti ranka peilj (1 arba 1a) kol raktas jeis j vidine anga, blokuojant sukimiši
- Nuimi gijos galvute (1) atsukant laikrodžio rodyklés kryptimi.
Montavimui,
-Uzsitikrinti, kad vidinés movos grioveliai (4) tiksliai sutikt su krumpline pavara (3).
- Atgal sumontuoti gijos galvute (1), sukant jj iki dugno pries laikrodzio rodykle.
- Nuimti rakta (2) taip sugržinant ašies sukimasi.
- Diskinis peilis (jeigu leistina)
DÉMESIO!
Draudžiama naudoti diski
nius peilius ant prietais turin i šj simbolj (žiur. str. 2.6).
Diskinio peilio apsaugos montavimui, sekti instrukcijas pateiktas su šia detale.
5. PASIRUOSIMAS DARBUI
PRIETAISO PATIKRINIMAS
Pries pradedant darba reikia:
-patikrinti, kad ant prietaiso ir pjoyimo mechanizm nebut atsiverzusi verzli ;
-patikrinti, kad pjoyimo mechanizmas nebut pazeistas ir, kad metaliniai peiliai 3 ar 4 kamp (jeigu sumontuoti) but gerai priverzti;
- Patikrinti, kad oro filtras but Švarus;
- Patikrinti, kad apsaugos but gerai sutvirtintos ir efektyvios;
- Patikrinti ranken implantavima.
KARBIURATORIAI IR TEPALAI
Sis prietaisas turi keturi fazi variklj todél NEREIKALINGA jokia alyvos priemaisa benzinui.
SVARBU
naudojimas pazeidzia variklj ir už tai neatsakoma prietaiso garantiniu budu.
SVARBU
Norint islaiktyi gera prietaiso
veiksminguma ir mechanini organ ilga tarnavima, naudoti tik degalus ir kokybska alya.
-Benzino charakteristikos
Naudoti benzina be svino (zaliasis benzinas) su oktaniniu skaiciu ne zemesniu u'90 N.O
SVARBU
Zalias benzinas laikomas
ilgiau nei 2 menesius bake palieka nuosedes. Visada naudoti tik sviez benzina!
PAVOJUS!
Benzinas yra degus!
-Benzina laikyti atitinkamuose degal bakuose, saugiose patalpose, toli nuo silumos saltini ir atvir liepsn.
- Nepalakti vaikams prieinamose vietose.
Alyvos charakteristikos
Naudoti tik aukstos kokybès alyva, specinj
keturi fazi varikliams gerai valom su klasifikacija SF-SG ir lipnumu SAE10W30.
SVARBU
Nevalomos alyvos naudoji
mas, netinkamo ar su kitoki characteristicnik nurodyta alyvos naudojimas, gadina variklj ir už tai neatsakoma garantija.
Jus pardavimo punctuose yra alyvos skirtsos butent sio tipo varikliams, galincios garantuoti ilgalaiki variklio efektyvuma.
DEGAL UZPILDYMAS
PAVOJUS!
Atsargiai atidaryti bako
dangteli nes viduje galétu buti susikaupusio slegio.
Priesdegal uzbildyma:
- Prietaisa stabilia pastaty tokioje poziciijoje, kad degal bakelio dangtelis but virsuje.
- Nuvaltyi bakelio dangtelj ir aplinkne zona taip isvengiant, kad purvas nepatent j vid.
- Iš léto atidaryti degal bakelio dangtelj taip leidžiant išeiti susikaupusiam slegiui. Vykdtyi degal užpilima, išvengti uzpildyi bakelj iki pat virsaus.
DÉMESIO!
Visada užsukti degal
bakelio dangtelj, užveržiant iki galo.
DÉMESIO!
Greitai isvalty kiekviena
benzino deme patekusia ant prietaiso ar ant zenemes, ir nepajungti variklio kol benzino garai nera visiskai isnyke.
ALYVOS JPIILIMAS (Pav. 10)
SVARBU
Neužvesti variklio ir nenau
dotiprietaisojeigualyvoslygis nepakankamas.
Alyvos lygio patikrinimas:
-Prietaisa stabilia pastaty Tokioje pozicijoje, kad degal bakelio dangtelis but virsuje.
- Atsuki bakelio kamstj ir patikrinti, kad alyvas pasiekt užpylimo bumele.
Bakelio pajegumas yra 80 cc (Modelis 28) arba 100 cc (Modelis 38).
6. PAJUNGIMAS - NAUDOJIMAS - VARIKLIO SUSTABDYMAS
VARIKLIO UZVEDIMAS
DÉMESIO!
Variklio užvedimas turi buti
jvykdytas maiausiai 3 metrai nuo degal uzpildymo vietos.
Pries užvedant variklj:
- Pastaty tri prietaisag stabilioje pozicijoje ant zenemes.
- Nuimti peilio apsaugā (jeigu užděta).
- Užistikrinti, kad peilis (jeigu uzdetas) neliečia Žemès ar kit objekt.
- Saltas uzvedimas
PASTABA
"Saltu užvedimu" vadinamas
užvedimas kaijis vykdomas praejus mažiausiai 5 minutéms nuo variklio sustabdymo arba po degalu užpildymo.
Variklio užvedimas (Pav. 11):
- Nustatyj jungiklj (1) j pozijca «START».
- Veikti starteriu, sukant svirtele (5) j pozicija «CLOSE».
- Paspausti užpildymo (primer) mechanizmo mygtuka (6) 3-4 cartus taip paduodant degal srove.
- Tvirtai laikty trietaisant zemes, su viena ranka ant variklio visumos, kontrolles ishaikymui uzvedant varikli (Pav. 12).
SVARBU
Norint isvengti deformacij, neturi buti naudiojas kaip lieniui uzvedimo metu.
- Létai traukti uzvedamajra rankenele 10-15 cm, kol atsiras tam tikras pasipriesinimas, taigi traukti uztkrintai keleta kart kol pagaus pir-mus rezultatus.
SVARBU
Norint issvengti sutrikim ,
netraukti lyno visu jo ilgiu, neslinkinti angos pakrašciu ir toglyiai atleisti rankenele, isvengiant ja sugržinti nekontroliuojamu budu.
- Dar karta paktraukti užvedamajá rankenéle, kol bus iśgautas regularus variklio užvedimas.
DÉMESIO!
Variklio užvedimas su
jvestu starteriu provokuja p jovimo mechanizmo judejima, kuris sustoja tik iStraukiant starterj.
- Kai tik uzvedamas variklis, istraukti starterj sukant svirtele(2) j pozicija «OPEN».
- Pries dirbant prietaisu leisti veikti varikliui minimaliu greicu bent 1 minute.
SVARBU
Jeigu užvedamojo lyn ran-
kenèle naudojama pakartotinai su jvestu starteriu, variklis gali uzsilieti ir taip gali buti sudeteinguauzvesti variklj.
Variklio užsilijemo atveju, patekusi degal
pašalinimui išardyti Žvake ir lengvai traukti
užvedamojo lyno rankenéle; taigi nusausinti
žvakës elektrodus ir sumontuoti atgal ant variklio.
- Šiltas užvedimas
Šiltam variklio užvedimui (netrukus po variklio sustabdymo), sekti sekancios procedūros 1-4-5-6 punktus.
VARIKLIO NAUDOJIMAS (Pav. 11)
Pjovimo mechanizmo greitis sureguliuotas nuo akeleratoriaus komandos (2), esancio ant galiñés rankenos (4) arba ant dešinès valdymo rankenos (4a).
Akeleratoriaus veikimas yra jmanomas tik tuo atveju jei vienu metu buna jspausta blokavimo svirtelé (3).
Judesys iš variklio j transmisijos ašj perduodamas per didele išcentrine jega kuri neeidžia ašai judeti varikliui veikiant minimaliu greiciu.
DÉMESIO!
Nenaudoti prietaiso jeigumas juda varikliui veikianttokiu atveju nustatymini8)ir jeigu problema kartotisu pardaveju.
Teisingas darbo greitis išgaunamas su iki dugno jspausta akeleratoriaus svirtele (2).
SVARBU
Per pirmas 6-8 veikimo
valandas isvengti variklio naudojimo iki maksimalaus greicio.
VARIKLIO ISJUNGIMAS (pav. 11)
Variklio sustabdymas:
- Atleisti akeleratoriaus komanda (2) ir leisti veikti varikliui minimaliu greiciu mažiausiai keleta sekundži.
-Nustatyjungiklj(1)jpozicija 四 STOP
DÉMESIO!
Po akeleratoriaus
nustatymo minimaliam grei iui, praeina keletas sekundzi kol pjovimo mechanizmas visiskai nustoja sukts.
- Isvengti, kad tai tapt trukdymo priemoné.
Kruops iai laikytis vietini nom pašalinant po pojivo esan ias medziagas.
Kruops iai laikytis vietiniu nom pašalinant tepaline alyva ir benzina, sugadantas dalis ar bet kokius kitus elementus kurie gali jtakoti aplinka.
DÉMESIO!
Prailgintas vibracijos
islaikymas gali sukelti susizalojim ir neuro kraujagysli sutrikim (zinom kaip Raynaud fenomenas" arba baltoj ranka") ypa kas ken ia trukdymais. Simptomai gali paliesti rankas, pulsus ir pirstus, ir pasireiskia su jau-smingumo praradimu, sustingimu, Niezuliu, skausmu, spalvos pakeitimu, ar odos strukturiini pasikeitimu. Sie efektai gali buti isple iami nuo zenemos aplinkos temperaturos ir/arba nuo per stipraus jsikibimo j rankena. Pastebejesumptomus, reikiasuma zinti darba prietaisu ir pasitarti su gydytoju.
DÉMESIO!
Darbo metu dévéti atitinka
ma apsirengima. Jus pardavejas gali suteikti reikiamag informacija apie tinkamiausias apsaugines priemones garantuojan ias darbo sauguma.
PETNES NAUDIOJIMAS (Pav. 13)
DÉMESIO!
Prietasas turi buti naudoja
mas visada prikabantas ant taisyklingai devim petnes. Dažnai patikrinti greito atsegimo sagties efektyvum kuria galima greitai atlaisvi nprieta sa nuo dirz pavojingos situacijos atveju.
Petneos turi buti davimos priespritvirinant prietaisa prie atitinkamo prittvirtinimo dirzai turi buti sureguliuoti pagal operatoriaus kuno aukstj.
Jeigu prietaise numatya daugiau prisegimo ang, naudoti patogiausia kuriu bu tu galima islaikyi prietaiso pusiausvyra darbo metu.
Visada dévétipetneas atitinkancias prietaisovorirnaudojama p jovimo mechanizma.
- su prietaisais mažesnio nei 7,5 kg svorio turin iais gijos galvute arba su 3 ar 4 kamp peiliais, gali buti naudiojam modeliai su vienu ar dvigubu dirzu.
- su prietaais didesnio nei 7,5 kg svorio turin iais diskinj peilj (jeigu leistina), turi buti naudiojamas modelis su dvigubu dirzu.
- Modeliai "MONO" su vienu diržu
Dirzas (1) turi pereiti virš kairiojo peties, link desiniojo klubo.
- Modeliai su dvigubu dirzu
Dvigubas dirzas (2) neturi buti davimas su:
-užkimša puse ir sagties apkaba dešinëje puseë;
- atsegimu prikeye;
- dirž susikryžiavimu ant operatoriaus nugaros.
Dirzai turi buti iSTEMpti taip, kad svoris toygiai pasiskirstyt ant peci.
PRIETAISO NAUDOJIMO BUDAI
DÉMESIO!
Darbo metu, prietaisas
visada turi buti trvirtai laikomas dvejomis rankomis, laikant variklio visumă deşinéje kūn o puseje ir pjoyimo grupe šemiau už dirzo linija.
DÉMESIO!
Jeigu darbo metu peilis
blokuojasi, reikia greitai sustabdyti variklj. Visada buti atidiems kontrsmugiui (kickback) kuris gali pasireiksti jeigu peilis sutinka kliuti kaip (pagaliai, sknys, sakos, akmenys ir t.t.). Isvengti, kad peilis lietusi su zeme. Kontrsmugiai provokuja sunkiai kontrluojamus peilio atsimusimus, taip provokuojant prietaiso kontroles praradima, statant j pavoj operatoriaus sauguma ir sukelian nuostoli pa iam prietaisui.
Pries pirma karta vykdant pjovmo darba, patartina susipazinti su prietaisu su tinkamiausiomis pjovmo technikomis bandant taisy Klingai deveti petneas, tvirtai laiktyi prietaisa ir vykdyti darbo reikalaujamus judesius.
- Pjovimo mechanizmo pasirinkimas
Pasirinkti pjovimo mechanizmá labiausiai tinkamā darbui atlikti, pagal šiuos nurodymus:
-3kamppeilis tinkamaszabamsirmaziems bruzgynamsiki2cm diametro;
- 4 kamp peilis tinkamas standžios Žolès pjo-vimui, ant ištis pavirši ;
gijos galvute gali pašalinti aukstžole ir nesumedéjusius augalus netoliese tvor, sien, pamat, saligatvi, aplink medzius ir t.t. arba visiskai isvaltyt am tikra sodo vieta.
diskinis peilis (jeigu leistina) tinkamas tvirtesiems bruzgynams, zabams ir maziems medeliiams su koteliu iki 6 cm.
DARBO TECHNIKOS
a) 3 kamp peilis (Pav. 14)
Pradeti pjovima nuo augalo virsaus, leidziantis pjaunamu peiliu tokiu budu, palaipsniui smulkinant sakas.
b) 4 kamp peilis (Pav. 15)
Veikti prietaisu kaip tradicine dalge, arkiniu judesi 60-90°, iseinant is Žalumos ir taip tésiant.
c) Gijos galvuté
DÉMESIO!
Naudoti TIK nailonines
gijas. Metalini plastikini ir/arba netinkam galvutei gij naudojimas, gali sukelti rimt susizalojim .
Naudojimo metu, patartina sustabdyti variklj ir periodiskai nuimti apsisukusia aplnk prietaisa zole, taip isvengiant transmisijos koto perkaitimo, del jsivelusios zoles po apsauga.
Nuimi jsivelusia zole su atsuktuvu leidziant, kad kotas taisy Klingai ataust.
DÉMESIO!
Nenaudoti prietaiso slavi
mui uzkemšant gijos galvute. Variklio galingumas gall sviestj objektus ir mažus akmenelius iki 15 metr arba sukelti nuostoli provokuojarst susizalojimus asmenims.
Pjovimo judesyas (dalginés) (Pav. 16)
Veikti reguliarii ejimu, arkiniu judesiu panasiu j tradicinés dalgés, neuzkemsant gijos galvutés veiksmo metu.
Pirmiausiai sabandyti pjauti tinkama aukstj mažame plote, kad véliau išgautumete tolyg pojvimo aukstj išlaikant gijos galvute atitinkamu atstumu nuo dirvos.
Sudeteiapi 30^ kaire laikiklio galvute.
DÉMESIO!
Neveikti siuo budu jeigu
yra galimbye isprovokuoti objekt sviaidymapakenkti asmenims, gyvūnams ar sukelti nuostoli.
- Tikslus pjoyimas (karpymas)
Laikyti prietaaisa lengvai pakreipta taip, kad isorine gijos galvuté neliest dirvos ir pjovmio linija butu norimam tase, visada laikant pjovmo mechanizmà toli nuo operatoriaus.
Pjovimas ties tvora / pamatais (Pav 17)
Létai priartini gijos galvute prie tvoros, kuoliuk , akmen , sien ir t.t be stipraus prisiletimo.
Jeigu gija susiduria su kliutimi gali nutrukti ar susdèvét; jeigu lieka jsipainiojusi j tvora, gali siurksciaiu nutrukti.
Bet kokiu atveju, pjoyimas aplink šaligatvius, pamatus, sienas ir t.t. gali sukelti didesnj už normal gijos susidévejima
Pjovimas aplink medžius (Pav.18)
Eiti aplink medj is kaires link desinés, létai pri-siartinant prie kamien neuzkakabinant gijos j kamiena ir išlaikant galvute lengvai pakreipta j priékj.
Turekite omenyje, kad nailoniné gija gali nupjauti ar sugadinti mažus krumus ir, kad nailonines gijos susidurimas su krūm kamienais ar minkšta medžiŽieve gali sugadinti augala.
Gijos ilgio reguliavimas darbo metu (Pav. 19)
Sis prietaisas aprupintas galvute "Trinktelk & Eik" (Tap & Go).
Norint isleisti nauja gija, trinkelti gijos galvute j dirva su varikliu maksimaliu greiciu; gija isleidziama automatiskai ir peiliukas nupjuna iseinamaglgj.
d) Diskinis peilis (jeigu leistina) (Pav. 20)
DÉMESIO!
Diskinio peilio naudojimas
draudžiamas jeigu ant prietaiso yra šis simbolis (ziur str. 2.6). Leistinam diskino peilino naudojmui, reikia visada sumontuoti speci fine apsauga. Peilis visada turi buti gerai pagalastas taipsumažinant kontrsmugio rizika.
DÉMESIO!
Maž medeli kirtimo atve
ju, numatyti kritimo kryptj, atsižvelgiant ir j véjo kryptj.
Norint isgauti gerus rezultatus maž medeli kirtimui, butina pobjima vykdyti greitu judesiu link pjaunamo koto ar kamieno su varikliu su maksimalais apsisukimais.
Isvengti naudoti desiniaja peilio vieta nesto vie toje yra didelere rizika kontrsmuguiarba peilio sustojimui, atsiradusio del sukimosi krypties.
DARBO PABAIGA
Pabaigus darba:
-Sustabdyti variklj kaip tai nurodyta anksciau (skyr. 6).
-Palaukti pjovimo mechanizmo sustojimo ir sumontuoti peilio apsauga (jeigu naudojamasi 3 ar 4 kamp peiliais ar diskiniu peiliu).
8. PRIEŽIURA IR LAIKYMAS
Taisyklinga prieziura yra pagrindinis dalykas norint islaikyi ilgam prietaiso veiksminguma ir sauguma.
DÉMESIO!
Prieziuros operacij metu:
- Nuimti Žvakésgaubtaj.
- Palaukti kol variklis bus tinkamai atauses.
- Operacijoms su peilais naudoti apsaugines pirstines.
-Laikytisumontuotas peilio apsaugas, iiskyrus atvejus kai dirbama su peiliu. - Neisklaidyti aplinkoje alyvos, benzino ar kitoki jtakojan i medziag.
CILINDRAS IR DUSLINTUVAS
Sumazinant užsidegimo rizika, daß nai su oro kompressu valtyi cilindro briaunas ir iš duslintuvo pašalinti susikaupusias pjuvenas, šakeles, lapus beiKitas liekanas.
UZVEDIMO GRUPÉ
Kad but isvengta perkaitimo ir zalos varikliui, vésinamojo oro groteles turi buti visuomet švaros ir iśvalytos nuo pjuven ir kit liekan.
Užvedamojo lyno rankenéle turi būti pakeista esant pirmiems jos gedimo požymiams.
JTVIRTINIMAI
Periodiskai patikrinti, ar visi varztai ir verzlès prisukti bei ar rankenos gerai pritvirtintos.
ORO FILTRO VALYMAS (pav. 21)
SVARBU
Oro filtro valymas yra svar
bus norint išaikyti gera ir ilga prietaiso ekspoatacija. Kad variklis nebūt nepataisomai pažeistas, nedirbkite be filtro ar su pažeistu filtru.
Valymas turi buti atliekamas kas 8 -10 darbovaland .
Kad but isvalytas filtras:
- Paspaudi liežuvěl (3) ir nuimti dangtelj (1) ir tokiu budu filtruojantj elementa (2).
Nuplauti vandeniu ir muilu filtruojanti elementa(2). Nenaudoti benzino ar kit tirpikli. - Leisti filtru iśdziūti atvirame ore.
- Sumontuoti filtruojanti elementa (2) ir dangti (1).
ZVAKES PATIKRINIMAS (pav. 22)
Periodiskai, iśardyti ir metaliniu šepetéliu iśvaltyi Žvake pašalinant galimas nuosédas.
Norint prieiti prie Žvakés; reikia atveržti varžta su turimu raktu ir nuimi viršutine galvute.
Patikrinti ir sugražinti teisinga atstuma tarp ekektrod.
Sumontuoti atgal vake ir su tam skirtu raktu priverzti iki dugno.
Elektrod perdegimo arba izoliatoriaus gedimo atveju, bei kas 100 valandu veikimo, zvaké turi buti pakeista j kitaj analogiska zvake.
VARIKLIO ALYVOS PAKEITIMAS
Istustinti alvos bakelj esant dar siltam varikliui taip uzsitikrinant greita ir pilna istustinima.
- Patikrinti, kad karbiuratoriaus bakelio kamstis but gerai prisuktas.
- Nuimti alyvos bakelio kamstj ir ispilti alyva j rezervuara, paverciant variklj alyvos bakelio bumeles puse.
- Pripildyi baklj su patartina alyva ir patikrinti lygi.
- Atgal sudeti alyvos bakelio kamstj.
KARBIURATORIAUS REGULIAVIMAS
Karbiuratorius fabrike yra sureguliuotas tokiu budu, kad but galima isgauti geras ekspoataciinesavybes kiekvienoje naudiojimo situacijoje, su minimaliu kenksming duj iskyrimu, atsižvelgiant j jstatym nustatytas nomatyvas.
Blogo veikimo atveju, kreipkites j Jus Pardavéjá karbiuracijos ir variklio patikrinimui.
- Minimalaus grei io reguliavimas
DÉMESIO!
Minimalaus grei io regula-tik tuo atveju jeigu pjovimo a su isjungtu varikliu.
Greitis gali buti mazinamas sukant verzle su atzyma «MIN» pries laikrodzio rodykle, kol pjovimo mechanizmas sustoja esant pakankamam variklio veikimui.
Jei variklis veikiant minimaliu greiciu veikia netaisiklingai, pasukti verzle laikrodzio rodyklès kryptimi taip padinant greitj.
DÉMESIO!
Pjovimo mechanizmas
neturi judeti su varikliui veikiant minimiu grei iu; jei nejmanoma isgauti teisingo jus tenkinan io nustatymo, susisiekti su prietaiso pardavèju.
KRUMPLINE PAVARA (Pav. 23)
Sutepti su liicio tepalu.
Nuimti varztus (1) ir sutepi tepalu sukant ašj iki kol tepalas pradès išeiti; taigi atgal sumontuoti varztus (1).
3 AR 4 KAMP PEILIO GALANDIMAS (Pav. 24)
DÉMESIO!
Dévéti apsaugines
pirstines Jeigu galandimas vyksta neismontuojant peilio, nuimkite zvakés dangtelj.
Galandimas turi buti vykdomas atsižvelgiant j peilio tipologija ir pojoviklius, naudojant plokšci dilde ir veikiant vienodu budu ant kiekvieno kampo.
Nuorodos taisy Klingam galandimui nurodytos 24 Pav.
A = Klaidingas galandimas
B = Galandimo limitai
C = Klaidingi nevienodi kampai
Svarbu, kad po galandimo but išlaikoma taisy-klinga pusiausvyra.
Peilai su 3 ar 4 kampais yra naudiojam is abiej pusi . Kai viena kamp pusé yra susinaudiojusi, galima apversti ir naudoti kitäkamp pusé.
DÉMESIO!
Peilis niekada neturi buti
taisomas, bet butina jj pakeisti kai tik pastebi mi luzimai arbai kai virsijamas galandimo limitas.
GIJOS GALVUTÉS PAKEITIMAS
Norint pakeisti nailono gija, seksti instrukcijas pridetas prie galvutès.
GIJOS PJOVIMO PEILIUKO GALANDIMAS (Pav. 25)
- Nuimi gijos pjovimo peiliuka (1) nuo apsaugos (2), atverziant varztus (3).
-Fiksuoti gijos pjovimo peiliuka j spausuva ir pradeti galandima naudoanj ploksica dilde atsargiai islaikant original pjovimo kampa. - Sumontuoti atgal peiliuka ant apsaugos.
DISKINIO PEILIO SU 24 DANTIMIS GALANDIMAS (Pav.26)
DÉMESIO!
Deve ti apsaugines
pirstines. Jeigu galandimas vyksta neismontuojant peilio, nuimkiteŽvakés dangteli.
Patikrinti, kad peilio lygumas but apie 1 mm ir jeigu butina sureguliuoti su pincetu.
Tolygiai galasti su suapvalinta dilde visus dantis nuo 5,5 mm diametro naudoant ja kaip nurodyta paveiksléyje ir veikiant ant dont iš kairès j desine.
Dant profilis niekada neturi buti pakeistas.
DÉMESIO!
Diskinis peilis nera dvipu
sio naudojimo ir todél turi buti naudojasstik is vienos pusés.
Peilis niedada neturi buti taisomas, bet butina jj pakeisti kai tik pastebimi luizimai arbai kai virsijas mas galandimo limitas.
YPATINGI VEIKSMAI
Kiekviena nejtraukta šiame vadovělyje priežūros
operacija turi buti atlikta tik pas prietaiso pardaveja.
Operacijos atliktos netinkamose strukturose arba nekvalifikuot asmen jtraukia garantines formos nutraukim..
LAIKYMAS
Pabaigus kiekviena darbo sesija, kruposciai isvaltyi prietaisa nuo dulki ir kit liekan, pataisyi arba pakeisti pazeistas dalis.
Prietaisas turi buti laikomas sausoje vietoje, neatsiauriose klimatinese salygose, su taisyklingai sumontuota apsauga.
ILGALAIKIS NENAUDIOJIMAS
SVARBU
Jeigu numatomas prietaiso
nenaudiojimo laikas virsija 2-3 menesius, reikia atlkiti kai kurios veiksmus isvengiant kliuci pradedant darba po ilgo laiko, arba išlekanci nuostoli varikliui.
Sandeliavimas
Pries padedant prietaisa:
- Istustinti degal baka.
-Uzvesti variklj ir laikytj jj uzvesta minimaliu greiciu kol sustos, siuo atveju sunaudojami bake like degalai. - Ataushinti variklj ir isardytiŽvake.
-! zvakésgangajpiltsaukstanaujosalyvos. - Keleta kart patraukti uzvedamaja rankenèle taip isskirstant cilindre alyva.
- Sumontuoti Žvake stumokliu iki uzgesimo (matoma Žvakès angoje kada stumoklis pasiekia galutinj taška).
- Sugržimas prie veiksmo
Prietaiso sugražinimas prie veikimo:
- Išimi tžvake.
- Patraukti keleta karužvedamaj rankenèle taip pašalinant alyvos pertekli .
-Patikrinti zvake kaip tai aprasyta skyriije Zvakes kontroliavimas
-Parengti prietaisa kaip tai nurodyta skyriije "Pasiruosimas darbui".
9. GEDIM NUSTATYMAS
| KLIÜTIS | TIKÊTINOS PRIEŽASTYS | PATAISYMAS |
| 1) Variklis neužsive-da arba nešlieka veikmingas | - Netaisiklinga užvedimo procedūra | - Laikytis instrukcj (žiūr.str. 6) |
| - Nešvari Žvaké arba tarp elektrod netinkamas atstumas | - Patikrinti Žvák (žiūr.str. 8) | |
| - Užkimstas oro filtras | - Purvina Žvaké arba netaisiklingas atstumas tarp elektrod (žiūr.str. 8) | |
| - Karbiuracijos problemos | - Susisiekti su pardavèju | |
| 2) Variklis užsiveda, bet su maža galia | - Užkimstas oro filtras | - Purvina Žvaké arba netaisiklingas atstumas tarp elektrod (žiūr.str. 8) |
| - Karbiuracijos problemos | - Susisiekti su pardavèju | |
| 3) Variklis netaisiklin-gai veikia arba neturi galios | - Nešvari Žvaké arba tarp elektrod netinkamas atstumas | - Patikrinti Žvák (žiūr.str. 8) |
| - Karbiuracijos problemos | - Susisiekti su pardavèju |
10. TECHNINIAI DUOMENYS
Variklis 4-j fazi aušinimas oru
Litražas / Galingumas
Mod. 28H - 28HD 25 cm³ / 0,81 kW
Mod. 38H - 38HD 35 cm³ / 1,2 kW
Minimalus variklio sukimosi greitis
Mod. 28H - 28HD 2900-3300 apsukos/1'
Mod. 38H - 38HD 2900-3300 apsukos/1'
Maksimalus variklio sukimosi greitis
Mod. 28H - 28HD 10500-11000 apsukos/1'
Mod. 38H - 38HD 10500-11000 apsukos/1'
Maksimalus prietaiso sukimosi greitis
Mod. 28H - 28HD 8500 apsukos/1'
Mod. 38H - 38HD 8500 apsukos/1'
Zvaké. NGK CM5H (arba ekvivalentiškas)
Kuras: . Benzinas be svino (zaliasis) - minimumas 90
N.O.
Karbiuratoriaus bako talpa
Mod. 28H - 28HD 550 cm3
Mod. 38H - 38HD 650 cm3
Bakelio pajegumas yra
Mod. 28H - 28HD 80 cm3
Mod. 38H - 38HD 100 cm³
Maksimaliai leistinas peili diametras
Peilis 3 kamp 255 mm
Peilis 4 kamp 255 mm
Diskinis peilis (i'skyrus Mod. 28H - 28HD - 38H)
Masé 1)
Modeliai "MONO" nuo 5,3 a iki 7,1 kg
Modeliai "DUPLEX" . nuo 5,5 a iki 8,2 kg
1) Masé pagal normatyvas ISO 11806 (be karbiuratorius, pjovimo mechanizm ir apsaugos)
dažas detajas ir demontētas un degviela tvertne ir tukša.
UZMANIBU!
Veicot darbus ar grieze
jericem vienmér velociet izturigus darba cimdus. Pieverslet ipasu uzmanibu detaju montažai, lai nesamazinatu masinas drošibu un efektivati; saubu gadijumā szinieten ar vietjo izplatitaju.
1.CMAŠINAS KOMPLEKTÁCIJA
1a. Modeli "MONO"
Modelis 28 (1. zim.)
UZMANIBU!
Spraislis (1) nodrosina
ledarbinasanas aukla ir janomaina, kad paradaspimnas nodiluma pazimes.
STIPRINJUMI
Lai pieklutu svecei ir jaatskrue skruve ar komplektacija esosas atslegas palidzibu un janonem augsejama.
arbaudiet un noregulejiet attalumu starp elektrodiem, lai tas butu pareizs.
Uzstadiet sveci atpakaj, lidz galam pieskruejot to ar piegadato atslegu.
Asmeni nedrikst labot, tas ir jannomaina, kad paradas piisanas pazimes vai ja ir parsniegta asinasanas robeza.
LengvasVadovas