SB435HD - Støvsuger STIGA - Gratis brugsanvisning og manual
Find enhedens vejledning gratis SB435HD STIGA i PDF-format.
Questions des utilisateurs sur SB435HD STIGA
0 question sur cet appareil. Repondez a celles que vous connaissez ou posez la votre.
Poser une nouvelle question sur cet appareil
Download vejledningen til din Støvsuger i PDF-format gratis! Find din vejledning SB435HD - STIGA og tag din elektroniske enhed tilbage i hånden. På denne side er alle dokumenter nødvendige for brugen af din enhed offentliggjort. SB435HD af mærket STIGA.
BRUGSANVISNING SB435HD STIGA
ADVARSEL: Læs instruktionsbogen omhyggeligt igennem, før du tagerijke maskine i brug.
NO Trimmer - INSTRUKSJONSBOK
ADVARSEL: Les dette brauksanvisningen不同程度 du bruker maskinen.
Krovinorez - NAVOD KPOUZITI
Motor 4-takt luftavkyld
Vi takker Dem for valget af vores produit, og vi haber, at brugen af dette nye maskine - kædesaven - giver Dem gode resultater og lever op til Deres forventninger. Denne manuel er udformet sãlèdes, at De kan blve fortrolig med maskinen og anvende den pa en sikker og effektiv mäde. Glem jegke, at manualeen er en del af maskinen. Opevar den, sãledes at der nemt kan indhentes oplysninger heri. Sâfremt maskinen videresælges eller udlånes, skal manualeen udleveres til den nye ejer.
Denne nye maskine er designet og konstrueret i overensstemmelse med de gældende normer og er derfor päldelig og driftsikker, sāfremt den anvendes under overholdelse af anvisningerne i denne manual ("tilladt brug"). Al性和brug ell mänglende overholdelse af sikkerhedsfrskrfterne vedrørende brug, vedligholdelse og reparation betragtes som "ukorrekt brug" og medfær bortfald af garantien. Endvidere bortfaldo fabrikantens ansvar; operatoren er saledes ansvarlig for udgifferne som ffolge af skader ell kvaestelser pa sig selv er andre personer.
Der kan vare minre forskelle mellem oplysningerne i donne manul og Deres maskine, idet vi konstant forbeder vores Produkter. Oplysningerne i donne manual kan ænndres utden forudgående meddeelse herom og uten, at fabrikanten har pligt til at bekendtgore opdateringerne. De karakteristika, der er væsentlige for sikkerhed og Funktion, forbliver dog uændret. I tvivlstilfælde bedes De rette henvendelse til Deres forhandler. God arbejsdyst!
INDHOLDSFORTEGNESELL
- Identification of hovedkomponenter 2
- Symboler 3
- Sikkerhedsforskrifter 4
- Samling af maskinen 6
- Forberedelse til arbejdet 8
- Start - Anvendelse - Standsning af motoren 9
- Anvendelse af maskinen 11
- Vedlidgeholdelse og opbevaring 14
- Fejlfinding 16
10.Tekniske data. 17
1. IDENTIFICATION AF HOVEDKOMPONENTERNE
VIGTIGSTE KOMPONENTER
- Motorenhed
- Transmissionsrør
- Skareindretning
a. Klinge med 3 eller 4 spidser
b. Tradhoved
- Beskyttele for skareindretning
- Forreste handtag
- Barriere
- Styr
- Bagerstehandtag
- Kobling til seleværk
- Identifikationsskilt
- Selevaerk
a. med enkelt sele
b. med dobbelt sele
-
Vinkel-anordning
-
Beskyttelse for transport af klinge
- Taendrør
BETJENINGER OG PAFYLDNINGER
- Afbryder til motor
- Hastighedsregulator
- Laseknap til hastighedsregulator
- Startgreb
- Starter (findes kun i nogle modeller)
-
Primer (findes kun i nogle modeller)
-
Daeksel til brændstoftank
- Daksel til olie



“MONO”

"DOUBLEX"
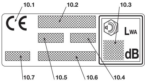
IDENTIFICATIONSSKILT
10.1) Overensstemmelsesmerke i henhold til EU-direktivet 98/37/CE
10.2) Fabrikantens navn og adrasse
10.3) Lydeffektniveau (LWA) jf. direktivet 2000/14/CE
10.4) Producers reference model
10.5) Maskinens model
10.6) Serienummer
10.7) Konstruktionsar

2. SYMBOLER









1) Advarel! Fare. Hvisijke maskine anvendenukorrekt, kan den vaere farlig for brugeren ogandre.
2) Læs brugsanvisningen, før maskinen tages i.
brug.
3) Brugeren af dette maskinen, när dette anwendes under normale betingelser hver dag og kontinuelerigt, kan udsettes for et stojniveau pa 85 dB (A) eller mere. Anvend horeværn og tag beskyttelseshjelm pa.
4) Bae arbejdshandsker og sikkerhedsfodtjo!
5) Fare for udslyngning! När maskinen er i brug, skal samtige personer og/eller husdyr holdes i en afstand på mindst 15 m fra maskinen!
6) Rundsaiv-klinger mä违法犯罪. Fare: Anvendelse af rundsaiv-klinger i maskiner med dette symbol udsætter brugeren for risiko for alvorlig skade eller endda døden.
7) Maksimal hastighed for skareindretning. Anvend kun egnede skareindretninger.
8) Angivelse af lydeffektniveau LWA ifolge direkt tivet 2000/14/EF.
SIMBOLER PÁ MASKINEN (findes kun i nogle modeller)

11) Brændstoftank
12) Stillinger for afbryderen til standsnig af motoren a = stop b = korsel

13) Justering af tomgangs-hastigheden



SYMBOLER PÅ BESKYTTELSERNE (findes kun i nogle modeller)


21) Skareindret-ninger, for hvilke beskyttelsen er egnet
22) Skal bruges med tradhoved
23) Drejeretning for skareindretning
3. SIKKERHEDSFORSKRIFTER
A) GENERELLE RAD
1) Laes betjeningsvejledningen omhyggeligt. Bliv fortrolig med maskinens betjening og dermed delve brugen af maskinen. Lær at slukke hurtigt for maskinen.
2) Anvend maskinen til det formal, den er beregnet til, nemlig
- klipning af græs og seks-træagtige planter, ved hjælp af en nylontråd (f.ex. i udkanterne af blomsterbeder, mindre plantager, mure, indhegnninger og mindre grønne områder, for at justere after klipning med en slåmaskine);
- skåring af højt græs, ukrudt,indreGRENG og traegtige buske med en diameter på op til 2 cm, ved hjælp af klinger i metal eller plastik.
Enhver,andenbrugafmaskinenerfarligogkan skade den.
3) Lad aldrig boern erer personer, som ici har det nodvendige kendskap bil maskinen, bruge den. Der kan lokt altere fastsat en minimum aldersgranse for brug af maskinen.
4) Maskinen pågressive anvendes af mere endén person.
5) Brug aldrig maskinen:
- Med personer, specielt børn, eller dyr i nærhen;
- Hvis brugeren føler sig træt ellerutilpas,ellerhvisbrugeren har indtagetlagemidler,euforiserende stoffer, alcohol erller andre stoffer,somkanpavirkehansller hendesrefleksers opmaerkomshed;
- Hvis brugeren seks er i stand til at holde fast i maskinen med begge haender, og/eller hvis brugeren seks kan gå stabilt og med benene i balance under arbejdet.
6) Vaer opmaerkoms pa, at operatoren er ansvarlig for ulykker, som pafores andre personer ell deres ejendom.
B) FORBEREDELSE
1) Under arbejdet skal man bare en hensigtsmaessig pasklaedning, som ikke skal vare til gene for brugeren.
- Bær modstandsdygtigt og stramtsiddende beskyttelsestoj.
- Bør hjelm, handsker, beskyttesbriller, stovmasker og modstandsdygtige sko med glidsikker sal.
- Anvend horevaern for at beskytte horesansen.
- Bær ikke halstørklaeder, kiter, halskaeder og/eller haengende eller brede tilbehör, som kan sætte sig fast i maskenilen iii genstandeEll materialier, der forefindes på arbejdspladsen.
- Langt hare skal holdes forsvarligt samlet.
2) ADVARSEL: FARE! Benzin er meget brandfarlig.
- Opbevar brændstoffet i de dertil beregnede dunke;
-Ryg畸形,nár De handterer brændstoffet;
- Abn tankdakslet langsomt for gradvist at aflaste det interne tryk;
- Páfyld altid brændstoffet i det fri ved hjælp af entragt;
- Fyld brændstoffet på, inden motoren startes; päfyld aldrig brændstoffet og fjern aldrig brændstoffankens dæksel, narr motoren er i gang eller stadig er varm;
- Start/DDme, hvis der er spildt brændstof, men fyt i stedet maskinen væk fra det forurende omrade for at undg' brand. Vent til benzindampene er forsvundet;
- Rens straks ethvert spelar af brandstof, der matte vare spildt over maskinen ellr pa jorden:
- Start aldrig maskinen på det sted, hvor pafyldningen er foregåt;
- Undgå kontakt mellem brændstof og toj; skulle dette alligevel ske, skal De skifte toj, inden De starter motoren;
- Sørg altid for at stramme dækslet godt, både på tank og benzindunk.
4) Udskift defekte lyddaempere.
5) For brug af maskinen, foretag da et generelt eftersyn af maskinen, og især: - Hastighedsregulatorens og sikkerhedshandtagets bevgelse skal vare fri og ikke-tvungen. Nár der gives slip på handtagene, skal disse automatisk og hurtigt vende tilbage til neutral position;
-Hastighedsregulatorenshandtag skal forblive blokeret, hvis der icke trykkes pa sikkerhedshandtaget; - Afbryderen til motoren skal kinne flyttes.uden besvær fra den ene position til den,anden;
- De elektriske kabler, og isaer taendrorskablet, skal vare hele for at undgå dannelse af gnister, og taendrøshaeten skal vaere korrekt monteret på taendroret;
- Maskinens händtag og beskyttelser skal vare rene, tøre og solidt fastgjort til maskinen;
- Skareindretningerne og beskyttelserne må ikke beskadiget.
6) Kontroller den korrekte position auf handtagene og koblingen til selevaerket, og kontroller, at maskinen har en god balance.
7) Inden arbejdet pabegyndes, forvis Dem da om, at beskytTELserne er egnet til det anvendte skareredskab og er korrett monteret.
8) Kontrolér hele arbejdssomrát det grundigt og fjern alt det, som kan slyngnes ud af maskinen ell er kan beskadige de skærende dele og motoren (sten, grene, staltrád, knogler m.m.).
C) UNDER ANVENDELSEN
1) Taend aldrig motoren i et lukket rum; der kan opstā farlige kulittedampe.
2) Arbejd kun ved dagslys aller godt kunstigt lys.
3) Antag en rolig og stabil stilling:
- undgå sävidt muligt at arbejde over våd aller glat jord, eller pa en jordbund, der er alt for
ujævn eller stejl, og som ikke sikrer brugerens stabilitet under arbeidet;
- ləb aldrig, men gå og pas pà alle ujaevnheder i jorden og eventuelle hindringer.
- vurdér de potentielle risici ved det omrade, hvord skal arbejdes, og tag alle de nodvendige forholdsregler for at varne om Deres egen sikkerhed, specielt pa skräninger erer ujaevn, glat ell erbevgelig jordusbund.
- på bakkede omrader skal arbejdet foregå pa tværs i forhold til skränningen, og aldrig i opeller nedadgaende retning. Hold Dem aktid nedstroms i forhold til skæreindretningen.
4) När motoren startes, skal maskinen holdes fuldstændigt fast:
- start motoren mindst 3 meter væk fra det sted, hvor pafyldningen er foregået;
- kontrotter, at andere mensesker befinder sig i en afstand på minst 15 meter fra maskinens arbejdsradius, eller minst 30 meter ved vanskelige klipninger;
- ret ikke lyddæmperen og hermed udstødningsdampene mod brandfarlige materialer;
5) Motorens justering må ikke øændres, og det opgivne maks. omdrejningstal må ikke hæves.
6) Udsæt ikke maskinen for ovedrevne belastninger og brug ikke en lille maskine for at udføre etHardt arbejde;brugen af hensigsmæssig maskin mindsker risiciene og forbadrer arbejdets kvalitet.
7) Kontroller, at maskinens tomgangshastighed er säledes, at skareindretningen不信 kan bevæge sig, og at motoren after anvendelse af hastighedsregulatoren hurtigt vender tilbage til tomgangen.
8) Pas pâ, at klingen ikke støder mod uvedkommende genstande, og pas pâ muligheden for udslynging af materiale som ffolge af klingernes bevægelse.
9) Hold maskinen altid fastgjort til selevaerket under arbejdet.
10) Stop motoren:
- när maskinen bliver afterladt Eden opsyn.
- for pafyldning af brændstof.
- under flytningerne fra det ene arbejdsomrade til det andet.
11) Stop motoren og fjern tændrørsledningen fra tændrøret:
- inden kontrol, rengöring eller reparation af maskinen;
- after pakorsel af et fremmedlegeme. uvedkommende genstande, undersog om maskinen er beskadiget og on nodsvendigt reparer den, inden arbejdet genoptages;
- hvis maskinen begynder at vibrere unormalt. I sa fald skal arsagen til vibrationerne straks soges og afhjelpes;
- när maskinen ikke anvendes.
D) VEDLIGEHOLDELSO G OPBEVARING
1) Lad motrikker og skruer forblve korrekt tilpaendte, sa maskinen altd er klar til brug. Det er vigtigt for kadesavens sikkerhed og ydelse, at der foretages en regelmessig vedligeholdelse.
2) Fyld aldrig brændstof pa maskinen i et rum,
hvor benzindampene kan nà enten en flamme, gnist aller stærk varme.
1) Hver gang, maskinen skal flyttes eller transportes, skal De:
- sukke motoren, ventsil skareindretningen er standset, og fjerne taendrørshaeten fra taendroret;
- montere beskyttelsen for skareindretningen;
- tage fat i maskinen udelukkende i handtagene og rette skareindretningen modsat i forhold til koreterningen.
2) När maskinen transporteres med et koretoj, skal den placeres säledes, at den/DDke kan medfere risiko for personer. Maskinen skal i ovrigt blokeres solidt for at undgå væltning, som kan medfere beskadigelser og spild af braendstof.
F) HVORDAN MANUALEN LAESES
Manualen indeholder visse afsnit med oplysninger af særlig vigtighed. Afsnittene er angivet pa forskeigige mader og har følgende betydning:
BEMERK
eller
VIGTIGT
Indeholder detaljer elleryder
ligere uddybning af forudgende angivelser for at undga beskadigelse af maskine allerkvestelse af personer.
ADVARSEL!
Risiko for kvaestelser ved
manglende o
Idelse af forskriften.
FARE!
Risiko for alvorlige kvaestel
ser ell er daedsfald ved manglende overholdelse af forskriften.
4. SAMLING AF MASKINEN
VIGTIGT
noglekomponenterikkemonteretogbrændstoftankener tom.
ADVARSEL!
handsker, nar skareindretningerne skal handteres. Udvis storst opmærksomhed under samling af componenterne forkke at forringe maskinens sikkerhed og effektivitet; i tvivstilfælde bør De kontakte Deres forhandler.
1. FULDSTÄNDIGGÖRELSE AF MASKINEN
1a. Modellerne "MONO"
- Model 28 (Fig. 1)
ADVARSEL!
stykket (1) er at sikre en minimum-afstand mellem det bagerste og det forreste handtag; dette for fremme sikkerheden. Dette afstandsstykke skal altid vare pa sin plads og ma på ingen MADE modificeres.
- Montér det forreste handtag (2) på transmisisonsrøret (3) foran afstandstykket (1) ved hjælp af skruerne (4) og motrikkerne (5), som skal vare indfør i deres æsdert.
- Inden skruerne (4) spændes fast, skal händtaget rettes korrekt i forhold til transmissionsroret.
- Spænd skruerne (4) fast.
Model 38 (Fig.2)
- Montér det forreste händtag med barriere (1) på plastik-beklaedningen (2), idet skruerne (3) spændes fast.
1b. Modellerne "DUPLEX"
Model 28 (Fig. 3)
- Montér styret (1) i sædet på holderen (2), der findes på transmissionsrøret (3). Sørg for, at betjeningerne befinder sig til hijre.
-
Montér skruemotrikken (4) ved at fastspændeskruerne (5).
-
Holderen (2) er allerede monteret på transmissionsrøret (3)alandes, at kanten er placeret i forbindelse med pilen 6) på mærkaten; dette position mA aldrig skiftes.
- Model 38 (Fig. 4)
- Skru knappen (1) af og fjern skruemotrikken (2).
- Monté styret (3). Sorg for, at betjeningerne befinder sig til højre
Vend styret i den mest behagelige arbejdssposition, og fastspænd det ved hjælp af skruemotrikken (2) og knappen (1).
2. MONTERING AF BESKYTTESESANORD-NINGER
ADVARSEL!
Hver skareindretning er
forsynet med en specifik beskyttelse. Anvend aldrig andre beskytTELser end dem, der er beregnet til en bestem skareindretning.
Klinge med 3 eller 4 spidser (Fig. 5)
ADVARSEL!
Tag beskytteseshandsker
pà og monter klingens beskyttelse.
- Afmonter klingen (hvis den er monteret) som angivet i afsnit 3.
- Beskyttelsen (1) er fastgjort til vinkel-anordningen (2) ved hjaelp af to skruer (3).
Tradhoved (Fig. 6)
ADVARSEL!
skal den ekstra beskyttelse med tradskærer altid vare monteret.
- Afmonter klingen (hvis den er monteret) som anqivet i afsnit 3.
- Beskyttelsen (1) er fastgjort til vinkel-anordningen (2) ved hjaelp af to skruer (3).
- Montér den ekstra beskyttelse (4) ved at indfère koblingerne i deres sæder i beskyttelsen (1) og tryk, indtil de klikker på plads.
3. AFMONTERING OG GENMONTERING AF SKAREINDRETNINGERNE
ADVARSEL!
Anvend kun originale
skareindretninger aller skareindretninger, der er godkendt af fabrikanten.
- Klinge med 3 aller 4 spidser
ADVARSEL!
Tag beskyttelseshandsker
pà og monter klingens beskyttelse.
a) Model 28 (Fig. 7)
BEMERK
- Indforned medfolgende nogle (2) i hullet i vinkel-anordningen (3) og drej klingen (1) med handen, indtil noglen tager fat i det indre hul og blokerer drejningen.
- Fjern skålen (4) ved at skrue møtrikken af i retningen med uret.
- Fjern det ydre stykke (5) og afmonter klingen (1).
Ved montering,
- Sorg for, at rillen i det indre stykke (6) kobler sig korrekt fast til vinkel-anordningen (3).
- Montér klingen (1) og det ydre stykke (5).
- Montér skälen (4) igen ved at spænde møtrikken fast i retningen mod uret.
- Fjern noglen (2) for at at muliggore drejning af klingen.
b) Model 38 (Fig. 8)
BEMERK
Skruen i skålen (4) har ven
- Indfor den medfolgende nogle (2) i hullet i vinkel-anordningen (3) og drej klingen (1) med handen, indtil noglen tager fat i det indre hul og blokerer drejningen.
-Fjern skalen (4) ved at skrue den midterste skrue af i retningen med uret. - Fjern det ydre stykke (5) og afmonter klingen (1).
Ved montering,
- Sorg for, at rillen i det indre stykke (6) kobler sig korrekt fast til vinkel-anordningen (3).
- Montér klingen (1) og det ydre stykke (5).
- Montér skålen (4) igen ved at skrue den fast i retningen mod uret.
- Fjern noglen (2) for at at muliggore drejning af klingen.
Tradhoved (Fig. 9)
BEMERK
- Indforned medfolgende nogle (2) i hullet i vinkel-anordningen (3) og drej tradhovedet (1 erler 1a) med handen, indtil noglen tager fat i det indre hul og blokerer drejningen.
- Afmontér tradhovedet (1) ved at dreje det i retningen ed uret.
Ved montering,
- Sorg for, at rillen i det indre stykke (4) kobler sig korrekt fast til vinkel-anordningen (3).
- Montér tradhovedet (1) ved at skrue det på i retningen mod uret.
-
Fjern noglen (2) for at at muliggore drejning af aklsen.
-
Sav-klingen (hvis tilladt)
ADVARSEL!
Anvendelse af sav-klinger
er forbidt paskiner med tilsvarende symbol (se kap. 2 nr. 6).
Monteringen af beskyttelsen og sav-klingen udfores i henhold til den med dette tilbehør leverede brugsanvising.
5. FORBEREDELS TIL ARBEJDET
KONTROL AF MASKINEN
Det falgende skal udfores, inden arbejdet startes:
- Kontroller, at der/DDie findes lose skruer paskinen og skareindretning;
- Kontroller, at skareindretningen können er beskadiget, og at metallingerne med 3 aller 4 spidser (hvis de er monteret) er godt slebet;
- Kontroller, at luftfiltret er rent;
- Kontrollér, at beskyttelserne er godt fastgjort og er effektive;
-
Kontroller, at klingenshandtag er fastspændt.
-
Egenskaber for olie
Anvend udelukkende olie af en god kvalitet, spe-cifikt beregnet til firetaksmotorer, meget rensende, klassiferet som SF-SG og med viskositeten SAE10W30.
VIGTIGT Anwendelse af en ikke-ren-sende eller uegnet olie, uller af en olie med andre egenskaber end de angivne, beskadiger motoren og medforer bortfald af garantien.
Hos Deres forhandler kan De fã olier, der netop er designet for donne type motor, og som sikrer et højt beskyttelsseneveau og en langvarig fonction af motoren.
BRÄNDSTOFFER OG SMÖREMIDLER
Denne maskine er forsynet med en fireaktsmotor, som IKKE kræver tilsaetning af olie i benzi-nen.
VIGTIGT Tilsætning af olien i benzinen beskadiger motoren og medfær bortfald af garantien.
VIGTIGT Anvend kun brændstof og smoremidler af upåklagelig kvalitet for at bevara ydelsen og sikre en lang levetid for de mekaniske dele.
- Egenskaber for benzin
Anvend kun blyfri benzin (gron benzin) med et oktalant, der icke er lavere end 90 N.O.
VIGTIGT Blyfri benzin har tendens til at danne bundfald i beholderne, his den opbevares i over 2 maneder. Anvend alto frisk benzin!
FARE!
Opbevar benzinen i beholdere, der er god-kendt for brændstoffer, pa et sikkert sted, der er væk fra varmekilder eller abne flammer.
-Beholderne må ikke vare tilgaengelige for born.
FARE! Ryg ikke under påfyldn-gen og undgå at indände benzindampene.
ADVARSEL! Abn dunkens daksel for-sigtigt, da der kunne vare opstaet tryk indeni.
Det ffolgende skal foretages, inden pafyldningen udfores:
- Anbring maskinen plant, i en stabil position og med tankdaekslet opad.
- Rens bade dækslet og omkring dækslet for at undgå, at snavs falder ind under påfyldningen.
- Abn tankdækslet forsigtigt for gradvist at aflaste trykket. Foretag pafyldningen med en tragt og undgå at fylde tanken helt op til randen.
ADVARSEL!
Luk altid tankdakslet igen
zin, der matte vare spildt pa maskinen aller jorden, og start ikke motoren, for benzindampene er helt forsvundet.
EFTERFYLDNING AF OLIE (Fig. 10)
VIGTIGT
Start elle motoren og
anvend ikke maskinen, hvis oliestanden er untilstrekkelig.
For at kontrollere oliestanden:
- Anbring maskinen plant, i en stabil position og med tankdakslet opad.
- Skru tankdækslet af og tjek, at olieniveaet när op til pafyldningsstudsen.
Oietankens kapacitet er 80 cc (Model 28) aller 100 cc (Model 38).
6. START - ANVENDELSE - STANDSNING AF MOTOREN
VARMSTART AF MOTOREN
ADVARSEL!
Start af motoren skal ske i
en afstand på mindst 3 meter fra det sted, hvor der er foretaget pafyldning af brændstoffet.
Inden start af motoren:
- Stil maskinen i en stabil position på jorden.
- Fjern klingens beskyttelse (hvis den anvendes).
- Kontroller, at klingen (hvis den anvendes) ikkerorer ved jorden aller genstande.
Koldstart
BEMERK
Ved "koldstart" forstås start,
när motoren har været slukket i这意味着 5 minut- ter, ell erfter pafyldning af brændstof.
Fremgangsmåde ved start af motoren (Fig. 11):
- Sæt afbryden (1) i positionen «START».
- Betjen starteren ved at dreje (5) til positionen «CLOSE».
- Tryk på primer-knappen (6) 3-4 gange for at sætte karburatoren i gang.
- Hold maskinen godt fast på jorden med en hand på motor-eheden for ikke at miste herredømmet under startfasen (Fig. 12).
VIGTIGT
formen, ma transmissionsrøret ikke anvendes som stotte til handen eller knæet under startfasen.
- Trak langsomt i startgrebet i 10 - 15 cm, ind
til der mærkes en vis modstand; træk derefter hardt nogle gange, indtil de forste startlyde kan hores fra motoren.
VIGTIG For at undgå brud, män sönren ikke trækkes i hele sin længde, snoren mä ikke glide lungs foringshullets kant, og grebet skal slips gesdrist, sáledes at det ikke vender for voldsom t tilbage.
6. Træk ien i startgrebet, indtil motoren starter normalt.
ADVARSEL! Start af motoren med ind-koblet starter medforer bevagelse af skareindretningen, som forst standser, när starteren frakobles.
- Så snart motoren er startet, skal starteren kobles fra ved at dreje händtaget (2) til positi- onen «OPEN».
- Giv motoren lov til at kore i tomgang i mindst 1 minut, inden maskinen anvendes.
VIGTIGT Hvis grebet paskstsnoren betjenes flere gange med indkoblet starter, kan motoren "drukne" med det resultat, at det kan blive svert at starte maskinen.
Skulle motoren drukne, fjern da tændroret og træk forsigtig i grebet på startsnoren for at fjerne det overskydende brændstof; tor derefter tændrorets elektroder af og montér tændroretigen på motoren.
- Varmstart
For at starte motoren i varm tilstand (umiddelbart after, at motoren er standset), folges punkterne 1 -4-5-6 i den foregående procedure.
ANVENDELSAFMOTOREN Fig.11
Skareindretningens hastighed justeres igennem.
bastighedsregulatoren (2), der forefindes pa styre's bagerste handtag (4) erler hore handtag (4a).
Betjing af hastighedsregulatoren er kun muligt, his der samtidigt trykkes pa sikkerhedshandtaget (3).
Bevægelsen overfres fra motoren til transmis-sonsakslen igennem en kobling med centrifugalldregulering, der undgär akslens bevægelse,纳税 motoren er i minimumstilstand.
ADVARSEL! Anvend ikke maskinen, hvis skæreindretningen bevæger sig, nag motoren er i tomgang; i SSE fald skal tomgangshastigheden justeres (se afsnit 8). Kan problemet ikke loses,kontakt da Deres forhandler.
Den korrekte arbejdshastighed fas med hastig-hedsregulatoren (2) i bunden.
VIGTIGT I de Forste 6-8 timer, hvor maskinen er i drift, bo r motoren不信 anvendes ved maskimalt omdrejningstal.
STANDSNING AF MOTOREN (Fig. 11)
Fremgangsmäde ved standsnig af motoren:
- Giv slip på hastighedsregulatoren (2) og lad motoren kore i tomgang i nogle sekunder.
- Sæt afbryderen (1) i positionen "STOP".
ADVARSEL! Nár hastighedsregulatoren stilles i tomgangshastighed, stopper skareindretningen forst after nogle sekunder.
7. ANVENDELS AF MASKINEN
- Undgå at virke forstyrende.
-Overhold noje de lokale normer, nár De bortskaffer restmaterialiet after klipningen. - Overhold noje de lokale normer til bortskaffelse af olie, benzin, nedslidte dele og/eller ethvert andet element med indflydelse pa miljoet.
ADVARSEL!
Langvarig udsættelse for
vibrationer kan medfrole skader og neurovaskulare forstyrlser (narmere betegnet: "Raynaud's fænomen"ller "hvid hand", specielt hos(AP) mennesker,der lider af kredslobsforstyrlser. Symptomerne, som kan involvere hender,handled og fingre,viser sig som tab af folsomhed, slovhed, kloen, smerter,affarvning og andring i hudens struktur. Disse virkninger kan forstaerkes af en lav rumtematur og/eller et overdrevet greb pa handtagene.Sa snart symptomerne viser sig, reducr da maskinens anvendelsestid og kontakt en Iege.
ADVARSEL!
Bær en egnet paklaedning
under arbeitdet. Hos Deres forhandler kan De fá oplysninger om de mest egnede ulykfoorebyggende materialer for at oge sikkerheden under arbeitdet.
ANVENDELSEFASELEVAKERKET(Fig.13)
ADVARSEL!
Maskinen skal altid anven
des, mens den er koblet til seleværket, som skal bares korrekt. Kontroller hyppigt, at lynfrakoblingsindretningen er effektiv, saledes at maskinen hurtigt kan frigores fra selerne i risikosituationer.
Selevaerket skal tages på, inden maskinen forbinds ved sin kobling, og selerne skal justeres under hensyntagen til brugerens højde og kripsbygning.
Er maskinen forsynet med flere koblingshuller, anvend da det sted, der sikrer den bedste balance for maskinen under arbejdet.
Anvend altid et selevark, der er egnet til maskinens vegt og til den anvendte skareindretning:
- med maskiner, der vejerindre end 7,5 kg, Forsynet med trådhoved erller klinger med 3 eller 4 spidser, kan modellerne med enkelt eller dobbelt sele anwendes;
- med maskiner, der vejer mere end 7,5 kg, Forsynet med sav-klinge (hvis tilladt), er det kun modellen med dobbelt sele, der违法犯罪.
- den forede del og koblingshagen på højreside;
- frakoblingsindretningen forrest;
- selekrydsningen på brugerens ryg.
Selerne skal spændes på en sādan mäde, at belastningen fordeles jævnt over skuldrene.
ANVENDELSEFMASKINEN
ADVARSEL!
Under arbejdet skal maski
nen altid fastholdes med begge hænder, med motor-enheden på kroppens højre side og skareindretningen under bæltestedet.
ADVARSEL!
Stands øjeblikeligt moto
ren, hvis en klinge sidder fast under arbejdet. Pas altid på tilbageslaget (kickback), som kan finde sted, hvis en klinge moeder storre hindringer (stammer, rodder, grene, sten m.m.). Undga at rere ved jordbunden med klingen. Ved et tilbageslag hopper klingen tilbage pa en made, der er vanskelig at styre, hvilket kan medfore, at herredammet over maskinen mistes, brugerens sikkerhed bringes i fare og maskinen beskadiges.
Inden et klipningsarbejde udfores for feste
gang, er det anbefalelsesværigt at skaffe sig den nodvendige fortrolighed mad maskinen og de mest egnede skæreteknikker ved at bare seleværket korrekt, holde maskinen fast og udføre de bevægelser, der kræves under arbejdet.
- Valg af skareindretningen
Den skareindretning, der passer bedst til det arbejde, der skal udfores, skal vaelges ud fra fol-gende generelle anvisninger:
- klingen med 3 spidser er egnet til skæring af ukrudt og sma buskformede træer med en diameter på op til 2 cm;
- klingen med 4 spidser er egnet til skæring af staerkt graes over større omrader;
- tradhovedet kan fjerne hocht graes og ikke-traaagtige planter i nærheden af indhegninger, mure, fundamenter, fortove, under traer osv., og kan bruges til at rense et mindre haveareal fuldstændigt;
- sav-klingen (hvis tilladt) er egnet til skæring af stærke buske, buskformede træer og mindre træer med en stamme på op til 6 cm.
ARBEJDSTEKNIKKER
a) Klinge med 3 spidser (Fig. 14)
b) Klinge med 4 spidser (Fig. 15)
Anvend maskinen som en almindelig segl, med en buet beveegelse pa ca. 60 - 90^ , som ender ved at strakte sig uten om planterne og sa videre.
c) Tradhoved
ADVARSEL!
Anvend KUN nylontrad.
Anvendelse af metaltråd, metaltråd overdæk
ket med plastik og/eller trad, der ikke er egnet til tradhovedet, kan medfare alvorlige kvæstelser og skader.
Under arbejdet er det hensigsmæssigt at standse motoren og med jævne mellemrum fjerne urkrudtet omkring maskinen. Dette undgår overophedning af transmissionsrøret som fjlege af det græs, som har sat sig fast under beskyttelsen.
Fjern græsset med en skruetækker for at sikre en korrekt afkøling af stangen.
ADVARSEL!
Maskinen må ikke anven-
des som "fejekost" ved at skråstille tradhovedet. Motoren er kraftig nok til at slynge sma genstande og små sten rundi i afstande på op til 15 meter ellermere, hvilket kan medfore skader på ting eller personer.
- Klipning under bevægelse (slåning) (Fig. 16)
Gä frem i regelmæssigt tempo, med en bueformet bevgelse på samme måde som en traditi-onel segl, uden at skråstille tradhovedet under arbejdet.
Prov frot at klippe i den rigtige hoge i etindre omrade, for derefter at opna en javn klippehoge ved at holde tradhovedet i en konstakt afstand fra jorden.
Ved besværlig klipning kan det hjælp at skråstile tradhovedet ca. 30^ til venstre.
ADVARSEL!
Undgå at arbejde på denne
mäde, hvis der er risiko for udslyngning af genstande, som kan forårsage skade pa personer, dyr eller ting.
Hold maskinen en smule skråstillet säledes, at hovedets nederste del ikke rorer ved jorden og skæringslinien befinder sig på det ønskede sted. Skareindretningen skal altid holdes væk fra brugen.
- Klipning i naerheden af indhegninger / fundamenter (Fig.17)
Flyt tradhovedet langsomt hen imod indhegnninger, paele, sten, mure osv., uden at ramme hards. Hvis traden rammer storre hindringer, kan den knakke eller slides; hvis den sidder fast i en indhegnning, kan den knakke brat.
Klipning rundt omkring fortove, fundamenter, mure osv. kan under alle omstændigheder medfore mere slid end normalt.
- Klipning omkring traer (Fig.18)
Gà rundt om traèt fra venstre mod hójure, og kom langsmont tætter pa stammen pa en sādan mäde, at träden ikke rammer traèt og tradhove-det holds en smule skråstillet fremad.
Vær opmærksom på, at nylontråden kan hugge eller beskadige små buske, og et slag fra nylontråden mod stammen på buske eller træer med blød bark kan medføre alvorlige skader på planten.
- Justering af tradens højde under arbeitsdet (Fig. 19)
Denne maskine er forsynet med et hoved af typen "Tap & Go".
For at udlose ny trad, skal tradhovedet slas mod jorden med motoren ved maksimal hastighed; traden udloses automatisk og kniven klipper den overskydende del.
d) Sav-klinge (hvis tilladt) (Fig. 20)
ADVARSEL!
Anvendelse af sav-klinger
er forbidt pa maskiner med det tilsvarende symbol (se kap. 2 nr. 6). For at bruge sav-klingen, hvor denen er tilladt, skal den specifikke beskyttelse altid monteres. Klingen kal altid vare godt slebet for at minimere risiko for tilbageslag.
ADVARSEL! Nár falderetningen ved fældning af små træer forudberegnes, skal vindretningen ochå tages med i betragtningerne.
For at opnä et godt resultat ved fældning af sma træer, skal skæringen udfores med en hurtig bevægelse mod dengren ell er stamme, som skal hugges, og med motoren ved maksimal omdrejningstal.
Undgå at anvende klingens højre side, da dette område på grund af omdrejningsretningen medforer oget risiko for tilbageslag eller standsnig af klingen.
Det falgende skal udfores, nár arbejdet er aflsut- tet:
- Sluk motoren som forklaret ovenfor (Kap. 6).
- Vent, til skæreindretningen er standset, og monter beskyttelsen for klingen (hvis der anwendes klinger med 3 eller 4 spidser eller sav-klinger).
8. VEDLIGEHOLDELSOG OPBEVARING
En korrekt vedligeholdelse er vAESentlig for pa en gang at bevare maskinens oprindelige effektivitet og sikkerhed.
ADVARSEL!
-Fjern taendrørshaeten.
- Vent, til motoren er passende afkølet.
- Anvend beskytteseshandsker, nár der arbejdes med klingerne
- Hold beskyttelserne for klingen monteret, undtagen när der foretages indgreb pa delve klingen.
- Olie, benzin aller andet forurenende materiale ma ikke spredes i miljoet.
CYLINDER OG LYDDAEMPER
For at minimere brandrisko skal cylindertenkolevinger jævnligt rengøres med trykluft, og lyddæmperens område skal frigøres for savsmuld, kviste, blade og andre rester.
STARTBLOK
For at undgå overophedning og skader ved motoren, skal indsugningsgtitrene for køleluften altid holdes rene og fri for savsmuld eller rester. Startsnoren skal udskiftes, SSE snart den begynder at vise tegn på slid.
FASTSP/ENDING
Kontroller periodisk, at samlige skuer og møtriker er fastspændt, og at händtagene er solid fastgjort.
RENSNING AF LUFTFILTRET (Fig. 21)
VIGTIGT
Rensning af luftfiltret er vaes
entlgt for maskinens gode fonction og holdbarhed. Arbejd aldrig uden filter, ellr nar flitret er beskadiget, da dette kan medfore uoprettelige skader ved motoren.
Rensningen skal foretages hver 8-10 timers arbejde.
For at rense filtret:
- Tryk på klappen (3), fjern dækslet (1) og derefter filter-elementet (2).
- Afvask filterelementet (2) med vand og sæbe. Anvend ikke benzin eller andre oplosnings-midler.
Lad filret tøre i luften. - Montér filter-elementet (2) og laget (1) igen.
KONTROL AF TÄNDRÖRET (Fig. 22)
Med regelmæssigt mellemrum skal tændrøret udtages og renses med en metalborste for at fjerne aflejeringer.
For at fá adgang til tændrøret, skal skruen skrues af ved hjælp af den medfolgende nøgle; der-fter fjernes den øverste dækplade.
Kontroller elektrodernes renhed og indbyrdes afstand.
Montér taendroret ingen og spænd det godt fast med den medfolgende nagle.
Tændrøret skal udskiftes med et nyt med tilsvarende eigenskaber i tilfælde af brændte elektrøder eller nedslidt isolationsmateriaie, og under alle omstændigheder haver 100 timers Funktion.
UDSKIFTNING AF MOTOR-OLIEN
Tom tanken, mens motoren stadig er lidt varm;
dette sikrer en hurtig og fuldkommen aftomning.
- Kontroller, at brændstoffankens dæksel er lukket og spændt.
- Fjern olietankens dæksel og tøm olien ud i en beholder, idet motoren skråstilles på den side, hvor olietankens pafyldningsstuds findes.
- Fyld tanken med den anbefalede olie og kon-troller oliestanden.
- Sæt olietankens dæksel på pladsigen.
JUSTERING AF KARBURATOREN
Karburatoren er justeret på fabrikken på en sādan mäde, at der i enhver anvendelsessituation opnas den maksimale ydelse med en minimal udledning af giffte dampe, under overholdelse af den gældende lovgivning.
I tilfæde af dārlig ydelse, henvend Dem til Deres forhandler for et eftersyn af karburator-systemet og motoren.
- Justering af tomgangshastigheden
ADVARSEL!
Justering af tomgangsha
stigheden skal kun udfores, hvis skareindret- ningen bevæger sig, nar motoren er i tom-gang.
Hastigheden reduceres ved at dreje den med Min" afmærkede skrue mod uret, indtil skereindretningen standser og motoren fungerer tilstrækkelig regelmæssigt.
Hvis motoren i tomgangshastighed har en uredgelmaessig Funktion, drej da skruen med uret for at oghe hastigheden.
ADVARSEL!
Skareindretningen må
ikke bevage sig, nar motoren er i tomgang;
kontakt Deres forhandler, his der icke kan
opnas en tilfredsstillende justering.
Fjern skruen (1) og kom fertet i, mens akslen drejes manuelt, indtil derkommen fert ud; derefter monteres skruen (1) paigen.
SLIBNING AF KLINGEN MED 3 ELLER 4 SPIDER (Fig.24)
ADVARSEL!
Anvend beskyttelseshand
sker. Hvis silbingen udfores uten at fjerne klingen, skal taendrørshætten forst tages af.
Slibningen skal udfores under hensyntagen til den anvende type klinge og skær. Anvend en flad fil, som skal kores ensartet på alle spidser.
En korrekt slibning udfores som angivet i Fig. 24:
After sibningen er det vigtigt, at der bevares en korrekt balance.
Klingerne med 3 aller 4 spidser kan anvendes pa begge sider. Nar den eene af klingernes sider er slidt, kan klingen vendes og bruges pa den,anden side.
ADVARSEL!
Klingen mä aldrig repare
res. Sā snart de første tegn på brud bemaerkes, aller hvis græsen for slibning overskrides, skal klingen udskiftes.
UDSKIFTNING AF TRÄD PÅ HOVEDET
For at udskiffe nylonträden henvises til den anvisning, der følger med hovedet.
SLIBNING AF TRADSKAEREREN (Fig. 25)
-Fjerntradskæreren (1) fra beskyttelsen (2) ved at skrue skruen (3) af
- Spænd trådkæreren i en skruestik og gå frem med slibningen under anvendelse af en flad fil. Pas på at bevare den oprindelige skærevinkel.
- Montér kniven på beskyttelsenigen.
LIBNING AF SAV-KLINGEN MED 24 TENDER (Fig. 26)
ADVARSEL!
Anvend beskyttelseshand
sker. Hvis silbingen udfores uten at fjerne klingen, skal taendrørshæten forst tages af.
Kontroller, at klingens udlægning er på ca. 1 mm. Justér den om nodvendigt med en tang.
Slib alle tænderne jævnt ved hjælp af en rund fil (1) med en diameter på 5,5 mm. Filen skal anvendes som angivet i figur ved at køre den skiftevis på tænderne til højre og til venstre.
Taendernes profil mä ikkeændres.
ADVARSEL!
Sav-klingen er/DD
bar, og mä derfor kun anvendes pää en side.
Klingen ma aldrig repareres - den skal udskiftes, sa snart de forste tegn pa brud bemærkes, ellr hvis gransen for slibning overskrides.
SAERLIGE INDGREB
Ethvert vedligeholdesesindgreb, der ici er beskrevet i donne manual, ma udelukkende udfores af Deres forhandler.
Indgreb, der er udfort af uegnede instanser aller ukvalificerede personer, medforer bortfald af enhver form for garanti.
HENSTILLEN
Hver gang, De afslutter arbejdet, skal De omhyggeligt rense maskinen for stov og rester, og eventuelle defekte dele skal repareres aller udskiftes.
Maskinen skal hestilles pa et tort sted og i lae for vejrpavirkning, og beskyttelsen skal vare korrekt monteret.
Lagring
- Tøm benzintanken.
- Start motoren og hold den korende i tomgangshastighed, indtil den stopper, for at brände alt det brændstof, der er tilbage i karburatoren.
Lad motoren afkole og fjern taendroret. - Kom en teskefuld ny olie i taendrorets hul.
- Traek flere gange i startgrebet for at fordele olien i cylinderen.
- Monté tændrøret med stemplt ved øverste dødpunkt (som kan ses fra tændrørshullet; det vil sige, med stemplt ved maskimal slaglaengde).
LAENGEVARENDE STILSTAND
VIGTIGT Hvis maskinen forventes uanvendt i mere end 2 - 3 maneder, skal der tages enkefte forholdsregler for at undgå vanskeligheder ved genoptagelse af arbejdet ell er vedvarende beskadigelse af motoren.
Genoptagelse af arbejdet
Det falgende udefores, nár maskinen tages i brugigen:
-Fjern taendroret.
- Anvend nogle gange startgrebet for ar fjerne den overskydende olie.
- Kontroller taendroret som beskrevet i kapitlet "Kontrol af taendroret".
- Forbered maskinen som angivet i kapitlet "Forberedelse til arbejdet".
9. FEJLFINDING
| PROBLEM | MULIG ÅRSAG | AFHJÆLPNING |
| 1) Motoren starter不解 er stopper hele tiden | - Ukorrekt start-procedure | - Følg anvisningerne (se kap. 6) |
| - Tændrøret er snavset eller ukorrekt afstand mellem elektroderne | - ontrøller tændrøret (se kap. 8) | |
| - Tilstopning af luftfilter | - Rengør og/eller udskift filtret (se kap. 8) | |
| - Driftsforstyrrelser i karburator | - Kontakt Deres forhandler | |
| 2) Motoren starter, men har begrænsenet effektivitet | - Tilstopning af luftfilter | - Rengør og/eller udskift filtret (se kap. 8) |
| - Driftsforstyrrelser i karburator | - Kontakt Deres forhandler | |
| 3) Motoren virker uregelmæssig eller mangler effektivitet under belastning | - Tændrøret er snavset eller ukorrekt afstand mellem elektroderne | - Kontroller tændrøret (se kap. 8) |
| - Driftsforstyrrelser i karburator | - Kontakt Deres forhandler |
10. TEKNISKE DATA
Maksimal omdrejningshastighed for redskabet
Mod. 28H - 28HD 8500 omdr./1'
Mod. 38H - 38HD 8500 omdr./1'
Tændr... NGK CM5H (eller tilsvarende)
Brændstof: .. Blyfri benzin ("gro n benzin") - minimum
oktantal 90.
Brændstoftankens kapacitet
Mod. 28H - 28HD 550 cm3
Mod. 38H - 38HD 650 cm3
Olietankens-kapacitet
Mod. 28H - 28HD 80 cm3
Mod. 38H - 38HD 100 cm3
Max. tilladt diameter for klinger
Klinge m. 3 spiderer . 255 mm
Klinge m. 4 spidser . 0255mm
Modellerne (undtagen Mod. 28H -
28HD-38H) 0255mm
Vægt 1)
Modellerne "MONO" .fra 5,3 til 7,1 kg
Modellerne "DUPLEX" .fra 5,5 til 8,2 kg
1) Vægt ifolge normen ISO 11806 (uden brændstof, skæreindretninger og beskyttelse)
Lydmæssige målinger og vibrationer
| Model | 28H | 28HD | 38H | 38HD |
| Målt stojniveau (ISO 10884) dB(A) | ||||
| ed trådhoved | 108,1 | 107,9 | 106,3 | 109,7 |
| med klinge med 4 spidser...... | 106,0 | 106,1 | 103,5 | 106,5 |
| Stojniveau ved brugerens ør er (EN 27917) dB(A) | ||||
| med trådhoved | 94,6 | 95,1 | 92,1 | 94,7 |
| med klinge med 4 spidser .... | 94,3 | 91,2 | 93,2 | 93,7 |
| Vibrationser overfør til händen på forreste händtag (“MONO”) (ISO 7916) m/sec2 | ||||
| i minimum | 2,4 | - | 2,2 | - |
| med trådhoved | 8,3 | - | 5,9 | - |
| med klinge med 4 spidser .... | 7,8 | - | 2,8 | - |
| Vibrationser overfør til händen på bagerste händtag (“MONO”) (ISO 7916) m/sec2 | ||||
| i minimum | 2,0 | - | 2,9 | - |
| med trådhoved | 8,1 | - | 6,7 | - |
| med klinge med 4 spidser...... | 9,2 | - | 4,7 | - |
| Vibrationser overfør til händen på venstre händtag (“DUPLEX”) (ISO 7916) m/sec2 | ||||
| i minimum | - | 1,3 | - | 1,3 |
| med trådhoved | - | 7,2 | - | 2,1 |
| med klinge med 4 spidser .... | - | 5,4 | - | 2,0 |
| Vibrationser overfør til händen på hjore händtag (“DUPLEX”) (ISO 7916) m/sec2 | ||||
| i minimum | - | 1,9 | - | 1,4 |
| med trådhoved | - | 7,7 | - | 3,3 |
| med klinge med 4 spidser .... | - | 5,3 | - | 3,7 |
Kjare kunde,
2) ADVARSEL: FARE! Bensin er meget brannfarlig:
Avstandsstykket (1) har til
Nár trádspolen benyttes er
det alltid nodvendig Å montere den ekstra beskyttelsen, med kniv til kutting av traden.
- Demoner bladet (hvis montert) som angitt i kapittel 3.
- Beskyttelsen (1) er festet til vinkelenheten (2) med to skruer (3).
- Monter den ekstra beskyttelsen (4) ved Å före krokene inn på plassene sine på beskyttelsen (1) og trykke helt til det klikker.
3. MONTERING OG DEMONTERING AV SKJAREUTSTYRET
ADVARSEL!
Bruk kun originalt skjæ-
Mutteren på koppen (4) er
Skruen på koppen (4) er links
För arbeider begyinner, er det nödvendig Å:
Bruk kun blyfri bensin (gronn bensin) med et okt-antall som ikke er lavere enn 90 N.O.
VIKTIG
Grönn bensin har en tendens
Bensinen er antennelig!
ikke bruk maskinen hvis oljenivået ikke er tilstrekkelig.
For Å kontrollere oljenivået:
Ikke bruk maskinen der
Husk pa at nylontråden kan kutte eller skade\ mindre busker, og at nylontrådens slag mot\ stammen pa busker erler trær med myk bark kan\ gi planten alvorlige skader.
finn ut pa forhand hvilken retning det kuttede treet vil falle, ogsa idet du tar hensyn til vinden.
For àoppà et godtresultatvedfellingav mindre traer,ér det nodvendigáforeta kuttet med enhurtigbevegelsemotgrenelsterammen somskal skjæres,med motorenpaksimal omdreiningshastighet.
Skjareutstyret mA ikke
bevege seg med motoren på tomgang. Kontakt forhandlieren dersom du ikke klarer á stille inn på en tilfredsstellende mæte.
Smør med litiumbasert fett.
da det er nødvendig Å skifte det ut med en gang du merker tegn til ødeleggelse, aller dersom gresen for sliping er overskredet.
SKIFTE AV TRÄDEN PÅ SPOLEN
Bladet ma aldri repareres, da det er nodvendig Å skiffe det ut med en gang du merker tegn til odeleggelse, aller dersom gresen for sliping er overskredet.
SPESIELLE INNGREP
Maskinen ma oppbevares pa et tort sted, beskyttet mot vær og vind, med beskyttelsen korrekt monter pa sverdet.
LARGER PERIODE UTEN BRUK
För maskinen settes på plass mä du gjore følgende:
“MONO” modeller.mellom 5,3 og 7,1 kg
NemManual