PDK-TS33A - Support pour appareil électronique PIONEER - Notice d'utilisation et mode d'emploi gratuit
Retrouvez gratuitement la notice de l'appareil PDK-TS33A PIONEER au format PDF.
| Type de produit | Enceinte Bluetooth portable |
| Caractéristiques techniques principales | Technologie sans fil Bluetooth, qualité sonore améliorée, compatibilité avec divers appareils |
| Alimentation électrique | Batterie rechargeable intégrée |
| Dimensions approximatives | 20 cm x 10 cm x 8 cm |
| Poids | 1,2 kg |
| Compatibilités | Compatible avec smartphones, tablettes et ordinateurs équipés de Bluetooth |
| Type de batterie | Batterie lithium-ion |
| Tension | 5V |
| Puissance | 20W |
| Fonctions principales | Lecture de musique, appels mains libres, connexion multipoint |
| Entretien et nettoyage | Essuyer avec un chiffon doux, éviter les produits chimiques agressifs |
| Pièces détachées et réparabilité | Disponibilité limitée des pièces, consulter un professionnel pour les réparations |
| Informations générales | Garantie de 2 ans, support technique disponible |
FOIRE AUX QUESTIONS - PDK-TS33A PIONEER
Questions des utilisateurs sur PDK-TS33A PIONEER
0 question sur cet appareil. Repondez a celles que vous connaissez ou posez la votre.
Poser une nouvelle question sur cet appareil
Téléchargez la notice de votre Support pour appareil électronique au format PDF gratuitement ! Retrouvez votre notice PDK-TS33A - PIONEER et reprennez votre appareil électronique en main. Sur cette page sont publiés tous les documents nécessaires à l'utilisation de votre appareil PDK-TS33A de la marque PIONEER.
MODE D'EMPLOI PDK-TS33A PIONEER
- ·(7 )
- Lorsque vous installez ce produit, veil 15)
- Lorsque vous installez ce produit, veillez à le fixer solidement afin d'éviter toute chute. Il risquerait de provoquer des blessures. (voir page 23)
SUPPORTO DI TAVOLO
SOPORTE DE MESA
Nous vous remercions d'avoir choisi un produit Pioneer. Veuillez lire attentivement ce mode d'emploi pour savoir comment utiliser votre pied de table correctement et en toute sécurité. Nous vous conseillons de conserver soigneusement ce mode d'emploi à portée de main et dans un endroit sûr afin de pouvoir vous y référer le cas échéant.
Installation
- En cas de difficultés, veuillez consulter votre revendeur.
- Pioneer ne saurait être tenu responsable d'aucun dommage résultant d'une installation ou d'une utilisation incorrecte de ce produit, de sa modification ou encore de catastrophes naturelles.
AVIS important
Veuillez prendre note du numéro du modèle et du numéro de série de cet équipement ci-dessous.
N^ du modèle.
N^ de série.
Conservez ces numéros pour pouvoir les utiliser ultérieurement.
Table des matières
Avertissements 17
Vérification des pièces fournies 18
Montage du pied de table 19
Fixation de la bande anti-reflet. 20
Installation du moniteur et téléviseur Pioneer... 21
Installation du produit sur une étagère, etc. 22
Prévenir toute chute de l'équipement 23
Caractéristiques techniques 23
Schéma de dimensions 24

Attention
Ce symbole indique un danger ou une pratique dangereuse susceptible de provoquer des dommages corporels ou matériels.
Avertissements

Ce produit est un pied de table conçu exclusivement pour les moniteurs et téléviseurs Pioneer (modèles PDP-LX5090 / PDP-LX5090H / PDP-LX509A / PDP-C509A / KRP-500P / KRP-500M).
L'utilisation de ce produit avec un autre modèle peut être à l'origine d'un manque de stabilité pouvant provoquer une blessure. Pour de plus amples informations, veuillez contacter le magasin où vous avez acheté votre écran.
Ne procédez à l'installation ou à la modification du produit qu'en respectant les indications fournies.
N'utilisez pas ce pied de table pour un moniteur et téléviseur. Pioneer autre que ceux spécifiés et ne le modifiez pas ou ne l'utilisez pas à des fins autres que celles pour lesquelles il a été conçu.
Lieu d'installation
- Sélectionnez un emplacement assez solide pour supporter le poids du pied de table et de l'écran.
- Assurez-vous de placer le produit sur une surface plane et stable.
- N'installez pas le pied de table à l'extérieur ou dans un lieu humide, par exemple à proximité d'une source chaude ou d'une plage.
- N'installez pas le support à un endroit où il pourrait être soumis à des chocs ou à des vibrations.
Montage et installation
- Montez le pied de table en suivant les instructions et vissez solidement toutes les vis aux endroits prévus à cet effet. Des accidents ont été constatés (casse, chute du matériel, etc.) suite à l'installation de l'écran parce que le pied de table n'avait pas été installé conformément aux instructions.
- Pour une bonne installation, l'écran doit toujours être installé par au moins deux personnes.
- Avant de procéder à l'installation, mettez l'écran ainsi que les équipements périphériques hors tension en coupant l'alimentation, puis retirez la prise du câble d'alimentation de la prise murale.
Prévenez les accidents causés par la chute du produit en prenant des mesures fiables visant à éviter toute chute (voir page 23).
Tableau de compatibilité moniteur, téléviseur et pied de table
| Moniteurs et téléviseurs Pioneer | Pied de table |
| Modèle 50 pouces avec enceintes au dessous | PDK-TS33A/PDK-TS33 |
| Modèle 50 pouces avec enceintes latérales | KRP-TS02 |
Vérification des pièces fournies
Veuillez vous assurer que vous possédez bien toutes les pièces nécessaires avant de procéder au montage et à l'installation du pied de table.
Couverture de table × 1

- Bande anti-reflet × 1

- Vis ① (4 mm × 10 mm : argent) × 4

- Vis d'installation ④ (M8 × 15 mm : noire) × 2

- Colonne de support (L: gauche) × 1

- Pièce métallique de fixation anti-chute ×2

- Vis d'installation ② (M8 × 40 mm : noire) ×2

- Vis d'installation ⑤ (M4 × 35 mm: noire) ×2 [pour la pièce métallique de fixation anti-chute]

Tampon occultant × 1

- Vis d'installation ③ (M8 × 23 mm : noire) × 2

Mode d'emploi (ce document) × 1
Procédure de montage
1 Tournez la couverture de table de façon à ce que l'envers regarde vers le haut. 2 Insérez les colonnes de support dans la couverture de table.
- Insérez la colonne de support (R) dans le côté marqué « R » et la colonne de support (L) dans le côté marqué « L ».
- Vérifiez que les côtés ouverts des colonnes de support sont tournés vers l'intérieur. Insérez les colonnes de support en veillant à les aligner sur la partie haute de la couverture de table.
Serrrez les vis ① (4 mm × 10 mm : argent) afin de stabiliser les colonnes de support.

Remarque
- Avant de monter le pied de table, glissez un drap doux sous la couverture de table. Sans ce drap, vous risqueriez d'érafler la surface de la couverture de table.
- Procédez avec précaution lorsque vous installez les colonnes de support (L) et (R) de façon à vous assurer qu'elles sont dans la bonne position. Si vous vous trompez en les installant, cela risquerait d'endommager le pied.
Après avoir monté le pied de table, fixez les pièces métalliques anti-chute à l'aide des vis d'installation ⑤ (M4 × 35 mm : noires).

Remarque
Veillez à fixer les pièces métalliques anti-chute dans le bon sens.

Fixation de la bande anti-reflet
Cette pièce sert à empêcher que les câbles branchés à l'arrière du moniteur et téléviseur Pioneer ne se reflètent sur la couverture de table.
Remarque
Installez-le une fois que vous avez fixé la couverture de table sur une surface plane et stable.

Procédure d'installation
1 Décollez un côté du ruban adhésif double face placé sur la bande anti-reflet et fixez celle-ci sur l'emplacement indiqué sur le schéma ci-dessous.

Remarque
- Veillez à ce que la bande anti-reflet ne déborde pas sur les trous d'insertion.
- Mettez la bande anti-reflet en place de façon à ce qu’il n’y ait pas d’espace libre. Dans le cas contraire, elle pourrait se décoller.
Après avoir fixé le téléviseur Pioneer sur le pied de table, décollez un côté du ruban adhésif double face et fixez le tampon occultant sur l'emplacement indiqué sur le schéma ci-dessous (PDP-LX5090 / PDP-LX5090H / PDP-C509A uniquement).

Installation du moniteur et téléviseur pioneer
Attention
Le poids d'un moniteurs et téléviseurs Pioneer avoisine les 30 kg. Leur largeur étant limitée, ils ne sont pas stables. La présence d'au moins deux personnes est donc nécessaire pour leur montage et leur installation.
Remarque
- Veillez à installer votre téléviseur sur une surface plane et stable.
- Insérez les vis dans les trous verticalement et serrez-les solidement.
- Placez un drag ou autre chose sous l'écran pour éviter de l'érafler ou de l'endommager.
- Après avoir donné deux ou trois tours de vis à la main, serrez les vis complètement à l'aide d'un tournevis.
1 Installation du moniteur et téléviseur pioneer sur le pied de table.
Couchez le moniteur et téléviseur Pioneer. Alignez les supports du pied sur les encoches du moniteur et téléviseur Pioneer prévues pour recevoir le pied, puis insérez lentement les supports à l'horizontal dans les encoches. Veillez à ce que les supports du pied soient en contact uniquement avec les encoches du moniteur et téléviseur Pioneer car sinon cela risquerait de provoquer des éraflures ou une déformation de la face arrêté du téléviseur ou des bornes.

Remarque
Lorsque vous couchez le moniteur et téléviseur Pioneer, veillez à ne pas l'érafler ou l'endommager.
2 Fixation du moniteur et téléviseur pioneer à l'aide des vis d'installation.
Fixez les pièces signalées par les flèches (trous signalés par un « T ») à l'aide d'un tournevis cruciforme.
Partie supérieure... Vis d'installation ② (M8× 40mm) : noire Partie inférieure..... Vis d'installation ④ (M8× 15mm) : noire
[KRP-500P/KRP-500M]
KRP-TS02
Partie supérieure... Vis d'installation ③ (M8× 23mm) : noire Partie inférieure..... Vis d'installation ④ (M8× 15mm) : noire
![PIONEER PDK-TS33A - [KRP-500P/KRP-500M] - 1](/content/2024/12/118668/images/3033befea239a17cd92f6096d9714c36669521a1f18f23e91b76cf505b4133a7.jpg)
![PIONEER PDK-TS33A - [KRP-500P/KRP-500M] - 2](/content/2024/12/118668/images/32b3699f4bd37ade7856286cd0699c6c3d43a9734bb5932cb3dafe5a7aad011e.jpg)
Attention
- En cas d'installation sur une étagère, etc., veillez à ce qu'au moins deux personnes soient là pour tenir le moniteur et téléviseur Pioneer.
- Ne soulevez pas le moniteur et téléviseur Pioneer en le tenant par les enceintes ou par le pied, car cela endommagerait le produit.
Soulevez le moniteur et téléviseur Pioneer en le tenant par les poignées et par le haut.
Soulevez le moniteur et téléviseur Pioneer par les poignées et par les côtés.


Ne soulevez pas le moniteur et téléviseur Pioneer en le tenant par les enceintes.
Lorsque les enceintes latérales sont installées
Lorsque l’enceinte du dessous est installée
Ne soulevez pas le moniteur et télévisueur Pioneer en le tenant par le pied.

Prévenir toute chute de l'équipement
- Après avoir installé le pied de table, veillez à prendre les précautions nécessaires pour qu'il ne tombe pas. Fixez à la fois le téléviseur plasma sur l'étagère et sur le mur.
Stabilisation sur une table
Utilisez des vis (en vente dans le commerce) pour fixer le moniteur et téléviseur Pioneer comme indiqué sur le schéma.
Remarque
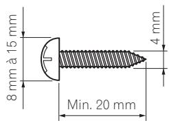
Pour stabiliser l'équipement sur une table, utilisez des vis 4 mm d'au moins 20 mm de long.


Utilisation d'un mur pour stabiliser le support
Fixation des boulons empêchant la chute (crochets) sur le moniteur et téléviseur Pioneer. Utilisation de câbles solides pour stabiliser le dispositif contre un mur, un pilier ou tout autre élément stable, avec fermeté et de façon appropriée.
Ces opérations doivent être effectuées de la même manière à gauche et à droite.
Remarque
Utilisez des crochets, des câbles et d'autres dispositifs de fixation en vente dans le commerce.
Crochet recommandé : Diamètre nominal M8, longueur de 12 mm à 15 mm.


Dimensions extérieures :
KRP-TS02. 552 mm (largeur) × 323 mm (hauteur) × 350 mm (profondeur)
PDK-TS33 550 mm (largeur) × 402 mm (hauteur) × 349 mm (profondeur)
PDK-TS33A......552 mm (largeur) × 402 mm (hauteur) × 350 mm (profondeur)
Poids :
KRP-TS02. 2,5 kg
PDK-TS33A.....2,2 kg
PDK-TS33A.....2,7 kg
- Les caractéristiques techniques indiquées ci-dessus ainsi que les dimensions extérieures peuvent être modifiées sans préavis en vue d'améliorer le produit.
Lorsque les enceintes latérales sont installées
Unité : mm
*1 KRP-500P / KRP-500M
Lorsque l'enceinte du dessous est installée
PDK-TS33*1 PDK-TS33A*2
Publication de Pioneer Corporation. © 2008 Pioneer Corporation. Tous droits de reproduction et de traduction réservés.
Montage en installation
Tous droits de reproduction et de traduction réservés.

Notice Facile