CTB6250W - Koelkast vriezer BEKO - Gratis gebruiksaanwijzing en handleiding
Vind de handleiding van het apparaat gratis CTB6250W BEKO in PDF-formaat.
Download de handleiding voor uw Koelkast vriezer in PDF-formaat gratis! Vind uw handleiding CTB6250W - BEKO en neem uw elektronisch apparaat weer in handen. Op deze pagina staan alle documenten die nodig zijn voor het gebruik van uw apparaat. CTB6250W van het merk BEKO.
GEBRUIKSAANWIJZING CTB6250W BEKO
1 Adviezen en Suggesties 53
2 Eigenschappen 56
3 Installatie 58
4 Gebruik. 60
5 Onderhoud. 61
PORTUGUES
Lees eerst deze gebruikershandleiding eerst!
Beste klant,
Dank u voor het kiezen van een product van Beko. We hopen dat u het Beste haaltuit uw product, dat vervaardigd is met de modernste technologie van hoch kwaliteit. Lees waarom deze gebruikershandleiding en andere bijgeleverde documenten volledig en zorgvuldig voordat u het product gaat gebruiken enbewaar deze voor raadpleging in de toekomst. Als u het product aan iemand anders geeft, overhandig dan ook de gebruikershandleiding. Volg alle waarschuwingen en informatie in de gebruikershandleiding op.
Onthoud dat deze gebruikershandleiding ook van toepassing is op verschillende andere modellen. Verschillen:tussen modellen worden in de handleiding geidentificerd.
Uitleg van de symbolen
Door deze gehele gebruikershandleiding worden de volgende symbolen gebruikt:
| i | Belangrijke informatie of nuttige aanwijzingen voor gebruik. |
| ! | Waarschuwing voor gevaarlijke situatuies met betrekking tot leven en eigendom. |
| 4 | Gevaar voor elektrische schok. |
| Het verpakkingsmateriaal van het product is vervaardigd uit gerecycle de materialien overeenkomstig荃 nationale milieuunormen. |
Gooi het verpakkingsmaterial Niet weg met het huishoudelijk of ander afval. Breng het waar een door de gemeente aangewezen verzamelpunt voor verpakkingsmaterial.

Dit product is vervaardig met de{niewste technologie onder milieuvriendelijke omstandigheden.
1 Adviezen en Suggesties

1.1 Installatie
- De fabrikant aanvaardt geen enkele aansprakelijkheid voor schade die voortkomtuit onjuiste of Niet overeenkomstig de regels der kunst uitgevoerde installaties.
- De minimale veriligeidsafstand tussen de kookplaat en de wasemkap bedraagt 650 mm (sommige modellen können lager worden geinstalleer, raadpleeg de paragrafen afmetingen en installmentie).
- Controller of de netspanning correspondiert met de spanning die aangegeven is op hetplaatje aan de binnenkant van de wasemkap.
-
Voor apparaten van klasse I dient u zich ervan te verzekeren dat het elektriciteitsnet in uw huis over een goede aarding beschikt.
-
Verbind de wasemkap met de luchtuitlaat door middel van een leiding met een diameter van 120 mm of groter. De leiding要去 een zo kort möglichke route afleggen.
- Sluit de wasemkap Niet aan op afvoerijpen van rook die geproduerd is door verbranding (verwarmingsketels, open haarden etc.).
- Als er in het vertrek zowel de wasemkap als apparaten die Niet op elektriciteit werkken (bijvoorbeeld gasapparaten) worden gezruikt, moet ervoor worden gezorgd dat het vertrek voldoende geventileerd worden. Indien de keuken geen Gat in de buitenmuur heeft om de aanvoer van schone lucht te garanderen, dient dit gemaakt te worden. Een juist gebruik zonder bevaren worden verzregden wanner de maximale onderdruk in het vertrek Niet hoger is dan 0,04 mbar.
- Om elk risico te voorkomen要去en beschadigde voedingskabel door de fabrikant of door de technische servicedienst worden verrangen.
1 Adviezen en Suggesties
- Als de instructies voor installations voor degaskooktoesteel een grotere afstand boven aangegeven,moet rekening worden gezchoolen. Alle voorschriften betreffende de afvoer van lucht要去en in acht worden genomen.
1.2 Utilisation
- Alvorens onderhoudswerkzaam-heden uit te voeren, moet de wa-semkap uitgeschakeld worden door de stekker uit het stopcontact te halen of de hoofdschakelaar om te zetten.
- Voer het onderhoud van de filters algijdijdig en nauwgezetuit, volgens de aanbevolen intervallen (Brandgevaar).
- Om de oppervlakken van de kap schoon te make n is het voldoende een vochtige doeken een neutraal reinigingsmiddel te gebruiken.

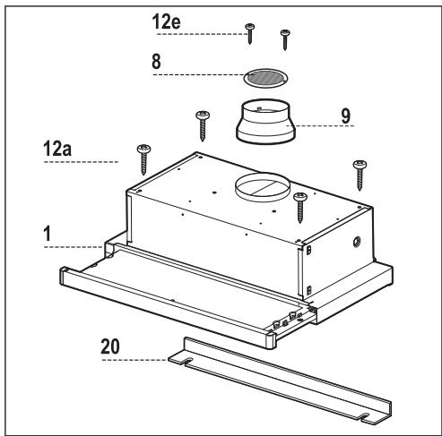
2.1 Onderdelen
Réf. Q.te Productonderdelen
1 1 Wasemkap compleet met: Bedieningen,Licht, Ventilatorgroup, Filters
8 1 Richtingrooster luchtuitlaat
9 1 Reductieflens 150-120 mm
20 1 Sluitprofiel
1 Gebruiksaanwijzing

2.2 Encombrement




2 Eigenschappen
2.3 Technische specificaties
| CTB 6250 W | CTB 6250 B | CTB 6250 X/XH | CTB 9250 X/XH | |
| Breedte | 598 mm | 898 mm | ||
| Diepte | 175 mm | |||
| Hoogte | 280 mm | |||
| Stroomvoltage | 220 - 240 V, 50-60 Hz | |||
| Bediening | 3 | |||
| Zuigkracht | 420 m³/h | |||
| Motorvermogen | 140 W | |||
| Lampvermogen | 2X28 W | |||
| Diameter luchtuitlaatpijp | 120-150 mm | |||
| Netto gewicht: | 7,6 kg | 9,3 kg | ||
| Brutogewicht | 8,5 kg | 10,5 kg | ||
| Kleur | Wit | Zwart | RVS | RVS |
Markeringen op het product of de waarden in andere documenten die bij het product worden geleverd, waarden die zich verzreaken onder laboratoriumomstandigheden, volgens de relevante normen. Deze waarden konnen variieren, afhankelijk van het gebruik van het product en de omgevingstoestanden.
3 Installatie
3.1 Boren van gaten in draagvlak en montage kap
Montage Met Schroeven
- Het draagvlak van de kap moet 135 mm hoger়n dan het ondervlak van de hangkastjes.
Boor een gat van 4,5 mm in de drager met behulp van de bijgeleverde boormal.
Booreen gat van 120-150 mm in het draagvlak met behulp van de bijgeleverde boormal. - Bevestig met de 4 bijgeleverde schroeven 12a (4,2 x 44,4).

Montage Met Klikbevestiging
- De kap kan rechtstreeks op het ondervlak van de hangkastjes worden geinstalleerd met+zijsteunen met klikbevestiging.
- Boor gaten in de ondervlakken van de hangkastjes, zoals aangegeven.
- Plaats de kap tot deze vasthaakt op de zichsteunen met klikbevestiging.
- Blokker het geheel door de schroeven Vf vanaf de onderkant van de kap vast te draaien.

| Type wasemkap | CTB 6250 W/B/X | CTB 9250 X |
| L1 | 510 | 810 |
Sluitprofil
- De ruimte:tussen de rand van de kap en de awhile mand kan worden afgesloten met behulp van het bijgeleverde profiel 20 met de voor dit doel reeds aanwezigse schroeven.
3 Installatie

3.2 Aansluitingen
3.2.1 Luchtuitlaat Afzuigversie
Bij installmentie in afzuigversie, moet u de wasemkap met de uitlaatleiding verbinden door middel van een starre of buizame leiding van 150 of 120 mm, maar keuze van de installateur.
- Voor verbinding met een leiding van 120mm ,要去 de reductieflens 9 op de uitlaat van de wasemkap worden aangebracht.
- Zet de leiding vast met geschikt leidingkle men. Het benodigde materiaal worden nicht bij de wasemkap geleverd.
- Verwijder de eventuele geurfilters met actieve koolstof.

3.2.2 Luchtuitlaat Filterversie
- Boor een gat van 0.125 ~mm in de eventuele plank boven de kap.
- Breng de reductieflens 9 op de uitlaat van de wasemkap aan.
- Verbind de flens met de uitlaatopening op de plank boven de kap met behulp van een starre of flexibele leiding van 120mm
- Zet de leiding vast met geschikte leidingklemen.Het benodigde materiaal worden nicht bij de wasemkap geleverd.
- Bevestig het richtingsrooster 8 op de uitlaat van de gerecircularerde lucht met 2 van de bijgeleverde schroeven 12e (2,9× 9,5)
- Verzeker u ervan dat het geurfilter met actieve koolstof geinstalleerd is.

3.2.3 Elektrische Aansluitingettrica
- Sluit de wasemkap aan op de netspanning met een tweepolige schakelaar ertussen met een opening tussen de contacten van tenminste 3 mm.
- Nadat u de kap geinstalleer hoefft, moet u het uitschuifbare gedeelte de eerste koer met kracht maar buiten trekken tot het Niet verder kan en u een klik hoor.
4 Gebruik


| L | Lichten | Hiermee schakelt u de erlichting aan en uit. |
| M | Motorr | Hiermee schakelt u de afzuigmotor aan en uit. |
| V | Snelheid | Instelling van de werkingsnelheid:1. Minimumsnelheid, geschikt voor een continu en zeer stille luchtverversing, als er weinig kookdampen zijn.2. Gemiddelde snelheid, geschikt voor de meeste gebruksomstandigheden, gezien de uitstekende verhoudung:tussen de hoeveeilheid behandelde lucht en het geluidsniveau.3. Maximumsnelheid, geschikt om de grootste kookdampen tegen te gaan, ook voor langereijd. |
| L | Lichten | Hiermee schakelt u de erlichting aan en uit. |
| M | Motor | Hiermee schakelt u de afzuiimotor aan en uit. |
| V | Snelheid | Instelling van de werkingsssnheid:1. Minimumsnelheid, geschikt voor een continu en zeer stille luchtver-sing, als er weinig kookdampen zijn.2. Gemiddelde snelheid, geshikt voor de meeste gebruiksomtandigheden, gezien de uitstekende verhoudng:tussen de hoeveelheid behandelde lucht en het geluidsniveau. |
5 Onderhoud
5.1 Vetfilters
5.1.1 Reiniging Van De Metalen Zelfdragende Vetfilters
- Deze filters moeten minstens om de 2 maanden of, bij een bijzonder intensief gebruik vaker, gereinigd worden. Ze können ook in de vaatwasmachine afgewassen worden.
Trek de rolletjes met de zuiggroepaar voren. - Verwijder de filters één voor één door aan de hiervoord bestemde hendeltjes te trekken.
- Was de filters zonder ze te vouwen en LAST zedrogen alvorens ze wee terug te plaatsen. (Een eventuele kleursverandering van het oppervlak van de filters, die na verloop vanijd kan optreden, heeft absolutiert geen invloed op de goede werkung ervan.)
- Plaats de vetfilters terug, maar let erop dat de handgreep goed zichtaar blijft.
- Sluit opniewu de zuiggroep.

5.2 Geurfilter (Filterversie)
5.2.1 Vervanging

-
Let op: schakel de lichten uit en wacht tot de lampen+zijn afgekoeld,voordat u het geurfilter verwangt.
-
Deze filter kan nicht gewassen of geregenereerd worden en moet ongeveer om de 4 maanden verrangen worden. Indien U de wasemkap zeer intensief gebruikt,要去 U de filter zichs vaker verrangen.
Trek de rolletjes met de zuiggroep waar voren. - Verwijder de vetfilters.
- Verwijder de verzadigde geurfilter met actieve koolstof door aan de hiervoor bestemde hendeltjes te trekken.
- Monteer het/Newwe filter door het op zichplaats vast te drukken.
- Plaats opnieuw de vetfilters.
- Sluit opniewu de zuiggroep.

5.3 Verlichting
5.3.1 Vervanging Van De Lampen Gloeilampen van 28W
- Verwijder de metalen vetfilters.
- Schroef de lampen los en verrang ze door niwe lampen metdezelfde eigenschappen.
- Plaats de metalen vetfilters terug.

Notice-Facile