U300X - Proiettore NEC - Manuale utente e istruzioni gratuiti
Trova gratuitamente il manuale del dispositivo U300X NEC in formato PDF.
Questions des utilisateurs sur U300X NEC
0 question sur cet appareil. Repondez a celles que vous connaissez ou posez la votre.
Poser une nouvelle question sur cet appareil
Scarica le istruzioni per il tuo Proiettore in formato PDF gratuitamente! Trova il tuo manuale U300X - NEC e riprendi in mano il tuo dispositivo elettronico. In questa pagina sono pubblicati tutti i documenti necessari per l'utilizzo del tuo dispositivo. U300X del marchio NEC.
MANUALE UTENTE U300X NEC
NP01WK Manuale di Installazione e Regolazione
Grazie per aver acquistato但这a unità di montaggio a muro NEC.
La preghiamo di leggere conattenzione questo manuale di installmente e regolazione per un utilizzo appropriato.
L'Unità di Montaggio a Muro NP01WK è dedicata esclusivamente al proiettre U300X/
U250X/U310W/U260W e non può essere usata per altri proiettori.

Per installare il proiettre sono richieste abilità specializzate. Questo lavoro non dovrebbe mai essere eseguito dal cliente.

Al Rivenditore e Installatore
Per assicurare la sicurezza del cliente, prima che il lavoro di installatione venga avviato, chiediamo di fare molta attenzione alla locatione di montaggio, per assicurarsi che sua adatta a sostarre il peso del proiettoe e della struttura di montaggio.
CONTENUTI
Si prega di leggere con attenzione ITA-2
Preparazione ITA-4
Parti Incluse nella Confezione ITA-4
Nome delle Parti ITA-5
Dimensioni delle Parti ITA-6
Montaggio del Proiettre ITA-7
Regolazione della Posizione del Proietto ITA-12
Specifiche ITA-16
Si prega di leggere conattenzione
- Simboli
In questo "Manuale di Installazione e Regolazione", per assicurare la sicurezza e l'uso appropriato del prodotto, prevenir infortuni a voi e ad altri e danni alla proprietà, vengono usati vari symboli. I symboli e i loro significato sono i seguenti. Si prega di leggere questo manuale dopo essersi assicurati di aver compreso i loro contentuti.

Attenzione
La manipolazione impropria e la mancata considerazione di esta significazione potrebbe portare a inconvenienti fisici come morte, infortuni gravi e casi via.

Avviso
La manipolazione impropria e la mancata considerazione di但这a indicazione potrebbero causare danni al fisico eagli oggetti circostanti.
Esempi di symboli:

Il significano allerta sugli avvisi (compresi quelli diattenzione) Le figure specificano concretamente la causa degli avvisi.

Il significato raffigura delle azioni proibite Le figure specificano concretamente le proibizioni.

- Il simbolo raffigura delle azioni obbligate.
Le figure specificano concretamente le istruzioni.

Attenzione

- Mentre si procede all'installazione del proietto e alla regolazione della sua posizione assicurarsi di operare seguito le spiegazioni presenti nel manuale. Se installato o regolato in maniera impropriaria, il proietto potrebbe cadere e causare infortuni.

- Per evitare che il proiettre cada, installarlo in una posizione e fissarlo con una forza sufficiente a sostortare il peso combinato (circa 12,7 kg) del proiettre (circa 6,5 kg) e dell'unità di montaggio a muro (circa 6,2 kg), per un lungo periodo di tempo e in modo che resista ai terremoti. In caso di forza o fissaggio insufficienti il proiettre potrebbe cadere e causare infortuni.
Assicurarsi di osservare le seguenti precauzioni:
-
Usare bulloni e viti M6 (1/4") per il fissaggio a muro dell'adattatore a muro.
-
Usare una presa di corrente per l'alimentazione del proietto. Non collegare direttamente alla linea usata per l'illuminazione perché è pericoloso. Inoltre, usare una presa accessible che consenta di collegare e scollegare il cavo di alimentazione.
Montaggio su un muro di legno
Assicurarsi che il carico sia montato su un pilastro o su strutture di materiale robusto. Se la robustezza del materiale della struttura non è sufficiente, si prega di rinsforzarla. Non montare su materiali di finitura del muro, listelli di intelaiatura e casi via.
Montaggio su un muro di cemento
Usare un bullone commerciale di anticoraggio M6 (1/4"), dadi di anticoraggio e simili, che sostporeranno il carico del proiettre.
| Attenzione | |
| ∅ | Non installare in locazioni soggette a vibrazioni costanti. Una prolongata vibrazione potrebbe causare l'allenamento delle viti e la seguente caduta dell'Unità di Montaggio a Muro con rischio di infortuni. Inoltre potrebbe causare la rottura del proiettor. |
| Per garantire la sicurezza, assicurarsi di stringere i bulloni e le viti e regolare adeguatamente le manopole. In caso contrario il proiettor potrebbe cadere e causare infortuni. | |
| Le parti non devono essere modificate. In caso contrario il proiettor e l'Unità di Montaggio a Muro potrebbero cadere e causare infortuni. | |
| Non usare parti danneggiate. In caso contrario il proiettor e l'Unità di Montaggio a Muro potrebbero cadere e causare infortuni. Se una parte dovesse rompersi, consultare il rivenditore. | |
| Non guardare dello specchio quando il proiettor è accesso. Questo potrebbe provocare danni alla vista. | |
| Non appendersi al proiettor e all'Unità di Montaggio a Muro. In caso contrario il proiettor e l'Unità di Montaggio a Muro potrebbero cadere e causare infortuni. Prestare particolare attenzione ai bambini. | |
| Non usare adesivi per le viti di bloccaggio, agenti lubrificanti, oli e simili per l'adattatore a muro. In caso contrario si potrebbe causare il deterioramento del materiale dell'adattatore a muro e la consequencesc caduta del proiettor con rischio di infortuni. | |
| Avviso | |
| Non ostruire le prese d'aria del proiettre. In caso contrario si impedirebbe la dispersione di calore con rischio di incendi. In particolare, non usare il proiettre nei seguenti modi: installando il proiettre su muri e posizioni simili dove la ventilazione sia insufficiente, coprendolo, ecc. | |
| Non installare il proiettre di fronte alle uscite di un condizionatore d'aria o caloriferro o in un luogo soggetto a vibrazioni intense. In caso contrario potrebbero verificarsi incendi e scosse elettriche. | |
| Non installare il proiettre in luoghi umidi o polverosi o esposti a fumi oleosi o vapori (vicino a fornelli da cucina o umidificatori) In caso contrario potrebbero verificarsi incendi. | |
| Quando si installa il proiettre, lasciare spazio sufficiente traesso e gli oggetti circostanti. In caso contrario si impedirebbe la dispersione di calore con rischio di incendi. |
Si pregadi:
- Evitare stanze con molta polvere, umidità, fumo oleso o fumo di tabacco. La polvereaderirebbe sulle parti ottiche come gli specchi, causando il deterioramento della qualità delle immagini.
- Evitare luoghi in cui lo scherno sia esposto alla luce del sole diretta o alla luce artificiale.
Quando la luce colpisce lo scherno in modo diretto, l'imagine appara sbiadita ed è difficile da vedere. - Evitare luoghi esposti a temperature particolarmente alte o basse.
In caso contrario potrebbe verificarsi un guasto. (Per la temperatura ambientale idonea, consultare il manuale d'uso allegato al proiettre.)
Parti Incluse nella Confezione
Si prega di controllare le parti nella confezione.

Adattatore muro:1

Coperture (A, B):2 coppie

Braccio:1

Copertura braccio:1

Adattatore proiettore:1

Piastra (B):1

Viti M4:4
Viti M3,5:2

Brugola:1

Manuale di Installazione e Regolazione:1
Nome delle Parti

Dimensioni delle Parti: (unità: mm)
Le dimensioni delle posizioni delle viti (bulloni) per il fissaggio al muro dell'adattato muro sono qui descripte.


Preparazioni
- Determinare la posizione in cui installare lo schermo, e in base a但这a stabilire la posizione di installmente dell'unità di montaggio a muro.
Per ulteriori informazioni fare riferimento alla sezione "Installazione" nel manuale d'uso allegato al proiettre.
-
Non è possible l'installazione per la proiezione inclinata. Determinare la posizione per la proiezione frontale.
-
Assicurarsi di averMESSoin atto tutte le condizioni descritte nella sezione "Leggere con attenzione"a paginaITA-2diquesto manuale.
-
Poiché le unità U300X/U250X/U310W/U260W hanno un elevato angolo di inclinazione dell'asse ottico, una leggera variazione della distance di proiezione avrà un grande effetto sulla dimensione e sulla posizione dello schermo. Se l'angolo del proietto è sfasato, la distorsione dell'immagine aumentoa.
-
Attaccare l'adattatore al proiettre.
① Rimuovere il proiettre alla sua scatola e rimuovere l'involucro di plastica.
② Riattaccare i blocchi spaziatori di polistirolo al proietto e capovolgerlo.
Note: Ci sono quattro fori per le viti marcati "MAX.M4x10" sulla base del proiettre. Questa indicazione non va applicata all'adattatore di quello prodotto.

③ Allineare l'adattatore del proiettre ai fori sulla base del proiettre e attaccare saldamente l'adattatore con le quattro viti (M4x20) fornite.
④ Allentare le manopole di regolazione verticale/fissaggio del braccio dell'adattatore del proietto.
Avviso
Non provare ad attaccare l'adattatore del proiettre perché i blocchi spaziatori di polistirolo in posizione. In caso contrario la sezione dello specchio potrebbe essere soggetta ad una forza eccessiva, che potrebbe portare ad uno sfasamento dell'imagine proiettata e causare seri danni.

2. Attaccare l'adattatore a muro al materiale strutturale del muro.
Per assicurare un'immagine proiettata alla distorsioni, il centro dell'adattatore a muro e il centro dello schermo dovrebbero alla lineati in linea retta.
L'adattatore a muro ha un orientamento sopra/sotto. Assicurarsi di attaccarlo con il corretto orientamento.
Avviso
Se l'adattatore a muro viene montato con l'orientamento sopr/a/sotto invertito, non sare possibile una corretta installatione.
Ladattatore muro cui essere regolato orizzontalmente con un'escursione di ± 50 mm.

Il lato con i tagli rivolto verso l'alto.
Il latoswana i tagli rivolto verso il basso.

Attenzione

Usare solo viti o bulloni M6 (1/4") (4 posizioni) per il fissaggio dell'adattatore a muro. Se si utilizzato viti o bulloni diversi dagli M6, il proietto potrebbe cadere e causare infortuni.
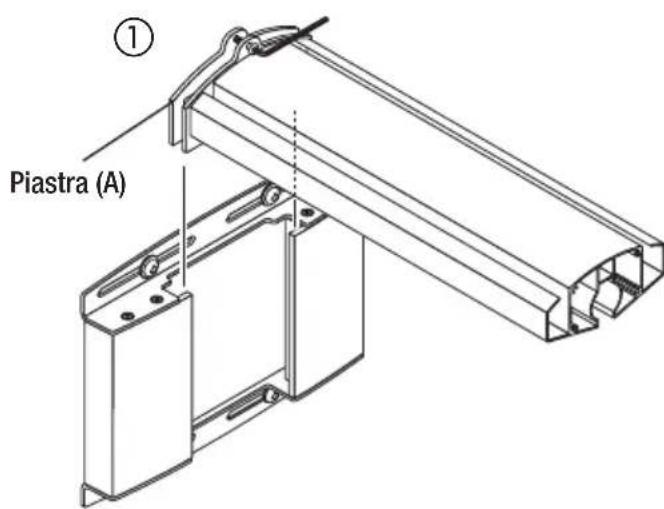
3. Attaccare il braccio all'adattatore a muro.
① Allentare le viti di fissaggio del braccio (sopra e quello) con la brugola in dotazione.
② Inserire la piastra del braccio (A) nell'adattatore a muro da sopra e stringere le viti (sopra e除去) vicino al centro del foro allungato.
Le coperture (A) e (B) devono essere attaccate dopo aver completato l'installazione e la regolazione.


4. Montare il proiettre assemblato nel passaggio 1 sul braccio.
Avviso
Per fare quello, prima rimuovere i blocchi spaziatori di polistirolo dal proietto. Quindi reggere il corso del proietto con l'aiuto di una seconda persona e inserirlo attendamente nel braccio. Non reggere il proietto alla copertura del cavo o alla sezione specchio, e non toccare lo specchio o le lenti.
① Inserire l'asse centrale dell'adattatore del proiettre nel braccio.

② Usare le due viti M5,5x9,5 per attaccare saldamente la piastra fornita (B) al braccio.
③ Rimuovere la copertura del cavo dal proiettre.

5. Cablaggio
① Il cavo di alimentazione e i cavi di segnale possono essere alloggiati lungo le scanalature per il cablaggio sui lati destro e sinistro del braccio. Questa operazione va eseguita prima di attaccare la copertura del braccio.
Fare attenzione a non stringere i cavi con le viti di regolazione orizzontale.

Questo conclude l'installazione del proiettre.
Regolazione della Posizione del Proietto
Preparazioni
Prima della regolazione
- Proiettare un'immagine dal proiettre, quando usare la leva della messa a fuoco per regolare sommariamente il fuoco dell'immagine proiettata. Per informazioni su come proiettre un'immagine consultare la sezione "Installatione" nel manuale d'uso allegato al proiettre.
- Dal menu su schermo, selezionare "Soffitto Diretto" per "Orientamento" come metododi proiezione.
1. Controllare le manopole di regolazione inclinazione.
Verificare che le quattro manopole di regolazione dell'inclinazione siano tutte impostate alla stessa altezza di regolazione.
Se la piatra di fissaggio del proiettre è inclinata, non è possibile effettuire una corretta regolazione verticale e orizzontale.

Piastra di fissaggio del proietto
Altezza delle manopole di regolazione
2. Regolare le dimensioni dell'immagine proiettata e l'inclinazione sinistra/destra.
- Le illustrazioni in questo manuale migliorano la regolazione per un'immagine con aspect ratio (rapporto altezza-larghezza) 4:3. I cavi di connessione di schermo e proiettre sono omessi. Regolare le dimensioni dell'immagine proiettata e, se necessario, l'inclinazione in senso orario o antiorario.
① Allentare le manopole di regolazione verticale/fissaggio del braccio
- Allentare le due manopole raffigurate in nero nell'illustrazione.
② Muovere il proiettre avanti e indietro per far coincidere le dimensioni dell'imagine proiettata con quale schermo.
Per farlo, afferrare il proiettre con fermezza da entrambi i lati e muoverlo con cautela.
Avviso
Non afferrare la sezione specchio. In caso contrario lo specchio potrebbe staccarsi o venire danneggiato.
- Per regolare l'inclinazione in direzione destra/sinistra, procedere al passo (3).
- Se si intende regolare solo la dimensione, stringere le due manopole raffigurate in nero nell'illustrazione.

③ Girare la manopola sinistra o destra per regolare l'inclinazione del proiettre a sinistra o a destra.
- Quando la manopola raffigurata in nero nell'illustrazione viene stretta, il proietto ruota in senso antiorario.
(4) Quando la regolazione è completeness, stringere la manopola opposta che è ancora allentata.

3. Regolazione dell'inclinazione orizzontale del proietto.
L'adattatore del proietto permette la regolazione con un'escursione di circa ± 3 gradi.
① Allentare il dato di fissaggio orizzontale (doppio dato) con una chiave.
② Allentare le viti di regolazione orizzontale (sinistra e destra) con la brugola in dotazione.
- Allentare le due viti raffigurate in nero nell'illustrazione.
③ Effettuare la regolazione stringendo la vite sinistra o quella destra finché l'estremità superiore e quella inferiore dell'imagine non siano parallele.
(4) Quando la regolazione è completa, stringere la vite opposta che è ancora allentata.
⑤ Stringere il dato di fissaggio orizzontale (doppio dato) con una chiave.

4. Regolazione dell'inclinazione.
La regolazione dell'inclinazione viene effettuata tramite le quattro manopole di regolazione.
Regolazione dell'inclinazione fronte/retro

Regolazione dell'inclinazione sinistra/destra
Regolazione fine nella stessa direzione della regolazione verticale

- Se la regolazione dell'inclinazione ottenua con queste manopole non è sufficiente, ripeteere il procedimento di regolazione dal passo 2 a pagna ITA-12.
- Durante la regolazione, la posizione dell'immagine proiettata potrebbe sfasarsi. In tal caso, allentare l'adattatore a muro e le viti di fissaggio del braccio e regolare la posizione.
Questo completeness la regolazione.
Stringere fermamente tutte le viti e le manopole di regolazione.
5. Attaccare le coperture all'adattatore del proiettre e all'adattatore a muro.
① Attaccare la copertura (A) (con gancio) e la copertura (B) (con incavo) al lato superiore dell'adattatore a muro.
Fare scorrere le due copertura versus il centro tenendole premute versus il basso, come lo做不到 nella illustrazione. La parte inferiore di entrambè le copertura si aggancera alle teste delle viti dell'adattatore a muro. Allo stesso tempo, il gancio della copertura (A) entrera nell'incavo della copertura (B), fissando entrambè le copertura.
② Sulla parte inferiore dell'adattatore a muro, invertire la posizione delle copertura (A) e (B) e fissarle dello stesso modo descripto in ①
③ Attaccare la copertura del braccio.
La copertura è fissata quando la linguetta sinistra e quella destra entrano negli incavi sull'adattatore del proiettre.
④ Attaccare la copertura del cavo del proietto.
Girare le manopole su entrambi i lati per fissare la copertura.

Nome del prodotto: Unità di
montaggio a muro
Modello: NP01WK
Angolo di regolazione: Angolo su/gi ± 3^ , angolo sinistra/destra ± 3^ , angolo di inclinazione ± 10^
Larghezza della regolazione: Fronte-retro ± 100 mm, sinistra-destra ± 50 mm, su-giù ± 50 mm
Dimensioni esterne: 280 (L) x 541(P) x 219 (A) mm
Peso: Circa 6,2 kg
- Le specifiche e il design sono soggetti a variazioni alla preavviso.
ManualeFacile