U300X - Proyector NEC - Manual de uso y guía de instrucciones gratis
Encuentra gratis el manual del aparato U300X NEC en formato PDF.
Questions des utilisateurs sur U300X NEC
0 question sur cet appareil. Repondez a celles que vous connaissez ou posez la votre.
Poser une nouvelle question sur cet appareil
Descarga las instrucciones para tu Proyector en formato PDF gratis! Encuentra tus instrucciones U300X - NEC y toma tu dispositivo electrónico nuevamente en la mano. En esta página están publicados todos los documentos necesarios para el uso de su dispositivo. U300X de la marca NEC.
MANUAL DE USUARIO U300X NEC
NPO1WK Manual de instalación y ajuste
Gracias por haber adquirido esta unidad de montaje de pared NEC.
Para garantizar un uso adequado, lea atentamente este manual de instalacion y ajuste.
La Unidad de montaje de pared NP01WK ha sido disnada exclusivamente para los projectores U300X/U250X/U310W/U260W, y noURTRA ser realizada con ningún other projector.

Se requieren habilidades especialas para la instalación del projector. Dichaarea noouldarayelidizadaenningucaso porel cliente.

Notapara el distribuidory el instalador
Con la finalidad de garantizar la seguridad del cliente, le rogamos que comience el proceso de instalación una vez comprobada la resistencia de laubicacion de montaje para asegurarde que la mesma soportaré el peso del projector y del hardware de montaje.
CONTENIDO
Preste atencion . SPA-2
Preparación SPA-4
Piezas del paquete . SPA-4
Denominación de las piezas SPA-5
Dimensiones de las piezas . SPA-6
Montaje del projector . SPA-7
Ajuste de la posicón de proyección . SPA-12
Especificaciones . SPA-16
Simbolo
Con la finalidad de garantizar el uso seguro y adecuado de este producto, evaporar lesiones personales y daños materiales se utilizesn various SYMBOLOS en este "Manual de instalación y ajuste". Los SYMBOLOS y su significado son los siguientes. Lea este manual una vez comprobado que se ha comprenderidoplenamente su contenido.
Aviso
El manejo inadequado y la omisión de estas indicaciones podrán provocar lesiones físicas tales como la muerte, lesiones graves, etc.

Precaución
El manejo inadequado y la omisión de estas indicaciones podrán provocar lesiones físicas y daños a los contentsidos adyacentes.
Ejmplos de los symbolos:

Este SYMBOLO indica precauaciones (incluyendo avisos) Las precauaciones concretasienenindicadas en imagen

Este*simbolo indicaaxonidesprohibidas Las prohibiciones concretas vienindicadas en imagenes.

- Este símbolo indica aconteziones imperativas. Las instrucciones concretasienen indicadas en imagenes.

Aviso

- Asegürese de realizar la instalación del projector y el ajuste de la posición de proyección de(acuerdo a lopecifiedo en este manual. Si el projector no es instalado y ajustado adequadamente podra caarse y provocar lesiones.

- Para prevenir la caía del projector, instáeleo en una ubicación y asegúrelo de forma tal que garantice el soporte del peso combinado (alrededor de 12,7 kg) del projector (alrededor de 6,5 kg), de la unidad de montaje de pared (alrededor de 6,2 kg) yDEMÁS, durante largos periodos de tiempo asi como su resistencia en caso de terremotos. Una resistencia o fijación insufiente podra provocar la caía del projector y provocar lesiones.
Asegúrese de cumplir con las siguientes precauciones:
- Utilice el nombre M6 (1/4 pulgadas) para los permos de蟆 de pared y tornillos para el adaptor de pared.
- Utilice una toma de corriente como suministro de alimentacion del projector. No lo conecte directamente a la linea de la lampara ya que es peligioso. Iguallmente, utilise una toma de corriente accesible deforma que pueda connectar y desconectar el enchufe de alimentacion.
Montaje en paredes de madera
Asegúrese de que la energia es colocada sobre un pilar o sobre materiales de construction robusta. Si la resistencia de los materiales de construction yDEMAS es insufiente,utilice refuerzos.No lo instale sobre materiales de acabado de pared, listones,etc.
- Montaje en paredes de hormigón
Utilice un perno de anclaje commercia M6 (1/4 pulgadas), tuercas de anclaje y similares, ya que soportaran la energia del projector.
| Aviso | |
| No lo instale enubicaciones sometidas a constantes vibraciones. Una vibracion continua podra causar que los tornillos se aflojasen y provocar la caía de la Unidad de montaje de pared y del projector provocando lesiones. Iguallmente, podra producir la avería del projector. | |
| Por motivos de seguridad, asegúrese deJKLMas, tornillos asi como deJKLMas. Si hace caso omiso de esta advertencia podra provocar la caía del projector y provocar lesiones. | |
| No modifique ninguna de las piezas. Si hace caso omiso de esta advertencia podra provocar la caía del projector y de la Unidad de montaje de pared, provocando lesiones. | |
| No实用性 piezas rotas. Si hace caso omiso de esta advertencia podra provocar la caía del projector y de la Unidad de montaje de pared, provocando lesiones. Si una de las piezas se rompe, contacte con su distribuidor. | |
| Si el projector está encendido, no mire al espejo. De lo contrario podra dañar su vista. | |
| No se apoye en el projector ni en la Unidad de montaje de pared. Si hace caso omiso de esta advertencia podra provocar la caía del projector y de la Unidad de montaje de pared, provocando lesiones. Ponga especial atencion si hay niños alrededor. | |
| No实用性 adhesivos para fjjar los tornillos, ni agentes lubricantes, aceites y demás con el adaptorder de pared. Si hace caso omiso de esta advertencia podra provocar el deterioro del material del adaptorder de pared y provocar la caía del projector, provocando lesiones. | |
| Precaución | |
| • No bloquee los orificios de ventilación del projector. De lo contrario evitará la disipación del calor youlda provoc un incendio. Concretamente, no utilise el projector bajo las siguientes circunstancias: instalación del projector en lugares tales como una pared en la cuales la ventilación sea escasa, esté cubierto, etc. | |
| • No instale el projector en fronte de las salidas de un aire acondicionado o calefactores o en lugares expuestos a vibraciones considerables. De lo contrario podría resultar en incendios y descargas electricas. | |
| • No instale el projector en lugares humedes o polvorientos o en lugares expuestos ahumos de aceite o vapeores (como por exemple cerca de equipos de cucina o humidificadores). De lo contrario podría resultar en incendios. | |
| • Al instalar el projector, deje suficiente空間 entre el myself y cualquier objecto adyacente. Si hace caso omiso de esta advertencia podría evitar la disipación del calor y provocar incendios. |
Por favor:
- Evite habitaciones con cantidades significativas de sociedad, humedad, humos de aceite, o humos de tabaco.
La suciedad se adheriría a las partes opticas tales como espejos, lo que podra Causear el deterioro de la calidad de la imagen.
- Evite lugares en los cuales la pantalla esté expuesta a la luz solar directa o a sistemas de iluminación.
Si la luz circundante se refleja directamente en la pantalla, laImagen sera borrosa y de dificil visualizacion.
Evite ubicaciones expuestos a altas o bajas temperatas.
De lo contrario podra resultar en una averia. (Para mas informacion sobre la temperatura defuncionamento, consulte el manual del usuario incluido con el projector.)
Compruebe los contentsos del paquete.

Adaptador de pared: 1

Cubierta (A, B): 2 pares


Cubierta del brazo: 1

Adaptador del projector: 1

Placa (B): 1

Tornillos M4: 4
Tornillos M3,5: 2

Llave hexagonal: 1

Manual de instalación y ajuste: 1
Denominación de las piezas

Dimensiones de la piezas: (unidad: mm)
A continuación se describes las dimensiones de las posiciones de los tornillos de fijación de pared (pernos) del adaptor de pared.


Preparaciones
- Determine el lugar de instalacion de la pantalla, y a continuacion decide la posicion de instalacion de la unidad de montaje de pared.
Para más información consulte la sección "Instalación" del manual del usuario incluido con el projector.
-
No es possible una instalación de proyección inclinada. Determine la posición del la proyección frontal.
-
Asegúrese de que se cumplen todas las conditiones descritas en el apartado “Preste atencion” en la page SPA-2 de este manual.
-
Debido a que los U300X/U250X/U310W/U260W tienen un ángulo de elevación de eje optico superior, el más ligero cambio en la distancia de proyección tendrá un gran efecto en el<tamañyo posicón de la pantalla. Si el ángulo del projector no es correcto, la distorsión de la imagen aumento.
-
Coloque el adaptor del projector en el projector.
(1) Extraiga el projector de su caja y retire la funda de plástico.
(2) Vuelva a colocar losSeparatedores de espuma del embalaje en el projector y gire el projector.
Note: Existen quatre orificios de tornillo en la parte inferior del projector marcados con "MAX. M4 x 10".Esta indication no es aplicable al adaptor del projector de este producto.

③ Alinee el adaptor del projector con los orificios de la parte inferior del projector y colque fibramente el adaptor utilizing los quatre tornillos suministrados (M4 x 20).
(4) Afloje los pasadores de fijacion del brazo/ajuste vertical del adaptor del projector.
Precaución
No intente instalar el adaptor del projector sin losSeparatedores de espuma del embalaje colocados. De lo contrario el area del espejo podra estar sometida a demasiada presion, lo que podra dar lugar a un cambio en la imagen proyectada y producir daños graves.

2. Coloque el adaptor de pared en el material estructural de la pared.
Para asegurar una imagen proyectada sin distorsiones, el centro del adaptordo de pared y el centro de la pantalladeferan estar alineados en un eje recto.
- El adaptor de pared tiene una orientacion superior/inferior. Asegürese de colocarlo con la orientacion correcta.
Precaución
Si el adaptor de pared es colocado con la orientacion superior/inferior invertida, no sera possible una correcta instalacion.
- El adaptor de pared podra ser ajustado horizontalmente en un rango de ± 50 mm.

Lado con los cortes mirando hacía arriba.
Lado sin los cortes mirando hacía abajo

Aviso

Utilice uniquamente tornillos o pernos M6 (1/4 pulgadas) (4 ubicaciones) para colocar el adaptor de pared. Si se utilizes tornillos o pernos distinctos a M6, el projector podra caerse provocando lesiones.
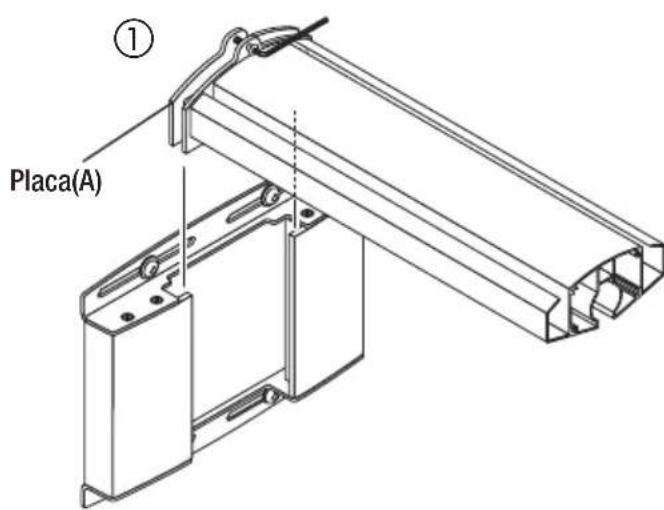
3. Coloque el brazo en el adaptor de pared.
① Afloje los tornillos de fijación del brazo (superior e inferior) con la llave hexagonal suministrada.
② Introduzca la placal del brazo (A) en el adaptador de pared desde la parte superior y apriete los tornillos (superior e inferior) que se encuentran circa del centro del orificio alargado.
- Las cubiertas (A) y (B) deben ser colocada una vez finalizada la instalación y tras completar los ajustes.


4. Coloque el projector que ha sido acoplado en el paso 1 en el brazo.
Precaución
Paraarlo,primeroextraigadelprojctorlosseparadoresdelembalaje.Acontinuacion sujete la carcasa del projector con la ayudadeuna segunda persona e introduzcalocuidadosamente en el brazo.No sujete el projector por la cubiertadel cable ni por el area del espejo,y no toque ni el espejo ni elOBJECTO.
① Introduzca el eje central del adaptor del projector en el brazo.

② Utilice los dos tornillos suministrados M5,5 x 9,5 para colocarfirmamente en el brazo la placasuministrada (B).
③ Extraiga la cubierta del cable del projector.


5. Cableado
① El cable de alimentación y los cables de senal puede ser pasados a工程技术 de los surcos de cableado ubicados a la derecha e izquierda del brazo. Lo cual deberá realizarse antes de colocar la cubierta del brazo.
Tenga cuidado de no pillar los cables con los tornillos de ajuste horizontal.

Aquí finaliza la instalación del projector.
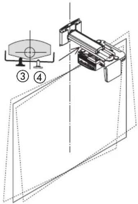
Ajuste de la posición de proyección
Preparaciones
Antes de ajustar
- Proyecto unaImagen desde el projector, a continuacionutilice primero la palanca de enfoque del projector paraajustar de formaapproximada el enfoque de la imogenprojectada.
Para más información sobre como proyeatar unaImagen, consulte la sección "Instalacion" del manual del usuario incluido con el projector.
-适合自己用,选择“Techo frontal”para“Orientacion”como método de proyeccion.
1. Compruebe los pasadores de ajuste de inclinacion.
Verifique que los cinco pasadores de ajuste de inclinacion esten todos colocados a la mesma altera de ajuste.
Si la plac de fijacion del projector está inclinada, no se podra realizar un ajuste vertical u horizontal correcto.

Placa de fijacion del projector
Altura del ajuste del pasador
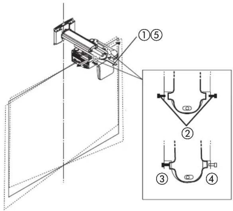
2. Ajuste el tiempo de laImagen del projector y la inclinación izquierda/derecha.
- Las ilustraciones de este manual muestran el ajuste para unaImagen con una relacion de aspecto de 4:3. Se omitte la connexion de los cables de la pantalla y del projector.
Ajuste el dato de laImagen proyectada y, si fuese necessario, la inclinacion en la direction de las manecillas del reloj o en sentido contrario.
① Afloje los pasadores de fijación del brazo/ajuste vertical.
- Afloje los dos pasadores que aparecen en color negro en laImagen.
② Mueva el projector hacía atrás y hacía adelante para igualar el時間 de la imagen proyectada en la pantalla. Para locular, deben sujetar el projectorfirmamente porodos y moverlo cuidadosamente.
Precaución
No lo sujete por el area del espejo. De lo contrario el espejo podra descolocarse o danarse.
-
Paraaabstar la inclinacion hacla derecha/izquierda, vaya al paso ③
-
Si lo únicos que le queda por realizar es el ajuste del tiempo, apriete los dos pasadores que aparecen en color negro en laImagen.

③ Gire el pasador izquierdo o derechoño hacía la izquierda o derechos paraaabstaringlincinacion del projector.
- Una vez que el pasador que aparece en color negro en laImagen ha sido apltado, el projector girará en la direccion contraja de las manecillas del reloi.
(4) Una vez completado el ajuste, apriete el pasador contrarío que aun está suelto.

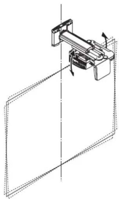
3. Ajuste la inclinacion horizontal del projector.
El adaptor del projector le permite ajustar alrededor deunos ± 3 grados aproximamente.
(1) Afloje la tuerca de fijiacion horizontal (doble tuerca) con una llave.
② Afloje los tornillos de ajuste horizontal (izquierdo y derecho) con la llave hexagonal suministrada.
- Afloje los dos tornillos que aparecen en color negro en laImagen.
③ Realice el ajuste apretando el tornillo izquierdo o derechos hacer que el borde superior y el borde inferior de laImagen estén paralelos.
(4) Una vez completado el ajuste, apriete el tornillo contrario que aún está suelto.
(5) Apriete la tuerca de fijacion horizontal (doble tuerca) con una llave.

4. Ajuste de la inclinacion.
El ajuste de inclinacion se realiza con los quatre pasadores de ajuste.
- Ajuste de inclinacion delantero/trasero

- Ajuste de inclinación izquierda/derecha
Ajuste con precision en la misma direccion que para el ajuste vertical


- Si no consigue un ajuste de inclinacion suficiente con los pasadores suministrados, repita el proceso desde el pasko 2 en la pagina SPA-12.
- Durante el ajuste, la posicion de laImagen proyectada podra variar. En tal caso, afloje el adaptorder de pared y los tornillos de fiacion del brazo y ajuste la posicon.
Aquí finaliza el ajuste.
Aprietefirmamente todos los tornillos y pasadores deajuste.
5. Colque las cubiertas del adaptor del projector y del adaptor de pared.
① Coloque la cubierta (A) (con un gancho) y la cubierta (B) (con una mella) en la parte superior del adaptorador de pared.
Deslice ints cubiertas hacía el centro@m间隙 las empuja hacía abajo, tal y como se muestra en la imagen. La parte inferior de cada cubierta encajará con las cabezas de tornillo del adaptorador de pared. Al mismo tiempo, el gancho de la cubierta (A) penetrará en la mella de la cubierta (B), bloqueando las cubiertas.
② En la parte inferior del adaptor de pare, invierta las posiciones de las cubiertas (A) y (B) y colóquelas en la mesma posicion descririta en (1).
(3) Colque la cubierta del brazo.
La cubierta está colocada una vez que las pestanas izquierda y derecha encajen con las mellas del adaptorador del projector.
(4) Cologne la cubierta del cable del projector.
Gire los pasadores deodoslados para apretar la cubierta.

Nombre del producto: Unidad de montaje de pared
Modelo: NP01WK
Ángulo de ajuste: Ángulo arriba-abajo ±3°, ángulo izquierda-derecha ±3°, ángulo de inclinación ±10°
Anchura de ajuste: Delantero-trasero ± 100mm izquierdo-derecho ± 50mm ,arraba-abajo ± 50mm
Dimensiones externas: 280 (Ancho) x 541 (Profundo) x 219 (Alto) mm
Peso: Aproximadamente 6,2 kg
- Tanto las specifications como el Diseño está sometidos a转型发展 sin previo aviso.

Adaptador de parede: 1

Braço: 1

Adaptador do projector: 1

Cobertura (A, B): 2 pares
ManualFácil