U300X - Projektör NEC - Ücretsiz kullanım kılavuzu
Cihazın kılavuzunu ücretsiz bulun U300X NEC PDF formatında.
Questions des utilisateurs sur U300X NEC
0 question sur cet appareil. Repondez a celles que vous connaissez ou posez la votre.
Poser une nouvelle question sur cet appareil
Cihazınız için talimatları indirin Projektör PDF formatında ücretsiz! Kılavuzunuzu bulun U300X - NEC ve elektronik cihazınızı yeniden ele alın. Bu sayfada cihazınızın kullanımı için gerekli tüm belgeler yayınlanmaktadır. U300X markasının NEC.
KULLANIM KILAVUZU U300X NEC
NP01WK Kurulum ve Ayarlama Kilavuzu
Bu NEC duvara montaj unitesini satin aldiginiz icin tesekkurederiz.
Doğru kullandiginizdan emin olmak icin lütfen bu kurulum ve ayarlama kilavuzunu dikkatli bir biçimde okuyun.
Duvara Montaj Unitesi NP01WK anecd U300X/U250X/U310W/U260W Projeksiyon Cihazi icindir ve diger projeksiyon cihazlarinda kullanilamaz.

Projeksiyon cihazinci kurmak icinözel yetenekler gerekir. Bunun asla musteri tarafindanGPCkelestirilmemesi gerekir.

Satici ve Yukleyici icin
Müsteri güvenligini saglamak icin, kurulum calismasina ancak pro je ksiyon ci ha zi n n ve mont aj don an im in in agir li gn dayanacagindan emin olmak icin montaj konumunun kuvvette özellikle dikkat edildikten sonra başlanilmasini rica ediyoruz.
ICINDEKILER
Lutfen asagidakilere uyun. TUR-2
Hazirlik.TUR-4
Paketlenen Parçalar TUR-4
Parçalarin Adlari. TUR-5
Parçalarin Boyutlari TUR-6
Projeksiyon Cihazini Takma .TUR-7
Projeksiyon Pozisyonunu Ayarlama TUR-12
Teknik Özellikler.TUR-16
Lüften asagidakilere uyun
Simge
Urunun guvenli ve dokru kullanilmasini saglamak ve kendinize ve baskalarina ya da mala gelebilecek zararlari onlemek icin bu "Kurulum ve Ayarlama Kilavuzunda" farkli simgeler kullanilmisir. Simgeler ve anlamlari, asagidaki sekildedir. Icerigin cok iy anlasildigindan emin olduktan sonra lutfen bu kilavuzu okuyun.

Uyari
Uygun olmayan isleme ve bu bilgileri dikkate almama, olum, aigr yaralanma ve sare gibi fiziksel yaralanmalara neden olabilir.

Dikkat
Uygun olmayan isleme ve bu bilgileri dikkate algama, fizikselyaralanmalarava cevredeki iceriigin hasar gormesine neden olabilir.
Simge ornekleri:

Simge sizi (uyarilar da dahil) ikazlar konusunda uyarir Kesin ikazlar, rakamlarla belirtilmistir.

Simge, yasak eylemlere isaret eder Kesin yasaklar, rakamlarla belirtilmistir.

- Simge, zorunlu eylemlere isaret eder. Kesin talimatlar, rakamlarla belirtilmistir.

Uyari

- Projeksiyon cihazini kurken ve projeksiyon pozisyonunu ayarlarken, bu kullanim kilavuzunda tarif edildigi sekilde davrandiginizdan emin olun. Projeksiyon cihazi yanlis takildigi veya ayarlandiginda asaşi duşebilir ve yaralanmalara neden olabilir.

- Projeksiyon cihazinin asaşi dusmesini onlemek icin, onu projeksiyon cihazi (yaklaşik 6,5kg), duvara montaj unitesi (yaklaşik 6,2kg) ve sare toplam ağırligina (yaklaşik 12,7kg) uzun bir donem boyunca dayanabileceşi ve yeterli kuvveti goztebileceşi ve depremlere mukavemet edebileceşi bir konuma kurun. Yetersiz Güç veya sabitleme, projeksiyon cihazinin asaşi dusüp, yaralanmalarana neden olmasina sebeb iyet verebilir.
Asgidaki onlemleri aldiginizdan emin olun.
-
Duvar adaptörü icin duvari sabitleme civata ve vidari olarak M6 (1/4 inc) kullanin.
-
Projeksiyon cihazınin güç kaynakı olarak bir pris kullanın. Doğrudan lamba hattın,... baglamayın,cunku bu tehlikelidir. Ayrıca elektrikfini takıçıkarabilmeniz*içın erisilebilir bir pris kullanın.
-
Ahşap duvara takma
Yukun bir sūtuna veya saglam yapi malzemelerine yerleşirildigiinden emin olun. Yapi maddesinin gucu ve sare yetersizse, onu lufen takviye edin. Duvardaki kaplama malzemelerine, kaplama seridine ve sare takmayin.
- Beton duvara takma
Projeksiyon cihazinin yukunu taşiyabilecek bir ticari ankraj civatası M6 (1/4 inc), ankraj somunjari ve benzerini kullanin.
| Uyari | |
| • Sürekli titresime maruz kalan yerlere kurmayın. Uzun sūreli titresim, vidalarin geleşemesine ve Duvara Montaj Üntesinin ve projeksiyon cihazını aşaqı)dusup, yaralanmaları neden olmasına sebebiet verebilir. Ayrica projeksiyon cihazını bozulmasına da neden olabilir. | |
| • Güvenlıkı污染防治,...civatalarmı, vidalarmı ve ayarlama扭矩melerini污染防治 bir seksilde,...sıkı,...ndan emin olun. Bunun yapilamamasi, projeksiyon cihazını aşaqı扭矩mesine ve yaralanmaları neden olmasına sebebiet verebilir. | |
| • Herhangi bir parçayı)...değistirmeyin. Aksti takdirde projeksiyon cihazını ve Duvara Montaj Üntesinin aşaqı扭矩mesine ve yaralanmaları neden olmasına sebebiet verebilirsiniz. | |
| • Kırık parçaları kullanmayın. Aksti takdirde projeksiyon cihazını ve Duvara Montaj Üntesinin aşaqı扭矩mesine ve yaralanmaları neden olmasına sebebiet verebilirsiniz. Herhangi bir,...parça krild,...inda, satı,...izla irtibata)... | |
| • Projeksiyon cihazi)...açikkenDynaya)...doğrudanbakmayın. Aksti takdirde)...görme duyunuza zarar verebilirsiniz. | |
| • Projeksiyon cihazını ve Duvara Montaj Üntesine asilmayın. Aksti takdirde projeksiyon cihazını ve Duvara Montaj Üntesinen aşaqı扭矩mesine ve yaralanmaları neden olmasına sebebiet verebilirsiniz. Çocuklara)...özellile dikkat edin. | |
| • Kılıteme videalarmı,...raglamada maddesi arac,...,yaş ve saire,...icin duvar adaptör,...ne,...yap,...kan,...sürmayın. Aksti takdirde duvar adaptör,...nun malzemisi bozul bilir ve projeksiyon cihazını anılanmaları ve yaralanmaları neden olmasına sebebiet verebilir. | |
| Dikkat | |
| • Projeksiyon cihazını havalandirma deliklerini engellemyin. Aksti takdirde isin,...yay,...ması,...önlenir ve yang,...neden olabilir. Projeksiyon cihazını)...özellile,...daki,...sekilde,...kullanmayın: projeksiyon cihazınıduvar ve saire,...gibi, havalandirmanı,...yetersiz,...odu,...,üzer,...ort,...odu,...,vs. yerlerde,...kurma. | |
| • Projeksiyon cihazınıbir klima,...vaya,...otu,...yada,...vaya,...yogun,...titres,...mlere maruz,...kalaca,...bir,...yere,...kurmayın. Aksti takdirde...,yang,...neden,...olabilirsiniz. | |
| • Projeksiyon cihazınınemli,...vaya,...tozl,...yere,...vaya,...duman,...vaya,...buher,...maruz,...kalaca,...yerlere,...ör,...yeme,...p,...isme,...eikiman,...vaya,...nem,...endir,...ilerin,...yakin,...)kurmayın. Aksti takdirde...,yang,...neden,...olabilirsiniz. | |
| • Projeksiyon cihazınıkurken, onunla,...cevesindeki,...nesneler,...arasinda,...yeterli,...boş,...b,...krak..Bunun,...yap,...maması,...önler,...yay,...ması,...önler,...yogun,...neden,...olabilir. | |
| Lütfen: | |
| • Yogun toz, nem,...ya,...duman,...veya,...tutan,...duman,...olan,...odalard,...ka,...nin. Kir, aynalar,...gibi,...optik,...parçalara,...yap,...sacak ve,...gor,...tü,...kalitesin,...bozulmasina,...denen,...ol...\ak)... | |
| • Ekranı,...dogrudan,...gü,...s,...vya,...vaya,...parlak,...s,...ga,...maruz,...kald,...yerld,...ke,...nin. Çevredeki,...isk,...dogrudan,...ekran,...geli,...inde,...gor,...tü,...nem,...zor,... | |
| • Özell,...yü,...sek,...veya,...du,...s,...s,...s,...s,...s,...s,...s,...s,...s,...s,...s,...s,...s,...s,...s,...s,...s,...s,...s,...s,...s,...s,...s,...s,...s,...s,...s,...s,...s,...s,...s,...s,...s,...s,...s,...s,...s,...s,...s,...s,...s,...s,...s,...s,...s,...s,...s,...s,...s,...s,...t,... | |
| Aksi takdirde...bozulması,...neden,...olabilirsiniz. (Ortam,...isletme,...s,...s,...s,...s,...s,...s,...s,...s,...s,...s,...s,...s,...s,...s,...s,...s,...s,...s,...s,...s,...s,...s,...s,...s,...s,...s,...s,...s,...s,...s,...s,...s,...s,...s,...s,...s,...s,...s,...s,...s,...s,...s,...s,...s,...s,...s,...s,...s,...s,... | |
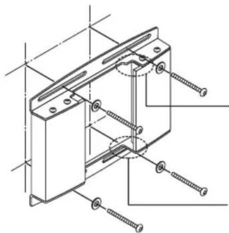
Paketlenen Parçalar
Lütfen paketlenen ögeleri kontrol edin.

Duvar adaptörü:1

Kapak (A, B):2 cift

Kol:1


Plaka (B):1

Projeksiyon cihazi adaptoru:1

M4 vidalarl:4
M3.5 vidalan:2

Altili anahtar:1

Kurulum ve Ayarlama Kilavuzu:1
Parçalarin Adlari

Parçaların Boyutları: (ünite: mm)
Duvar adaptörünün duvara sabitleme vidaların (civatalarin) pozisyonların boyları tarif edilm壁纸.


TUR-6
Hazirliklar
- Ekranin kurulum konumunu belirleyin ve buna gore duvara montaj unitesinin kurulum pozisyona karar verin.
Daha ayrintili bilgiler icin projeksiyon cihazinin yaninda gelen kullanim kilavuzundaki "Kurulum" bolumune bakir.
-
Egik projeksiyon icin kurulum yapilamaz. On projeksiyonun pozisyonunu belirleyin.
-
Bu kullanim kilavuzunun TUR-2 sayfasindaki "Aşaqidakilere Uyun" böllumunde tarif edilen:tüm kosullara uyduğunuzdan emin olun.
U300X/U250X/U310W/U260W buyuk optik eksen yükselme açisina sahip Oldugundan, projeksiyon mesafesindeki hafif bir kaymanin bile ekran boyut ve pozisyonu üzerinde buyuk bir etkisi olur. Projeksiyon cihazi açisi sapmisa, görtündu bozkluğu artar.
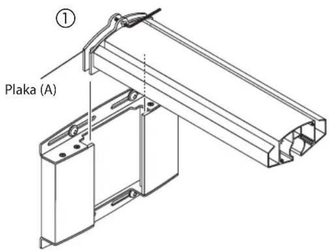
- Projeksiyon cihazi adaptörünü projeksiyon cihazın takın.
① Projeksiyon cihazini kutusundan cikarin ve plastik kilifini siyirp cikartin.
② Kopuk paketleme boşluk malzemelerini tekrar projeksiyon cihazina takin ve ardindan projeksiyon cihazinci ters Çevirin.
Not: Projeksiyon cihazinin alto, "MAX.M4x10" ile isaretlenmis dört vida deligi vardir. Bu bilgi, bu ürünün proje adaptorör icin geleçeri degildir.

③ Projeksiyon cihazi adaptorun projeksiyon cihazinin altindaki deliklerle hizalandirin ve adaptororu beraberinde gelen dort (M4x20) vidayla saglam bir sekilde takin.
④ Projeksiyon cihazi adaptorunun dikey ayarlama/kolu sabitlemede dugmelerini gevsetin.
Dikkat
Projeksiyon cihazinin adaptorunu kopuk ambalaj bosluk maddeleri yerinde olmadan takmaya calismayin. Aksi takdirde ayna bolumu asiri kuvete maruz kalabilir ve bu da yansitilan görtünun kaymasina ve agr hasara neden olabilir.

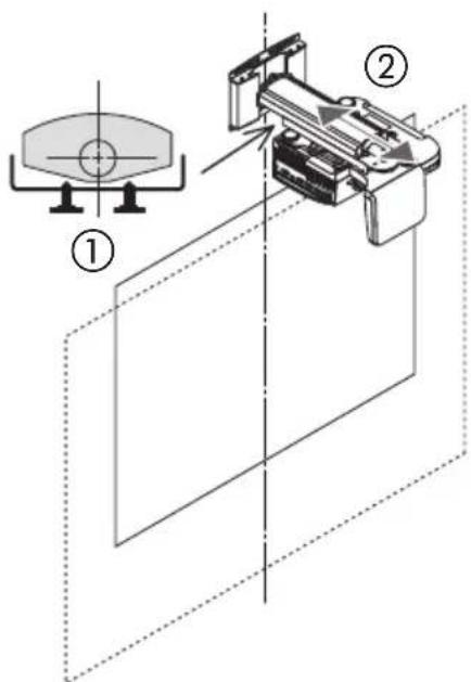
2. Duvar adaptörünü duvarın yapsal maddesine takın.
Bozuk olmayan bir görtunj yansitmak icin, duvar adaptörün un merkeziyle ekran merkezin in düz bireksende hizalanması gerekir.
Duvar adaptorü bir üst/alt oryantasyona sahiptir. Onudoğan taktigizdan emin olun.
Dikkat
Duvar adaptörü, üst/alt oryantasyonu ters olacak sekilde takilmıssa,doğan kurulum yapilamaz.
Duvar adaptor, ± 50mm araligindayatayolarakayarlanabilir.

Kesme parçaların yukan faktı taraf
Kesme parçalarınin aşaği baktı耐用

Uyari

Duvar adaptörünü sabitlemek icin (4 konumda) sadece M6 (1/4 inc) vida veya civatalari kullanin. M6 disinda vida veya civata kullanildigianda, projeksiyon cihazi asaşi duşup yaralanmaya neden olabilir.
3. Kolu duvar adaptörüne takın.
① Beraberinde gelen altuli anahtarla (ust ve alttaki) kolu sabitleme vidalarini gevsetin.
② Kol plakasin (A) üstten duvar adaptörüne dokun ve uzatilmş deligiin merkezine)yakin (üst ve alttaki) vidaları sik.
- Kurulum ve ayarlama tamamlandiktan sonra (A) ve (B) kapaklarinin takilmasi gerekir.


4.adimda birlestirilen projeksiyon cihazini kola takin.
Dikkat
Bunu yapmak icin once projeksiyon cihazindaki paketleme boşluk malzemelerini Çiartin. Sonra projeksiyon cihazın góvdesini ikinci bir kisinin yardimiyla tutun ve dikkatli bir sekilde kolun ilçine dokun. Projeksiyon cihazın kablo kilifindan veya ayna böümunden tutmayin ve ayna veya merçehe dokunmayin.
① Projeksiyon cihazi adaptororunun merkezi eksenini kolun icine dokun.

② Beraberinde gelen plakayi (B) kola takmak icin, beraberinde gelen iki M5.5x9.5 vidayi kullanin.
③ Projeksiyon cihazinin kablo kilifini Çikartı.

5. Kablolama
① Elektrik kablosu ve sinyal kabolari, kolun sag ve sol tarafindaki kablo baglantisi oluklarindan gehirilebilir. Bunun, kolun kilifi takilmadan once gerekleştilmesi gerekir. Kabolariyatay ayarlama vidalarilya sikistirmadiginizdan emin olun.

Bu, projeksiyon cihazinin kurulumunun tamamlanmasini saglar.
Projeksiyon Pozisyonunu Ayarlama
Hazirliklar
Ayarlamadan once
- Projeksiyon cihazindan bir görtündu yansiţin, ardindan once projeksiyon cihazın odak kolunu kullanarak, yansiṭlan görtündün odağıni kabaca ayarlayın.
Bir grotuy yansitmayla ilgili bilgiler icin, projeksiyon cihazinin yaninda gelen kullanim kilavuzundaki "Kurulum" bolumune bakn.
Ekrandaki menüden, "Oryantasyon" icin projeksiyon yöntemi olarak "Tavanın Önunj" seçın.
1. Egimi ayarlama duğmelerini kontrol edin.
Dort eigim ayari dugmesinin tamaminin ayni ayarlama yuksekliqine ayarlandiqini dokrulayin.
Projeksiyon cihazini sabitleme plakasi egliyse,ogrudikey ayarlama ve yatay ayarlama yapilamiyordur.

Projeksiyon cihazimi sabitleme plakasi
Dugmeyi ayarlama yuksekligi
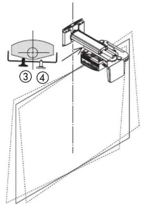
2. Yansitilan görtünün boyutunu ve sag/sol eğimi ayarlayin.
- Bu kullanim kilavuzundaki resimler, 4:3 en boy oranindaki birGORuntunun ayarlanmasini gosterir. Ekran ve projeksiyon cihazinin baglanti kabolari atlanmişrir.
Yansitlan görtünün boytunu ve gerekirse erfolimi saat istikametinde veya saat istikametinin tersi yönunde ayarlayin.
① Dikey ayarlama/kolu sabitleme duğmelerini gvsetin.
- Resimde siyah renkte gosterilen iki dugmeyi gevsetin.
② Yansitilan görtünün boyun ekrana gore ayarlamak icin projeksiyon cihazini ileri-geri kaydirin.
Bunu yapmak icin, projeksiyon cihazini iki tarafindan da sikca tutun ve dikkatli bir bicimde taşiyin.
Dikkat
Ayna bolümünü tutmayın. Aksi takdirde ayna seksibilir veya hasar,gorebilir.
-
Egimi sag/sol yönunde ayarlamak icin, ③ admindan devam edin.
-
Sadece bir boyut ayari yapilacaksa, resimde siyah renkte gosterilen iki dugmeyi sikin.

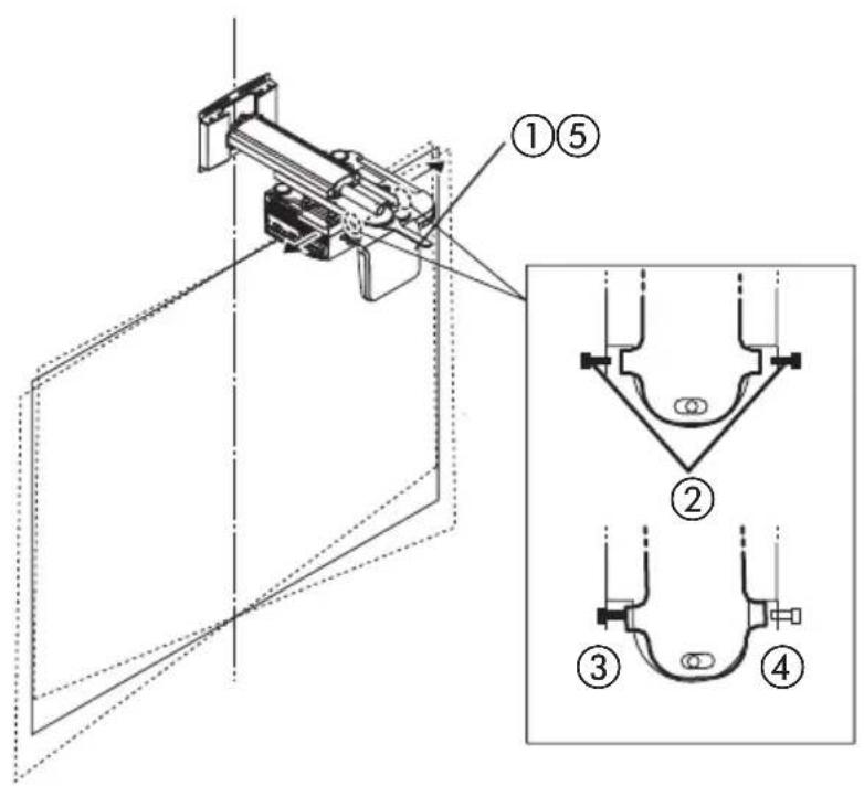
③ Projeksiyon cihazinin egimini sag veya sol yone ayarlamak icin, sag veya soldaki dugmeyi cevirin.
- Resimde siyah renkte gosterilen duğme sikildiginda, projeksiyon cihazi saat istikametinin tersine dokru cevrilir.
④ Ayarlama tamamlandiginda, halen gevsek olan karsindaki dugmeyi sikin.

3. Projeksiyon cihazinin yatay eğimini ayarlayin.
Projeksiyon cihazinin adaptor, yaklaik ±3 derecelik bir aralika ayarlama yapilmasin izin verir.
① Bir anahtarla yatay sabitleme somununu (cift somunu) gevsetin.
② Beraberinde gelen altili anahtarla (ust ve alttaki) yatay ayarlama vidalarini gevtin.
- Resimde siyah renkte gosterilen iki vidayi gevsetin.
(3) Resmin ust kenariyla alt kenari paralleolana kadar, saq ve soldaki vidayi sikarak ayarlama yapin.
(4) Ayarlama tamamlandiğnda, halen gezsek olan karsindaki vidayı sikin.
⑤ Bir anahtarla yatay sabitleme somununu (cift somunu) sik.

4. Egimi ayarlayin.
Egimi ayarlama, dört ayarlama DüğmesiyleGPCkleştinirl.
On/arka eğimini ayarlama

Sol/sağ eğimi ayarlama
Dikey ayarlamayla ayni yonde hassas ayarlama


- Bu dugmelerle yapilan eigim ayari yeterli degilse, TUR-12 sayfasindaki 2. adimdan itibaren ayarlama islemini tekrarlayin.
- Ayarlama sirasinda yansitlan görtünün pozisyonu kayabilir. Boyle bir durumda duvar adaptörün ve kolu sabitleme vidalarini geşetin ve pozisyonu ayarlayin.
Bu, ayarlamanin tamamlanmasini saglar.
Tum vidalari ve ayarlama duğmelerini iyice seksin.
5. Projeksiyon cihazi adaptörünün ve duvar adaptörünün kapaklarını takın.
① Duvar adaptorunun ust tarafina (kancayla) (A) kappaini ve (centikle) (B) kappaini takin.
Iki kapağı resimde gosterildigi gibi asağı.Doğru bastirirken, merkeze dokru kaydirirken. Her kapağın altı bunun arldindan duvar adaptorörünün vida baslijklarina gelecektir. Ayni zamanda (A) kapağınn kancasi, (B) kapağınn ÇentigindenGPCerek, kapaklari kilitler.
② Duvar adaptorunn alt tarafinda (A) ile (B) kapaklarin konumlarini degistirin ve bunlari ayni ① altinda tarif edildigi sekilde takin.
③Kolun ortusunu takin.
Kapak, sag ve sol sekmeler, projeksiyon cihazi adaptorrundeki centiklere gezticinde sabitlenmis olur.
④ Projeksiyon cihazinin kablo kilifini takin.
Kapagi takmak iin her iki taraftaki duugmeleri de cevirin.

Urun adi: Duvara montaj unitesi
Model: NP01WK
Ayarlama aciSi: Yukari-aagiaisi ± 3^ ,sag-sol aciSi ± 3^ ,egim aciSi ± 10^
Ayarlama genisligi: On-arka ± 100mm , sag-sol ± 50mm , yukari-asagi ± 50mm
Dis boyutlar: 280 (G) x 541 (D) x 219 (Y) mm
Aigrlk:Yaklasik 6,2kg
Teknik özellikler ve tasarim, haber vermeden degişstirilebilir.
KolayKılavuz