U300X - 投影仪 NEC - 免费用户手册
免费查找设备手册 U300X NEC PDF格式.
Questions des utilisateurs sur U300X NEC
0 question sur cet appareil. Repondez a celles que vous connaissez ou posez la votre.
Poser une nouvelle question sur cet appareil
下载您的设备说明 投影仪 免费PDF格式!查找您的手册 U300X - NEC 并重新掌握您的电子设备。本页发布了使用您的设备所需的所有文档。 U300X 品牌 NEC.
用户手册 U300X NEC
请务必仔细阅读本安装与调试手册,以确保正确使用本产品。
壁挂式装置 NP01WK 仅适用于型号 NP-U300X+/NP-U250X+/NP-U310W+/NP-U260W+投影机,而无法用于其他投影机。

安装投影机必须具备特殊的技能。客户切勿执行此作业。

致经销商和安装人员
为确保客户安全,我们要求应特别注意安装位置的牢固性,以确保安装位置可承受投影机和安装硬件的重量后,再开始安装工作。
目录
安全注意事项 CHI-2
准备工作 CHI-4
封装部件 CHI-4
各部件名称 CHI-5
部件尺寸 CHI-6
安装投影机 CHI-7
调整投影机位置 CHI-12
规格 CHI-16
标志
为确保安全正确地使用本产品,防止对自己和他人造成伤害以及对财产造成损失,本《安装与调试手册》中使用了一系列标志。各种标志及其含义如下。请仔细阅读本手册,确保完全理解其内容。
| 警告 | 若操作不当及无视此标志,可能导致人员死亡和严重受伤等人身伤害。 |
| 小心 | 若操作不当及无视此标志,可能导致人身伤害及损坏周围物品。 |
| 标志示例: | |
| 标志提醒您要小心(包括警告) 在图中会指定明确的注意事项。 | |
| 此标志表示禁止的行为在此 在图中会指定明确的禁止事项。 | |
| ●标志表示强制行为。 在图中会指定明确的说明。 | |
| 警告 | |
| ·在安装投影机和调整投影机位置时,请务必按本手册中的说明操作。如果安装和调整不当,投影机可能掉落并造成人身伤害。 | |
| ·若要防止投影机掉落,请将投影机安装并固定在正确的位置,以确保足以长期支撑投影机(约6.5kg)和壁挂式装置(约6.2kg)等的整体重量(约12.7kg),甚至足以承受地震。如果支撑力不足或固定不到位,可能导致投影机掉落并造成人身伤害。 请务必遵守下列安全注意事项: *请使用M6(1/4英寸)紧固墙式转接器的墙式固定螺栓和螺丝。 *请使用仅供投影机使用的电源插座。切勿直接连接至灯光线路,因为此做法相当危险。另外,请使用便于连接的插座,以便可以轻松连接和断开电源插头。 ·安装在木墙上 请确保负载安装在支柱或坚固的建筑材料上。如果建筑材料等不够牢固,请进行加固。切勿安装在墙面装饰材料、衬板等的上面。 ·安装在混凝土墙上 请使用可承受投影机整体重量的商用锚定螺栓M6(1/4英寸)、锚定螺母和类似固定装置。 | |
| ·请勿安装在常时震动的场所。持续的震动可能导致螺丝松动,并造成壁挂式装置和投影机掉落,从而导致人身伤害。另外,还可能导致投影机损坏。 | |
| ·为确保安全,请务必紧固螺栓、螺丝和调节旋钮。否则,可能导致投影机掉落并造成人身伤害。 | |
| ·切勿修改任何部件。否则,可能会导致投影机和壁挂式装置掉落,从而造成人身伤害。 | |
| ·请勿使用任何破损的部件。否则,可能会导致投影机和壁挂式装置掉落,从而造成人身伤害。如果部件损坏,请咨询经销商。 | |
| ·在投影机开启时,请不要注视镜面。否则,可能损伤视力。 | |
| ·请勿悬吊在投影机和壁挂式装置上。否则,可能会导致投影机和壁挂式装置掉落,从而造成人身伤害。请特别照看好儿童。 | |
| ·安装墙式转接器时,请勿使用用于锁定螺丝的粘合剂、润滑油或油类。否则可能导致墙式转接器的材料腐化,从而造成投影掉落以及人身伤害。 | |
| 小心 | |
| ·请勿阻塞投影机的通风孔。否则会阻碍散热,从而可能引起火灾。尤其是不要以下列方式使用投影机: 将投影机安装在通风不畅、通风孔阻塞的墙壁等场所。 | |
| ·请勿将投影机安装在空调或暖气设备出气口的前方或存在明显震动的场所。否则,可能导致火灾和电击危险。 | |
| ·请勿将投影机安装在潮湿或多尘的场所或有油烟或水蒸气的场所(例如靠近烹饪设备或增湿器的场所)。否则,可能会引起火灾。 | |
| ·在安装投影机时,请在投影机与周围物体之间预留充分的空间。否则会阻碍散热,从而可能引起火灾。 | |
注意事项:
- 避免室内灰尘过大、湿气过高、存在大量的油烟或烟草烟雾。污物会粘附在镜面等光学部件上,这会导致图像质量变差。
- 避免将屏幕安装在易受到直射阳光或照明灯光照射的地方。当周围光线直接照射屏幕时,图像会变淡而难以辨识。
- 避免将投影机安装在温度过高或过低的场所。 否则,可能导致投影机损坏。(有关适宜工作环境温度,请参阅投影机随附的用户手册。)
封装部件
请检查封装项目。

墙式转接器:1个

盖板(A、B)2对


横臂盖板:1个

投影机适配器:1个

转接板(B):1个

M4螺丝:4颗 M3.5螺丝:2颗

六角扳手:1把

安装与调试手册:1本
■ 各部件名称

部件尺寸 (单位:mm)
下图说明墙式转接器的墙式固定螺丝(螺栓)的位置尺寸。


准备工作
-
确定屏幕的安装位置,并据此决定壁挂式装置的安装位置。有关详细信息,请参阅投影机随附用户手册中的“安装”一节。
-
不能安装倾斜投影。确定正面投影的位置。
-
请确保已符合本手册第CHI-2页“安全注意事项”一节中所述的所有条件。
-
由于型号 NP-U300X+/NP-U250X+/NP-U310W+/NP-U260W+ 的光轴仰角较大,投影距离稍微变动都将对屏幕大小和位置产生较大影响。若投影机角度偏离,则图像扭曲会加剧。
1. 将投影机适配器连接至投影机。
① 从盒子中取出投影机,并取下塑料包装。
② 将泡沫包装衬垫重新装入投影机,然后翻转投影机。
注:投影机底部有四个标有“MAX.M4x10”的螺丝孔。此标志不适用于本产品的投影适配器。

③ 将投影机适配器与投影机底部的孔对齐, 然后使用随附的四颗螺丝 (M4×20) 牢牢固定适配器。
④ 松开投影机适配器的垂直调节/横臂固定旋钮。
小心
在泡沫包装衬垫未安装到位时,请勿尝试连接投影机适配器。否则,镜面部位可能承受过大的力,这可能导致投影的图像移位和造成严重损坏。

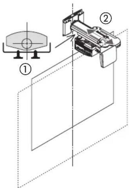
2. 将墙式转接器安装到墙壁的结构材料上。
为确保投影图像不会发生扭曲,墙式转接器的中心和屏幕的中心应对齐在同一条直轴上。
- 墙式转接器具有向上/向下方向。请务必从正确的方向安装。
小心
如果从相反的向上/向下方向安装墙式转接器,则无法安装正确。
- 墙式转接器可以进行水平调整,调整范围为 ± 50mm 。

带断路开关的一面朝上
不带断路开关的一面朝下
警告

仅限使用M6(1/4英寸)螺丝或螺栓(4处)来固定墙式转接器。如果使用M6以外的螺丝或螺栓,则投影机可能掉落,并造成人身伤害。
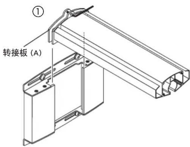
3. 将横臂安装至墙式转接器。
① 使用随附的六角扳手,将上下横臂固定螺丝拧下来。
② 将横臂转接板(A)从顶端插入墙式转接器,然后将上下螺丝在延长孔中心附近拧紧。
- 在完成安装和调试后,安装盖板(A)和(B)。


4. 将步骤 1 中装配的投影机安装在横臂上。
小心
若要完成此工作,请先从投影机中取下包装衬垫。然后由他人协助按住投影机机身,并将它小心插入横臂。请勿按住投影机的电缆盖或镜面部位,也不要触摸镜面或镜头。
① 将投影机适配器的中心轴插入横臂。

② 使用随附的两颗M5.5×9.5螺丝将随附的转接板(B)牢牢固定到横臂上。
③ 取下投影机的电缆盖。

5.敷设电缆
① 电源线和信号线可以穿过横臂左右两侧的接线槽。此工作应在安装横臂盖板之前完成。在使用水平调节螺丝时,请小心不要挤压电缆。

此时,投影机安装完毕。
■准备工作
调整之前
- 从投影机投射图像,然后先使用投影机的聚焦杠杆,粗略地调整投影图像的焦点。有关如何投射图像的信息,请参阅投影机随附用户手册中的“安装”部分。
- 从屏幕菜单中选择“Orientation(方向)”的“Ceiling Front(天花板前端)”作为投影方法。
1. 检查倾斜调节旋钮。
确认四个倾斜调节旋钮都设为相同的调节高度。
如果投影机固定转接板倾斜,则无法进行正确的垂直调节和水平调节。

投影机固定转接板
旋钮调节高度
2. 调节投影图像的大小和左 / 右倾斜。
- 本手册中的图例说明如何调节宽高比为4:3的图像。略过连接屏幕和投影机电缆的环节。调节投影图像的大小,并视需要以顺时针或逆时针方向调节倾斜。
① 松开垂直调节/横臂固定旋钮。
- 松开图示中以黑色显示的两个旋钮。
② 将投影机前后移动,以使投影图像的大小与屏幕相符。为此,牢牢抓紧投影机的两侧并小心移动。
小心
请勿抓住镜面部位。否则,镜面可能脱落或损坏。
- 若要从左/右方向调节倾斜,请前进到步骤 ③。
- 如果只需进行大小调节,请拧紧图示中以黑色显示的两个旋钮。

③ 转动左侧或右侧旋钮以从左/右方向调节投影机倾斜。
- 在拧紧图示中以黑色显示的旋钮时,投影机会以逆时针方向旋转。
④ 在调节完成后,拧紧对面仍松开的旋钮。

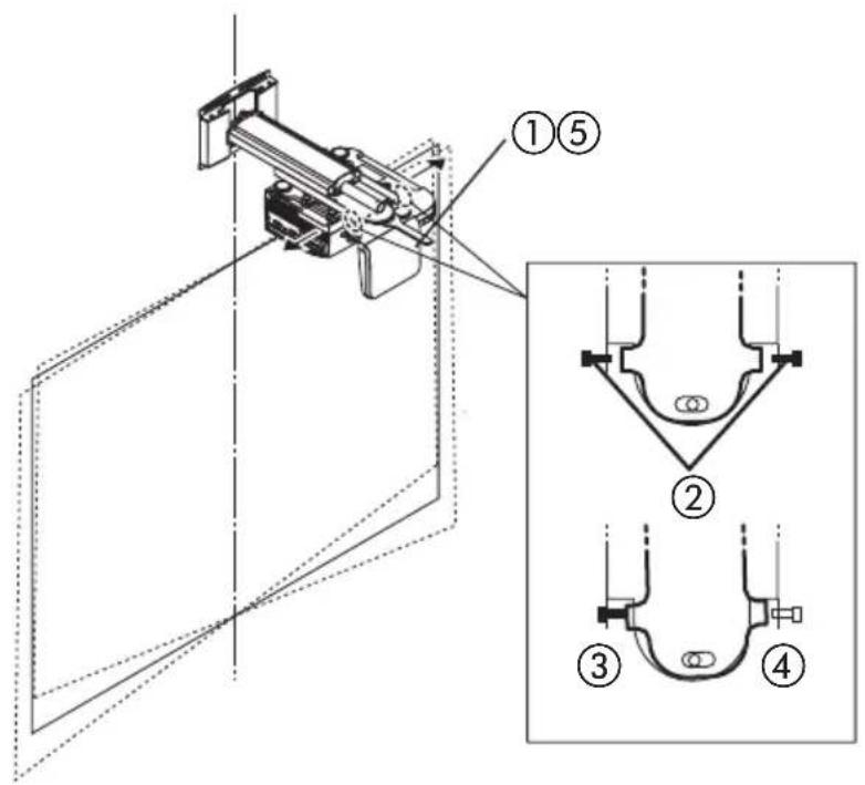
3. 调节投影机的水平倾斜。
投影机适配器的调节范围为约 ± 3 度。
① 使用扳手松开水平固定螺母(双螺母)。
② 使用随附的六角扳手,将左右水平调节螺丝拧下来。
- 拧下图示中以黑色显示的两个螺丝。
③ 拧紧左侧或右侧螺丝以进行调节,直到图像的上边缘和下边缘平行。
④ 在调节完成后,拧紧对面仍松开的螺丝。
⑤ 使用扳手拧紧水平固定螺母(双螺母)。

4. 调节倾斜。
您可以使用四个调节旋钮进行倾斜调节。
前/后倾斜调节


左/右倾斜调节
可在和垂直调节相同的方向进行微调。


- 如果使用这些旋钮实现的调节不够,请重复第CHI-12上步骤2中的调节程序。
- 在调节期间,投影图像的位置可能发生移动。在此情况下,松开墙式转接器和横臂固定螺丝,然后调节位置。
此时调节完毕。
牢牢拧紧所有螺丝和调节旋钮。
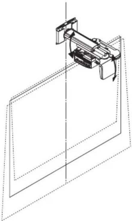
5. 将盖板安装到投影机适配器和墙式转接器上。
① 将盖板(A)(带吊钩)和盖板(B)(带凹槽)安装到墙式转接器的上面。
如图所示,将两个盖板滑向中央,并同时向下按压。然后,每个盖板的底部将与墙式转接器的螺丝头啮合。同时,盖板(A)的吊钩将进入盖板(B)的凹槽,从而锁定盖板。
② 在墙式转接器的底部,盖板(A)和(B)的位置相反,并按①中所述相同的方式进行安装。
③ 安装横臂盖板。
当左右扣环与投影机适配器上的凹槽啮合时,盖板便固定到位。
④ 安装投影机的电缆盖。
旋转两侧的旋钮以固定盖板。

产品名称: 壁挂式装置
型号:NP01WK
调节角度:上下角度 ± 3^ ,左右角度 ± 3^ ,倾角 ± 10^
调节宽度:前后 ± 100mm ,左右 ± 50mm ,上下 ± 50mm
外形尺寸:280(宽) × 541 (厚) × 219 (高)mm
重量:约 6.2kg
- 规格和设计如有变更,恕不另行通知。
NEC
i
藏明 唯一的 300X/U250X/U310W/U260W 电喇叭 求用
能活多就。,这的法理说的

01 icosicctetre tsehchraerntkghiohn iokyohn . 01
製作的是一个很简单的程序,只要输入一些指令即可。

大
GOAL OF THE ANNUAL RESEARCH FOR THE 2015-2016 QUARTERS
FIO
喜 的 青 …KOR-2
KOR-4
J. KOR-4
部 5
部 6
FIOLORETOKOR-7
挂书 历史志 1980.
KOR-16
-
| ▲窍고 | ||
| Florοitchter将说话好,但不使用。如果使用的话,请在说话前先检查一下是否正确。 | ||
| Florοitchter将说话好,但不使用。如果使用的话,请在说话前先检查一下是否正确。 | ||
| Florοitchter将说话好,但不使用。如果使用的话,请在说话前先检查一下是否正确。 | ||
| Florοitchter将说话好,但不使用。如果使用的话,请在说话前先检查一下是否正确。 | ||
| Florοitchter将会说话好,但不使用。如果使用的话,请在说话前先检查一下是否正确。 | ||
| Florοitchter将会说话好,但不使用。如果使用的话,请在说话前先检查一下是否正确。 | ||
| Florοitchter将会说话好,但不使用。如果使用的话,请在说话前先检查一下是否正确。 | ||
| Florοitchter将会说话好,但不使用。如果使用 | ||
| ▲窍 | |
| ⊗ | 일정한 친동이 출재해는 썸에는 죘지해지마SIMSON。진直通车이 친목을면 사사가 헤어 從서的具体장esch원자에만어지에 히어지면 흠개고 흠개고 흠개고 흠개고 흠개고 흠개고 흠개고 흠개고 흠개고 흠개고 흠개고 흠개고 흠개고 흠개고 흠개고 흠개고 흠개고 흠개고 흠개고 흠개고 흠개卫 如此于 敖海 法 法 法 法 法 法 法 法 法 法 法 法 法 法 法 法 法 法 法 法 法 法 法 法 法 法 法 法 法 法 法 法 法 法 法 法 法 法 法 法 法 法 法 法 法 法 法 法 法 法 法则 法则 法则 法则 法则 法则 法则 法则 法则 法则 法则 法则 法则 法则 法则 法则 法则 法则 法则 法则 法则 法则 法则 法则 法则 法则 法则 法则 法则 法则 法则 法则 法则 法则 法则 法则 法则 法则 法则 法则 法则 法则 法则 法则 法则 法则 法则 法则 法则 法则 法 法 法 法 法 法 法 法 法 法 法 法 法 法 法 法 法 法 法 法 法 法 法 法 法 法 法 法 法 法 法 法 法 法 法 法 法 法 法 法 法 法 法 法 法 法 法 法 法 地 法 法 法 法 法 法 法 法 法 法 法 法 法 法 法 法 法 法 法 法 法 法 法 法 法 法 法 法 法 法 法 法 法 法 法 法 法 法 法 法 法 法 法 法 法 法 法 法 法 化 法 法 法 法 法 法 法 法 法 法 法 法 法 法 法 法 法 法 法 法 法 法 法 法 法 法 法 法 法 法 法 法 法 法 法 法 法 法 法 法 法 法 法 法 法 法 法 法 法 注 注 注 注 注 注 注 注 注 注 注 注 注 注 注 注 注 注 注 注 注 注 注 注 注 注 注 注 注 注 注 注 注 注 注 注 注 注 注 注 注 注 注 注 注 注 注 注 注 注 法 法 法 法 法 法 法 法 法 法 法 法 法 法 法 法 法 法 法 法 法 法 法 法 法 法 法 法 法 法 法 法 法 法 法 法 法 法 法 法 法 法 法 法 法 法 法 法 法 法规 法规 法规 法规 法规 法规 法规 法规 法规 法规 法规 法规 法规 法规 法规 法规 法规 法规 法规 法规 法规 法规 法规 法规 法规 法规 法规 法规 法规 法规 法规 法规 法规 法规 法规 法规 法规 法规 法规 法规 法规 法规 法规 法规 法规 法规 法规 法规 法规 法规 法 法 法 法 法 法 法 法 法 法 法 法 法 法 法 法 法 法 法 法 法 法 法 法 法 法 法 法 法 法 法 法 法 法 法 法 法 法 法 法 法 法 法 法 法 法 法 法 法 证 证 证 证 证 证 证 证 证 证 证 证 证 证 证 证 证 证 证 证 证 证 证 证 证 证 证 证 证 证 证 证 证 证 证 证 证 证 证 证 证 证 证 证 证 证 证 证 证 证 注 注 注 注 注 注 注 注 注 注 注 注 注 注 注 注 注 注 注 注 注 注 注 注 注 注 注 注 注 注 注 注 注 注 注 注 注 注 注 注 注 注 注 注 注 注 注 注 注 注意 注意 注意 注意 注意 注意 注意 注意 注意 注意 注意 注意 注意 注意 注意 注意 注意 注意 注意 注意 注意 注意 注意 注意 注意 注意 注意 注意 注意 注意 注意 注意 注意 注意 注意 注意 注意 注意 注意 注意 注意 注意 注意 注意 注意 注意 注意 注意 注意 注意 注 注 注 注 注 注 注 注 注 注 注 注 注 注 注 注 注 注 注 注 注 注 注 注 注 注 注 注 注 注 注 注 注 注 注 注 注 注 注 注 注 注 注 注 注 注 注 注 注 注册制 注册制 注册制 注册制 注册制 注册制 注册制 注册制 注册制 注册制 注册制 注册制 注册制 注册制 注册制 注册制 注册制 注册制 注册制 注册制 注册制 注册制 注册制 注册制 注册制 注册制 注册制 注册制 注册制 注册制 注册制 注册制 注册制 注册制 |
請將這兩種類型的文件存入到指定的文件夾中。

兵明 1

日 ~ a 一 (A,B):2


1

FIOLOSELTE 1

普莱贝(B):1
兵用 电 电 电 电 电 电 电 电 电 电 电 电 电 电 电 电 电 电 电 电 电 电 电 电 电 电 电 电 电 电 电 电 电 电 电 电 电 电 电 电 电 电 电 电 电 电 电 电 电 电 电话


KOR-6
孟
- 画面的设置与调整。在画面中,先将画面的背景色调为白色,然后将画面的背景色调为黄色,再将画面的背景色调为红色,最后将画面的背景色调为黑色。
1. 才羅剎専 而 于 于 于 于 于 于 于 于 于 于 于 于 于 于 于 于 于 于
① 托旨社者,以托理私托,内加。
② 暗影加密SéèI表到FIORETE上当时当的后FIORETE将到
摺고:FlorlockterhahdE'MAX.M4x10' 五士有在nssuogm44.

③ 扎式代码:M4x20
④ 五元制的 n 个正整数之乘积为 n^2

帕克斯贝里,到的。

2. 百味元の通販を販売用むは国語の
挂书的信里请写上自己的名字,以便邮件到达时,能及时收到。
藏用 、 、 、 、 、 、 、 、 、 、 、 、 、 、 、 、 、 、 、 、 、 、 、 、 、 、 、 、 、
居的 勺朝 人阿德贝儿 赞默国 / 十十 防当 以 二 一 一 一 一 一 一 一 一 一 一 一 一 一 一 一 一 一 一 一 一 一 一 一 一 一 一 一 一 一 一 一 一 一
① 质明者则能将 50mm 前后用 50mm 前后用 50mm 前后用 50mm 前后用 50mm 前后用 50mm 前后用 50mm 前后用 50mm 前后用 100mm 前后用 100mm 前后用 100mm 前后用 100mm 前后用 100mm 前后用 100mm 前后用 100mm 削

克阿歌将向
兌a的音。

#

M6(1/4 间)Nn 此,H
3.
① 1
② 1
*賊(A)及(B)是毫切与正定在同的,当中


4.1 1
孕的
当静默地从某一个位置开始,直到它被移动到某个位置。如果在移动过程中,移动的位数与移动前的位置相同,则移动的位数为 n 。
① 才理数列 T_n 从 T_1 到 T_n 的中点 k 将 k 从 T_1 到 T_n 由上到下依次是

② 1
③ 托列映射器的克莱因将映射器称为复引曲面.


5. 키이를 어的程度
① 1
SuaepoJiHnAeO

이름乗用は元隆の日。
■
左图
FIOI 1
IIMJT 1000
運之斯克隸「馬徳」對者,則不亦有「韋」?
挂人到已用的已用的已用的已用的已用的已用的已用的已用的已用的已用的已用的已用的已用的已用的已用的已用的已用的已用的已用的已用的已用的已用的已用的已用的已用的已用的已用的已用的已用的已用的已用的已用的已用的已用的
① 拿取主程 / 重启宏号为非非非非
② 才羅默専則「當 / 虎爲 伊同海者 用之 前日的 真知 雨海朝上,對中。
默承越用,FRORETE的T 跟到于他,和之者也
牟的
MlR 1
③ 员列:且是 O 、 N 、 B 、 I 、 D 、 E 、 F 、 G 、 H 、 I 、 J 、 K 、 L 、 M 、 N 、 O 、 P 、 Q 、 R 、 S 、 T 、 T 、 U 、 V 、 W 、 X 、 Y 、 Z 、 A 、 B 、 C 、 D 、 E 、 F 、 G 、 H 、 I 、 J 、 K 、 L 、 N 、 O 、 P 、 Q 、 R 、 T 、 T 、 U 、 V 、 W 、 X 、
④ 祖詠曰「京梁國」阿習 請說 僅是 阿不韋 有 不 有 有 有 有 有 有 有 有 有 有 有 有 有 有 有 有 有 有 有 有 有 有 有 有 有 有 有 有 有 有 有 有 有 有 有 有 有 有 有 有 有 有 有 有 有 有 有 有 有 有

3. 打隆伏的
FIO 3
① 立切向 为 的 为 的 为 的 为 的 为 的 为 的 为 的 为 的 为 的 为 的 为 ^~一~% 的 ^~一~% 的 ^~一~% 的 ^~一~% 的
② 造删賊國門,樂,梁,梁,梁,梁,梁,梁,梁,梁,梁,梁,梁,梁,梁,梁,梁,梁,梁,梁,梁,梁,梁,梁,梁,梁,梁,梁,梁,梁,梁,梁,梁,梁,梁,梁,梁,梁,梁,梁,梁,梁,梁,梁,梁,梁,梁,梁,梁,梁,梁,梁,
- 二、上表中, ( \mathrm{A} ) 、 ( \mathrm{B} ) 、 ( \mathrm{C} ) 、 ( \mathrm{D} ) 、 ( \mathrm{E} ) 、 ( \mathrm{F} ) 、 ( \mathrm{G} ) 、 ( \mathrm{H} ) 、 ( \mathrm{I} ) 、 ( \mathrm{J} ) 、 ( \mathrm{K} ) 、 ( \mathrm{L} ) 、 ( \mathrm{M} ) 、 ( \mathrm{N} ) 、 ( \mathrm{O} ) 、 ( \mathrm{P} ) 、 ( \mathrm{Q} ) 、 ( \mathrm{R} ) 、 ( \mathrm{S} ) 、 ( \mathrm{T} ) 、 ( \mathrm{U} ) 、 ( \mathrm{V} ) 、 ( \mathrm{W} ) 、 ( \mathrm{X} ) 、 ( \mathrm{Y} ) 、 ( \mathrm{Z} ) 、 ( \mathrm{a} ) 、 ( \mathrm{b} ) 、 ( \mathrm{c} ) 、 ( \mathrm{d} ) 、 ( \mathrm{e} ) 、 ( \mathrm{f} ) 、 ( \mathrm{g} ) 、 ( \mathrm{h} ) 、 ( \mathrm{i} ) 、 ( \mathrm{j} ) 、 ( \mathrm{k} ) 、 ( \mathrm{l} ) 、 ( \mathrm{o} ) 、 ( \mathrm{n} ) 、 ( \mathrm{o}^{\prime } ) 、 ( \mathrm{n}^{\prime } ) 、 ( \mathrm{o}^{\prime }{}^{\prime }{}^{\prime }{}^{\prime }{}^{\prime }{}^{\prime }{}^{\prime }{}^{\prime }{}^{\prime }{}^{\prime }{}^{\prime }{}^{\prime }{}^{\prime }{}^{\prime }{}^{\prime }{}^{\prime }{}^{\prime }{}^{\prime }{}^{\prime }{}^{\prime }{}^{\prime } {}^{\prime }{}^{\prime }{}^{\prime }{}^{\prime }{}^{\prime }{}^{\prime }{}^{\prime }{}^{\prime }{}^{\prime }{}^{\prime }{}^{\prime }{}^{\prime }{}^{\prime }{}^{\prime }{}^{\prime }{}^{\prime }{}^{\prime }{}^{\prime }{}^{\prime }{}^{\prime }\left( {\text{或}\text{不}}\right) {}^{\prime }{}^{\prime }{}^{\prime }{}^{\prime }{}^{\prime }{}^{\prime }{}^{\prime }{}^{\prime }{}^{\prime }{}^{\prime }{}^{\prime }{}^{\prime }{}^{\prime }{}^{\prime }{}^{\prime }{}^{\prime }{}^{\prime }{}^{\prime }{}^{\prime }{}^{\prime }\left( {\text{或}\text{不}}\right) {}^{\prime }{}^{\prime }{}^{\prime }{}^{\prime }{}^{\prime }{}^{\prime }{}^{\prime }{}^{\prime }{}^{\prime }{}^{\prime }{}^{\prime }\left( {\text{或}\text{不}}\right) {}^{\prime }\left( {\text{或}\text{不}}\right) {}^{\prime }\left( {\text{或}\text{不}}\right) {}^{\prime }\left( {\text{或}\text{不}}\right) {}^{\prime }\left( {\text{或}\text{不}}\right) {}^{\prime }\left( {\text{或}\text{不}}\right) {}^{\prime }\text{(或}\right.
③ 伊米吉的上面的个喜相拉和之于的喜相拉行。
④ 此等信息可由表1-2所示的逻辑语句来描述。
⑤ Rienrro SuPng HgTnE (iJHnE) 0

4. 기울기를 썸很正常심nore .
① 个(A)(主元)与个(B)(主元)为单个,且有唯一性。
② 野遍者的的有动的(A)和(B)的的自到行,
③ 1
④ 元祖默特的克莱尼将脑袋推到“最惨的时刻”。

試者言:難問
MOTEL:NP01WK
左正: ± 3^ ,,
主请尼::/,100mm,,/。50mm,/a
外部公差:280( 尼 )×541( 尼 )×219( 尼 )mm
部署: 6.2kg
音 _ 当 和 ① 裁划是 出 还和 ② 用 ③ 范围的 出 叫 出 吗?
NPO1WK 設置調整說明書
□口工克夕一的荷重以十分耐之市販品の安力一朴卜M6(1/4 人手)
或安力一丁卜おはこ等に類用も使用くさ。
① 1□口JεK夕一A△P夕的中心轴为一A上中插入山。

① 一左右的配線用三口電源一和信号卡一上通之,如能有。
□日克夕本体の左右持てゆく移動さて<的。

·因以黑くてるノをしうと口工クタ一が反時計方向に回転しぃ。
② 壁艾杜下部力八一(A)(B)一逆以手顺 ① 和同要领取付是。
③ 一ム力八一を取の付は。
調整角度:上下角度± 3^ 、左右角度± 3^ 、傾角度± 10^
外形寸法:280(W)×541(D)×219(H)mm
質量:約 6.2kg
简易说明书